Меню
Навигация
Novatika
Первая линия
Бесплатное обучение

Вода. Методы определения содержания формальдегида

Стандарт распространяется на питьевую воду, в том числе расфасованную в емкости, поверхностные и подземные природные воды, сточные воды, в том числе очищенные, и устанавливает следующие методы определения содержания формальдегида: - фотометрический метод определения содержания формальдегида массовой концентрации от 0,025 мг/дм3 до 25 мг/дм3 в пробах питьевых и природных вод и массовой концентрации от 0,05 мг/дм3 до 400 мг/дм3 в пробах сточных вод (метод А); - метод высокоэффективной жидкостной хроматографии (далее – ВЭЖХ) определения массовой концентрации формальдегида от 0,002 мг/дм3 до 10 мг/дм3 в пробах питьевых и природных вод (метод Б); - флуориметрический метод определения содержания формальдегида от 0,02 мг/дм3 до 50 мг/дм3 в пробах питьевых, природных и сточных вод (метод В).

Обозначение: ГОСТ Р 55227-2012
Название рус.: Вода. Методы определения содержания формальдегида
Статус: действует
Дата актуализации текста: 05.05.2017
Дата добавления в базу: 01.10.2014
Дата введения в действие: 01.01.2014
Утвержден: 27.11.2012 Федеральное агентство по техническому регулированию и метрологии (1252-ст)
Опубликован: Стандартинформ (2013 г. )
Ссылки для скачивания:

ФЕДЕРАЛЬНОЕ АГЕНТСТВО
ПО ТЕХНИЧЕСКОМУ РЕГУЛИРОВАНИЮ И МЕТРОЛОГИИ

НАЦИОНАЛЬНЫЙ
СТАНДАРТ

РОССИЙСКОЙ
ФЕДЕРАЦИИ

ГОСТ Р
55227-2012

ВОДА

Методы определения содержания формальдегида

Москва

Стандартинформ

2013

Предисловие

Цели и принципы стандартизации в Российской Федерации установлены Федеральным законом от 27 декабря 2002 г. № 184-ФЗ «О техническом регулировании», а правила применения национальных стандартов Российской Федерации - ГОСТ Р 1.0-2004 «Стандартизация в Российской Федерации. Основные положения»

Сведения о стандарте

1 РАЗРАБОТАН Обществом с ограниченной ответственностью «Протектор», Закрытым акционерным обществом «Центр исследования и контроля воды», группой компаний «Люмэкс» (ООО «Люмэкс», ООО «Люмэкс-маркетинг»)

2 ВНЕСЕН Техническим комитетом по стандартизации ТК 343 «Качество воды»

3 УТВЕРЖДЕН И ВВЕДЕН В ДЕЙСТВИЕ Приказом Федерального агентства по техническому регулированию и метрологии от 27 ноября 2012 г. № 1252-ст

4 ВВЕДЕН ВПЕРВЫЕ

Информация об изменениях к настоящему стандарту публикуется в ежегодно издаваемом информационном указателе «Национальные стандарты», а текст изменений и поправок - в ежемесячно издаваемом информационном указателе «Национальные стандарты». В случае пересмотра (замены) или отмены настоящего стандарта соответствующее уведомление будет опубликовано в ежемесячно издаваемом информационном указателе «Национальные стандарты». Соответствующая информация, уведомление и тексты размещаются также в информационной системе общего пользования - на официальном сайте Федерального агентства по техническому регулированию и метрологии в сети Интернет

СОДЕРЖАНИЕ

1 Область применения. 2

2 Нормативные ссылки. 2

3 Отбор проб. 3

4 Требования к условиям проведения испытаний. 4

5 Определение массовой концентрации формальдегида фотометрическим методом (метод А) 4

6 Определение массовой концентрации формальдегида методом высокоэффективной жидкостной хроматографии (метод Б) 11

7 Определение массовой концентрации формальдегида флуориметрическим методом (метод В) 15

Приложение А (рекомендуемое) Установка для перегонки формальдегида. 18

Приложение Б (справочное) Результаты проведенных межлабораторных испытаний. 19

Библиография. 19

 

НАЦИОНАЛЬНЫЙ СТАНДАРТ РОССИЙСКОЙ ФЕДЕРАЦИИ

ВОДА

Методы определения содержания формальдегида

Water. Methods for determination of formaldehyde content

Дата введения - 2014-01-01

1 Область применения

Настоящий стандарт распространяется на питьевую воду, в том числе расфасованную в емкости, поверхностные и подземные природные воды, сточные воды, в том числе очищенные, и устанавливает следующие методы определения содержания формальдегида:

- фотометрический метод определения содержания формальдегида массовой концентрации от 0,025 мг/дм3 до 25 мг/дм3 в пробах питьевых и природных вод и массовой концентрации от 0,05 мг/дм3 до 400 мг/дм3 в пробах сточных вод (метод А);

- метод высокоэффективной жидкостной хроматографии (далее - ВЭЖХ) определения массовой концентрации формальдегида от 0,002 мг/дм3 до 10 мг/дм3 в пробах питьевых и природных вод (метод Б);

- флуориметрический метод определения содержания формальдегида от 0,02 мг/дм3 до 50 мг/дм3 в пробах питьевых, природных и сточных вод (метод В).

При определении содержания формальдегида в пробах питьевых и природных вод с массовой концентрацией до 10 мг/дм3 арбитражным является метод Б, свыше 10 мг/дм3 - метод В, а в пробах сточных вод - метод А.

2 Нормативные ссылки

В настоящем стандарте использованы нормативные ссылки на следующие стандарты:

ГОСТ Р ИСО 5725-6-2002 Точность (правильность и прецизионность) методов и результатов измерений. Часть 6. Использование значений точности на практике

ГОСТ Р 51592-2000 Вода. Общие требования к отбору проб

ГОСТ Р 51593-2000 Вода питьевая. Отбор проб

ГОСТ Р 52109-2003 Вода питьевая, расфасованная в емкости. Общие технические условия

ГОСТ Р 52501-2005 (ИСО 3696:1987) Вода для лабораторного анализа. Технические условия

ГОСТ Р 53228-2008 Весы неавтоматического действия. Часть 1. Метрологические и технические требования. Испытания

ГОСТ 17.1.5.05-85 Охрана природы. Гидросфера. Общие требования к отбору проб поверхностных и морских вод, льда и атмосферных осадков

ГОСТ 61-75 Реактивы. Кислота уксусная. Технические условия

ГОСТ 1770-74 (ИСО 1042-83, ИСО 4788-80) Посуда мерная лабораторная стеклянная. Цилиндры, мензурки, колбы, пробирки. Технические условия

ГОСТ 3117-78 Реактивы. Аммоний уксуснокислый. Технические условия

ГОСТ 3118-77 Реактивы. Кислота соляная. Технические условия

ГОСТ 4166-76 Реактивы. Натрий сернокислый. Технические условия

ГОСТ 4204-77 Реактивы. Кислота серная. Технические условия

ГОСТ 5556-81 Вата медицинская гигроскопическая. Технические условия

ГОСТ 6552-80 Реактивы. Кислота ортофосфорная. Технические условия

ГОСТ 6709-72 Вода дистиллированная. Технические условия

ГОСТ 10259-78 Реактивы. Ацетилацетон. Технические условия

ГОСТ 14919-83 Электроплиты, электроплитки и жарочные электрошкафы бытовые. Общие технические условия

ГОСТ 25336-82 Посуда и оборудование лабораторные стеклянные. Типы, основные параметры и размеры

ГОСТ 27752-88 Часы электронно-механические кварцевые настольные, настенные и часы-будильники. Общие технические условия

ГОСТ 28311-82 Дозаторы медицинские лабораторные. Общие технические требования и методы испытаний

ГОСТ 28498-90 Термометры жидкостные стеклянные. Общие технические требования. Методы испытаний

ГОСТ 29227-91 (ИСО 835-1-81) Посуда лабораторная стеклянная. Пипетки градуированные. Часть 1. Общие требования

ГОСТ ИСО/МЭК 17025-2009 Общие требования к компетентности испытательных и калибровочных лабораторий

Примечание - При пользовании настоящим стандартом целесообразно проверить действие ссылочных стандартов в информационной системе общего пользования - на официальном сайте Федерального агентства по техническому регулированию и метрологии в сети Интернет или по ежегодно издаваемому информационному указателю «Национальные стандарты», который опубликован по состоянию на 1 января текущего года, и по соответствующим ежемесячно издаваемым информационным указателям, опубликованным в текущем году. Если ссылочный стандарт заменен (изменен), то при пользовании настоящим стандартом следует руководствоваться заменяющим (измененным) стандартом. Если ссылочный стандарт отменен без замены, то положение, в котором дана ссылка на него, применяется в части, не затрагивающей эту ссылку.

3 Отбор проб

3.1 Пробы анализируемой воды отбирают по ГОСТ Р 51592, ГОСТ Р 51593 и ГОСТ 17.1.5.05 в стеклянные емкости, заполняя их водой до краев, чтобы внутри емкости не оставалось воздуха, и закрывают крышкой. Объем отбираемой пробы - не менее 0,2 дм3. Не допускается использовать крышки, изготовленные из фенолформальдегидных смол.

3.2 При выполнении анализа фотометрическим и флуориметрическим методом, если с момента отбора пробы прошло менее 12 ч, консервацию пробы не проводят. Если с момента отбора пробы прошло более 12 ч, то ее консервируют добавлением 5 см3 раствора серной кислоты (см. 5.3.4) на 1 дм3 пробы и хранят при температуре от 2 °С до 8 °С не более 10 сут.

3.3 В случае выполнения анализа методом ВЭЖХ при невозможности проведения анализа в течение 12 ч с момента отбора пробы, пробу хранят при температуре от 2 °С до 8 °С не более 3 сут. Для проб питьевой воды, обработанной окислителями (озон, хлор и т.п.), в емкость, предназначенную для отбора, рекомендуется добавлять тиосульфат натрия из расчета 0,1 г на 1 дм3 пробы.

3.4 Отбор проб питьевой воды, расфасованной в емкости, сроки и условия хранения - по ГОСТ Р 52109.

4 Требования к условиям проведения испытаний

4.1 При подготовке к выполнению измерений и при их проведении необходимо соблюдать условия, установленные в руководствах по эксплуатации или в паспортах средств измерений и вспомогательного оборудования.

Измерения объемов воды и растворов проводят при температуре окружающей среды от 15 °С до 25 °С.

4.2 Лаборатории, проводящие анализ, включая требования к испытателям, должны соответствовать требованиям ГОСТ ИСО/МЭК 17025.

5 Определение массовой концентрации формальдегида фотометрическим методом (метод А)

5.1 Сущность метода

Метод основан на взаимодействии формальдегида с ацетилацетоном в среде уксуснокислого аммония с образованием соединения, окрашенного в желтый цвет. Измерение оптической плотности полученного окрашенного раствора проводят при длине волны (414 ± 20) нм.

Определению не мешает 10-кратный избыток фенола и 1000-кратный избыток метанола. Мешающее влияние, оказываемое цветностью анализируемых проб, а также присутствием ионов металлов, образующих с ацетилацетоном окрашенные комплексы, устраняют отгонкой формальдегида. Мешающее влияние мутности анализируемых проб, кроме того, устраняют учетом фоновой поправки.

5.2 Средства измерений, вспомогательное оборудование, реактивы, материалы

Фотометр, спектрофотометр, фотоэлектроколориметр любого типа (далее - прибор), позволяющий измерять оптическую плотность или коэффициент пропускания растворов в оптических кюветах с толщиной поглощающего слоя 5 см при длине волны (414 ± 20) нм, с пределами допускаемой основной абсолютной погрешности измерений коэффициента пропускания не более ± 3 %.

Весы лабораторные по ГОСТ Р 53228, обеспечивающие точность взвешивания с пределом допускаемой абсолютной погрешности не более ± 0,75 мг, или весы со значением среднего квадратического отклонения (СКО), не превышающим 0,3 мг, и с погрешностью от нелинейности не более ± 0,6 мг по документации изготовителя.

Термометр по ГОСТ 28498 диапазоном измерения температур от 0 °С до 100 °С с пределом допускаемой абсолютной погрешности ± 2 °С.

Колбы мерные 2-25-2, 2-50-2, 2-100-2 по ГОСТ 1770.

Цилиндры мерные 1-5-2, 1-10-2, 1-50-2, 1-100-2, 1-250-2 или любого другого исполнения по ГОСТ 1770.

Мензурки по ГОСТ 1770 вместимостью 50, 100, 250 см3.

Пипетки градуированные 1-1-2-0,5; 1-1-2-1; 1-1-2-5; 1-1-2-10 или других типов и исполнений по ГОСТ 29227.

Дозаторы пипеточные по ГОСТ 28311 переменного объема от 1 до 5 см3 с погрешностью дозирования не более ± 2 %.

Секундомер любого типа или таймер механический типа РВ-1-60Н, или часы по ГОСТ 27752.

Стандартный образец (далее - СО) состава раствора формальдегида с номинальной массовой концентрацией 1 мг/см3 и относительной погрешностью аттестованного значения не более ± 2 % при доверительной вероятности Р = 0,95.

Установка для перегонки формальдегида, состоящая из стеклянной лабораторной посуды по ГОСТ 25336 (см. приложение А).

Ротационный испаритель любого типа, обеспечивающий скорость вращения от 0,3 до 3 с-1 (от 20 до 200 об/мин) и поддержание температуры от 50 °С до 60 °С с пределом допускаемой абсолютной погрешности ± 2 °С.

Воронка лабораторная, колбы плоскодонные, колбы круглодонные, стаканы химические по ГОСТ 25336.

Холодильник бытовой любого типа, обеспечивающий поддержание температуры от 2 °С до 8 °С.

Баня водяная любого типа.

Колбонагреватель или электрическая плитка с закрытой спиралью по ГОСТ 14919.

Фильтры мембранные с диаметром пор 0,45 мкм.

Аммоний уксуснокислый по ГОСТ 3117, х. ч.

Кислота уксусная по ГОСТ 61, х. ч.

Ацетилацетон по ГОСТ 10259, ч. д. а.

Кислота серная по ГОСТ 4204, ч. д. а.

Дистиллированная вода по ГОСТ 6709.

Примечание - Допускается применять другие средства измерений, вспомогательные устройства, реактивы и материалы, в том числе импортные, с метрологическими и техническими характеристиками не хуже указанных.

5.3 Подготовка к проведению измерений

5.3.1 Приготовление основного раствора формальдегида с массовой концентрацией 100 мг/дм3

В мерную колбу вместимостью 50 см3 вносят 5 см3 СО состава раствора формальдегида с номинальной массовой концентрацией 1 мг/см3 (см. 5.2) и доводят содержимое колбы до метки дистиллированной водой.

Срок хранения приготовленного раствора в герметично закрытой мерной колбе при температуре от 2 °С до 8 °С - не более 1 мес. Перед использованием раствор выдерживают при комнатной температуре не менее 20 мин.

Примечание - Допускается использовать СО состава раствора формальдегида другого номинального значения массовой концентрации, а также изменять конечный объем основного раствора формальдегида при условии приготовления градуировочных растворов с указанными значениями концентрации формальдегида.

5.3.2 Приготовление рабочего раствора формальдегида с массовой концентрацией 1 мг/дм3

Рабочий раствор формальдегида с массовой концентрацией 1 мг/дм3 готовят разбавлением в 100 раз основного раствора формальдегида (см. 5.3.1). Например, в мерную колбу на 100 см3 вносят 1 см3 основного раствора формальдегида (см. 5.3.1) и доводят объем раствора в колбе до метки дистиллированной водой.

Рабочий раствор формальдегида готовят в день использования.

5.3.3 Приготовление ацетилацетон-аммиачного реагента

В мерную колбу вместимостью 100 см3 вносят 15 г уксуснокислого аммония и растворяют его в небольшом количестве дистиллированной воды, затем добавляют 0,3 см3 концентрированной уксусной кислоты, 1 см3 ацетилацетона, доводят до метки дистиллированной водой и перемешивают.

Срок хранения приготовленного реагента в емкости из темного стекла - не более 1 мес.

5.3.4 Приготовление раствора серной кислоты, разбавленной 1:1

Один объем серной кислоты, аккуратно, при перемешивании, растворяют в одном объеме дистиллированной воды. Например, для приготовления 100 см3 раствора в мерную колбу вместимостью 100 см3 вносят 50 см3 дистиллированной воды и осторожно, при перемешивании, добавляют 50 см3 серной кислоты.

Срок хранения раствора в емкости из стекла - не более 1 года.

5.3.5 Приготовление градуировочных растворов

5.3.5.1 В мерные колбы вместимостью 25 см3 помещают 8 - 9 см3 дистиллированной воды, вносят градуированной пипеткой соответственно: 0,0; 0,5; 1,0; 1,5; 2,0; 4,0; 6,0; 8,0; 10,0 см3 рабочего раствора формальдегида (см. 5.3.2), затем в каждую колбу приливают по 5 см3 ацетилацетон-аммиачного реагента (см. 5.3.3), доводят до метки дистиллированной водой и перемешивают. Значения массовых концентраций формальдегида в градуировочных растворах составляют соответственно: 0,0; 0,02; 0,04, 0,06; 0,08; 0,16; 0,24; 0,32; 0,40 мг/дм3.

Градуировочный раствор, не содержащий формальдегида (с массовой концентрацией формальдегида, равной нулю), является холостой пробой.

Для приготовления градуировочных растворов в мерных колбах вместимостью 50 см3 вносят соответственно в каждую мерную колбу удвоенный объем рабочего градуировочного раствора.

Растворы готовят в день использования.

5.3.5.2 Каждый из приготовленных градуировочных растворов и холостую пробу помещают в водяную баню с температурой 60 °С - 65 °С и выдерживают 10 мин. Затем колбы охлаждают до комнатной температуры, например, в холодной водяной бане или под струей холодной воды.

5.3.6 Подготовка прибора

Подготовку прибора (спектрофотометра или фотоэлектроколориметра) к работе проводят в соответствии с руководством (инструкцией) по эксплуатации прибора.

5.3.7 Градуировка прибора

Измеряют оптическую плотность градуировочных растворов и холостой пробы (см. 5.3.5) три раза при длине волны (414 ± 20) нм в оптической кювете с толщиной поглощающего слоя 5 см, используя в качестве раствора сравнения дистиллированную воду.

Для каждого градуировочного раствора и холостой пробы рассчитывают среднеарифметическое значение полученных значений оптической плотности.

Устанавливают градуировочную характеристику в виде зависимости среднеарифметических значений оптической плотности градуировочных растворов за вычетом среднего арифметического значения оптической плотности холостой пробы от массовой концентрации формальдегида. При этом:

- если прибор снабжен компьютерной (микропроцессорной) системой сбора и обработки информации, то коэффициент градуировочной характеристики (К) устанавливают в соответствии с руководством (инструкцией) по эксплуатации прибора, в противном случае его рассчитывают методом наименьших квадратов по формуле

                                                        (1)

где Сi - массовая концентрация формальдегида в i-м градуировочном растворе, мг/дм3;

Ai - среднее арифметическое значение оптической плотности i-го градуировочного раствора за вычетом среднего арифметического значения оптической плотности холостой пробы, единицы оптической плотности;

l - число градуировочных растворов.

5.3.8 Контроль приемлемости градуировочной характеристики

Контроль приемлемости градуировочной характеристики с использованием компьютерной (микропроцессорной) системы сбора и обработки информации проводят в соответствии с руководством (инструкцией) по эксплуатации прибора.

Если прибор не имеет программного обеспечения, предусматривающего проведение автоматизированной градуировки, то полученную градуировочную характеристику контролируют, используя коэффициент корреляции (должен быть не менее 0,98), рассчитывая для каждого градуировочного раствора значение коэффициента градуировочной характеристики Кi по формуле

                                                             (2)

где Сi - массовая концентрация формальдегида в i-м градуировочном растворе, мг/дм3;

Ai - среднее арифметическое значение оптической плотности i-го градуировочного раствора за вычетом среднего арифметического значения оптической плотности холостой пробы, единицы оптической плотности.

Результаты контроля признаются удовлетворительными, если выполняется условие

                                                     (3)

где Кi - значение коэффициента градуировочной характеристики i-го градуировочного раствора, рассчитанного по формуле (2);

К - значение коэффициента градуировочной характеристики, рассчитанного по формуле (1) при градуировке прибора;

N - норматив контроля приемлемости градуировочной характеристики, равный 12 %.

Если условие (3) не выполняется, то установление градуировочной характеристики повторяют.

5.3.9 Контроль стабильности градуировочной характеристики

Стабильность градуировочной характеристики контролируют не реже одного раза в три месяца, а также при замене реактивов. Для контроля используют не менее трех градуировочных растворов по 5.3.5.

Проводят измерение оптической плотности контрольных градуировочных растворов по 5.3.7 и по полученным значениям оптической плотности, используя градуировочную характеристику (см. 5.3.7), определяют массовую концентрацию формальдегида в контрольных градуировочных растворах.

Градуировочную характеристику считают стабильной при выполнении условия

                                                    (4)

где Сизм - измеренное значение массовой концентрации формальдегида в контрольном градуировочном растворе, мг/дм3;

Ск - значение массовой концентрации формальдегида в контрольном градуировочном растворе (см. 5.3.5), мг/дм3;

G - норматив контроля стабильности градуировочной характеристики, равный 12 %.

Если условие стабильности градуировочной характеристики не выполняется только для одного контрольного градуировочного раствора, то этот раствор готовят заново и проводят повторные измерения. Результаты повторного контроля считают окончательными.

Если условие стабильности градуировочной характеристики не выполняется, то установление градуировочной характеристики проводят заново. Градуировку также проводят после ремонта прибора.

5.4 Порядок проведения измерений

5.4.1 Определение формальдегида в питьевой и природной воде

5.4.1.1 В перегонную колбу вместимостью 250 см3 вносят 200 см3 пробы анализируемой воды, добавляют 1 см3 разбавленной серной кислоты (см. 5.3.4), затем соединяют элементы установки для перегонки формальдегида (см. приложение А), включают нагревание и отгоняют в мензурку 100 см3 отгона.

Примечание - Допускается использовать для перегонки формальдегида ротационный испаритель.

5.4.1.2 В мерную колбу вместимостью 25 см3 вносят 15 - 20 см3 отгона (см. 5.4.1.1), добавляют 5 см3 ацетилацетон-аммиачного реагента (см. 5.3.3) и доводят содержимое колбы до метки отгоном по 5.4.1.1.

Холостую пробу готовят по 5.3.5.1 одновременно с серией проб анализируемой воды.

Затем подготовленные пробы анализируемой воды и холостую пробу нагревают и охлаждают, как указано в 5.3.5.2, после чего измеряют их оптическую плотность при длине волны (414 ± 20) нм относительно дистиллированной воды.

5.4.1.3 Если измеренное значение оптической плотности пробы анализируемой воды превышает верхнюю границу градуировочной характеристики, то в мерную колбу вместимостью 25 см3 вносят пипеткой меньший объем отгона (Vaн), но не менее 0,5 см3, добавляют 5 см3 ацетилацетон-аммиачного реагента и доводят дистиллированной водой до метки, затем пробы нагревают, охлаждают и проводят определение их оптической плотности, как указано в 5.4.1.2.

5.4.2 Определение формальдегида в сточной воде

5.4.2.1 В перегонную колбу вместимостью 250 см3 вносят 200 см3 пробы анализируемой сточной воды, добавляют 1 см3 разбавленной серной кислоты (см. 5.3.4), затем соединяют элементы установки для перегонки формальдегида (см. приложение А), включают нагревание и отгоняют в мензурку около 2/3 объема жидкости. Отключают нагревание, охлаждают перегонную колбу (до прекращения кипения жидкости), после чего добавляют в перегонную колбу 100 см3 дистиллированной воды и продолжают перегонку до конечного объема отгона 200 см3.

Полученный отгон фильтруют.

Примечание - Допускается использовать для перегонки формальдегида ротационный испаритель.

5.4.2.2 В мерную колбу вместимостью 25 см3 вносят 15 - 20 см3 отфильтрованного отгона (см. 5.4.2.1), добавляют 5 см3 ацетилацетон-аммиачного реагента (см. 5.3.3) и доводят отфильтрованным отгоном до метки.

Холостую пробу готовят по 5.3.5.1 одновременно с серией проб анализируемой сточной воды.

Затем подготовленные пробы анализируемой сточной воды и холостую пробу нагревают и охлаждают, как указано в 5.3.5.2, после чего измеряют их оптическую плотность при длине волны (414 ± 20) нм относительно дистиллированной воды.

5.4.2.3 Если измеренное значение оптической плотности пробы анализируемой сточной воды превышает верхнюю границу градуировочной характеристики, то в мерную колбу вместимостью 25 см3вносят меньший объем отфильтрованного отгона (Vaн), но не менее 0,5 см3, добавляют 5 см3 ацетилацетон-аммиачного реагента, доводят дистиллированной водой до метки и продолжают измерение по 5.4.2.2. При превышении и в этом случае верхней границы градуировочной характеристики следует повторить измерение по 5.4.2.2, взяв для перегонки по 5.4.2.1 меньшую аликвоту анализируемой пробы воды, V2 (но не менее 10 см3), разбавленную до 200 см3 дистиллированной водой.

5.4.2.4 Определение значения фоновой поправки

В мерную колбу вместимостью 25 см3 вносят объем отфильтрованного отгона, равный объему, взятому для проведения измерений проб анализируемой сточной воды (см. 5.4.2.2, 5.4.2.3), и доводят дистиллированной водой до метки, при этом ацетилацетон-аммиачный реагент не добавляют.

Измеряют оптическую плотность раствора при длине волны (414 ± 20) нм по отношению к дистиллированной воде. Полученное значение оптической плотности будет являться фоновой поправкой (Аф).

5.5 Обработка результатов измерений

5.5.1 При наличии компьютерной (микропроцессорной) системы сбора и обработки информации порядок обработки результатов определяется руководством (инструкцией) по эксплуатации.

5.5.2 При отсутствии компьютерной (микропроцессорной) системы сбора и обработки информации массовую концентрацию формальдегида в пробе анализируемой воды X, мг/дм3, рассчитывают по формулам:

- для питьевой и природной воды

                                                     (5)

где К - коэффициент градуировочной характеристики (см. 5.3.7);

А - измеренное значение оптической плотности пробы анализируемой воды за вычетом измеренного значения оптической плотности холостой пробы, единицы оптической плотности;

Vк - вместимость мерной колбы, использованной при подготовке пробы анализируемой воды для измерения (в данном случае равен 25 см3), см3;

V1 - объем отгона, см3;

V2 - объем пробы анализируемой воды, взятый на отгон, см3;

Vaн - объем отгона, взятый для измерений, см3;

f - коэффициент, учитывающий степень отгонки формальдегида, определяют согласно 5.4.1.1 и 5.4.1.2, используя вместо пробы анализируемой воды раствор формальдегида, и рассчитывают по формуле

                                                              (6)

где Сд - массовая концентрация раствора формальдегида, взятого на отгон, мг/дм3;

Сп - массовая концентрация формальдегида в отгоне, мг/дм3, рассчитанная по формуле

                                                      (7)

Примечание - Как правило, коэффициент f равен 1,2;

- для сточной воды

                                                 (8)

где Aф - значение фоновой поправки, измеренное по 5.4.2.4.

Рассчитанное по формуле (5) или (8) значение принимают за результат определения содержания формальдегида в пробе анализируемой воды.

5.6 Метрологические характеристики

Метод обеспечивает получение результатов измерения с метрологическими характеристиками, не превышающими значений, приведенных в таблице 1, при доверительной вероятности Р = 0,95.

Таблица 1 - Метрологические характеристики метода А

Диапазон измерений массовой концентрации формальдегида, мг/дм3

Предел повторяемости (относительное значение допускаемого расхождения между двумя результатами параллельных определений при Р = 0,95) r, %

Предел воспроизводимости (относительное значение допускаемого расхождения между двумя единичными результатами измерений, полученными в условиях воспроизводимости при Р = 0,95) R, %

Показатель точности (границы относительной погрешности при вероятности Р = 0,95) ±δ, %

Питьевая и природная вода

От 0,025 до 0,05 включ.

30

42

30

Св. 0,05 » 10,0 »

22

35

25

» 10,0 » 25,0 »

17

22

15

Сточная вода

От 0,05 до 10,0 включ.

22

35

25

Св. 10,0 » 400,0 »

17

22

15

Примечания

1 Значение предела повторяемости используют для внутреннего контроля качества результатов измерений.

2 Установленные численные значения границ относительной погрешности соответствуют численным значениям расширенной неопределенности Uотн при коэффициенте охвата k = 2.

Результаты межлабораторных сравнительных испытаний приведены в приложении Б.

5.7 Контроль качества результатов измерений

Контроль качества результатов измерений в лаборатории предусматривает проведение контроля стабильности результатов измерений с учетом требований ГОСТ Р ИСО 5725-6 (раздел 6) или [1].

5.8 Оформление результатов измерений

Результаты измерений регистрируют в протоколе испытаний, который оформляют в соответствии с требованиями ГОСТ ИСО/МЭК 17025, при этом протокол испытаний должен содержать ссылку на настоящий стандарт с указанием метода определения.

Результаты измерений массовой концентрации формальдегида х, мг/дм3 (при Р = 0,95), представляют в виде (при подтвержденном в лаборатории соответствии аналитической процедуры требованиям настоящего стандарта)

Х ± Δ либо Х ± U,                                                        (9)

где Δ - абсолютная погрешность измерений массовой концентрации формальдегида (при Р = 0,95), мг/дм3, рассчитываемая по формуле

Δ = 0,01 × δ × X,                                                       (10)

где δ - относительная погрешность измерения массовой концентрации формальдегида по таблице 1, %;

U - расширенная неопределенность при коэффициенте охвата k = 2, мг/дм3, рассчитываемая по формуле

U = 0,01 × Uотн × X,                                                    (11)

где Uотн - расширенная неопределенность (в процентах) при коэффициенте охвата k = 2 по таблице 1.

Допускается результат измерений представлять в виде

Х ± Δлаб, мг/дм3,                                                       (12)

при условии Δлаб < Δ, где Δлаб - значение показателя точности измерений (доверительные границы абсолютной погрешности измерений при Р = 0,95), установленное при реализации настоящего метода в лаборатории и обеспечиваемое контролем стабильности результатов измерений;

X ± Uлaб, мг/дм3                                                     (13)

при условии Uлаб < U, где Uлаб - значение расширенной неопределенности, установленное при реализации настоящего метода в лаборатории с учетом [2] или [3] и обеспечиваемое контролем стабильности результатов измерений в лаборатории.

Численное значение результата определений и значение абсолютной погрешности (неопределенности) определений выражают не более чем двумя значащими цифрами.

6 Определение массовой концентрации формальдегида методом высокоэффективной жидкостной хроматографии (метод Б)

6.1 Сущность метода

Метод основан на взаимодействии формальдегида с 2,4-динитрофенилгидразином, экстракции полученного продукта (2,4-динитрофенилгидразона) гексаном, концентрировании экстракта и измерении массовой концентрации продукта реакции методом ВЭЖХ с УФ-детектором.

6.2 Средства измерений, вспомогательное оборудование, реактивы, материалы - по 5.2 со следующими уточнениями:

- жидкостный хроматограф с УФ-детектором, с градиентной системой подачи состава элюента, дозирующей петлей объемом 20 мм3 или системой автоматического ввода пробы и компьютером с программным обеспечением для обработки хроматографических данных;

- колонка хроматографическая с фазой на основе силикагеля с привитыми группами С18, например, размером 250´3 мм, зернением 5 мкм и предколонкой RP-18 размером 4´4 мм, зернением 5 мкм;

- весы по ГОСТ 53228, обеспечивающие точность взвешивания с пределом допускаемой абсолютной погрешности не более ± 7 мг;

- микрошприцы вместимостью 50, 100, 500 и 1000 мкл с допускаемой погрешностью дозирования не более ± 5 %;

- цилиндры мерные 1-25-2 или любого другого исполнения по ГОСТ 1770;

- колбы мерные 2-10-2 по ГОСТ 1770;

- емкости стеклянные с герметичной завинчивающейся пробкой и тефлоновой прокладкой вместимостью 1,5 см3;

- делительная воронка вместимостью 250 см3, воронка лабораторная, колбы плоскодонные вместимостью 100 см3, колбы круглодонные вместимостью не менее 100 см3, стаканы химические по ГОСТ 25336;

- натрий тиосульфат 5-водный по ГОСТ 27068, ч. д. а.;

- натрий сернокислый (сульфат натрия) по ГОСТ 4166, х. ч.;

- кислота ортофосфорная по ГОСТ 6552, х. ч.;

- 2,4-динитрофенилгидразин с содержанием основного вещества не менее 98 %, CAS*: 119-26-6;

______________

* CAS (Chemical Abstracts Service) - код международной классификации химической продукции.

- ацетонитрил для жидкостной хроматографии;

- гексан, х. ч.;

- вата медицинская гигроскопическая по ГОСТ 5556.

6.3 Подготовка к проведению измерений

6.3.1 Проверка чистоты гексана

Чистоту гексана проверяют для каждой его новой партии следующим образом: в колбу ротационного испарителя вместимостью 100 см3 вносят 45 см3 гексана и упаривают досуха на ротационном испарителе. Затем к сухому остатку добавляют 0,5 см3 ацетонитрила и анализируют в условиях хроматографирования по 6.4.2, при этом на хроматограмме не должны присутствовать пики, совпадающие по времени удерживания с 2,4-динитрофенилгидразоном формальдегида.

6.3.2 Проверка чистоты дистиллированной воды, используемой для приготовления вспомогательных и градуировочных растворов

Для контроля чистоты дистиллированной воды анализируют в соответствии с разделом 6.4 градуировочные растворы № 0 и № 1, приготовленные по 6.3.5, 6.3.6 и 6.3.7 с использованием проверяемой дистиллированной воды и гексана по 6.3.1. Сравнивают полученные значения площадей пиков 2,4-динитрофенилгидразона формальдегида на хроматограммах, при этом площадь пика на хроматограмме градуировочного раствора № 0 должна составлять не более 1/3 площади пика на хроматограмме градуировочного раствора № 1. В случае невыполнения данного условия дистиллированную воду заменяют.

6.3.3 Приготовление раствора 2,4-динитрофенилгидразина

В мерную колбу вместимостью 100 см3 вносят навеску массой (220 ± 20) мг 2,4-динитрофенилгидразина и доводят ацетонитрилом до метки.

Срок хранения приготовленного раствора при температуре от 2 °С до 8 °С - не более 3 мес.

6.3.4 Приготовление раствора ортофосфорной кислоты

Мерную колбу вместимостью 100 см3 заполняют примерно на 1/3 ее объема дистиллированной водой по 6.3.2, осторожно приливают 12,5 см3 ортофосфорной кислоты, перемешивают и доводят содержимое колбы до метки дистиллированной водой по 6.3.2.

Срок хранения приготовленного раствора не ограничен.

6.3.5 Приготовление основного раствора формальдегида массовой концентрации 100 мг/дм3

В мерную колбу вместимостью 10 см3 вносят 1 см3 СО состава раствора формальдегида с номинальной массовой концентрацией 1 мг/см3 (см. 5.2), доводят содержимое колбы до метки дистиллированной водой по 6.3.2.

Срок хранения приготовленного раствора в герметично закрытой мерной колбе при температуре от 2 °С до 8 °С - не более 1 мес. Перед использованием раствор выдерживают при комнатной температуре не менее 20 мин.

Примечание - Допускается использовать СО состава раствора формальдегида другого номинального значения массовой концентрации при условии приготовления градуировочных растворов с указанными значениями концентрации формальдегида.

6.3.6 Приготовление рабочего раствора формальдегида массовой концентрации 10 мг/дм3

Рабочий раствор формальдегида с массовой концентрацией 10 мг/дм3 готовят разбавлением дистиллированной водой по 6.3.2 в 10 раз основного раствора формальдегида (см. 6.3.5). Например, для приготовления 10 см3 раствора в мерную колбу вместимостью 10 см3 вносят 1 см3 раствора по 6.3.5 и доводят содержимое колбы до метки дистиллированной водой по 6.3.2.

Раствор готовят в день использования.

6.3.7 Приготовление градуировочных растворов

В мерные колбы вместимостью 100 см3 вносят примерно на 1/3 их объема дистиллированную воду по 6.3.2, добавляют соответствующие объемы основного или рабочего растворов формальдегида (см. таблицу 2) и доводят содержимое колб до метки дистиллированной водой по 6.3.2. В одну из мерных колб растворы формальдегида не вносят, градуировочный раствор, не содержащий формальдегида (с массовой концентрацией формальдегида, равной нулю), обозначен в таблице 2 номером 0.

Таблица 2 - Градуировочные растворы

Номер градуировочного раствора

Объем, мм3

Массовая концентрация формальдегида в градуировочном растворе, мг/дм3

основного раствора формальдегида по 6.3.5

рабочего раствора формальдегида по 6.3.6

0

-

-

0,000

1

-

20

0,002

2

-

100

0,01

3

-

250

0,025

4

50

-

0,05

5

100

-

0,1

Градуировочные растворы готовят в день использования.

6.3.8 Подготовка прибора

Подготовку хроматографа к работе проводят в соответствии с руководством (инструкцией) по эксплуатации. Рекомендуемыми являются следующие параметры хроматографирования:

- скорость элюирования - 0,5 см3/мин;

- регистрация хроматограммы на длине волны 360 нм при ширине спектральной полосы 4 нм;

- объем вводимой пробы - 20 мм3.

Хроматографирование проводят в градиентном режиме подачи элюента по программе, приведенной в таблице 3.

Таблица 3 - Режим подачи элюентов

Время, мин

Элюент, содержащий

воды, %

ацетонитрила, %

0

75

25

10

0

100

15

75

25

6.3.9 Градуировка прибора

6.3.9.1 Подготовка градуировочных растворов к измерению

Градуировочные растворы готовят к измерению следующим образом: в плоскодонную колбу вместимостью 100 см3 вносят 50 см3 конкретного градуировочного раствора (см. 6.3.7), с помощью пипеточного дозатора добавляют 1 см3 раствора 2,4-динитрофенилгидразина в ацетонитриле (см. 6.3.3) и 1 см3 раствора ортофосфорной кислоты (см. 6.3.4), перемешивают, выдерживают при комнатной температуре в течение 25 мин, затем содержимое колбы переносят в делительную воронку вместимостью 250 см3 и проводят трехкратную экстракцию гексаном порциями по 15 см3. Экстракт собирают в коническую колбу вместимостью 100 см3, осушают над сульфатом натрия в течение 10 мин, после чего фильтруют через слой ваты и собирают в круглодонную колбу. Экстракт упаривают на ротационном испарителе досуха, добавляют с помощью дозатора 0,5 см3 ацетонитрила и переносят растворенный экстракт в стеклянную емкость (виалу) вместимостью 1,5 см3, снабженную плотно завинчивающейся пробкой и тефлоновой прокладкой.

6.3.9.2 Проведение градуировки

Каждый полученный экстракт (см. 6.3.9.1) анализируют не менее двух раз при установленных параметрах хроматографирования по 6.3.8.

Полученные хроматограммы обрабатывают с использованием компьютерной системы обработки данных прибора. Определяют абсолютное время удерживания 2,4-динитрофенилгидразона и устанавливают градуировочную характеристику в виде зависимости площади пика от массовой концентрации формальдегида в градуировочном растворе. Коэффициент линейной корреляции полученной градуировочной характеристики должен быть не менее 0,98.

6.3.10 Контроль стабильности градуировочной характеристики

Контроль стабильности градуировочной характеристики проводят для каждой серии анализируемых проб воды, а также при замене хроматографической колонки, изменении условий хроматографического разделения и после ремонта прибора. Для контроля стабильности градуировочной характеристики используют один из градуировочных растворов по 6.3.7, подготовленный к анализу по 6.3.9.1. Хроматографирование экстракта градуировочного раствора проводят не менее двух раз при установленных по 6.3.8 параметрах хроматографирования.

Градуировочную характеристику считают стабильной при выполнении условия:

                                                 (14)

где Сизм - измеренное значение массовой концентрации формальдегида в контрольном градуировочном растворе, мг/дм3;

Ск - значение массовой концентрации формальдегида в контрольном градуировочном растворе (см. 6.3.7), мг/дм3;

G - норматив контроля стабильности градуировочной характеристики, равный:

- 17 % - для массовой концентрации формальдегида от 0,002 до 0,025 мг/дм3 включительно;

- 15 % - для массовой концентрации формальдегида свыше 0,025 до 0,1 мг/дм3 включительно.

Если условие стабильности градуировочной характеристики не выполняется, то повторяют контроль с использованием другого градуировочного раствора по 6.3.7, подготовленного к анализу аналогично 6.4.1. В случае повторного невыполнения условия (14) градуировку прибора проводят заново.

6.4 Проведение измерений

6.4.1 В плоскодонную колбу вместимостью 100 см3 вносят 50 см3 пробы анализируемой воды и выполняют последовательность операций согласно 6.3.9.1.

Срок хранения экстракта пробы анализируемой воды при температуре от 2 °С до 8 °С - не более 7 су т.

Перед анализом экстракт пробы анализируемой воды выдерживают при комнатной температуре не менее 20 мин.

6.4.2 Хроматографический анализ экстракта пробы анализируемой воды (см. 6.4.1) проводят при установленных по 6.3.8 параметрах хроматографирования.

6.4.3 Если измеренное значение массовой концентрации формальдегида в экстракте пробы анализируемой воды более 0,1 мг/дм3, проводят разбавление экстракта (см. 6.4.1) ацетонитрилом, но не более чем в 100 раз, следующим образом: в виалу вносят аликвоту экстракта (Va), добавляют ацетонитрил до объема 1 см3, перемешивают и затем повторяют хроматографический анализ по 6.4.2.

6.5 Обработка результатов измерений

6.5.1 Идентификацию 2,4-динитрофенилгидразона формальдегида проводят по абсолютному времени удерживания, определенному при градуировке прибора по 6.3.9.

6.5.2 При помощи программного обеспечения прибора по градуировочной характеристике, установленной по 6.3.9, определяют массовую концентрацию формальдегида в экстракте пробы анализируемой воды С, мг/дм3.

Массовую концентрацию формальдегида в пробе анализируемой воды X, мг/дм3, рассчитывают по формуле

X = C × d,                                                            (15)

где С - массовая концентрация формальдегида в экстракте (см. 6.4.1) или в разбавленной аликвоте экстракта (см. 6.4.3) пробы анализируемой воды, мг/дм3;

d - коэффициент разбавления экстракта, рассчитываемый по формуле

                                                            (16)

где Vэ - объем экстракта пробы анализируемой воды в ацетонитриле, равный 0,5 см3;

Va - объем аликвоты экстракта пробы анализируемой воды в ацетонитриле, взятый для разбавления, см3.

Примечание - Если пробу анализируемой воды не разбавляли, то d принимают равным 1.

Рассчитанное по формуле (15) значение принимают за результат определения содержания формальдегида в пробе анализируемой воды.

6.6 Метрологические характеристики

Метод обеспечивает получение результатов измерения с метрологическими характеристиками, не превышающими значений, приведенных в таблице 4, при доверительной вероятности Р = 0,95.

Таблица 4 - Метрологические характеристики метода Б

Диапазон измерений массовой концентрации формальдегида, мг/дм3

Предел повторяемости (относительное значение допускаемого расхождения между двумя результатами параллельных определений при Р = 0,95) r, %

Предел воспроизводимости (относительное значение допускаемого расхождения между двумя единичными результатами измерений, полученными в условиях воспроизводимости при Р = 0,95) R, %

Показатель точности (границы относительной погрешности при вероятности Р = 0,95) ± δ, %

От 0,002 до 0,025 включ.

25

42

30

Св. 0,025 до 10 включ.

20

34

24

Примечания

1 Значение предела повторяемости используют для внутреннего контроля качества результатов измерений.

2 Установленные численные значения границ относительной погрешности соответствуют численным значениям расширенной неопределенности Uотн при коэффициенте охвата k = 2.

6.7 Контроль показателей качества результатов измерений - аналогично 5.7.

6.8 Оформление результатов измерений - аналогично 5.8, при этом используют показатели точности по таблице 4.

7 Определение массовой концентрации формальдегида флуориметрическим методом (метод В)

7.1 Сущность метода

Метод основан на взаимодействии формальдегида с 1,3-циклогександионом в среде уксуснокислого аммония с образованием соединения, флуоресцирующего в диапазоне длин волн от 450 до 480 нм при возбуждении в диапазоне длин волн от 380 до 410 нм.

Для устранения мешающих влияний формальдегид отгоняют с водяным паром.

7.2 Средства измерений, вспомогательное оборудование, реактивы, материалы - по 5.2 со следующими уточнениями:

- флуориметр, спектрофлуориметр, анализатор жидкости люминесцентный (далее - прибор), предназначенный для регистрации интенсивности флуоресценции в диапазоне длин волн от 450 до 480 нм при возбуждении в диапазоне длин волн от 380 до 410 нм;

- емкости стеклянные термостойкие с завинчивающейся крышкой (виалы) вместимостью 10 см3;

- 1,3-циклогександион, х. ч.;

- кислота соляная по ГОСТ 3118, х. ч.

7.3 Подготовка к проведению измерений

Дистиллированную воду, применяемую для приготовления рабочих растворов формальдегида (см. 7.3.2) и раствора 1,3-циклогександиона (см. 7.3.3), кипятят в течение 15 мин, охлаждают и хранят в закрытой стеклянной емкости не более 3 сут. Не допускается использовать крышки, изготовленные из фенолформальдегидных смол.

7.3.1 Приготовление рабочих растворов формальдегида

Рабочие растворы формальдегида №№ 1 - 5 готовят путем разбавления рабочего раствора формальдегида (см. 6.3.6) дистиллированной водой (см. 7.3) в мерных колбах заданной вместимости. Растворы готовят в день использования.

Пример приготовления рабочих растворов №№ 1 - 5 в мерных колбах вместимостью 100 см3 и значения массовой концентрации формальдегида в них приведен в таблице 5.

Таблица 5 - Пример приготовления рабочих растворов формальдегида

Наименование показателя

Номер рабочего раствора

1

2

3

4

5

Раствор, используемый для приготовления конкретного рабочего раствора

Рабочий раствор формальдегида по 6.3.6

Рабочий раствор № 1

Объем раствора, необходимый для приготовления рабочих растворов, см3

5,0

2,5

1,0

5,0

2,0

Массовая концентрация формальдегида в рабочем растворе, мг/дм3

0,5

0,25

0,1

0,05

0,02

7.3.2 Приготовление раствора 1,3-циклогександиона в аммиачно-ацетатном растворе

В мерную колбу вместимостью 100 см3 вносят 10 г уксуснокислого аммония и 50 - 60 см3 дистиллированной воды (см. 7.3), добавляют 2,5 см3 концентрированной соляной кислоты, 10 мг 1,3-циклогександиона и доводят содержимое колбы до метки дистиллированной водой.

Приготовленный раствор рекомендуется выдержать перед использованием в течение 12 ч.

Срок хранения раствора в емкости из темного стекла при температуре 2 °С - 8 °С - не более 2 мес.

7.3.3 Приготовление градуировочных растворов

Градуировочные растворы готовят в емкостях с завинчивающейся крышкой (виалах). В шесть сухих емкостей вместимостью 10 см3 (см. 7.2) вносят по 2 см3 раствора 1,3-циклогександиона (см. 7.3.2), затем в первую емкость помещают 3,0 см3 дистиллированной воды (см. 7.3), а в остальные - по 3,0 см3 рабочих растворов формальдегида (см. таблицу 5), после чего емкости закрывают завинчивающимися крышками, помещают на водяную баню и нагревают в течение 45 мин при температуре 60 °С - 65 °С. Растворы охлаждают до комнатной температуры в холодной водяной бане или под струей холодной воды.

Градуировочный раствор, приготовленный в первой емкости (с массовой концентрацией формальдегида, равной нулю), является фоновым.

Градуировочные растворы готовят для каждой партии проб анализируемой воды одновременно с приготовлением проб анализируемой воды по 7.4.1.2.

Примечание - При проведении рутинных измерений допускается использовать меньшее число градуировочных растворов при условии обязательного приготовления фонового раствора и градуировочного раствора, подготовленного на основе рабочего раствора № 1 (см. таблицу 5).

7.3.4 Подготовка прибора

Подготовку прибора к работе проводят в соответствии с руководством (инструкцией) по эксплуатации прибора. Светофильтрами или монохроматорами выделяют спектральные диапазоны возбуждения и регистрации флуоресценции (см. 7.2).

7.3.5 Градуировка прибора

Измеряют не менее трех раз интенсивность флуоресценции подготовленных по 7.3.3 градуировочных растворов и фонового раствора.

Для каждого градуировочного раствора и фонового раствора рассчитывают среднеарифметическое значение полученных значений интенсивности флуоресценции и устанавливают градуировочную характеристику в виде зависимости среднеарифметических значений интенсивности флуоресценции за вычетом среднеарифметического значения интенсивности флуоресценции фонового раствора от массовой концентрации формальдегида аналогично 5.3.7.

7.3.6 Контроль приемлемости градуировочной характеристики - аналогично 5.3.8.

7.4 Порядок проведения измерений

7.4.1 Подготовка пробы анализируемой воды к измерению

7.4.1.1 В перегонную колбу перегонного устройства (см. приложение А) пипеткой или мерным цилиндром вносят 25 см3 пробы анализируемой воды, добавляют 2 см3 концентрированной серной кислоты и отгоняют от 10 до 12 см3 дистиллята, затем отключают нагревание и охлаждают содержимое колбы перегонного устройства (до прекращения кипения жидкости). Затем в колбу перегонного устройства добавляют 10 - 12 см3 дистиллированной воды (см. 7.3) и продолжают отгонку до получения 20 - 22 см3 дистиллята.

Дистиллят переносят в мерную колбу вместимостью 25 см3 и доводят до метки дистиллированной водой (далее - отгон).

7.4.1.2 В емкости с завинчивающимися крышками (виалы) вместимостью 10 см3 вносят 2 см3 раствора 1,3-циклогександиона (см. 7.3.2), добавляют 3 см3 полученного по 7.4.1.1 отгона, после чего емкость помещают на водяную баню и нагревают в течение 45 мин при температуре 60 °С, при этом нагревание проводят одновременно с градуировочными растворами. Затем емкости с подготовленной пробой анализируемой воды охлаждают до комнатной температуры в холодной водяной бане или под струей холодной воды.

7.4.2 Подготовленные и охлажденные (см. 7.4.1.2) пробы анализируемой воды переносят из емкостей (виал) в кювету прибора и не менее трех раз измеряют интенсивность флуоресценции пробы.

Рассчитывают среднеарифметическое значение полученных значений, которое принимают за интенсивность люминесценции подготовленной пробы анализируемой воды.

7.4.3 Если измеренное значение интенсивности флуоресценции пробы анализируемой воды выходит за пределы градуировочной характеристики, то отгон (см. 7.4.1.1) разбавляют следующим образом: в мерную колбу вместимостью Vк, см3, отбирают пипеткой аликвоту отгона Va, см3, разбавляют до метки дистиллированной водой и повторяют операции по 7.4.1.2, после чего проводят измерения интенсивности флуоресценции по 7.4.2. При этом объем аликвоты отгона должен быть не менее 1 см3, а коэффициент разбавления отгона (см. 7.5.2) не должен превышать 100.

7.5 Обработка результатов измерений

7.5.1 При наличии компьютерной (микропроцессорной) системы сбора и обработки информации порядок обработки результатов определяется руководством (инструкцией) по эксплуатации.

7.5.2 При отсутствии компьютерной (микропроцессорной) системы сбора и обработки информации массовую концентрацию формальдегида в пробе анализируемой воды X, мг/дм3, рассчитывают по формуле

Х = К × (I - Iф) × Q,                                                        (17)

где К - коэффициент градуировочной характеристики, рассчитываемый аналогично формуле (1), используя вместо оптической плотности значения интенсивности люминесценции градуировочных растворов, измеренных согласно 7.3.5;

I - интенсивность люминесценции подготовленной пробы анализируемой воды, условные единицы;

Iф - интенсивность люминесценции фонового раствора, условные единицы;

Q - коэффициент разбавления отгона (см. 7.4.3), рассчитываемый по формуле

                                                            (18)

где Vкp - вместимость мерной колбы, взятой для разбавления отгона, см3;

Va - объем аликвоты отгона, взятый для разбавления, см3.

Примечание - Если отгон не разбавляли, то Q принимают равным 1.

Рассчитанное по формуле (17) значение принимают за результат определения содержания формальдегида в пробе анализируемой воды.

7.6 Метрологические характеристики

Метод обеспечивает получение результатов измерения с метрологическими характеристиками, не превышающими значений, приведенных в таблице 6, при доверительной вероятности Р = 0,95. Результаты межлабораторных сравнительных испытаний приведены в приложении Б.

Таблица 6 - Метрологические характеристики метода В

Диапазон измерений массовой концентрации формальдегида, мг/дм3

Предел повторяемости (относительное значение допускаемого расхождения между двумя результатами параллельных определений при Р = 0,95) r, %

Предел воспроизводимости (относительное значение допускаемого расхождения между двумя единичными результатами измерений, полученными в условиях воспроизводимости при Р = 0,95) R, %

Показатель точности (границы относительной погрешности при вероятности Р = 0,95) ± δ, %

Питьевая и природная вода

От 0,02 до 50 включ.

22

35

25

Сточная вода

От 0,02 до 50 включ.

31

49

35

Примечания

1 Значение предела повторяемости используют для внутреннего контроля качества результатов измерений.

2 Установленные численные значения границ относительной погрешности соответствуют численным значениям расширенной неопределенности Uотн при коэффициенте охвата k = 2.

7.7 Контроль показателей качества результатов измерений - аналогично 5.7.

7.8 Оформление результатов измерений - аналогично 5.8, при этом используют показатели точности по таблице 6.

Приложение А
(рекомендуемое)

Установка для перегонки формальдегида

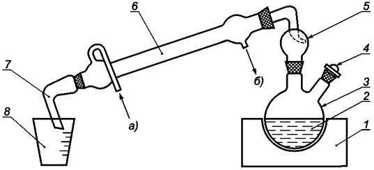
А.1 Принципиальная схема установки для перегонки формальдегида приведена на рисунке А.1.

1 - колбонагреватель (или электрическая плитка); 2 - проба анализируемой воды; 3 - перегонная колба;
4 - пробка стеклянная 14/23 по ГОСТ 25336; 5 - каплеуловитель КО-14/23(29/32)-60 ХС по ГОСТ 25336;
6 - прямой холодильник с трубкой ХПТ-1-300-(14/23) ХС по ГОСТ 25336; 7 - аллонж АИ-14/23-50 ТС по ГОСТ 25336; 8 - приемная емкость; а) - вход охлаждающей воды из водопроводной сети; б) - выход охлаждающей воды

Рисунок А.1 - Принципиальная схема установки для перегонки

Примечания

1 В качестве перегонной колбы 3 используют круглодонную колбу с двумя горловинами по ГОСТ 25336 КГУ-2-2-250-14/23(29/32) ТС - для метода А; КГУ-2-2-50-14/23(29/32) ТС - для метода В.

2 В качестве приемной емкости 8 используют мензурку вместимостью 250 см3 по ГОСТ 1770 - для метода А; мерный цилиндр или мензурку вместимостью 50 см3 - для метода В.

Приложение Б
(справочное)

Результаты проведенных межлабораторных испытаний

Б.1 Межлабораторные испытания, проведенные по методам А и В в 2010 году (координатор: Закрытое акционерное общество «Роса», г. Москва), дали результаты, представленные в таблице Б.1.

Таблица Б.1

Шифр образца

Число лабораторий

Число выбросов

Опорное значение массовой концентрации формальдегида (по процедуре приготовления) Соп, мг/дм3

Среднеарифметическое значение массовой концентрации формальдегида , мг/дм3

Стандартное отклонение воспроизводимости SR, мг/дм3

Относительное стандартное отклонение воспроизводимости sR.отн, %

Выход η, %

Метод А

OK F3-10 15 0

0,320

0,324

0,023

7,4

101,3

Метод В

OK F3-10 10 0

0,320

0,323

0,039

12,9

100,9

Примечания

1 Образец представлял собой раствор формальдегида в дистиллированной воде, приготавливаемый каждым участником по процедуре, установленной координатором.

2 Под выходом η понимают отношение  к Соп, выраженное в процентах.

Библиография

[1]

Рекомендации по межгосударственной стандартизации РМГ 76-2004

Государственная система обеспечения единства измерений. Внутренний контроль качества результатов количественного химического анализа

[2]

Руководство ЕВРОХИМ/СИТАК «Количественное описание неопределенности в аналитических измерениях». 2-е издание, 2000, пер. с англ. - СПб, ВНИИМ им. Д.И. Менделеева, 2002 г.

[3]

Рекомендации по стандартизации Р 50.1.060-2006

Государственная система обеспечения единства измерений. Статистические методы. Руководство по использованию оценок повторяемости, воспроизводимости и правильности при оценке неопределенности измерений

 

Ключевые слова: вода питьевая, вода природная, вода сточная, методы испытаний, формальдегид