Меню
Навигация
Бесплатное обучение
Novatika
Первая линия

Материалы кровельные и гидроизоляционные гибкие битумосодержащие. Метод определения сопротивления раздиру стержнем гвоздя

Стандарт распространяется на кровельные и гидроизоляционные гибкие битумосодержащие материалы и устанавливает метод определения сопротивления раздиру стержнем гвоздя. Стандарт предназначен для определения характеристик материалов после их изготовления или поставки до их укладки. Требования стандарта распространяются только на материалы и не применимы для определения характеристик изготовленных из них гидроизоляционных систем после производства работ. Стандарт предназначен для определения характеристик основных или безосновных материалов конкретных видов.

Обозначение: ГОСТ Р 53455-2009
Название рус.: Материалы кровельные и гидроизоляционные гибкие битумосодержащие. Метод определения сопротивления раздиру стержнем гвоздя
Статус: отменен
Дата актуализации текста: 05.05.2017
Дата добавления в базу: 01.09.2013
Дата введения в действие: 01.07.2013
Утвержден: 08.12.2009 Федеральное агентство по техническому регулированию и метрологии (594-ст)
Опубликован: Стандартинформ (2010 г. )
Ссылки для скачивания:

ФЕДЕРАЛЬНОЕ АГЕНТСТВО
ПО ТЕХНИЧЕСКОМУ РЕГУЛИРОВАНИЮ И МЕТРОЛОГИИ

НАЦИОНАЛЬНЫЙ
СТАНДАРТ

РОССИЙСКОЙ
ФЕДЕРАЦИИ

ГОСТ Р
53455-2009

(ЕН 12310-1:1999)

МАТЕРИАЛЫ КРОВЕЛЬНЫЕ
И ГИДРОИЗОЛЯЦИОННЫЕ ГИБКИЕ
БИТУМОСОДЕРЖАЩИЕ

Метод определения сопротивления раздиру
стержнем гвоздя

EN 12310-1:1999
Flexiblе sheets fоr wаtеrрrооfing -
Раrt 1: Вitumеn sheets fоr rооf wаtеrрrооfing - Dеtеrminаtion of rеsistаnсе
to tеаring (nail shank) (МOD)

Москва
Стандартинформ

2010

Предисловие

Цели и принципы стандартизации в Российской Федерации установлены Федеральным законом от 27 декабря 2002 г. № 184-ФЗ «О техническом регулировании», а правила применения национальных стандартов Российской Федерации - ГОСТ Р 1.0-2004 «Стандартизация в Российской Федерации. Основные положения»

Сведения о стандарте

1 ПОДГОТОВЛЕН Научно-исследовательским институтом строительной физики Российской академии архитектуры и строительных наук (НИИСФ РААСН) на основе выполненного Открытым акционерным обществом «Центр методологии нормирования и стандартизации в строительстве» (ОАО «ЦНС») аутентичного перевода регионального стандарта, указанного в пункте 4

2 ВНЕСЕН Техническим комитетом по стандартизации ТК 465 «Строительство»

3 УТВЕРЖДЕН И ВВЕДЕН В ДЕЙСТВИЕ Приказом Федерального агентства по техническому регулированию и метрологии от 8 декабря 2009 г. № 594-ст

4 Настоящий стандарт является модифицированным по отношению к европейскому стандарту ЕН 12310-1:1999 «Материалы гибкие гидроизоляционные. Часть 1: Материалы кровельные и гидроизоляционные битумосодержащие - Определение сопротивления раздиру стержнем гвоздя» [ЕN 12310-1:1999 «Flехiblе sheets for wаtеrрrооfing - Раrt 1: Вitumеn sheets for rооf wаtеrрrооfing- Dеtеrmination оf rеsistаnсе tо tеаring (nаil shank)»] путем исключения из раздела «Нормативные ссылки» и текста настоящего стандарта ссылки на ЕН 10002-2.

Измененный текст раздела «Нормативные ссылки» выделен в тексте стандарта курсивом.

Наименование настоящего стандарта изменено по отношению к наименованию европейского стандарта для приведения в соответствие с ГОСТ Р 1.5-2004 (подраздел 3.5)

5 ВВЕДЕН ВПЕРВЫЕ

Содержание

Введение

Применение настоящего стандарта, устанавливающего метод определения сопротивления раздиру стержнем гвоздя кровельных и гидроизоляционных гибких битумосодержащих материалов, позволяет получить адекватную оценку качества материалов, производимых в Российской Федерации и странах ЕС, обеспечить конкурентоспособность российской продукции на международном рынке, активизировать участие Российской Федерации в работе по международной стандартизации.

Настоящий стандарт применяют, если заключенные контракты или другие согласованные условия предусматривают применение кровельных и гидроизоляционных гибких битумосодержащих материалов с характеристиками, гармонизированными с требованиями европейских стандартов, а также в случаях, когда это технически и экономически целесообразно.

ГОСТ Р 53455-2009
(ЕН 12310-1:1999)

НАЦИОНАЛЬНЫЙ СТАНДАРТ РОССИЙСКОЙ ФЕДЕРАЦИИ

МАТЕРИАЛЫ КРОВЕЛЬНЫЕ И ГИДРОИЗОЛЯЦИОННЫЕ
ГИБКИЕ БИТУМОСОДЕРЖАЩИЕ

Метод определения сопротивления раздиру стержнем гвоздя

Roofing, hydraulic-insulating, flexible, bitumen-based materials.
Method for determination of resistance to tearing (nail shank)

Дата введения -2010-09-01

1 Область применения

Настоящий стандарт распространяется на кровельные и гидроизоляционные гибкие битумосодержащие материалы (далее - материалы) и устанавливает метод определения сопротивления раздиру стержнем гвоздя.

Настоящий стандарт предназначен для определения характеристик материалов после их изготовления или поставки, до их укладки. Требования настоящего стандарта распространяются только на материалы и не применимы для определения характеристик изготовленных из них гидроизоляционных систем после производства работ.

Настоящий стандарт предназначен для определения характеристик основных или безосновных материалов конкретных видов.

2 Нормативные ссылки

Настоящий стандарт не содержит нормативных ссылок.

3 Термины и определения

В настоящем стандарте применен следующий термин с соответствующим определением:

3.1 сопротивление раздиру стержнем гвоздя [resisnanсе tо tеаring (nail shank)]: Сила растяжения, необходимая для раздира образца, пробитого стержнем гвоздя.

4 Сущность метода

Испытание заключается в измерении силы, необходимой для полного раздира образца при разрастании уже имеющегося в образце отверстия, пробитого стержнем гвоздя. Сила, необходимая для раздира, прикладывается к образцу в направлении, перпендикулярном к оси стержня гвоздя.

5 Средства испытаний

5.1 Разрывная машина

Разрывная машина для испытаний с устройством для регистрации силы и соответствующего удлинения образца, обеспечивающая:

- значение наибольшей предельной нагрузки не менее 2000 Н;

- постоянную скорость перемещения подвижного зажима (100 ± 10) мм/мин;

- предел допускаемой погрешности измерения силы ±2 %.

Ширина зажимов должна быть не менее 100 мм.

Способ крепления образца в зажимах должен обеспечивать равномерное распределение силы растяжения по всей его ширине при проведении испытания, а также исключать разрушение образца внутри зажима или на его границе.

Выскальзывание образца из зажимов при проведении испытания не должно превышать 2 мм.

Для предотвращения выскальзывания образца из зажимов, превышающего 2 мм, допускается предварительно охлаждать зажимы.

5.2 Вспомогательные устройства

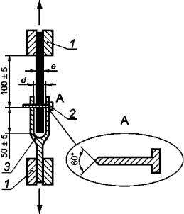
Захватное устройство вилочного типа с двумя зубцами с просверленными в них отверстиями для стержня гвоздя, позволяющее закрепить образец по схеме, приведенной на рисунке 1.

Металлический гвоздь диаметром (2,5 ± 0,1) мм.

е - толщина образца; d - расстояние между зубцами (е + 1 ≤ dе + 2); 1 - зажимы разрывной машины;
2 - гвоздь диаметром (2,5 ± 0,1) мм; 3 - захватное устройство

Рисунок 1 - Схема закрепления образца

6 Отбор образцов

Отбор образцов проводят в соответствии с требованиями нормативных или технических документов на материалы конкретных видов.

7 Подготовка образцов для испытаний

Для проведения испытаний готовят по пять образцов-полосок шириной (100 ± 1) мм и длиной не менее 200 мм, вырубленных в продольном и/или поперечном направлении.

Образцы вырубают из полосы материала, отобранной для испытания, на расстоянии не менее 100 мм от края полотна с помощью шаблона или вырубного ножа. Направление длины образцов должно соответствовать направлению силы растяжения при проведении испытания.

Для материалов с армированной кромкой для механического крепления образцы вырубают на участке армирования.

Защитную пленку перед проведением испытаний удаляют.

Образцы перед испытанием выдерживают не менее 20 ч при температуре (23 ± 2) °С и относительной влажности (50 + 20) %.

8 Методика проведения испытаний

Образец помещают между зубцами захватного устройства и продевают гвоздь через отверстия в зубцах так, чтобы он прошел через продольную ось испытуемого образца на расстоянии (50 ± 5) мм от края образца, находящегося между зубцами (см. рисунок 1).

Захватное устройство с закрепленным в нем образцом устанавливают в нижнем зажиме разрывной машины, затем закрепляют свободный конец образца в верхнем подвижном зажиме таким образом, чтобы расстояние между гвоздем и верхним зажимом составляло (100 ± 5) мм, как показано на рисунке 1.

Прикладывают постоянно нарастающую силу растяжения при скорости перемещения подвижного зажима (100 ± 10) мм/мин до раздира образца, пробитого стержнем гвоздя.

Испытания проводят при температуре (23 ± 2) °С.

Регистрируют значения силы растяжения в течение всего процесса раздира.

9 Обработка и представление результатов испытаний, точность метода

9.1 Обработка результатов

За величину сопротивления раздиру стержнем гвоздя принимают значение максимальной силы растяжения, зарегистрированное в процессе испытания.

Для каждого образца записывают максимальную силу растяжения в ньютонах и направление вырубки образца.

Сопротивление раздиру стержнем гвоздя для каждого направления вычисляют как среднеарифметическое значение результатов испытания пяти образцов, округленное до 5 Н.

9.2 Точность метода

Настоящий стандарт не содержит данных о точности метода.

10 Отчет об испытаниях

Отчет об испытаниях должен содержать:

а) данные, необходимые для идентификации испытуемого материала;

b) ссылку на настоящий стандарт и отклонения от его требований;

с) информацию об отборе образцов в соответствии с разделом 6;

d) информацию о подготовке образцов в соответствии с разделом 7;

е) результаты испытаний в соответствии с 9.1;

f) дату проведения испытаний.

Ключевые слова: кровельные и гидроизоляционные гибкие битумосодержащие материалы, сопротивление раздиру стержнем гвоздя