Стандарт устанавливает метод испытаний на огнестойкость сборных конструкций стволов с загрузочными клапанами (далее — стволы) систем мусороудаления жилых и общественных зданий.
| Обозначение: | ГОСТ Р 53304-2009 |
| Название рус.: | Стволы мусоропроводов. Метод испытания на огнестойкость |
| Статус: | введен впервые |
| Дата актуализации текста: | 05.05.2017 |
| Дата добавления в базу: | 01.09.2013 |
| Дата введения в действие: | 01.05.2009 |
| Утвержден: | 18.02.2009 Федеральное агентство по техническому регулированию и метрологии (80-ст) |
| Опубликован: | Стандартинформ (2009 г. ) |
| Ссылки для скачивания: |
ФЕДЕРАЛЬНОЕ
АГЕНТСТВО
ПО ТЕХНИЧЕСКОМУ РЕГУЛИРОВАНИЮ И МЕТРОЛОГИИ
|
|
НАЦИОНАЛЬНЫЙ |
ГОСТ Р |
СТВОЛЫ МУСОРОПРОВОДОВ.
Метод
испытания на огнестойкость
Москва
Стандартинформ
2009
Предисловие
Цели и принципы стандартизации в Российской Федерации установлены Федеральным законом от 27 декабря 2002 г. № 184-ФЗ «О техническом регулировании», а правила применения национальных стандартов Российской Федерации - ГОСТ Р 1.0-2004 «Стандартизация в Российской Федерации. Основные положения».
Сведения о стандарте
1. РАЗРАБОТАН ФГУ ВНИИПО МЧС России
2. ВНЕСЕН Техническим комитетом по стандартизации ТК 274 «Пожарная безопасность»
3. УТВЕРЖДЕН И ВВЕДЕН В ДЕЙСТВИЕ Приказом Федерального агентства по техническому регулированию и метрологии от 18 февраля 2009 г. № 80-ст
4 ВВЕДЕН ВПЕРВЫЕ
Информация об изменениях к настоящему стандарту публикуется в ежегодно издаваемом информационном указателе «Национальные стандарты», а текст изменений и поправок - в ежемесячно издаваемых информационных указателях «Национальные стандарты». В случае пересмотра (замены) или отмены настоящего стандарта соответствующее уведомление будет опубликовано в ежемесячно издаваемом информационном указателе «Национальные стандарты». Соответствующая информация, уведомление и тексты размещаются также в информационной системе общего пользования - на официальном сайте Федерального агентства по техническому регулированию и метрологии в сети Интернет.
СОДЕРЖАНИЕ
СТВОЛЫ МУСОРОПРОВОДОВ.
Метод испытания на огнестойкость
Trunks of refuse chutes.
The test method on fire resistance
Дата введения - 2009-05-01
(Поправка).
1.1 Настоящий стандарт устанавливает метод испытаний на огнестойкость сборных конструкций стволов с загрузочными клапанами (далее - стволы) систем мусороудаления жилых и общественных зданий.
1.2 Требования данного стандарта не распространяются на стволы, выполненные в полостях строительных конструкций или используемые в составе объединенных (централизованных) систем мусороудаления.
В настоящем стандарте использованы ссылки на следующие нормативные документы:
ГОСТ Р 50431-92 Термопары. Номинальные статические характеристики преобразования.
ГОСТ 30247.0-94 Конструкции строительные. Методы испытаний на огнестойкость. Общие требования.
ГОСТ 12.2.003-91 Оборудование производственное. Общие требования безопасности.
ГОСТ 12.1.019-79* Электробезопасность. Общие требования и номенклатура видов защиты.
СП 31-108-2002 Мусоропроводы жилых и общественных зданий и сооружений.
Примечание - При пользовании настоящим стандартом целесообразно проверить действие ссылочных стандартов и классификаторов в информационной системе общего пользования - на официальном сайте Федерального агентства по техническому регулированию и метрологии в сети Интернет или по ежегодно издаваемому информационному указателю «Национальные стандарты», который опубликован по состоянию на 1 января текущего года, и по соответствующим ежемесячно издаваемым информационным указателям, опубликованным в текущем году. Если ссылочный документ заменен (изменен), то при пользовании настоящим стандартом следует руководствоваться замененным (измененным) документом. Если ссылочный документ отменен без замены, то положение, в котором дана ссылка на него, принимается в части, не затрагивающей эту ссылку.
3.1 Предельным состоянием конструкций стволов систем мусороудаления по огнестойкости является потеря плотности (E). Обозначение предела огнестойкости конструкции ствола систем мусороудаления состоит из условного обозначения нормируемого предельного состояния и численного значения, соответствующего времени его достижения в минутах, например: E 60 - предел огнестойкости 60 минут по признаку потери плотности.
Предельно допустимая величина утечек через неплотности конструкций стволов и загрузочных клапанов систем мусороудаления Qпр, м3/ч, приведенная к температуре 20 °С, не должна быть более 170 м3/ч.
4.1 Сущность метода заключается в определении времени, по истечении которого наступает предельное состояние конструкции ствола системы мусороудаления (по 3.1, 3.2) при ее обогреве с одновременным созданием перепада давления между внутренней полостью ствола и коллектором испытательного стенда.
|
|
(1) |
где Т - температура газовой среды во входном сечении испытываемой конструкции, °С;
T0 - начальная температура окружающей среды, °С;
τ - время от начала нагрева, мин.
4.3 Изменение значения величины Т - T0 во времени при испытаниях и допустимые отклонения значений среднеарифметической (по показаниям термоэлектрических преобразователей) температуры во входном сечении испытываемой конструкции приведены в таблице 1.
Таблица 1
|
Т - T0, °С |
Допустимые отклонения, % |
|
|
2 |
120 |
|
|
5 |
163 |
15 |
|
10 |
196 |
|
|
15 |
216 |
|
|
20 |
230 |
10 |
|
25 |
242 |
|
|
30 |
251 |
|
|
45 |
271 |
5 |
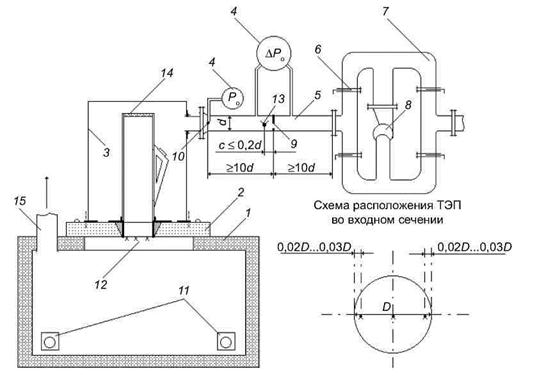
5.1 Стенд для проведения испытаний конструкций стволов систем мусороудаления (приложение А) состоит из печи с внутренними размерами не менее (2,0×2,0×2,5) м, вентилятора, дросселирующего устройства, воздуховодов обвязки вентилятора. Печь должна быть оборудована форсунками, работающими на жидком топливе по 5.2.5 ГОСТ 30247.0, и обеспечивать требуемый тепловой режим по 4.2, 4.3. Дросселирующее устройство должно обеспечивать возможность регулирования подачи и давления вентилятора для поддержания перепада давления по 4.4.
5.2 Испытательный стенд должен быть оснащен средствами измерения температуры, интервалов времени, расхода газов и давления.
5.3 Для измерения температуры в сечении установки расходомерного устройства (приложение А) следует применять термоэлектрические преобразователи (ТЭП) с диаметром электродов не более 0,7 мм.
5.5 ТЭП в сечении установки расходомерного устройства (приложение А) должен располагаться на расстоянии не более 0,2 d от оси мерного участка воздуховода и от расходомерного устройства.
5.6 Для регистрации измеряемых температур следует применять приборы класса точности не ниже 1,0.
5.7 Для регистрации давления газовой среды следует применять приборы (манометры, микроманометры и т.п.) класса точности не ниже 1,0.
5.8 Для измерения расхода газов следует применять расходомерные устройства, позволяющие измерять величины расходов, составляющие не менее чем 15 % от Qпр по 3.2.
5.9 Для измерения интервалов времени должны использоваться приборы класса точности не ниже 2,0.
5.10 Расположение ТЭП а также места отбора давления и установки расходомерного устройства должны соответствовать схемам, приведенным в приложении А.
5.11 Номинальные статические характеристики и пределы допускаемых отклонений термоэлектродвижущей силы (т.э.д.с.) ТЭП по 5.3 - 5.4 должны соответствовать ГОСТ Р 50431 или индивидуальным градуировкам.
6.1 Испытанию на огнестойкость подлежат образцы загрузочных клапанов и фрагменты конструкций стволов систем мусороудаления, поставляемые в сборе, включая предусмотренные конструкторской документацией узлы крепления и уплотнения клапанов, сочленения звеньев ствола и опоры. Материалы и детали образцов, подлежащих испытанию, должны соответствовать технической документации на их изготовление и применение.
6.2 Образцы загрузочных клапанов, представленные на испытания, должны комплектоваться фрагментом ствола системы мусороудаления с приемным отверстием.
6.3 Фрагменты стволов систем мусороудаления, представленные на испытания, должны состоять из трех звеньев, сочленение которых выполнено в соответствии с конструкторской документацией. Фрагменты стволов систем мусороудаления, представленные на испытания или поставленные в комплекте с загрузочными клапанами, должны быть заглушены сверху и комплектоваться фрагментом плиты перекрытия с опорным узлом.
6.4 Размеры испытываемых образцов должны соответствовать схемам, приведенным в приложении Б.
6.5 Подлежащие испытаниям образцы загрузочных клапанов и фрагменты конструкций стволов систем мусороудаления должны соответствовать конструкторской документации, представляемой вместе с образцами. Степень соответствия устанавливается входным контролем и фиксируется в отчете об испытаниях.
6.6 Для проведения испытаний образец (фрагмент ствола системы мусороудаления со смонтированным на нем загрузочным клапаном) устанавливается на стенде вертикально (приложения А, Б) и закрывается коллектором. Плотность вентиляционного канала, присоединяемого к коллектору, по величине утечек и подсосов воздуха должна быть определена предварительно и составлять не более 15 % предельно допустимого расхода газов по 3.2.
7.1 Испытания должны проводиться при температуре окружающей среды от 5 °С до 40 °С.
7.2 Разрежение в коллекторе испытательного стенда создается путем его подключения через мерный участок вентиляционного канала к всасывающему патрубку вентилятора. Регулирование величины разрежения осуществляется дросселированием вентилятора посредством заслонок.
7.3 Начало испытаний соответствует моменту включения форсунок печи, непосредственно перед которым включается вентилятор и регулируется величина разрежения в коллекторе.
7.4 Во время испытаний регистрируют:
- температуру во входном сечении образца;
- разрежение и расход газового потока в вентиляционной системе стенда;
- температуру газа в сечении установки расходомерного устройства.
7.5 Измерения температур, расходов, скорости и давлений должны проводиться в интервалах не более 2 мин.
7.6 Испытания должны проводиться до наступления предельного состояния образца по огнестойкости согласно 3.1, 3.2, или, если предельное состояние конструкции не достигнуто, в течение времени, указанного в технической документации на изделие.
8.1 Фактические значения подсосов (утечек) через неплотности конструкций образца в i-м измерении Qiпр, м3/с, приведенные к температуре 20 °С, определяются по соотношению
|
|
(2) |
где Qi- фактические утечки через образец по результатам i-го измерения, м3/с;
ti - температура газа, измеренная в сечении установки расходомерного устройства, °С.
9.1 Фактический предел огнестойкости испытываемой конструкции ствола системы мусороудаления определяется интервалом времени до наступления предельного состояния по 3.1, 3.2.
9.2 По результатам испытания конструкции ствола системы мусороудаления присваивается классификационное обозначение в соответствии с 3.1: «E t», где t - одно из значений временного ряда: 15, 20, 30, 45, 60, 90, 120, 180, 240, 360 мин., меньшее или равное установленному фактическому пределу огнестойкости конструкции.
10.1 Отчет об испытании, составленный по рекомендуемой форме, должен содержать следующие данные:
1) наименование организации, проводящей испытания;
2) наименование и адрес завода-изготовителя;
3) характеристику объекта испытаний;
4) ссылку на метод испытания;
5) процедуру испытания;
6) перечень испытательного оборудования и средств измерений;
7) результаты испытаний;
8) оценку результатов испытаний.
11.1 При испытаниях стволов систем мусороудаления на огнестойкость должны соблюдаться требования безопасности и производственной санитарии согласно ГОСТ 12.2.003 и ГОСТ 12.1.019.
11.2 Лица, допущенные в установленном порядке к испытанию, должны быть ознакомлены с техническим описанием и инструкцией по эксплуатации испытательного оборудования.
11.3 Все быстро движущиеся и вращающиеся части стендовой установки должны иметь ограждения.
(обязательное)

1 - печь; 2 - фрагмент плиты
перекрытия с узлом опоры и испытываемым образцом; 3 - коллектор;
4 - микроманометр; 5 - мерный участок; 6 - регулирующая
заслонка; 7 - воздуховоды обвязки вентилятора;
8 - вентилятор; 9 - расходомерная диафрагма; 10 - точка
отбора давления в полости испытываемого образца;
11 - форсунки; 12 - ТЭП, установленные во входном сечении
образца;
13 - ТЭП, установленный в сечении установки расходомерного устройства;
14 - заглушенный торец образца; 15 - дымоход
Рис. А.1 - Схема
стендового оборудования и размещения образцов для испытания на огнестойкость
конструкций
стволов систем мусороудаления
(обязательное)
a

б

1 - фрагмент плиты перекрытия; 2
- узел опоры ствола; 3 - монтажные петли;
4 - фрагмент ствола; 5 - заглушенный торец ствола;
6 - узел сочленения звеньев ствола; 7 - загрузочный клапан
Рис. Б.1 - Схемы
образцов для испытания на огнестойкость конструкций стволов систем
мусороудаления (а)
с
загрузочными клапанами (б)
Ключевые слова: ствол мусоропровода, загрузочный клапан, метод испытания