Стандарт распространяется на пенообразователи целевого назначения, предназначенные для тушения пожаров водорастворимых горючих жидкостей пеной подачей сверху.
| Обозначение: | ГОСТ Р 53280.1-2010 |
| Название рус.: | Установки пожаротушения автоматические. Огнетушащие вещества. Часть 1. Пенообразователи для тушения пожаров водорастворимых горючих жидкостей подачей сверху. Общие технические требования и методы испытаний |
| Статус: | действует |
| Дата актуализации текста: | 05.05.2017 |
| Дата добавления в базу: | 01.09.2013 |
| Дата введения в действие: | 01.07.2010 |
| Утвержден: | 29.04.2010 Федеральное агентство по техническому регулированию и метрологии (67-ст) |
| Опубликован: | Стандартинформ (2010 г. ) |
| Ссылки для скачивания: |
ФЕДЕРАЛЬНОЕ АГЕНТСТВО
ПО ТЕХНИЧЕСКОМУ РЕГУЛИРОВАНИЮ И МЕТРОЛОГИИ
|
|
НАЦИОНАЛЬНЫЙ |
ГОСТ Р |
Установки пожаротушения
автоматические.
Огнетушащие вещества
Часть 1
ПЕНООБРАЗОВАТЕЛИ ДЛЯ ТУШЕНИЯ
ПОЖАРОВ ВОДОРАСТВОРИМЫХ ГОРЮЧИХ
ЖИДКОСТЕЙ ПОДАЧЕЙ СВЕРХУ
Общие технические требования
и методы испытаний
|
|
Москва Стандартинформ 2010 |
Предисловие
Цели и принципы стандартизации в Российской Федерации установлены Федеральным законом от 27 декабря 2002 г. № 184-ФЗ «О техническом регулировании», а правила применения национальных стандартов Российской Федерации - ГОСТ Р 1.0-2004 «Стандартизация в Российской Федерации. Основные положения»
Сведения о стандарте
1 РАЗРАБОТАН Федеральным государственным учреждением «Всероссийский научно-исследовательский институт противопожарной обороны» (ФГУ ВНИИПО) МЧС России
2 ВНЕСЕН Техническим комитетом по стандартизации ТК 274 «Пожарная безопасность»
3 УТВЕРЖДЕН И ВВЕДЕН В ДЕЙСТВИЕ Приказом Федерального агентства по техническому регулированию и метрологии от 29 апреля 2010 г. № 67-ст
4 ВВЕДЕН ВПЕРВЫЕ
Информация об изменениях к настоящему стандарту публикуется в ежегодно издаваемом информационном указателе «Национальные стандарты», а текст изменений и поправок - в ежемесячно издаваемых информационных указателях «Национальные стандарты». В случае пересмотра (замены) или отмены настоящего стандарта соответствующее уведомление будет опубликовано в ежемесячно издаваемом информационном указателе «Национальные стандарты». Соответствующая информация, уведомление и тексты размещаются также в информационной системе общего пользования - на официальном сайте Федерального агентства по техническому регулированию и метрологии в сети Интернет
СОДЕРЖАНИЕ
ГОСТ Р 53280.1-2010
НАЦИОНАЛЬНЫЙ СТАНДАРТ РОССИЙСКОЙ ФЕДЕРАЦИИ
|
Установки пожаротушения автоматические. Часть 1 ПЕНООБРАЗОВАТЕЛИ ДЛЯ ТУШЕНИЯ ПОЖАРОВ ВОДОРАСТВОРИМЫХ
ГОРЮЧИХ Общие технические требования и методы испытаний Automatic
fire extinguishing systems. Fire extinguishing media. |
Дата введения - 2010-07-01
Настоящий стандарт распространяется на пенообразователи целевого назначения, предназначенные для тушения пожаров водорастворимых горючих жидкостей пеной подачей сверху.
В настоящем стандарте использованы нормативные ссылки на следующие стандарты:
ГОСТ Р 50588-93 Пенообразователи для тушения пожаров. Общие технические требования и методы испытаний
ГОСТ 2603-79 Реактивы. Ацетон. Технические условия
ГОСТ 4209-77 Реактивы. Магний хлористый 6-водный. Технические условия
ГОСТ 6709-72 Вода дистиллированная. Технические условия
ГОСТ 9805-84 Спирт изопропиловый. Технические условия.
Примечание - При пользовании настоящим стандартом целесообразно проверить действие ссылочных стандартов в информационной системе общего пользования - на официальном сайте Федерального агентства по техническому регулированию и метрологии в сети Интернет или по ежегодно издаваемому информационному указателю «Национальные стандарты», который опубликован по состоянию на 1 января текущего года, и по соответствующим ежемесячно издаваемым информационным указателям, опубликованным в текущем году. Если ссылочный стандарт заменен (изменен), то при пользовании настоящим стандартом следует руководствоваться заменяющим (измененным) стандартом. Если ссылочный стандарт отменен без замены, то положение, в котором дана ссылка на него, применяется в части, не затрагивающей эту ссылку.
В настоящем стандарте применены следующие термины с соответствующими определениями:
3.1 установка пенного пожаротушения: Установка пожаротушения, в которой в качестве огнетушащего вещества используют воздушно-механическую пену, получаемую из водного раствора пенообразователя.
3.2 пена: Дисперсная система, состоящая из ячеек - пузырьков воздуха (газа), разделенных пленками жидкости, содержащей стабилизатор пены.
3.3 огнетушащая воздушно-механическая пена: Пена, получаемая с помощью специальной аппаратуры за счет эжекции или принудительной подачи воздуха или другого газа, предназначенная для тушения пожаров.
3.4 кратность пены: Безразмерная величина, равная отношению объемов пены и исходного раствора пенообразователя содержащегося в ней.
3.5 устойчивость пены: Время, по истечении которого из пены выделяется 50 % раствора пенообразователя или разрушается 50 % объема пены.
3.6 рабочий раствор пенообразователя: Водный раствор пенного концентрата с определенной заданной объемной концентрацией.
3.7 концентрация рабочего раствора пенообразователя: Содержание пенообразователя в водном растворе для получения пены, выраженное в процентах.
3.8 интенсивность подачи рабочего раствора: Объем рабочего раствора пенообразователя, подаваемого в единицу времени на единицу площади горючего.
3.9 зажигание: Инициирование процесса горения.
3.10 воспламенение: Начало пламенного горения под воздействием источника зажигания.
3.11 горение: Экзотермическая реакция окисления вещества, сопровождающаяся по крайней мере одним из трех факторов: пламенем, свечением, выделением дыма.
3.12 время свободного горения: Время с момента воспламенения горючей жидкости до момента начала подачи пены.
3.13 время тушения: Время с момента начала подачи пены до момента прекращения горения горючей жидкости.
3.14 время повторного воспламенения: Время воспламенения 100 %-ной поверхности горючей жидкости в модельном очаге от внесенного горящего тигля.
3.15 пенообразователь (пенный концентрат) для тушения пожаров: Концентрированный водный раствор стабилизатора пены (поверхностно-активного вещества), образующий при смешении с водой рабочий раствор пенообразователя.
3.16 пенообразователи типа AFFF/AR: Синтетические фторсодержащие пленкообразующие пенообразователи целевого назначения для тушения водорастворимых горючих жидкостей.
3.17 пенообразователи типа FFFP/AR: Протеиновые фторсодержащие пленкообразующие пенообразователи целевого назначения для тушения водорастворимых горючих жидкостей.
3.18 пенообразователи типа S/AR: Синтетические пенообразователи целевого назначения для тушения водорастворимых горючих жидкостей.
4.1 Характеристики
Показатели качества пенообразователей для тушения пожаров водорастворимых горючих жидкостей подачей сверху типа AFFF/AR, FFFP/AR, S/AR должны соответствовать ГОСТ Р 50588 и требованиям, указанным в таблице 1.
Таблица 1 - Показатели качества пенообразователей
|
Значение показателя |
Метод испытаний |
|||
|
Углеводородные |
Фторсодержащие |
|||
|
синтетические |
фторпротеиновые |
|||
|
для тушения (полярных) горючих |
для тушения |
|||
|
Время тушения ацетона (изопропанола), с, не более: |
|
|
|
|
|
- пеной низкой кратности при интенсивности подачи (0,110 ± 0,002) дм3/(м2с) |
300 |
180 |
По 5.1.1 |
|
|
- пеной средней кратности при интенсивности подачи (0,080 ± 0,002) дм3/(м2 × с) |
120 |
По 5.1.2 |
||
|
Время повторного воспламенения ацетона в модельном очаге при тушении пеной низкой кратности при интенсивности подачи (0,110 ± 0,002) дм3/(м2× с), с, не менее |
300 |
600 |
По 5.1.1 |
|
4.2 Требования к вспомогательным растворам
В зависимости от рекомендаций производителя при проведении испытаний для приготовления рабочих растворов применяют питьевую, жесткую или морскую воду.
5.1 Определение времени тушения пеной низкой и средней кратности водорастворимых горючих жидкостей
5.1.1 Определение времени тушения пеной низкой кратности водорастворимых горючих жидкостей
5.1.1.1 Сущность метода заключается в определении времени тушения водорастворимой горючей жидкости в модельном очаге площадью 1,73 м2 пеной низкой кратности при установленной в таблице 1 интенсивности подачи рабочего раствора пенообразователя.
5.1.1.2 Оборудование и материалы
При испытании применяют следующее оборудование и материалы:
ствол низкой кратности (ГОСТ Р 50588, пункт 5.2), обеспечивающий расход раствора пенообразователя (11,40 ± 0,05) дм3/мин при давлении перед стволом (0,63 ± 0,03) МПа;
насосную установку, обеспечивающую объемный расход раствора пенообразователя не менее 14,25 дм3/мин при давлении (0,79 ± 0,03) МПа;
круглый противень, изготовленный из стали низкой прочности, с внутренним диаметром (1480 ± 15) мм, высотой (150 ± 10) мм, с толщиной стенок (2,5 ± 0,5) мм, имеющий экран для сбора пены, изготовленный из стали марки низкой прочности, высотой (1000 ± 50) мм, длиной (1000 ± 50) мм, толщиной (2,5 ± 0,5) мм;
тигель для повторного воспламенения с ручкой, изготовленный из стали низкой прочности, с внутренним диаметром (300 ± 5) мм, высотой (250 ± 5) мм, с толщиной стенок (2,5 ± 0,5) мм;
горючая жидкость - ацетон по ГОСТ 2603 (изопропанол по ГОСТ 9805).
5.1.1.3 Проведение испытания
Готовят рабочий раствор пенообразователя. Устанавливают модельный очаг на ровной поверхности земли. В противень заливают (125 ± 5) дм3 горючего. Располагают ствол горизонтально на высоте (1,0 ± 0,1) м от поверхности горючего на таком расстоянии от противня, чтобы пена из ствола, направленная вдоль диаметра противня, ударялась об экран для сбора пены на высоте (0,5 ± 0,1) м от поверхности горючего. Горючее в противне зажигают. Время свободного горения (120 ± 5) с. Подачу пены осуществляют в течение (180 ± 2) с или (300 ± 2) с. Фиксируют время тушения. Для определения времени повторного воспламенения через (300 ± 2) с после прекращения подачи пены тигель с (2 ± 0,1) дм3 горючего устанавливают в центр противня. Горючее в тигле зажигают и фиксируют время повторного воспламенения. Следует провести три испытания, но при успешном тушении в двух первых испытаниях, третье - не проводят. За результат испытаний принимают среднеарифметическое значение показателей, полученных в двух/трех испытаниях.

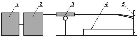
1 - емкость с
пенообразователем; 2 - насосная установка; 3- пенный ствол:
4 - противень с горючей жидкостью; 5 - экран для сбора пены
Рисунок 1 - Схема установки для определения
времени тушения горючей жидкости при подаче пены низкой
кратности в борт противня
5.1.2.1 Сущность метода заключается в определении времени тушения водорастворимой горючей жидкости пеной средней кратности.
5.1.2.2 Оборудование и материалы
При испытании применяют следующее оборудование и материалы:
генератор пены средней кратности по стендовой методике по ГОСТ Р 50588 (пункт 5.4), обеспечивающий получение расхода раствора пенообразователя (2 ± 0,2) г/с;
цилиндрическую горелку, изготовленную из стали низкой прочности, с внутренним диаметром (180 ± 1) мм, высотой (100 ± 2) мм, с толщиной стенок (1,0 ± 0,2) мм;
5.1.2.3 Проведение испытания
Готовят рабочий раствор пенообразователя. Заливают в горелку (1010 ± 10) см3 горючего.
Горючее зажигают. Время свободного горения - (180 ± 5) с. Вводят пеногенератор в зону горения так, чтобы пена ложилась в центр горелки. Подачу пены осуществляют в течение (120 ± 2) с. Фиксируют время тушения. Следует провести три испытания, но при успешном тушении в двух первых испытаниях, третье - не проводят. За результат испытаний принимают среднеарифметическое значение показателей, полученных в двух/трех испытаниях.
Модель жесткой воды
Для создания модели жесткой воды используют материалы, представленные в таблице А.1.
Таблица А.1 - Модель жесткой воды
|
Химическая формула |
Массовая доля, % |
|
|
Вода дистиллированная по ГОСТ 6709 |
Н20 |
99,8794 |
|
Магний хлористый 6-водный по ГОСТ 4209 |
MgCI2 × 6H20 |
0,0381 |
|
Кальций хлорид 2-водный по [1] |
CaCI2 × 2H20 |
0,0825 |
[1] ТУ 6-09-5077-87 Кальций хлорид 2-водный
Ключевые слова: пенообразователь, тушение пожара, водорастворимые (полярные) горючие жидкости