Стандарт устанавливает дополнительные требования безопасности к пассажирским лифтам при наличии риска вандализма и учитывает возможные опасности, опасные ситуации и события, относящиеся к лифтам, которые могут быт подвержены вандализму.
| Обозначение: | ГОСТ Р 52624-2006 |
| Название рус.: | Лифты пассажирские. Требования вандалозащищенности |
| Статус: | отменен |
| Дата актуализации текста: | 05.05.2017 |
| Дата добавления в базу: | 01.09.2013 |
| Дата введения в действие: | 01.01.2017 |
| Утвержден: | 27.12.2006 Федеральное агентство по техническому регулированию и метрологии (361-ст) |
| Опубликован: | Стандартинформ (2007 г. ) |
| Ссылки для скачивания: |
ФЕДЕРАЛЬНОЕ
АГЕНТСТВО
ПО ТЕХНИЧЕСКОМУ РЕГУЛИРОВАНИЮ И МЕТРОЛОГИИ
|
|
НАЦИОНАЛЬНЫЙ СТАНДАРТ РОССИЙСКОЙ ФЕДЕРАЦИИ |
ГОСТ
Р (ЕН 81-71:2005) |
ЛИФТЫ ПАССАЖИРСКИЕ
ТРЕБОВАНИЯ ВАНДАЛОЗАЩИЩЕННОСТИ
ЕН 81-71:2005
Safety rules for the construction and installation of lifts -
Particular applications to passenger lifts and goods passenger lifts
Part 71: Vandal resistant lifts
(MOD)
![]()
Москва
Стандартинформ
2007
Предисловие
Цели и принципы стандартизации в Российской Федерации установлены Федеральным законом от 27 декабря 2002 г. № 184-ФЗ «О техническом регулировании», а правила применения национальных стандартов Российской Федерации - ГОСТ Р1.0-2004 «Стандартизация в Российской Федерации. Основные положения»
Сведения о стандарте
1 ПОДГОТОВЛЕН Закрытым акционерным обществом «Акционерная компания «Лифт» и Техническим комитетом по стандартизации ТК 209 «Лифты, эскалаторы, пассажирские конвейеры и подъемные платформы для инвалидов» на основе аутентичного перевода стандарта, выполненного ЗАО «АК «Лифт», указанного в пункте 5
2 ВНЕСЕН Техническим комитетом по стандартизации ТК 209 «Лифты, эскалаторы, пассажирские конвейеры и подъемные платформы для инвалидов»
3 УТВЕРЖДЕН И ВВЕДЕН В ДЕЙСТВИЕ Приказом Федерального агентства по техническому регулированию и метрологии от 27 декабря 2006 г. № 361-ст
4 В настоящем стандарте реализованы требования проекта специального технического регламента «О безопасности лифтов»
5 Настоящий стандарт модифицирован по отношению к европейскому стандарту ЕН 81-71:2005 «Правила безопасности по устройству и установке лифтов. - Специальные применения пассажирских и грузопассажирских лифтов. Часть 71. Вандалозащищенные лифты» (ЕН 81-71:2005 «Safety rules for the construction and installation of lifts. Particular applications to passenger lifts and goods passenger lifts. Part 71: Vandal resistant lifts»). При этом дополнительные положения и требования, включенные в текст стандарта для учета потребностей национальной экономики Российской Федерации, выделены в тексте стандарта курсивом.
Наименование настоящего стандарта изменено относительно наименования указанного европейского стандарта для приведения в соответствие с ГОСТ Р 1.5 - 2004 (подраздел 3.5)
6 ВВЕДЕН ВПЕРВЫЕ
Информация об изменениях к настоящему стандарту публикуется в ежегодно издаваемом информационном указателе «Национальные стандарты», а текст изменений и поправок - в ежемесячно издаваемых информационных указателях «Национальные стандарты». В случае пересмотра (замены) или отмены настоящего стандарта соответствующее уведомление будет опубликовано в ежемесячно издаваемом информационном указателе «Национальные стандарты». Соответствующая информация, уведомления и тексты размещаются также в информационной системе общего пользования - на официальном сайте Федерального агентства по техническому регулированию и метрологии в сети Интернет
СОДЕРЖАНИЕ
Введение
Настоящий стандарт предназначен для проектировщиков зданий, приобретателей лифтов, проектировщиков лифтов в тех случаях, когда требуется выполнить дополнительные требования безопасности и/или защитные меры в связи с наличием риска вандализма.
Стандарт содержит требования безопасности и/или защитные меры, направленные на снижение или предотвращения повреждения лифтового оборудования и на защиту жизни или здоровья людей.
В стандарте учтены следующие факторы, связанные с наличием риска вандализма:
- условия доступности к лифтам в зданиях и сооружениях;
- условия окружающей среды;
- система безопасности в зданиях и наблюдения за лифтами;
- период доступа в здание, включая время доступа к лифтам;
- уязвимость лифтов.
Требования настоящего стандарта распространяются на лифты категорий 1 и 2 в соответствии с приложением А.
При разработке настоящего стандарта были приняты следующие допущения:
- конструкция лифтов соответствует общим требованиям безопасности к лифтам;
- здание и/или лифтовая установка соответствуют рекомендациям, приведенным в приложении А;
- лифты, их шахты, этажные площадки, проходы к лифтовому оборудованию, помещения для размещения лифтового оборудования обслуживаются надлежащим образом и содержатся в безопасном рабочем состоянии;
- вандальные воздействия на лифт и лифтовое оборудование осуществляются с использованием предметов, приведенных в приложении Д, или без их использования.
ГОСТ Р 52624-2006 (ЕН 81-71:2005)
НАЦИОНАЛЬНЫЙ СТАНДАРТ РОССИЙСКОЙ ФЕДЕРАЦИИ
ЛИФТЫ ПАССАЖИРСКИЕ
Требования вандалозащищенности
Passenger lifts. Requirements for vandal resistance
Дата введения - 2008-07-01
Настоящий стандарт устанавливает дополнительные требования безопасности к пассажирским лифтам при наличии риска вандализма и учитывает возможные опасности, опасные ситуации и события, относящиеся к лифтам, которые могут быть подвержены вандализму.
В настоящем стандарте использованы нормативные ссылки на следующие стандарты:
ГОСТ Р ИСО/ТС 14798 - 2003 Лифты, эскалаторы и пассажирские конвейеры. Методология анализа риска (ИСО/ТС 14798:2000, ITD)
ГОСТ Р 52382-2005 (ЕН 81-72:2003) Лифты пассажирские. Лифты для пожарных (ЕН 81-72:2003 «Правила безопасности по устройству и установке лифтов. Специальные применения пассажирских и грузопассажирских лифтов. Часть 72. Лифты для пожарных», MOD)
ГОСТ 14254-96 (МЭК 529-89) Степени защиты, обеспечиваемые оболочками (Код IP) (МЭК 529:1989, MOD)
ГОСТ 30244-94 Материалы строительные. Методы испытаний на горючесть
Примечание - При пользовании настоящим стандартом целесообразно проверить действие ссылочных стандартов в информационной системе общего пользования - на официальном сайте национального органа Российской Федерации по стандартизации в сети Интернет или по ежегодно издаваемому информационному указателю «Национальные стандарты», который опубликован по состоянию на 1 января текущего года, и по соответствующим ежемесячно издаваемым информационным указателям, опубликованным в текущем году. Если ссылочный стандарт заменен (изменен), то при пользовании настоящим стандартом следует руководствоваться замененным (измененным) стандартом. Если ссылочный стандарт отменен без замены, то положение, в котором дана ссылка на него, применяется в части, не затрагивающей эту ссылку.
В настоящем стандарте применены следующие термины с соответствующими определениями:
3.1 потолок кабины лифта: Часть крыши кабины, доступная изнутри кабины.
3.2 лифты категории 0: Лифт, соответствующий требованиям безопасности Правил устройства и безопасной эксплуатации лифтов (ПУБЭЛ) ПБ 10-558-03 [1].
3.3 лифт категории 1: Лифт, соответствующий требованиям безопасности ПУБЭЛ [1], а также дополнительным требованиям безопасности к лифтам, подвергающимся умеренным вандальным действиям.
3.4 лифт категории 2: Лифт, соответствующий требованиям безопасности ПУБЭЛ [1], а также дополнительным требованиям безопасности к лифтам, подвергающимся грубым вандальным действиям.
Настоящий раздел стандарта содержит важнейшие опасности, относящиеся к области применения настоящего стандарта, определенные в результате анализа риска и требующие принятия мер по уменьшению или полному устранению риска.
Таблица 1 - Перечень важнейших опасностей
Вандалозащищенные лифты должны соответствовать требованиям безопасности и/или защитным мерам, установленным в настоящем разделе.
5.1.1 Ограждение шахты
Материалы, используемые для ограждения шахты, должны быть негорючими. При использовании для ограждения шахты стекла его прочность должна быть не менее прочности стекла, используемого для шахтных дверей в соответствии с 5.3.1.1.
5.1.1.3 Лифты категории 1 и 2 должны иметь полное ограждение шахты.
5.1.2 Двери шахты для технического обслуживания оборудования, аварийные двери шахты и крышки смотрового и аварийного люков
5.1.2.1 Конструкция дверей шахты для технического обслуживания оборудования, аварийных дверей шахты и крышек смотровых и аварийных люков должна обеспечивать невозможность их открытия при помощи предметов, приведенных в приложении Д.
5.1.2.2 Двери и люки, а также их замки должны в закрытом положении выдерживать нагрузку, равную 2500 Н (со стороны, доступной для людей), распределенную по круглой или квадратной площадке площадью 100 см2 и приложенную под прямым углом к любой точке с упругой деформацией, не превышающей 15 мм, при этом остаточная деформация не допускается.
Двери и люки после испытания на вышеуказанную нагрузку должны сохранять работоспособность и безопасность функционирования.
Вентиляционные отверстия должны соответствовать требованиям 5.2.3 и 5.2.4.
5.2.1 Ограждение машинных и блочных помещений и шкафов для оборудования, размещаемых снаружи шахты, должны соответствовать 5.1.1.1.
5.2.2 При наличии доступных для людей смотровых окон их конструкция должна обеспечивать:
а) прочность в соответствии с 5.1.2.2;
б) применение только многослойного стекла.
а) размер отверстия не должен превышать 250×250 мм;
б) предотвращать проникновение внутрь шахты прямого стержня любого поперечного сечения.
5.2.4 Устройства для предотвращения проникновения по 5.2.3, перечисление б), должны обеспечивать прочность по 5.1.1.1.
5.2.5 Двери и люки, а также их замки должны обеспечивать выполнение требований 5.1.2.2.
5.2.6 Для лифтов категории 2 должна быть предусмотрена звуковая сигнализация об открытии дверей:
- машинного и/или блочного помещения;
- для технического обслуживания оборудования, аварийных дверей шахты, крышек аварийных и смотровых люков;
- шкафов для оборудования лифта, расположенного снаружи шахты.
Звуковой сигнал должен включаться не позднее 30 с после открытия дверей и/или люков. Звуковой сигнал должен обеспечивать выполнение следующих требований:
а) сигнал должен звучать в месте открытия дверей и/или люков и на основном посадочном этаже и иметь уровень звука, регулируемый в диапазоне 70 - 85 дБA;
б) сигнал должен автоматически выключаться в регулируемом диапазоне 5 - 15 мин.
Должна обеспечиваться возможность отключения или включения системы сигнализации при помощи ручного устройства по 5.3.2.2.
При прекращении подачи электроэнергии должна быть обеспечена работоспособность системы сигнализации в течение не менее 2 ч.
Примечание - Уровень звука и время звучания сигнала могут быть приняты отличными от приведенных выше.
5.3.1 Двери шахты и кабины должны быть автоматическими горизонтально раздвижными.
а) материалы, применяемые для дверей кабины и шахты, за исключением материалов для отделки (облицовки), должны изготавливаться из негорючих материалов или материалов группы горючести Г1 по ГОСТ 30244.
б) пожарно-технические характеристики материалов отделки (облицовки) дверей кабины и шахты должны соответствовать требованиям ГОСТ Р 52382, пункт 5.5.2.
5.3.1.2 Двери кабины и шахты, включая элементы крепления, должны выдерживать испытания маятником для нежесткого удара в соответствии с ПУБЭЛ (см. [1], приложение 11), без разрушения элементов конструкции остаточных деформаций, препятствующих нормальному функционированию дверей. Двери должны сохранять работоспособность после проведения испытаний.
Высота падения нежесткого маятника должна быть:
а) для лифтов категории 1 - 700 мм;
б) для лифтов категории 2 - 1000 мм.
5.3.1.3 Двери должны быть оборудованы устройством, обеспечивающим сохранение створок в рабочем положении в случае разрушения роликов или направляющих. Это устройство должно выдерживать испытание маятником для нежесткого удара по 5.3.1.2 с высотой падения 1400 мм без разрушения дверей.
После такого испытания к дверям не предъявляют требование сохранения работоспособности.
5.3.1.4 Для лифтов категории 2 смотровые окна в дверях не применяются.
5.3.1.5 Для лифтов категории 2 створки дверей должны быть выполнены в соответствии с рисунком 1.
1 - направление закрывания створок дверей; 2 - угол £ 45°
Рисунок 1
Требования к величине угла 2 на рисунке 1 могут не выполняться на расстоянии не более 200 мм от верхней и нижней части створок для обеспечения креплений элементов конструкции двери. При обеспечении размера элемента конструкции створки 200 мм и более (на рисунке 1 указан размер ³ 75 мм) не требуется обеспечение величины угла в 45°.
5.3.1.7 Для лифтов категории 2, створки дверей которых механически соединены между собой, конструкция и расположение этого соединения должны предотвращать возможность разъединения створок в течение 60 с пользователями при помощи предметов, указанных в приложении Д.
5.3.2 Система безопасности дверей шахты лифтов категории 2
5.3.2.1 При отсутствии кабины на этаже система безопасности должна предотвращать возможность отпирания дверей шахты специальным ключом в соответствии с ПУБЭЛ [1] для отпирания замка и с помощью предметов, указанных в приложении Д.
Отпирание дверей должно быть возможно при отключении системы безопасности.
а) машинном помещении;
б) шкафу управления;
в) устройстве управления для эвакуации пассажиров и проведения динамических испытаний лифта. Устройство для ручного включения/отключения системы безопасности должно быть маркировано информационным знаком, приведенным в приложении В. Знак должен быть также размещен на двери шахты лифта или около этой двери на основном посадочном этаже здания.
Это требование не распространяется на режимы управления лифтом обслуживающим персоналом («Управление из машинного помещения», «Ревизия») и на случаи остановки лифта в результате срабатывания устройств безопасности. Каждое ручное включение должно активизировать систему безопасности в течение 30 - 60 с.
При отключении устройства, прерывающего электропитание лифта (главного выключателя), система безопасности должна немедленно выключаться.
5.3.2.5 В случаях, если система безопасности устанавливается на:
а) лифтах для пожарных - система должна автоматически выключаться при переводе лифта в режим «Перевозка пожарных подразделений»;
б) лифтах, оснащенных системой управления с режимом «Пожарная опасность», - система должна автоматически выключаться при поступлении сигнала о переводе лифта в режим «Пожарная опасность».
5.3.3 Механизм соединения створок дверей
Для лифтов категории 2, при нахождении кабины в зоне отпирания замка двери шахты, должна быть предотвращена возможность разъединения пользователями дверей кабины и шахты в течение 60 с вручную или при помощи предметов, указанных в приложении Д.
5.3.4 Устройство реверса дверей
Устройство контроля дверного проема и реверса дверей кабины и шахты лифтов категории 2 должно быть расположено так, чтобы быть недоступным для пользователей и посторонних лиц.
Двери кабины должны быть снабжены автоматическим замком.
5.3.6 Воздействие на привод и замки дверей
Для лифтов категории 2 должна быть исключена возможность воздействия на работу привода и замков дверей пользователей и посторонних лиц в течение 60 с при помощи предметов, указанных в приложении Д.
5.4.1 Рама кабины, отделка
5.4.1.1 Стены кабины должны выдерживать нагрузку не ниже установленной для дверей шахты в 5.3.1.2, перечисления а) или б).
5.4.1.2 Потолок кабины лифтов категории 1 должен:
а) выдерживать нагрузку 150 кг в любой точке, в которой пользователь может «повиснуть»;
б) быть закреплен так, чтобы пользователи не могли его демонтировать в течение 60 с либо вручную, либо при помощи предметов, указанных в приложении Д.
5.4.1.4 Материалы кабины лифта должны соответствовать следующим требованиям:
а) стены, пол, потолок и двери кабины изготавливают:
1) для лифтов категории 1 - из материалов группы горючести Г1 по ГОСТ 30244,
2) для лифтов категории 2 - из негорючих материалов;
б) отделку (облицовку) поверхностей стен и потолков купе кабины изготавливают:
1) для лифтов категории 1 - из материалов группы горючести Г2 по ГОСТ 30244,
2) для лифтов категории 2 - из негорючих материалов;
в) покрытие пола купе кабины изготавливают:
1) для лифтов категории 1 - из материалов группы горючести Г3 по ГОСТ 30244,
2) для лифтов категории 2 - из негорючих материалов.
5.4.1.5 Ограждение купе кабины должно быть устойчиво к царапанью и разрезанию предметами, указанными в приложении Д.
5.4.1.8 При установке зеркала в кабине лифтов категории 2 должны соблюдаться следующие требования:
а) зеркало должно быть приклеено к стенке купе кабины;
б) стекло, применяемое в зеркале, должно быть многослойным.
а) для лифтов категории 1 - снятие элементов только при помощи специального инструмента;
б) для лифтов категории 2 - невозможность для пользователей обнаружить места крепления.
5.4.2 Аварийный люк и аварийная дверь кабины
Для лифтов категории 2 аварийный люк в крыше кабины и аварийная дверь для перехода людей в кабину соседнего лифта должны быть оборудованы системой безопасности в соответствии с 5.3.2.
Вентиляционные отверстия купе кабины, доступные для пользователей, должны быть выполнены так, чтобы через них не мог пройти изнутри кабины в шахту прямой стержень любого поперечного сечения.
5.4.4 Освещение кабины
5.4.4.2 Устройства стационарного электрического освещения кабины лифта должны:
а) иметь крепления, незаметные для пользователей и предотвращающие несанкционированный доступ к устройствам;
б) сохранять работоспособность и не разрушаться при проведении испытаний в соответствии с приложениями Б и Е.
5.5.1 Устройства управления и сигнальные устройства в купе кабины и на этажных площадках
5.5.1.1 Кнопки управления, сигнальные и другие устройства при испытании с рабочей стороны должны обеспечивать устойчивость к воздействию воды не менее IPX3 по ГОСТ 14254.
5.5.1.2 Зазор между толкателем кнопки управления и корпусом кнопочного аппарата должен быть минимальным, чтобы предотвратить воздействие на кнопку при помощи предметов, указанных в приложении Д.
5.5.1.3 Кнопки управления, сигнальные и другие устройства должны быть испытаны на удар в соответствии с приложением Б.
5.5.1.4 Кнопки управления, сигнальные и другие устройства должны обладать устойчивостью к разрезанию при помощи предметов, указанных в приложении Д.
5.5.1.5 Кнопки управления, сигнальные и другие устройства должны соответствовать требованиям приложения Е.
5.5.2 Посты управления в кабине лифта и на этажной площадке
а) быть закреплены в соответствии с 5.4.1.9;
б) выполнены из материалов в соответствии с 5.4.1.4;
в) выдерживать испытания на удар в соответствии с приложением Б;
г) обеспечивать устойчивость к разрезанию при помощи предметов, указанных в приложении Д.
5.5.2.2 Любая информация, размещаемая на оборудовании внутри кабины и на этажных площадках, должна быть устойчива в течение 60 с к воздействию предметов, указанных в приложении Д.
За исключением расположения кабины лифта с открытыми дверями на этажной площадке нажатие на кнопку аварийного вызова должно инициировать звуковой сигнал, уровень звука которого должен быть не менее 70 - 85 дБА.
Для лифтов категории 2 должна быть обеспечена защита от коррозии, вследствие использования моющих средств, применяемых для очистки купе лифта, и других воздействий следующих элементов конструкции:
а) несущей рамы кабины;
б) дверей шахты и дверей кабины, их порогов, направляющих и устройств крепления дверей;
в) замков шахтных дверей.
Надписи и маркировки, доступные для пользователей, должны соответствовать следующим требованиям:
а) быть закреплены так, чтобы исключить возможность демонтажа их при помощи предметов, указанных в приложении Д;
б) быть выполнены так, чтобы исключить возможность стирания их при помощи предметов, указанных в приложении Д;
в) обеспечивать пожарную безопасность в соответствии с испытаниями по приложению Е.
Подтверждение выполнения требований безопасности и/или защитных мер, приведенных в разделе 5, должно выполняться в соответствии с таблицей 2.
Таблица 2 - Методы подтверждения выполнения требований безопасности и/или защитных мер
|
Требование |
Метод подтверждения |
||||
|
Визуальный1) |
Измерение2) |
Функционирование3) |
Конструкция4) |
||
|
Сплошные ограждения шахты |
X |
- |
- |
- |
|
|
Прочность ограждения шахты |
X |
Х6) |
- |
Х6) |
|
|
Пожарная безопасность ограждения шахты |
- |
- |
- |
X |
|
|
Размеры частичного ограждения шахты |
- |
X |
- |
- |
|
|
Полное ограждение шахты |
X |
- |
- |
- |
|
|
Конструкция дверей и люков |
X |
- |
- |
- |
|
|
Прочность дверей и люков |
X |
Х6) |
X |
Х6) |
|
|
Вентиляционные отверстия в шахте |
X |
X |
- |
- |
|
|
Сплошное ограждение помещения для размещения лифтового оборудования |
X |
- |
- |
- |
|
|
Прочность ограждения помещения для размещения лифтового оборудования |
X |
Х6) |
- |
Х6) |
|
|
Пожарная безопасность ограждения помещения для размещения лифтового оборудования |
- |
- |
- |
X |
|
|
Прочность смотрового окна |
X |
- |
- |
X |
|
|
Размер вентиляционных отверстий |
X |
X |
- |
- |
|
|
Защита вентиляционных отверстий |
X |
Х6) |
- |
Х6) |
|
|
Конструкция дверей и замков |
X |
- |
- |
- |
|
|
Прочность дверей и замков |
X |
Х6) |
X |
Х6) |
|
|
Работа звуковой сигнализации |
- |
Х5) |
X |
- |
|
|
Защита лифтового оборудования для лифтов без машинного помещения |
X |
- |
- |
- |
|
|
Тип дверей |
X |
- |
- |
- |
|
|
Пожарная безопасность |
- |
- |
- |
X |
|
|
Деформация створок |
- |
X |
- |
- |
|
|
Прочность створок |
- |
X |
- |
- |
|
|
Стабилизация положения створок |
- |
X |
- |
- |
|
|
Смотровые окна |
X |
- |
- |
- |
|
|
Конструкция створок |
- |
X |
- |
- |
|
|
Зазоры между створками |
- |
X |
- |
- |
|
|
Защита устройств соединения дверных створок |
X |
- |
- |
- |
|
|
Конструкция створок |
X |
- |
- |
- |
|
|
Система безопасности |
X |
- |
X |
X |
|
|
Включение/выключение системы безопасности |
- |
- |
X |
- |
|
|
Автоматическое включение |
- |
- |
X |
- |
|
|
Резервное электроснабжение |
- |
- |
X |
- |
|
|
Автоматическое выключение |
- |
X |
- |
X |
|
|
Соединение створок дверей |
- |
- |
X |
- |
|
|
Устройство реверса дверей |
X |
- |
- |
- |
|
|
Запирание дверей кабины |
- |
- |
X |
- |
|
|
Воздействие на привод и замки дверей |
- |
X |
X |
- |
|
|
Прочность стен кабины |
- |
X |
- |
- |
|
|
5.4.1.2, перечисление а) |
Прочность потолка кабины |
- |
- |
Х6) |
X |
|
5.4.1.2, перечисление б) |
Прочность крепления потолка кабины |
- |
- |
X |
- |
|
Конструкция потолка кабины |
X |
- |
- |
- |
|
|
Материалы кабины |
- |
- |
- |
X |
|
|
Защита элементов кабины от опасности разрезания |
- |
- |
- |
X |
|
|
Крепление покрытия пола в кабине |
- |
- |
- |
X |
|
|
Прочность перил |
- |
- |
- |
X |
|
|
5.4.1.8, перечисление а) |
Крепление зеркала |
X |
- |
- |
- |
|
5.4.1.8, перечисление б) |
Тип стекла для зеркала |
Х6) |
- |
- |
Х6) |
|
Крепление оборудования в кабине |
- |
- |
X |
- |
|
|
Аварийный люк и аварийная дверь |
- |
- |
X |
X |
|
|
Вентиляция кабины |
X |
- |
- |
- |
|
|
Освещение кабины |
- |
X |
- |
- |
|
|
5.4.4.2, перечисление а) |
Крепление устройств освещения кабины |
X |
- |
- |
- |
|
5.4.4.2, перечисление б) |
Устройства освещения кабины |
- |
- |
X |
- |
|
Устойчивость к воздействию воды кнопок управления, сигнальных и других устройств |
- |
- |
- |
X |
|
|
Зазоры в кнопочном аппарате |
X |
- |
- |
X |
|
|
Испытание на удар |
- |
X |
- |
- |
|
|
Устойчивость к разрезанию |
- |
Х6) |
- |
Х6) |
|
|
Пожарная безопасность |
- |
Х6) |
- |
Х6) |
|
|
5.5.2.1, перечисление а) |
Крепление аппаратуры управления |
X |
- |
- |
- |
|
5.5.2.1, перечисление б) |
Пожарная безопасность аппаратуры управления |
- |
- |
- |
X |
|
5.5.2.1, перечисление в) |
Устойчивость аппаратуры управления к ударным воздействиям |
- |
X |
- |
- |
|
5.5.2.1, перечисление г) |
Устойчивость аппаратуры управления к разрезанию |
- |
Х6) |
- |
Х6) |
|
Знаки и маркировки |
- |
Х6) |
- |
Х6) |
|
|
Устройство, информирующее о местоположении кабины |
X |
- |
- |
- |
|
|
Звуковой аварийный сигнал |
- |
X |
X |
- |
|
|
Защита от коррозии |
X |
- |
- |
X |
|
|
5.8, перечисление а) |
Крепление знаков и маркировок |
- |
- |
X |
- |
|
5.8, перечисление б) |
Прочность нанесения знаков |
- |
Х6) |
- |
Х6) |
|
5.8, перечисление в) |
Пожарная безопасность знаков |
- |
- |
- |
X |
|
Инструкция по эксплуатации |
X |
- |
- |
- |
|
|
1) Визуальная проверка должна подтвердить наличие элементов, регламентированных требованиями настоящего стандарта. 2) Измерения должны подтвердить соответствие измеряемых параметров/размеров требованиям настоящего стандарта. 3) Проверка должна подтвердить, что функционирование лифта и его устройств - в соответствии с требованиями настоящего стандарта. 4) Проверка чертежей и расчетов должны подтвердить соответствие конструкции элементов лифта требованиям настоящего стандарта. 5) Измерение уровня звука проводится на расстоянии 1 м от источника звука. 6) Методы подтверждения соответствия могут быть различными. Примечания 1 Знак «X» - проверка проводится. 2 Знак «-» - проверка не проводится. |
|||||
7.1 Лифт должен быть снабжен руководством по эксплуатации, включающим в себя:
- краткое описание лифта;
- условия и требования к выполнению технического обслуживания, периодического технического диагностирования лифта и безопасной эвакуации людей из кабины.
7.2 Руководство по эксплуатации также должно включать в себя указания для владельца лифта и организации, выполняющей техническое обслуживание лифта.
7.2.1 Указания для владельца лифта:
а) о применении надлежащих материалов для чистки лифтового оборудования;
б) о необходимости регулярных проверок лифта для обнаружения возможных повреждений лифта;
в) о необходимости выведения лифта из эксплуатации при невозможности обеспечения его безопасной работы и быстром проведении ремонтных работ;
г) об обеспечении чистоты и отсутствии влаги на полу лифта и этажных площадках;
д) о методах эвакуации людей из кабины лифта;
е) о недопущении размещения на этажных площадках и на подходах к лифтовому оборудованию горючих материалов.
7.2.2 Указания для организации, выполняющей техническое обслуживание лифта
Особое внимание должно быть уделено опасности коррозии несущих элементов конструкции лифта и соответствующим проверкам рамы кабины, несущих элементов дверей кабины и шахты, а также других элементов конструкции лифта.
(справочное)
А.1. Общие положения
Определение возможного уровня вандализма базируется на учете нескольких факторов - необходимо учитывать особенности поведения пользователей лифта, а также значение лифтов для функционирования здания, вид контроля доступа к лифтам.
Категории лифтов в зависимости от видов доступа к лифту приведены в таблице А.1.
Таблица А.1 - Категории лифтов
|
Категория лифта |
|
|
Ограниченный доступ пользователей, находящихся под наблюдением |
0 |
|
Ограниченный доступ пользователей без наблюдения за ними |
0 |
|
Лифты общедоступные. Пользователи находятся под наблюдением |
0 |
|
Лифты общедоступные. Пользователи не находятся под наблюдением |
1 |
|
Потенциально расположенные к вандализму пользователи |
2 |
А.2 Примеры типов пользователей лифта
Пользователи лифтов подразделяются на:
- тип 1 - пользователи в условиях ограниченного доступа к лифтам с системой наблюдения, например пользователи обзорных лифтов в стеклянной шахте, размещаемых в офисных зданиях с системой контроля на входе в здание.
В таких зданиях лифты относятся к категории 0 и они должны соответствовать требованиям ПУБЭЛ [1];
- тип 2 - пользователи в условиях ограниченного доступа к лифтам в зданиях без контроля на входе здания.
В таких зданиях лифты относят к категории 0 и они должны соответствовать требованиям ПУБЭЛ [1];
- тип 3 - общедоступные лифты, оснащенные камерами наблюдения или установленные в прозрачных шахтах.
Такие системы лифтов обычно характерны для крупных торговых центров, элитных жилых домов и других зданий массового посещения.
В таких зданиях лифты относятся к категории 0 и должны соответствовать требованиям ПУБЭЛ [1];
- тип 4 - общедоступные лифты в зданиях, не имеющих контроля за пользователями.
К таким зданиям могут быть отнесены муниципальные жилые дома, дома экономического класса, магазины.
В таких зданиях лифты относят к категории 1;
- тип 5 - лифты в зонах потенциального вандализма.
В некоторых типах зданий и сооружений с большой вероятностью можно ожидать проявлений вандализма по отношению к лифтам.
К таким зданиям и сооружениям относят стадионы, железнодорожные вокзалы, общежития, а также муниципальные жилые здания экономического класса.
В таких зданиях целесообразно устанавливать лифты категории 2.
А.3 Другие факторы, влияющие на уровень вандализма
Наблюдение за пользователями при помощи видеокамер или, в случае установки лифтов, кабины и двери которых выполнены из стекла, в прозрачных шахтах в значительной степени снижает риск проявлений вандализма.
Размещение в кабине лифта зеркала также снижает риск вандализма. Установка зеркала должна быть выполнена в соответствии с требованиями настоящего стандарта.
Другим фактором, оказывающим влияние на уровень вандализма, являются применение высокого уровня освещенности в сочетании с системой идентификации пользователя.
При выборе категории лифта применяют следующие характеристики мест установки лифтов:
- будет ли организовано наблюдение за зоной, в которой установлены лифты;
- расположено ли здание на территории, на которой следует ожидать проявление вандализма;
- является ли назначение здания предрасположенным к проявлениям вандализма;
- является ли ожидаемое использование лифта причиной повреждений лифтового оборудования (например, транспортирование тележек и т.п.);
- какой тип пользователей характерен для зданий, сооружений.
При выборе категории лифтов проектировщики здания и приобретатели лифтов должны внимательно относиться к вышеуказанным характеристикам, учитывать возможность защиты здания системами наблюдения и контроля.
После выбора категории лифта проектировщик здания должен выбрать число лифтов, их грузоподъемность и скорость для обеспечения необходимой провозной способности лифтов и приемлемого времени ожидания лифта и поездки в лифте.
А.4 Показатели работы лифта
Время ожидания лифта и поездки в лифте должно быть по возможности коротким. Для предотвращения нежелательного поведения пользователей при длительном ожидании число, скорость и грузоподъемность лифтов должны обеспечивать средний интервал не более 45 с между прибытиями лифта на этажи.
Размеры кабины лифтов выбирают с учетом размеров инвалидных кресел-колясок, различных типов ручных транспортных устройств.
Лифт может быть оснащен устройством контроля загрузки кабины, которое предотвращает остановки кабины при установленной предельной ее загрузке (рекомендуемый уровень загрузки - 60 % номинальной грузоподъемности кабины).
Положительное влияние оказывает использование устройств, сокращающих время закрытия дверей. В качестве таких устройств используются кнопки закрывания дверей, оптические средства контроля дверного проема и другие устройства.
Важно также применение устройств реверсирования закрывающихся дверей при наличии препятствия в дверном проеме.
А.5 Защита от коррозии
Исполнение оборудования кабины и устройств, расположенных на этажах, должно обеспечивать их устойчивость к коррозии, вызываемой применением жидких моющих средств и влиянием других обстоятельств (например, выделениями человека).
Коррозионно-устойчивое исполнение редко требуется для лифтов категории 1. Однако это требование должно выполняться для лифтов категории 2 (см. 5.7).
Меры защиты от коррозии зависят от конструкции лифта, окружающей среды и применяемых материалов. Эти меры не относятся к содержанию настоящего стандарта, но некоторые из них приведены ниже:
следует предусмотреть меры по предотвращению попадания вызывающих коррозию веществ на важные компоненты лифта и/или обеспечить специальное антикоррозийное исполнение этих компонентов. Применяемая в конструкции лифта сталь может, например, подвергаться гальванизации или антикоррозийной покраске. Применение отдельных видов пластических материалов, других композитных материалов, бронзы обеспечивает достаточную защиту от коррозии в течение долгого времени.
А.6 Долговечность отделки лифтового оборудования
Оборудование кабины лифта, а также оборудование, расположенное на этажных площадках, должно быть устойчивым к нанесению царапин и выдерживать частую обработку чистящими жидкостями. Применение чистящих жидкостей объясняется необходимостью удаления наносимых пользователями рисунков и других загрязнений.
А.7 Защита устройств подачи электропитания
Опасность вандализма по отношению к электрическим кабелям, выключателям требует установки этих элементов в местах, доступных только для обслуживающего персонала.
Б.1 Оборудование
Испытательная установка должна обеспечивать возможность падения ударного устройства на испытуемый образец лифтового оборудования. Масса ударного устройства должна быть 1,0 кг. Устройство должно иметь заостренную ударную часть с наконечником радиусом 10 мм, воздействующую на испытуемый образец.
Б.2 Образцы
Каждый испытуемый образец устанавливают и закрепляют в соответствующей раме.
Б.3 Метод испытания
Наиболее уязвимую часть испытуемого образца подвергают трехкратному воздействию ударным устройством с высоты 0,2 м - для лифтов категории 1 и 1,0 м - для лифтов категории 2.
Б.4 Результаты испытаний
После проведения испытаний образец должен сохранять работоспособность и соответствовать требованиям безопасности настоящего стандарта.
(обязательное)

Примечание - Цвета информационного знака:
- зеленый;
- белый.
Размер информационного знака, устанавливаемого на основном посадочном этаже, должен быть не менее 50´50 мм.
Размер информационного знака, устанавливаемого на устройстве включения системы, должен быть не менее 20´20 мм.
Рисунок В.1 - Информационный знак системы безопасности двери шахты
(справочное)
Г.1 Вандализм проявляется неадекватным поведением людей в различных обстоятельствах, которые имеют влияние на частоту и тяжесть последствий в соответствии с ГОСТ Р ИСО/ТС 14798.
Г.2 Лифт не может функционировать надежно, если в кабину лифта, шахту и другие помещения для лифтового оборудования проникает вода. Задачей проектировщиков является минимизировать риск доступности средств водоснабжения: гидранты и другое подобное оборудование не должно располагаться вблизи лифтов.
Г.3 Для снижения частоты и тяжести последствий от воздействия воды или пожара должно быть предусмотрено надлежащее расположение различных сервисных служб здания по отношению к лифтам:
- трубопроводов для жидкостей и других веществ;
- пожарных гидрантов;
- входных устройств электропитания;
- мест хранения и удаления мусора;
- мест хранения топлива и других жидких материалов.
Г.4 Машинное помещение лифта, обычно располагающееся в местах, удаленных от путей перемещения людей, создает возможность для вандалов в течение длительного времени пытаться проникнуть в машинное помещение. Для защиты машинного помещения от проникновения вандалов должны быть приняты следующие меры: обеспечение повышенной прочности двери машинного помещения, оборудование машинного помещения сигнализацией о проникновении посторонних лиц.
Г.5 Одной из самых серьезных рисков вследствие проникновения вандалов в машинное помещение лифта является возможность возникновения в этом помещении пожара, который из-за удаленности машинного помещения может быть обнаружен слишком поздно.
Это обстоятельство должно быть учтено при оборудовании здания системой обнаружения пожара.
Г.6 Вандальные воздействия на стены кабины и другое лифтовое оборудование, осуществляющиеся в течение длительного времени, увеличивают риск снижения безопасности работы лифта. Сервисные службы здания должны регулярно проверять наличие повреждения оборудования вследствие проявлений вандализма и устранять их прежде, чем возникнут серьезные инциденты.
Г.7 Один из возможных рисков возникает при загрязнении, засорении порога двери. Этот риск устраняется регулярными проверками и очисткой порогов.
Г.8 Размещаемые в кабине лифта пепельницы, сиденья часто становятся объектами вандальных действий, поэтому их установка в лифтах, подверженных вандализму, не рекомендуется.
Г.9 Материалы, применяемые для покрытия пола кабины лифта, должны предотвращать для пользователей риск поскользнуться и упасть, особенно при попадании на пол влаги.
(обязательное)
Для определения требований к конструкции лифтового оборудования, подвергаемого вандальным действиям, в таблице Д.1 приводится перечень предметов, которые обычно имеют при себе пользователи и которые могут быть использованы ими для вандальных действий. Могут использоваться также и другие предметы, однако с практической точки зрения невозможно создать лифт, устойчивый к любым воздействиям.
Таблица Д.1 - Предметы, которые могут быть использованы вандалами на лифтах разных категорий
|
Категория лифта |
||
|
1 |
2 |
|
|
Шариковая ручка |
X |
X |
|
Веревка, шнурок, провод |
X |
X |
|
Ключи |
X |
X |
|
Трость |
X |
X |
|
Жевательная резинка |
X |
X |
|
Сигарета |
X |
X |
|
Вес человека |
X |
X |
|
Зажигалка |
X |
X |
|
Перочинный нож с лезвием до 100 мм, отвертка длиной до 200 мм |
X |
X |
|
Горлышко бутылки |
X |
X |
|
Ножницы (маникюрные) |
- |
X |
|
Знак «X» - предмет используется. Знак «-» - предмет не используется. |
||
Возможные результаты воздействия различных предметов на лифтовое оборудование приведены в таблице Д.2.
Таблица Д.2 - Возможные результаты воздействия различных предметов на лифтовое оборудование
|
Результаты воздействия на лифтовое оборудование |
||||||||||||||||||||
|
Различные устройства, аппараты |
Светильники |
Механизм дверей |
Створки, стены, потолок, покрытие пола |
|||||||||||||||||
|
Эстетика |
Препятствие в работе |
Разрезание |
Воздействие рычагом |
Удар |
Возгорание |
Демонтаж |
Эстетика |
Разрезание |
Воздействие рычагом |
Удар |
Возгорание |
Демонтаж |
Препятствие в работе |
Разрезание |
Воздействие рычагом |
Удар |
Эстетика |
Воздействие рычагом |
Удар |
|
|
Шариковая ручка |
В |
|
|
|
|
|
|
В |
|
|
|
|
|
|
|
|
|
В |
|
|
|
Веревка, провод |
|
|
|
|
|
|
|
|
|
|
|
|
|
А |
|
А |
|
|
|
|
|
Ключи |
В |
|
|
|
|
|
|
В |
|
|
|
|
|
|
|
|
|
В |
|
|
|
Трость |
В |
|
|
|
А, Б |
|
|
В |
|
Б |
Б |
|
|
|
|
Б |
Б |
В |
А |
|
|
Жевательная резинка |
|
Б |
|
|
|
|
|
|
|
|
|
|
|
Б |
|
|
|
|
|
|
|
Сигарета |
В |
|
|
|
|
В |
|
В |
|
|
|
В |
|
|
|
|
|
В |
|
|
|
Вес человека |
|
|
|
|
А, Б |
|
|
|
|
|
Б |
|
|
|
|
|
Б |
|
|
А |
|
Зажигалка |
В |
|
|
|
|
А, Б |
|
В |
В |
|
|
В |
|
|
|
|
|
В |
|
|
|
Перочинный нож |
В |
|
А, Б |
А, Б |
А, Б |
|
А, Б |
В |
В |
Б |
Б |
|
Б |
|
Б |
Б |
Б |
В |
Б |
|
|
Отвертка |
В |
|
|
А, Б |
А, Б |
|
|
В |
|
Б |
Б |
|
Б |
|
|
|
|
В |
Б |
|
|
Горлышко бутылки |
В |
|
|
|
|
|
|
В |
|
|
|
|
|
|
|
|
|
В |
|
|
|
Ножницы |
В |
|
|
|
А, Б |
|
|
В |
В |
Б |
Б |
|
|
|
А |
Б |
Б |
В |
Б |
|
|
Примечание - А - повреждение оборудования, которое может привести к травме; Б - повреждение оборудования, которое может привести к нарушению работы или остановке лифта; В - повреждение оборудования, нарушающее эстетику лифта. |
||||||||||||||||||||
(обязательное)
Е.1 Оборудование
а) Газовая зажигалка с образованием пламени высотой 40 мм.
б) Устройство для закрепления зажигалки и испытуемого образца.
Устройство должно обеспечивать такое положение испытуемого образца, которое он занимает при работе лифта.
Крепление зажигалки должно быть таким, чтобы она могла находиться в любом положении - от горизонтального до вертикального (см. рисунок Е.1).
Е.2 Образцы для испытаний
Образцы для испытаний устанавливают в устройство для закрепления.
Испытуемый образец монтируют в составе предусмотренной сборки (например, кнопка должна быть смонтирована на своей панели).
Е.3 Метод проведения испытаний
Вертикальное пламя зажигалки устанавливают на высоту 40+5 мм. Образец для испытаний устанавливают в обычном рабочем положении. Пламя должно быть направлено на наиболее уязвимую часть образца под углом, создающим наиболее опасное воздействие, как показано на рисунке Е.1.
Продолжительность испытания для лифтов категории 1 - 60 с, для лифтов категории 2 - 120 с.
Е.4 Результаты испытаний
После испытания образец должен сохранять работоспособность и обеспечивать безопасность работы.
Воспламеняемость: образец не должен гореть.
Обесцвечивание: любое обесцвечивание не должно нарушать маркировку.
Функционирование: после испытаний кнопки и другие компоненты лифта должны сохранять работоспособность после удаления продуктов горения.
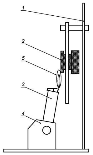
1 - держатель образца; 2 - образец (кнопка); 3 - зажигалка (источник огня); 4 - держатель зажигалки; 5 - пламя
Рисунок Е.1 - Схема установки для проведения испытаний на пожарную безопасность
[1] ПБ 10-558-03 Правила устройства и безопасной эксплуатации лифтов. Госгортехнадзор РФ, 2003 г.
Ключевые слова: лифты пассажирские, риск вандализма