Стандарт распространяется на следующие мототранспортные средства: - трехколесные мопеды и легкие квадрициклы категорий L2 и L6; - мотоциклы с коляской категории L4; - три- и квадрициклы категорий L5 и L7, предназначенные для эксплуатации на дорогах общей сети. Стандарт регламентирует требования к количеству, цвету, расположению, углам геометрической видимости устройств освещения и световой сигнализации, устанавливаемых на мототранспортных средствах.
| Обозначение: | ГОСТ Р 52388-2005 |
| Название рус.: | Мототранспортные средства трех- и четырехколесные. Устройства освещения и световой сигнализации. Технические требования |
| Статус: | действует |
| Дата актуализации текста: | 05.05.2017 |
| Дата добавления в базу: | 01.09.2013 |
| Дата введения в действие: | 01.01.2007 |
| Утвержден: | 07.11.2005 Федеральное агентство по техническому регулированию и метрологии (278-ст) |
| Опубликован: | Стандартинформ (2006 г. ) |
| Ссылки для скачивания: |
ФЕДЕРАЛЬНОЕ АГЕНТСТВО
ПО ТЕХНИЧЕСКОМУ РЕГУЛИРОВАНИЮ И МЕТРОЛОГИИ
|
|
НАЦИОНАЛЬНЫЙ СТАНДАРТ РОССИЙСКОЙ ФЕДЕРАЦИИ |
ГОСТ Р |
МОТОТРАНСПОРТНЫЕ СРЕДСТВА
ТРЕХ- И ЧЕТЫРЕХКОЛЕСНЫЕ
УСТРОЙСТВА
ОСВЕЩЕНИЯ
И СВЕТОВОЙ СИГНАЛИЗАЦИИ
ТЕХНИЧЕСКИЕ ТРЕБОВАНИЯ
![]()
Москва
Стандартинформ
2006
Предисловие
Цели и принципы стандартизации в Российской Федерации установлены Федеральным законом от 27 декабря 2002 г. № 184-ФЗ «О техническом регулировании», а правила применения национальных стандартов Российской Федерации - ГОСТ Р 1.0-2004 «Стандартизация в Российской Федерации. Основные положения»
Сведения о стандарте
1 ПОДГОТОВЛЕН Федеральным государственным унитарным предприятием «Научно-исследовательским центром по испытаниям и доводке автомототехники» (ФГУП «НИЦИАМТ») на основе Директивы ЕС 93/92 «Установка устройств освещения и световой сигнализации на двух- или трехколесных транспортных средствах»
2 ВНЕСЕН Техническим комитетом по стандартизации ТК 308 «Мотоциклы и мопеды»
3 УТВЕРЖДЕН И ВВЕДЕН В ДЕЙСТВИЕ Приказом Федерального агентства по техническому регулированию и метрологии от 7 ноября 2005 г. № 278-ст
4 ВВЕДЕН ВПЕРВЫЕ
Информация об изменениях к настоящему стандарту публикуется в ежегодно издаваемом информационном указателе «Национальные стандарты», а текст изменений и поправок - в ежемесячно издаваемых информационных указателях «Национальные стандарты». В случае пересмотра (замены) или отмены настоящего стандарта соответствующее уведомление будет опубликовано в ежемесячно издаваемом информационном указателе «Национальные стандарты». Соответствующая информация, уведомление и тексты размещаются также в информационной системе общего пользования - на официальном сайте национального органа Российской Федерации по стандартизации в сети Интернет
СОДЕРЖАНИЕ
ГОСТ Р 52388-2005
НАЦИОНАЛЬНЫЙ СТАНДАРТ РОССИЙСКОЙ ФЕДЕРАЦИИ
Мототранспортные средства трех- и четырехколесные
УСТРОЙСТВА ОСВЕЩЕНИЯ И СВЕТОВОЙ СИГНАЛИЗАЦИИ
Технические требования
Three and four-wheeled vehicles.
Installations of lighting and light warning systems.
Technical requirements
Дата введения - 2007-01-01
Настоящий стандарт распространяется на следующие мототранспортные средства:
- трехколесные мопеды и легкие квадрициклы категорий L2 и L6*;
* Определение категорий - по ГОСТ Р 52051.
- мотоциклы с коляской категории L4;
- три- и квадрициклы категорий L5 и L7, предназначенные для эксплуатации на дорогах общей сети.
Стандарт регламентирует требования к количеству, цвету, расположению, углам геометрической видимости устройств освещения и световой сигнализации, устанавливаемых на мототранспортных средствах.
В настоящем стандарте использованы нормативные ссылки на следующие стандарты:
ГОСТ Р 41.23-99 (Правила ЕЭК ООН № 23) Единообразные предписания, касающиеся официального утверждения задних фар механических транспортных средств и их прицепов
ГОСТ Р 41.37-99 (Правила ЕЭК ООН № 37) Единообразные предписания, касающиеся официального утверждения ламп накаливания, предназначенных для использования в официально утвержденных огнях механических транспортных средств и их прицепов
ГОСТ Р 41.50-99 (Правила ЕЭК ООН № 50) Единообразные предписания, касающиеся официального утверждения передних и задних габаритных огней, сигналов торможения, указателей поворота и устройств освещения заднего номерного знака для мопедов, мотоциклов и приравниваемых к ним транспортных средств
ГОСТ Р 41.56-99 (Правила ЕЭК ООН № 56) Единообразные предписания, касающиеся официального утверждения фар для мопедов и приравниваемых к ним транспортных средств
ГОСТ Р 41.57-99 (Правила ЕЭК ООН № 57) Единообразные предписания, касающиеся официального утверждения фар для мотоциклов и приравниваемых к ним транспортных средств
ГОСТ Р 41.72-99 (Правила ЕЭК ООН № 72) Единообразные предписания, касающиеся официального утверждения фар для мотоциклов, дающих асимметричный луч ближнего света и луч дальнего света, оборудованных галогенными лампами накаливания (лампы HS1)
ГОСТ Р 41.76-99 (Правила ЕЭК ООН № 76) Единообразные предписания, касающиеся официального утверждения фар дальнего и ближнего света для мопедов
ГОСТ Р 41.82-99 (Правила ЕЭК ООН № 82) Единообразные предписания, касающиеся официального утверждения фар для мопедов, оборудованных галогенными лампами накаливания (типа HS2)
ГОСТ Р 52051-2003 Механические транспортные средства и прицепы. Классификация и определения
Примечание - При пользовании настоящим стандартом целесообразно проверить действие ссылочных стандартов в информационной системе общего пользования - на официальном сайте национального органа Российской Федерации по стандартизации в сети Интернет или по ежегодно издаваемому информационному указателю «Национальные стандарты», который опубликован по состоянию на 1 января текущего года, и по соответствующим ежемесячно издаваемым информационным указателям, опубликованным в текущем году. Если ссылочный стандарт заменен (изменен), то при пользовании настоящим стандартом следует руководствоваться замененным (измененным) стандартом. Если ссылочный стандарт отменен без замены, то положение, в котором дана ссылка на него, применяется в части, не затрагивающей эту ссылку.
В настоящем стандарте применены следующие термины с соответствующими определениями:
2.1 тип транспортного средства в отношении установки устройств освещения и световой сигнализации: Транспортные средства, не имеющие между собой различий в отношении существенных аспектов, упомянутых в 2.1.1 - 2.1.4.
Транспортным средством другого типа не считают те, которые отличаются в отношении требований 2.1.1 - 2.1.4, но не настолько, чтобы это могло повлечь изменение вида, числа, размещения и геометрической видимости огней и наклона луча ближнего света, предусмотренных для транспортного средства данного типа, а также транспортные средства, на которых установлены или отсутствуют факультативные огни:
2.1.1 размеры и внешняя форма транспортного средства;
2.1.2 число и размещение устройств;
2.1.3 система регулирования фар;
2.2 поперечная плоскость: Вертикальная плоскость, перпендикулярная к среднему продольному сечению транспортного средства.
2.3 снаряженное транспортное средство: Транспортное средство без водителя, экипажа, пассажиров и груза, но с полным запасом топлива, запасным колесом и штатным комплектом инструментов.
2.4 груженое транспортное средство: Транспортное средство, нагруженное до технически допустимой максимальной массы, указанной изготовителем, который устанавливает также распределение этой массы по осям в соответствии с методом, описанным в приложении Д.
2.5 устройство: Элемент или блок элементов, который выполняет одну или более функцию.
2.6 огонь: Устройство, предназначенное для освещения дороги или подачи светового сигнала другим участникам дорожного движения. Фонари заднего номерного знака и светоотражающие устройства также считают огнями.
2.6.1 источник света применительно к лампам накаливания: Сама нить накала. Если лампа имеет несколько нитей накала, каждая из них представляет собой отдельный источник света.
2.6.2 эквивалентные огни: Огни, выполняющие ту же функцию и разрешенные в стране, в которой зарегистрировано транспортное средство, по характеристикам могущие отличаться от установленных на транспортном средстве на дату его испытания, при условии, что они удовлетворяют требованиям настоящего стандарта.
2.6.3 независимые огни: Устройства, имеющие отдельные освещающие поверхности*, источники света и корпуса.
2.6.4 сгруппированные огни: Устройства, имеющие отдельные освещающие поверхности*, источники света, но общий корпус.
2.6.5 комбинированные огни: Устройства, имеющие отдельные освещающие поверхности*, но общий источник света и корпус.
* В случае устройств освещения заднего номерного знака следует применять термин «светоизлучающая поверхность».
2.6.6 совмещенные огни: Устройства с разными или единым источником света, работающие в различных режимах (например, оптическом, механическом или электрическом), имеющие полностью или частично общие освещающие поверхности и общий корпус.
2.6.7 простой огонь: Часть устройства, которая выполняет одну функцию, связанную с освещением или световой сигнализацией.
2.6.11 сигнал торможения: Огонь, предназначенный для сигнализации другим участникам дорожного движения, находящимся сзади транспортного средства, о приведении в действие рабочего тормоза. Сигналы торможения могут включаться при приведении в действие замедлителя или другого аналогичного устройства.
2.6.12 фонарь освещения заднего номерного знака: Приспособление, которое служит для освещения места, предназначенного для заднего номерного знака, и которое может состоять из нескольких оптических элементов.
2.6.13 передний габаритный огонь: Огонь, предназначенный для обозначения габаритной ширины транспортного средства спереди.
Для целей настоящего стандарта светоотражающими устройствами не считают:
2.6.15.1 светоотражающие номерные знаки;
2.6.15.2 светоотражающие указатели, упоминаемые в ДОПОГ (Европейское соглашение о международной дорожной перевозке опасных грузов);
2.6.15.3 прочие светоотражающие таблички и знаки, которые должны использоваться в целях соответствия с национальными требованиями в отношении определенных категорий транспортных средств или определенных видов операций.
2.6.19 задняя фара: Огонь, предназначенный для освещения дороги сзади транспортного средства и подачи предупреждающего сигнала другим пользователям дороги, когда транспортное средство движется задним ходом или приводится в состояние для такого движения.
2.7 светоизлучающая поверхность устройства освещения, устройства световой сигнализации или светоотражающего устройства: Вся или часть внешней поверхности прозрачного материала, показанная на рисунке Б.1, которая прилагается изготовителем устройства к заявке на испытания (см. приложение Б).
2.8 освещающая поверхность: См. приложение Б.
2.8.1 освещающая поверхность светотехнического устройства (2.6.8, 2.6.9, 2.6.17, 2.6.18): Ортогональная проекция полной апертуры рефлектора или в случае фар головного света с эллипсоидным рефлектором - ортогональная проекция проецирующей линзы на поперечную плоскость. Если светотехническое устройство не имеет рефлектора, то применяется определение 2.8.2. Если светоизлучающая поверхность огня распространяется только на часть полной апертуры рефлектора, то учитывается проекция только этой части.
Для фары ближнего света освещающая поверхность ограничивается видимым следом линии среза на рассеивателе. Если отражатель и рассеиватель регулируются по отношению друг к другу, то следует использовать среднее положение регулировки.
2.8.2 освещающая поверхность устройства световой сигнализации, не являющегося светоотражающим устройством (2.6.10 - 2.6.14, 2.6.16, 2.6.18): Ортогональная проекция огня на плоскость, перпендикулярную к его исходной оси и соприкасающуюся с внешней светоизлучающей поверхностью огня, причем эта поверхность ограничивается краями экранов, пересекающих эту плоскость, каждый из которых позволяет сохранять внутри этой поверхности только 98 % общей силы света в направлении исходной оси.
Для определения нижней, верхней и боковых границ освещающей поверхности используются лишь экраны с горизонтальными и вертикальными краями.
2.8.3 освещающая поверхность светоотражающего устройства (2.6.15): Ортогональная проекция светоотражающего устройства на плоскость, перпендикулярную к его исходной оси, ограничиваемая плоскостями, соприкасающимися с крайними частями оптической системы светоотражающего устройства и параллельными этой оси. Для целей определения нижнего, верхнего и боковых краев устройства используют лишь горизонтальные и вертикальные плоскости.
- либо границы освещающей поверхности, проецируемой на внешнюю поверхность рассеивателя (а - b);
- либо границы светоизлучающей поверхности (с - d) в плоскости, перпендикулярной к направлению наблюдения и касательной в крайней внешней точке рассеивателя (см. приложение Б).
2.10 исходная ось: Характерная ось огня, определяемая предприятием-изготовителем огня, проходящая через фокусный центр фары с координатами (Н = 0°, V = 0°) и служащая исходной осью отсчета для углов геометрической видимости (рисунок Б.1) при фотометрических измерениях и установке на транспортном средстве.
2.11 исходный центр: Точка пересечения исходной оси с наружным контуром светоизлучающей поверхности огня; эта точка указывается изготовителем.
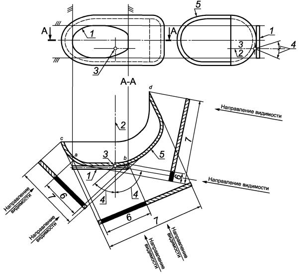
2.12 углы геометрической видимости: Углы, определяющие зону минимального телесного угла, в которой должна быть видна видимая поверхность огня. Эта зона определяется сегментами сферы, центр которой совпадает с исходным центром огня, а экватор параллелен уровню грунта. Эти сегменты определяются в отношении к исходной оси. Горизонтальные углы b соответствуют долготе, а вертикальные углы a - широте. С внутренней стороны углов геометрической видимости не должно быть препятствий для распространения света из какой-либо части видимой поверхности огня, наблюдаемого из бесконечно удаленной точки.
Если измерения проводят на более близком расстоянии от огня, то направление наблюдения должно быть смещено параллельно, чтобы добиться такой же точности.
С внутренней стороны углов не учитывают препятствия, которые уже существовали на дату испытания огня по типу конструкции.
Если при установленном огне какая-либо часть его видимой поверхности закрыта другими частями транспортного средства, то необходимо представить доказательства, что часть огня, не закрытая препятствиями, по-прежнему соответствует фотометрическим параметрам, предусмотренным для испытания данного устройства в качестве оптического элемента (см. приложение Б). Однако в случаях, когда вертикальный угол геометрической видимости ниже горизонтальной линии может быть уменьшен до 5° (огонь, расположенный ниже 750 мм над уровнем грунта), поле фотометрических измерений установленного оптического элемента может быть уменьшено до 5° ниже горизонтальной линии.
2.13.1 шинами вблизи от точки их соприкосновения с землей и подсоединений указателей давления в шинах;
2.13.2 приспособлениями противоскольжения, которые могут быть установлены на колесах;
2.13.3 зеркалами заднего вида;
2.13.4 боковыми указателями поворота, контурными огнями, передними и задними габаритными огнями, светоотражающими устройствами;
2.13.5 пломбами, накладываемыми таможенными органами на транспортное средство, и приспособлениями для крепления и защиты этих пломб.
2.14 габаритная ширина: Расстояние между обеими вертикальными плоскостями, определенными в 2.1.
2.15 Рассматривают огни в следующих качествах:
2.15.1 как единый огонь: Устройство или часть устройства, которое выполняет одну функцию и имеет одну поверхность, видимую в направлении исходной оси (2.9, 2.10), и один или более источник света. В случае установки на транспортном средстве под единым огнем также подразумевают любой блок из двух независимых или сгруппированных огней, идентичных или неидентичных, которые выполняют одинаковую функцию, если они установлены таким образом, что проекции их поверхностей, видимых в направлении исходной оси, занимают не менее 60 % наименьшей площади прямоугольника, описанного вокруг проекций вышеупомянутых поверхностей, видимых в направлении исходной оси.
Если требуется сделать вывод о соответствии типа, то в таком случае каждый из этих огней рассматривают в качестве огня типа D.
Эта возможная комбинация не относится к головным фарам дальнего и ближнего света, а также передним противотуманным фарам.
2.15.2 как два огня или большее четное число огней: Одна светоизлучающая поверхность, имеющая форму полосы и расположенная симметрично по отношению к средней продольной плоскости транспортного средства на расстоянии не менее 0,4 м от края габаритной ширины транспортного средства с каждой его стороны, минимальной длиной 0,8 м. Освещение от этой поверхности должно обеспечиваться по крайней мере двумя источниками света, расположенными возможно ближе к ее краям. Видимая поверхность может представлять собой совокупность расположенных рядом элементов при условии, что проекции различных составляющих ее видимой поверхности на поперечную плоскость занимают не менее 60 % площади наименьшего прямоугольника, описанного вокруг проекций указанных выше составляющих видимых поверхностей.
2.16 расстояние между двумя огнями, направленными в одну сторону: Минимальное расстояние между двумя поверхностями, видимыми в направлении исходной оси. В случае, если расстояние между огнями явно соответствует требованиям настоящего стандарта, точные габаритные размеры видимых поверхностей определять не требуется.
2.17 контрольный сигнал функционирования: Визуальный или звуковой сигнал (или любой эквивалентный сигнал), указывающий, что устройство приведено в действие и правильно или неправильно функционирует.
2.18 контрольный сигнал включения: Визуальный (или любой эквивалентный) сигнал, указывающий, что устройство приведено в действие, но не информирующий о правильности или неправильности его функционирования.
2.19 факультативный огонь: Огонь, установка которого производится по усмотрению предприятия-изготовителя .
2.20 грунт: Поверхность, на которой расположено транспортное средство и которая должна быть близкой к горизонтальной.
3.1 Заявку на проведение испытаний типа транспортного средства в отношении установки устройств освещения и световой сигнализации представляет изготовитель транспортного средства или его надлежащим образом уполномоченный представитель.
3.2 К заявке должны быть приложены следующие документы в трех экземплярах.
3.2.1 Описание типа транспортного средства с учетом положений, приведенных в 2.1.1 - 2.1.4. Должны быть указаны надлежащим образом идентифицированный тип транспортного средства и ограничения на нагрузку.
3.2.2 Спецификация надлежащим образом идентифицированных устройств (наименование устройства, описание маркировки, обозначение изготовителя и т.д.), составляющих оборудование освещения и световой сигнализации. Этот перечень может содержать несколько типов устройств для каждой функции; кроме того, по каждой функции в перечень может быть включено дополнительное указание: «или эквивалентные устройства».
3.2.3 Схема компоновки всего оборудования для освещения и световой сигнализации и расположения различных устройств на транспортном средстве.
3.2.4 Схема(ы), на которой(ых) указана освещающая поверхность для каждого огня в соответствии с 2.5.
3.3 Испытательной лаборатории должно быть представлено одно транспортное средство в снаряженном состоянии с полным комплектом оборудования освещения и световой сигнализации, как указано в 4.2.2.
3.4 К документации, предусмотренной для испытаний по типу конструкции, прилагают техническое описание по форме, приведенной в приложении А, а также чертежи максимальным форматом А4 (210´297 мм) или кратным ему форматом в соответствующем масштабе.
4.1 Если тип транспортного средства, представленный на испытания в соответствии с настоящим стандартом, удовлетворяет требованиям разделов 5 и 6 - для категорий L2 и L6, 5 и 7 - для категории L4 и 5 и 8 - для категорий L5 и L7 в отношении всех устройств освещения и световой сигнализации, то данный тип транспортного средства считают соответствующим требованиям настоящего стандарта.
5.1 Устройства освещения и световой сигнализации должны быть установлены таким образом, чтобы при условиях нормальной эксплуатации и вибрации, которой они могут подвергаться, сохранять характеристики, предписанные настоящим стандартом, и чтобы транспортное средство удовлетворяло требованиям настоящего стандарта. В частности, должна быть исключена возможность случайного нарушения регулировки этих устройств.
5.2 Огни для освещения, описанные в 2.6.8, 2.6.9, 2.6.17, должны быть установлены таким образом, чтобы можно было легко регулировать направления световых лучей.
В каждом направлении разрешается допуск, равный ±3°. Кроме того, должны соблюдаться конкретные технические условия на установку, если таковые предусмотрены предприятием-изготовителем.
5.4 При отсутствии особых указаний высоту и ориентировку огней проверяют на снаряженном транспортном средстве, расположенном на плоской и горизонтальной поверхности; причем средняя продольная плоскость транспортного средства должна быть расположена вертикально, а рулевое управление должно находиться в положении для движения вперед. Давление шин должно соответствовать предписанному изготовителем.
5.5 При отсутствии особых указаний огни одной и той же пары, имеющие одинаковое назначение, должны:
5.5.1 устанавливаться на транспортном средстве симметрично по отношению к средней продольной плоскости;
5.5.2 быть симметричными относительно друг друга по отношению к средней продольной плоскости;
5.5.3 удовлетворять одним и тем же колориметрическим требованиям;
5.5.4 иметь практически одинаковые фотометрические характеристики.
5.6 При отсутствии особых указаний разные по назначению огни могут быть независимыми или сгруппированными, комбинированными или совмещенными в одном и том же устройстве при условии, что каждый из огней отвечает применяемым к нему требованиям.
5.7 Максимальную высоту над уровнем грунта измеряют от самой высокой точки, а минимальную высоту - от самой низкой точки освещающей поверхности. Для огней ближнего света минимальную высоту над уровнем грунта измеряют от нижней части линзы или отражателя, причем принимают во внимание большее значение.
5.8 При отсутствии особых указаний никакой огонь не должен быть мигающим, за исключением огней указателей поворота и аварийного сигнала.
5.9 Ни один красный огонь не должен быть виден спереди и ни один белый огонь - сзади, кроме фонаря заднего хода. Соблюдение этого условия проверяют по приложениям В и Г:
5.9.1 в отношении красного огня спереди нужно, чтобы он не был непосредственно видим для наблюдателя, перемещающегося в зоне 1 (см. рисунки В.1 и Г.1) поперечной плоскости, расположенной впереди транспортного средства на расстоянии 25 м от его крайней передней точки;
5.9.2 в отношении белого огня сзади нужно, чтобы он не был непосредственно видим для наблюдателя, перемещающегося в зоне 2 (см. рисунки В.2 и Г.2) поперечной плоскости, расположенной сзади транспортного средства на расстоянии 25 м от его крайней задней точки;
5.9.3 в соответствующих плоскостях зоны 1 и 2, просматриваемые наблюдателем, ограничиваются:
5.9.3.1 по высоте - двумя горизонтальными плоскостями соответственно на высоте 1,0 м и 2,2 м от уровня грунта;
5.9.3.2 по ширине - двумя вертикальными плоскостями, проведенными в направлении вперед и назад и расходящимися от среднего продольного сечения транспортного средства под углами 15°. Эти плоскости должны проходить соответственно через вертикальные линии пересечения плоскостей, параллельных средней продольной плоскости транспортного средства и ограничивающих его габаритную ширину, с поперечными плоскостями, ограничивающими габаритную длину транспортного средства.
5.11 При отсутствии особых указаний функциональная электрическая схема должна быть такой, чтобы огни дальнего и ближнего света и передний противотуманный огонь могли включаться только в том случае, если включены также огни, указанные в 5.10. Однако это условие не является обязательным для огней дальнего или ближнего света, если их световые сигналы предназначены для многократного и кратковременного включения и выключения дальнего или ближнего света или для кратковременного попеременного включения ближнего и дальнего света.
5.12 Световые контрольные сигналы
5.12.1 Каждый световой контрольный сигнал должен быть хорошо виден водителю, находящемуся в нормальном положении для управления транспортным средством.
5.12.2 Контрольный сигнал включения может быть заменен контрольным сигналом функционирования.
Огни, фары, указатели поворота, светоотражающие приспособления должны иметь следующие цвета:
|
- огни дальнего и ближнего света, фонарь освещения заднего номерного знака и передний габаритный огонь............................................................................ |
белый; |
|
- указатель поворота, аварийный сигнал, боковое нетреугольное светоотражающее приспособление............................................................................ |
автожелтый; |
|
- сигнал торможения, задний габаритный огонь, заднее нетреугольное светоотражающее приспособление, задний противотуманный огонь.................. |
красный; |
|
- передняя противотуманная фара............................................................................... |
белый или желтый селективный, менее насыщенный. |
Определения цвета огней должны соответствовать приложению 5 Конвенции о дорожном движении (1968 г.).
5.14 Любые трехколесные мопеды и квадрициклы категорий L2 и L6 должны быть оборудованы следующими устройствами освещения и световой сигнализации:
5.14.1 фарой ближнего света;
5.14.2 передним габаритным фонарем;
5.14.3 задним габаритным фонарем;
5.14.4 задним светоотражателем нетреугольной формы;
5.14.5 педальным светоотражателем, если имеются педали;
5.14.6 сигналом торможения;
5.14.7 указателем поворота для трехколесных мопедов с закрытым кузовом.
5.15.1 фарой дальнего света;
5.15.2 указателем поворота для трехколесных мопедов с открытым кузовом;
5.15.3 фонарем освещения номерного знака;
5.15.4 боковыми светоотражателями нетреугольной формы;
5.15.5 аварийным сигналом.
5.16 Каждое устройство освещения и световой сигнализации, указанное в 5.14 и 5.15, должно устанавливаться в соответствии с положениями раздела 6.
5.17 Установка любых других устройств освещения и световой сигнализации, за исключением указанных в 5.14 и 5.15, запрещена.
5.18 На мопеды могут устанавливаться устройства освещения и световой сигнализации как соответствующие настоящему стандарту, так и отвечающие требованиям ГОСТ Р 41.23, ГОСТ Р 41.37, ГОСТ Р 41.50, ГОСТ Р 41.56, ГОСТ Р 41.76, ГОСТ Р 41.82.
5.19 Мотоциклы с коляской категории L4, представленные на испытания, должны быть оборудованы следующими устройствами освещения и световой сигнализации:
5.19.1 фарой дальнего света;
5.19.2 фарой ближнего света;
5.19.3 указателем поворота;
5.19.4 сигналом торможения;
5.19.5 передним габаритным фонарем;
5.19.6 задним габаритным фонарем;
5.19.7 фонарем освещения номерного знака;
5.19.8 задними светоотражателями нетреугольной формы.
5.20.1 передней противотуманной фарой;
5.20.2 задней противотуманной фарой;
5.20.3 аварийным сигналом;
5.20.4 боковыми светоотражателями нетреугольной формы.
5.21 Каждое устройство освещения и световой сигнализации, указанное в 5.19 и 5.20, должно устанавливаться в соответствии с положениями раздела 7.
5.22 Установка любых других устройств освещения и световой сигнализации, за исключением указанных в 5.19 и 5.20, запрещена.
5.23 На мотоциклы с коляской могут устанавливаться устройства освещения и световой сигнализации как соответствующие настоящему стандарту, так и отвечающие требованиям ГОСТ Р 41.23, ГОСТ Р 41.37, ГОСТ Р 41.50, ГОСТ Р 41.57, ГОСТ Р 41.72.
5.24 Трициклы и квадрициклы категорий L5 и L7, представленные на испытания, должны быть оборудованы следующими устройствами освещения и световой сигнализации:
5.24.1 фарой дальнего света;
5.24.2 фарой ближнего света;
5.24.3 указателем поворота;
5.24.4 сигналом торможения;
5.24.5 передним габаритным фонарем;
5.24.6 задним габаритным фонарем;
5.24.7 фонарем освещения номерного знака;
5.24.8 задними светоотражателями нетреугольной формы;
5.24.9 аварийным сигналом.
5.25.1 передней противотуманной фарой;
5.25.2 задней противотуманной фарой;
5.25.3 фонарем заднего хода;
5.25.4 боковыми светоотражателями нетреугольной формы.
5.26 Каждое устройство освещения и световой сигнализации, указанное в 5.24 и 5.25, должно устанавливаться в соответствии с положениями раздела 8.
5.27 Установка любых других устройств освещения и световой сигнализации, за исключением указанных в 5.24 и 5.25, запрещена.
5.28 На три- и квадрициклы могут устанавливаться устройства освещения и световой сигнализации как соответствующие настоящему стандарту, так и отвечающие требованиям ГОСТ Р 41.23, ГОСТ Р 41.37, ГОСТ Р 41.50, ГОСТ Р 41.57.
6.1 Фара дальнего света
6.1.1 Количество
Одна или две.
Если габаритная ширина трехколесного транспортного средства превышает 1300 мм, то требуется устанавливать две фары дальнего света.
6.1.2 Схема монтажа
Нет специальных требований.
6.1.3 Расположение
6.1.3.1 По ширине:
- независимая фара дальнего света может устанавливаться над и под другой передней фарой или сбоку от нее. Если фары находятся одна над другой, то исходная ось фары должна располагаться в средней продольной плоскости транспортного средства. Если фары находятся сбоку друг от друга, то их исходные оси должны быть симметричны относительно средней продольной плоскости транспортного средства;
- фара дальнего света, составляющая одно целое с другой передней фарой, должна устанавливаться так, чтобы ее исходная ось находилась в средней продольной плоскости транспортного средства. Однако если транспортное средство также оснащено независимой фарой ближнего света наряду с фарой дальнего света, то их исходные оси должны быть симметричны по отношению к средней продольной плоскости транспортного средства;
- две фары дальнего света, одна или обе из которых совмещены с другим передним огнем, должны устанавливаться так, чтобы их исходные оси были симметричны по отношению к средней продольной плоскости транспортного средства.
6.1.3.2 По длине - спереди транспортного средства. Это требование считают выполненным, если испускаемый свет, отражаемый зеркалами заднего вида и/или другими поверхностями транспортного средства, не мешает водителю прямо или косвенно.
6.1.3.3 В случае использования одиночной независимой фары дальнего света расстояние между краем поверхности освещения и краем фары ближнего света не должно превышать 200 мм для каждой пары фар.
6.1.4 Геометрическая видимость
Даже в зонах, которые кажутся неосвещаемыми в направлении наблюдения, освещающая поверхность должна быть видимой в пределах расходящегося участка, ограниченного образующими, касающимися всего контура поверхности освещения и формирующими угол не менее 5° с исходной осью фары. Проекцию поверхности освещения на поперечную плоскость, касательную к передней части рассеивателя фары дальнего света, считают исходной точкой углов геометрической видимости.
6.1.5 Направление
Вперед.
Направление фары может меняться в зависимости от угла поворота руля.
6.1.6 Допускается группировать с фарой ближнего света и передним габаритным огнем.
6.1.7 Не допускается комбинировать ни с каким другим огнем.
6.1.8 Допускается совмещать:
6.1.8.1 с фарой ближнего света;
6.1.8.2 с передним габаритным огнем.
6.1.9 Электрические соединения
Фары дальнего света должны включаться одновременно. Фары дальнего света должны функционировать при переключении с ближнего на дальний свет. Фары дальнего света должны выключаться одновременно при переключении с дальнего света на ближний. Фары ближнего и дальнего света могут функционировать одновременно.
6.1.10 Контрольный сигнал включения с замкнутым контуром
Обязателен.
Сигнальный свет должен быть синего цвета.
6.2 Фары ближнего света
6.2.1 Количество
Одна или две.
6.2.2 Схема монтажа
Нет специальных требований.
6.2.3 Расположение
6.2.3.1 По ширине:
- независимая фара ближнего света может устанавливаться над или под другой передней фарой или сбоку от нее. Если фары находятся одна над другой, то исходная ось фары должна располагаться в средней продольной плоскости транспортного средства. Если фары находятся сбоку друг от друга, то их исходные оси должны быть симметричны относительно средней продольной плоскости транспортного средства;
- фара ближнего света, составляющая одно целое с другой передней фарой, должна устанавливаться так, чтобы ее исходная ось находилась в средней продольной плоскости транспортного средства. Однако если транспортное средство также оснащено независимой фарой дальнего света наряду с фарой ближнего света, то их исходные оси должны быть симметричны по отношению к средней продольной плоскости транспортного средства;
- две фары ближнего света, одна или обе из которых объединены с другой передней фарой, должны устанавливаться так, чтобы их исходные оси были симметричны по отношению к средней продольной плоскости транспортного средства.
Если на транспортном средстве устанавливают две фары ближнего света, то:
- края поверхностей освещения, наиболее удаленные от средней продольной плоскости транспортного средства, должны находиться на расстоянии не более 400 мм от края габаритной ширины транспортного средства;
- внутренние края поверхностей освещения должны находиться на расстоянии 500 мм друг от друга. Это расстояние может быть сокращено до 400 мм, если габаритная ширина транспортного средства менее 1300 мм.
6.2.3.2 По высоте - не менее 500 мм, не более 1200 мм над уровнем грунта.
6.2.3.3 По длине - спереди транспортного средства. Это требование считают выполненным, если испускаемый свет, отражаемый зеркалами заднего вида и/или другими поверхностями транспортного средства, не мешает водителю прямо или косвенно.
6.2.4 Геометрическая видимость
Определяется вертикальными а и горизонтальными b углами (2.13):
a = 15° вверх и a = 10° вниз;
b = 45° влево и вправо, если установлена только одна фара ближнего света;
b = 45° наружу и 10° внутрь, если установлены две фары ближнего света.
6.2.5 Направление
Вперед.
Направление фары может меняться в зависимости от угла поворота руля.
6.2.6 Допускается группировать с фарой дальнего света и передним габаритным огнем.
6.2.7 Не допускается комбинировать ни с каким другим огнем.
6.2.8 Допускается совмещать с фарой дальнего света и с передним габаритным огнем.
6.2.9 Электрические соединения
Переключение фары на ближний свет должно одновременно вызывать выключение фар(ы) дальнего света.
6.2.10 Контрольный сигнал включения с замкнутым контуром
Факультативный.
Контрольный сигнал должен быть зеленого цвета.
6.2.11 Прочие требования
Отсутствуют.
6.3 Указатель поворота
6.3.1 Количество
По два на каждую сторону.
6.3.2 Схема монтажа
Два передних и два задних указателя поворота.
6.3.3 Расположение
6.3.3.1 По ширине:
- края поверхности освещения, наиболее удаленные от средней продольной плоскости, должны находиться на расстоянии не более 400 мм от края габаритной ширины транспортного средства;
- внутренние края поверхностей освещения должны находиться на расстоянии не менее 500 мм;
- расстояние между освещающими поверхностями указателей поворота и фарами ближнего света должно быть:
- не менее 75 мм - при минимальной интенсивности лампочки сигнала 90 кд;
- не менее 40 мм » » » » » 175 кд;
- не менее 20 мм » » » » » 250 кд;
- менее 20 мм » » » » » 400 кд.
6.3.3.2 По высоте - не менее 350 мм, не более 1500 мм над уровнем грунта.
6.3.4 Геометрическая видимость
Вертикальные углы a = 15° над и под горизонталью.
Горизонтальные передние и задние углы b = 80° наружу и b = 45° внутрь.
Однако вертикальный угол ниже горизонтальной линии может быть уменьшен до 5°, если указатели поворота расположены на высоте менее 750 мм над уровнем грунта.
6.3.5 Направление
Передние указатели поворота могут менять свое направление в зависимости от угла поворота руля.
6.3.6 Допускается группировать с одним или более огнем.
6.3.7 Не допускается комбинировать ни с каким другим огнем.
6.3.8 Не допускается совмещать ни с каким другим огнем.
6.3.9 Электрические соединения
Указатели поворота должны включаться независимо от других огней. Указатели поворота, расположенные на одной стороне транспортного средства, должны включаться и выключаться одним и тем же устройством и работать в одной фазе.
6.3.10 Контрольный сигнал функционирования
Факультативный.
Может быть оптическим или звуковым. Оптический сигнал должен быть зеленого цвета и мигающим. Он должен быть видимым при всех обычных условиях эксплуатации. Должен выключаться или оставаться включенным без мигания либо указывать на значительное изменение частоты в случае нарушения работы одного из указателей поворота. Звуковой сигнал должен быть хорошо слышимым, в остальном он должен быть аналогичным оптическому сигналу.
6.3.11 Прочие требования
Нижеперечисленные характеристики электросистемы только при нагрузке, необходимой для работы двигателя и осветительных устройств.
6.3.11.1 После того как орган (кнопка) управления светосигнальным устройством приведен(а) в действие, огонь должен загореться не более чем за 1 с, а первое выключение должно произойти спустя не более 1,5 с.
6.3.11.2 Если на транспортном средстве установлены указатели поворота, работающие на постоянном токе, то:
6.3.11.2.1 частота мигания света должна быть (90 ± 30) раз в минуту;
6.3.11.2.2 огни сигнала, расположенные на одной стороне транспортного средства, должны мигать с одинаковой частотой и в одной фазе.
6.3.11.3 Если на транспортном средстве установлены указатели поворота, работающие при переменном токе, когда частота вращения двигателя составляет от 50 % до 100 % частоты вращения, соответствующей максимальной скорости транспортного средства, то:
6.3.11.3.1 указатели должны мигать с частотой (90 ± 30) раз в минуту;
6.3.11.3.2 указатели могут мигать на одной стороне транспортного средства синхронно или поочередно. Передние огни не должны быть видимыми сзади, а задние огни - спереди в пределах зон, указанных в приложении В.
6.3.11.4 Если указатели поворота транспортного средства работают при переменном токе, когда частота вращения двигателя находится между частотой вращения, заданной изготовителем, и 50 % частоты вращения, соответствующей максимальной скорости транспортного средства, то:
6.3.11.4.1 указатели поворота должны
мигать с частотой (
) раз в минуту;
6.3.11.4.2 указатели поворота, расположенные на одной стороне транспортного средства, могут мигать синхронно или поочередно.
6.3.11.5 В случае отказа в работе, за исключением короткого замыкания, одного из указателей поворота другой должен продолжать мигать или оставаться зажженным, но при этом частота мигания может отличаться от установленного значения.
6.4 Сигналы торможения
6.4.1 Количество
Один или два, при этом, если габаритная ширина трехколесных транспортных средств более 1300 мм, требуются два сигнала торможения.
6.4.2 Схема монтажа
Нет специальных требований.
6.4.3 Расположение
6.4.3.1 По ширине - если установлен один сигнал торможения, то его исходная ось должна лежать в средней продольной плоскости транспортного средства, а если имеются два сигнала торможения, то они должны быть симметричны относительно средней продольной плоскости транспортного средства. Если транспортное средство имеет два задних колеса, то между двумя сигналами торможения должно быть расстояние не менее 600 мм. Расстояние может быть уменьшено до 400 мм, если габаритная ширина транспортного средства менее 1300 мм.
6.4.3.2 По высоте - не менее 250 мм, не более 1500 мм над уровнем грунта.
6.4.3.3 По длине - сзади транспортного средства.
6.4.4 Геометрическая видимость
Вертикальный угол a = 15° над и под горизонталью.
Горизонтальный угол b = 45° влево и вправо.
Однако вертикальный угол ниже горизонтали может быть уменьшен до 5°, если сигнал расположен на высоте менее 750 мм над уровнем грунта.
6.4.5 Направление
Назад.
6.4.6 Допускается группировать с одним или более задним огнем.
6.4.7 Не допускается комбинировать ни с каким другим огнем.
6.4.8 Допускается совмещать с задним габаритным огнем.
6.4.9 Электрическое соединение
Должны загораться даже при применении одного из рабочих тормозов.
6.4.10 Контрольный сигнал с замкнутой цепью
Запрещен.
6.5 Передние габаритные огни
6.5.1 Количество
Один или два.
Однако если габаритная ширина трехколесного транспортного средства более 1300 мм, требуются два габаритных огня.
6.5.2 Схема монтажа
Нет специальных требований.
6.5.3 Расположение
6.5.3.1 По ширине:
- независимый передний габаритный огонь может устанавливаться над или под другим огнем, или сбоку от него. Если огни находятся один над другим, то исходная ось габаритного огня должна располагаться в средней продольной плоскости транспортного средства. Если огни находятся сбоку друг от друга, то их исходные оси должны быть симметричны относительно средней продольной плоскости транспортного средства;
- передний габаритный огонь, составляющий одно целое с другим огнем, должен устанавливаться так, чтобы его исходная ось находилась в средней продольной плоскости транспортного средства;
- два передних габаритных огня, один или оба из которых объединены с другим огнем, должны устанавливаться так, чтобы их исходные оси были симметричны по отношению к средней продольной плоскости транспортного средства.
Если на транспортном средстве устанавливают два габаритных огня, то:
- края поверхностей освещения, наиболее удаленные от средней продольной плоскости транспортного средства, должны находиться на расстоянии не более 400 мм от края габаритной ширины транспортного средства;
- внутренние края поверхностей освещения должны находиться на расстоянии не менее 500 мм друг от друга.
6.5.3.2 По высоте - не менее 350 мм, не более 1200 мм над уровнем грунта.
6.5.3.3 По длине - впереди транспортного средства.
6.5.4 Геометрическая видимость
Вертикальный угол a = 15° над и под горизонталью. Однако вертикальный угол под горизонталью может быть уменьшен до 5°, если огонь находится на высоте менее 750 мм над уровнем грунта.
Горизонтальный угол b = 80° влево и вправо, если имеется один габаритный огонь; b = 80° наружу и 45° внутрь, если имеются два габаритных огня.
6.5.5 Направление
Вперед.
Направление передних габаритных огней может меняться в зависимости от угла поворота руля.
6.5.6 Допускается группировать с передней фарой.
6.5.7 Допускается совмещать с передней фарой.
6.5.8 Электрическое соединение
Нет специальных указаний.
6.5.9 Контрольный сигнал с замкнутой цепью
Факультативный.
Сигнал должен испускать немигающий зеленый свет.
6.5.10 Прочие требования
Отсутствуют.
6.6 Задние габаритные огни
6.6.1 Количество
Один или два.
Однако если габаритная ширина трехколесных транспортных средств более 1300 мм, требуются два задних габаритных огня.
6.6.2 Схема монтажа
Нет специальных указаний.
6.6.3 Расположение
6.6.3.1 По ширине - исходная ось должна располагаться в средней продольной плоскости транспортного средства, если имеется только один габаритный огонь. Если имеются два габаритных огня, то их исходные оси должны быть симметричны относительно средней продольной плоскости транспортного средства. Если транспортное средство имеет два задних колеса, то расстояние между внутренними краями огней должно быть не менее 600 мм. Это расстояние может быть уменьшено до 400 мм, если габаритная ширина транспортного средства менее 1300 мм.
6.6.3.2 По высоте - не менее 250 мм, не более 1500 мм над уровнем грунта.
6.6.3.3 По длине - сзади транспортного средства.
6.6.4 Геометрическая видимость
Вертикальный угол a = 15° над и под горизонталью. Однако вертикальный угол под горизонталью может быть уменьшен до 5°, если огонь находится на высоте менее 750 мм над уровнем грунта.
Горизонтальный угол b = 80° влево и вправо, если установлен один габаритный огонь; b = 80° наружу и 45° внутрь, если установлены два габаритных огня.
6.6.5 Направление
Назад.
6.6.6 Допускается группировать с другим задним огнем.
6.6.7 Допускается совмещать с сигналом торможения или задним отражателем нетреугольной формы, или быть комбинированными.
6.6.8 Электрическое соединение
Нет специальных требований.
6.6.9 Контрольный сигнал включения с замкнутой цепью
Факультативный.
Его функция может выполняться с помощью устройства для переднего габаритного огня.
6.6.10 Прочие требования
Отсутствуют.
6.7 Задние отражатели нетреугольной формы
6.7.1 Количество
Один или два, класс 1А.
Однако если габаритная ширина трехколесных транспортных средств более 1000 мм, то требуются два задних отражателя.
6.7.2 Схема монтажа
Нет специальных требований.
6.7.3 Расположение
6.7.3.1 По ширине - если имеется только один отражатель, то его исходная ось должна лежать в средней продольной плоскости транспортного средства, а если имеются два отражателя, то они должны быть симметричны средней продольной плоскости транспортного средства. Если транспортное средство имеет два задних отражателя:
- точка поверхности освещения, наиболее удаленная от средней продольной плоскости транспортного средства, должна находиться на расстоянии не более 400 мм от края габаритной ширины транспортного средства;
- внутренние края отражателей должны находиться на расстоянии не менее 500 мм друг от друга. Это расстояние может быть уменьшено до 400 мм, если габаритная ширина транспортного средства менее 1300 мм.
6.7.3.2 По высоте - не менее 250 мм, не более 900 мм над уровнем грунта.
6.7.3.3 По длине - сзади транспортного средства.
6.7.4 Геометрическая видимость
Вертикальный угол a = 15° над и под горизонталью.
Однако вертикальный угол ниже горизонтали может быть уменьшен до 5°, если отражатель расположен на высоте менее 750 мм над уровнем грунта.
Горизонтальный угол b = 30° влево и вправо.
6.7.5 Направление
Назад.
6.7.6 Допускается группировать с любым другим огнем.
6.7.7 Прочие требования
Освещающая поверхность светоотражательного устройства может иметь общие части с задним красным огнем.
6.8 Педальные светоотражатели
Каждая педаль трехколесного транспортного средства должна снабжаться двумя отражателями. Они должны прикрепляться таким образом, чтобы рабочие поверхности были наружными к самой педали и перпендикулярными к несущей плоскости педали, при этом их исходная ось проходила параллельно средней продольной плоскости транспортного средства.
6.8.1 Количество
Четыре отражателя или группы отражателей.
6.8.2 Схема монтажа
Нет специальных требований.
6.8.3 Прочие требования
Освещающая поверхность светоотражателя должна быть ограничена рамками и углублена.
Отражатели могут устанавливаться в корпус педали таким образом, чтобы быть четко различимыми как спереди, так и сзади транспортного средства. Исходная ось отражателей, форма которых должна соотноситься с формой корпуса педали, должна проходить под прямыми углами к оси педали. Отражатели должны устанавливаться только на тех педалях, которые посредством кривошипных или аналогичных устройств действуют в качестве движущей силы вместо двигателя.
6.9 Боковые отражатели нетреугольной формы
6.9.1 Количество
Один или два на сторону, класс 1А.
6.9.2 Схема монтажа
Нет специальных требований.
6.9.3 Расположение
6.9.3.1 По ширине - нет специальных требований.
6.9.3.2 По высоте - не менее 300 мм, не более 900 мм над уровнем грунта.
6.9.3.3 По длине - должно быть таким, чтобы при нормальных условиях эксплуатации устройство не могло загораживаться водителем или пассажиром.
6.9.4 Геометрическая видимость
Вертикальный угол a = 15° над и под горизонталью.
Однако вертикальный угол ниже горизонтали может быть уменьшен до 5°, если отражатель расположен на высоте менее 750 мм над уровнем грунта.
Горизонтальный угол b = 30° вперед и назад.
6.9.5 Направление
Исходная ось отражателей должна быть перпендикулярна к средней продольной плоскости транспортного средства и размещаться наружу. Передние отражатели могут менять направление в зависимости от угла поворота руля.
6.9.6 Допускается группировать с другими боковыми сигнальными устройствами.
6.10 Фонарь освещения номерного знака
6.10.1 Количество
Один.
Фонарь может состоять из нескольких оптических элементов, предназначенных для освещения места расположения номерного знака.
|
6.10.2 Схема монтажа |
|
Должны обеспечивать освещение места установки номерного знака. |
|
6.10.3 Расположение |
||
|
6.10.3.1 По ширине, |
||
|
6.10.3.2 высоте и |
||
|
6.10.3.3 длине. |
||
|
6.10.4 Геометрическая видимость |
||
|
6.10.5 Направление |
6.10.6 Допускается группировать с одним или более задним огнем.
6.10.7 Допускается комбинировать с задним габаритным огнем.
6.10.8 Не допускается совмещать с каким-либо другим огнем.
6.10.9 Электрические соединения
Нет специальных указаний.
6.10.10 Контрольный сигнал включения с замкнутым контуром Факультативный.
Его работа должна обеспечиваться тем же сигнальным устройством, что применяется для габаритных огней.
6.10.11 Прочие требования
Отсутствуют.
7.1 Фары дальнего света
7.1.1 Количество
Одна или две.
7.1.2 Схема монтажа
Нет специальных требований.
7.1.3 Расположение
7.1.3.1 По ширине:
- независимая фара дальнего света может устанавливаться над или под другой передней фарой, или сбоку от нее. Если фары находятся одна над другой, то исходная ось фары дальнего света должна располагаться в средней продольной плоскости транспортного средства. Если фары находятся рядом друг с другом, то их исходные оси должны быть симметричны относительно средней продольной плоскости мотоцикла;
- фара дальнего света, составляющая одно целое с другой передней фарой, должна устанавливаться так, чтобы ее исходная ось находилась в средней продольной плоскости транспортного средства. Однако если транспортное средство также оснащено независимой фарой ближнего света наряду с фарой дальнего света, то их исходные оси должны быть симметричны по отношению к средней продольной плоскости мотоцикла;
- две фары дальнего света, одна или обе из которых объединены с другой передней фарой, должны устанавливаться так, чтобы их исходные оси были симметричны по отношению к средней продольной плоскости мотоцикла.
7.1.3.2 По длине - спереди транспортного средства. Это требование считают выполненным, если испускаемый свет, отражаемый зеркалами заднего вида и/или другими поверхностями транспортного средства, не мешает водителю прямо или косвенно.
7.1.3.3 В любом случае ближайшее расстояние между краем поверхности освещения любой независимой фары дальнего света и краем освещающей поверхности ближнего света не должно превышать 200 мм.
7.1.3.4 В случае двух фар дальнего света расстояние между освещающими поверхностями не должно превышать 200 мм.
7.1.4 Геометрическая видимость
Даже в зонах, которые кажутся неосвещаемыми в направлении наблюдения, поверхность освещения должна быть видимой в пределах расходящегося участка, ограниченного образующими, касающимися всего контура поверхности освещения и формирующими угол не менее 5° с исходной осью фары. Проекцию поверхности освещения на поперечную плоскость, касательную к передней части рассеивателя фары дальнего света, считают исходной точкой углов геометрической видимости.
7.1.5 Направление
Вперед.
Фары могут менять свое направление в зависимости от угла поворота руля.
7.1.6 Допускается группировать с фарой ближнего света и другим передним огнем.
7.1.7 Не допускается комбинировать ни с каким другим огнем.
7.1.8 Допускается совмещать с:
7.1.8.1 фарой ближнего света;
7.1.8.2 передним габаритным огнем;
7.1.8.3 передней противотуманной фарой.
7.1.9 Электрические соединения
Фары дальнего света должны загораться одновременно. Фары ближнего света могут функционировать одновременно с фарами дальнего света.
7.1.10 Контрольный сигнал включения с замкнутым контуром
Обязателен.
Контрольный сигнал должен испускать синий немигающий свет.
Максимальная интенсивность фар дальнего света, которые могут включаться одновременно, не должна превышать 225000 кд, что соответствует контрольному значению, равному 75. Максимальная сила света представляет собой суммарную величину отдельных контрольных значений, которые указаны на каждой фаре.
7.2 Фары ближнего света
7.2.1 Количество
Одна или две.
7.2.2 Схема монтажа
Нет специальных требований.
7.2.3 Расположение
7.2.3.1 По ширине:
- независимая фара ближнего света может устанавливаться над или под другой передней фарой, или сбоку от нее. Если фары находятся одна над другой, то исходная ось фары ближнего света должна располагаться в средней продольной плоскости транспортного средства. Если фары находятся сбоку друг от друга, то их исходные оси должны быть симметричны относительно средней продольной плоскости мотоцикла;
- фара ближнего света, составляющая одно целое с другой передней фарой, должна устанавливаться так, чтобы ее исходная ось находилась в средней продольной плоскости транспортного средства. Однако если транспортное средство также оснащено независимой фарой дальнего света наряду с фарой ближнего света, то их исходные оси должны быть симметричны по отношению к средней продольной плоскости мотоцикла;
- две фары ближнего света, одна или обе из которых объединены с другой передней фарой, должны устанавливаться так, чтобы их исходные оси были симметричны по отношению к средней продольной плоскости мотоцикла.
7.2.3.2 По высоте - не менее 500 мм, не более 1200 мм над уровнем грунта.
7.2.3.3 По длине - спереди транспортного средства. Это требование считают выполненным, если испускаемый свет, отражаемый зеркалами заднего вида и/или другими поверхностями транспортного средства, не мешает водителю прямо или косвенно.
7.2.3.4 В случае использования двух фар ближнего света расстояние между внутренними освещающими поверхностями должно быть не более 200 мм.
7.2.4 Геометрическая видимость
Вертикальный угол a = 15° вверх и 10° вниз от горизонтали.
Горизонтальный угол b = 45° влево и вправо, если установлена только одна фара ближнего света, а также b = 45° наружу и 10° внутрь, если установлены две фары ближнего света.
Наличие панелей или других частей оборудования около источников света не должно вызывать вторичных эффектов, мешающих другим участникам дорожного движения.
7.2.5 Направление
Вперед.
Фары могут менять свое направление в зависимости от угла поворота руля.
7.2.5.2 Исходный наклон, соответствующий условию нагрузки снаряженного транспортного средства с водителем, должен быть от минус 1 % до минус 1,5 %. Это значение устанавливает изготовитель с точностью до 0,1 % и указывает на каждом транспортном средстве рядом с фарами или табличкой изготовителя в виде четкого и нестираемого условного обозначения согласно приложению Е.
7.2.5.3 В случае необходимости транспортное средство должно быть оборудовано устройством, регулирующим направление луча ближнего света в зависимости от условий нагрузки, упомянутых в 7.2.5.1, без применения инструментов.
7.2.6 Допускается группировать с фарой дальнего света и другими передними огнями.
7.2.7 Не допускается комбинировать ни с каким другим огнем.
7.2.8 Допускается совмещать с фарой дальнего света и другими передними огнями.
7.2.9 Электрические соединения
Переключение огня на ближний свет должно одновременно выключать все фары дальнего света, в то время как ближний свет может оставаться включенным одновременно с дальним светом.
7.2.10 Контрольный сигнал включения с замкнутым контуром
Факультативный.
Контрольный сигнал должен испускать зеленый немигающий свет.
7.2.11 Прочие требования
Отсутствуют.
7.3.1 Количество
По два на каждую сторону.
7.3.2 Схема монтажа
Два передних и два задних указателя поворота.
7.3.3 Расположение
7.3.3.1 По ширине:
- края освещающих поверхностей, наиболее удаленные от средней продольной плоскости, должны находиться на расстоянии не более 400 мм от края габаритной ширины транспортного средства;
- внутренние края освещающих поверхностей должны находиться на расстоянии не менее 600 мм друг от друга;
- расстояния между освещающими поверхностями указателя поворота и ближайшими фарами ближнего света должны быть:
- не менее 75 мм - при минимальной интенсивности лампочки сигнала 90 кд;
- не менее 40 мм » » » » » 175 кд;
- не менее 20 мм » » » » » 250 кд;
- менее 20 мм » » » » » 400 кд.
7.3.3.2 По длине - расстояние между исходным центром задних указателей поворота и поперечной плоскостью, проходящей через задний габарит транспортного средства, не более 300 мм. Передний указатель поворота на коляске должен устанавливаться впереди, параллельно центральной оси коляски, а задний - сзади, параллельно центральной оси коляски.
7.3.4 Геометрическая видимость
Вертикальные углы a = 15° вверх и вниз от горизонтали.
Однако вертикальный угол ниже горизонтали может быть уменьшен до 5°, если указатели поворота расположены на высоте менее 750 мм над уровнем грунта.
Горизонтальные углы передние и задние b = 80° наружу и 20° внутрь.
7.3.5 Направление
Передних указателей поворота - вперед, задних - назад.
Передние указатели поворота могут менять свое направление в зависимости от угла поворота руля.
7.3.6 Допускается группировать с одним или более огнем.
7.3.7 Не допускается комбинировать ни с каким другим огнем.
7.3.8 Не допускается совмещать с другим огнем.
7.3.9 Электрические соединения
Указатели поворота должны включаться независимо от других огней. Указатели, расположенные на одной стороне транспортного средства, должны включаться и выключаться с помощью одного органа (кнопки) управления.
7.3.10 Контрольный сигнал функционирования
Обязателен.
Может быть оптическим или звуковым. Оптический сигнал должен быть зеленого цвета и мигающим. Он должен быть видимым при всех обычных условиях эксплуатации. Должен выключаться или оставаться включенным без мигания, или указывать на значительное изменение частоты в случае нарушения работы одной из лампочек сигнала поворота. Звуковой сигнал должен быть хорошо слышимым, в остальном должен быть аналогичным оптическому сигналу.
7.3.11 Прочие требования
Нижеперечисленные характеристики электросистемы только при нагрузке, необходимой для работы двигателя и осветительных устройств.
7.3.11.1 После того как орган (кнопка) управления светосигнальным устройством приведен(а) в действие, огонь должен загореться не более чем за 1 с и выключиться спустя не более чем 1,5 с.
7.3.11.2 Если транспортные средства снабжаются указателями поворота, работающими на постоянном токе, то:
7.3.11.2.1 частота мигания света должна быть (90 ± 30) раз в минуту;
7.3.11.2.2 огни сигнала поворота, расположенные на одной стороне транспортного средства, должны мигать с одинаковой частотой и в одной фазе.
7.3.11.3 Если на транспортном средстве установлены указатели поворота, работающие при переменном токе, когда частота вращения двигателя составляет от 50 % до 100 % частоты вращения, соответствующей максимальной скорости транспортного средства, то:
7.3.11.3.1 указатели должны мигать с частотой (90 ± 30) раз в минуту;
7.3.11.3.2 указатели могут мигать на одной стороне транспортного средства синхронно или поочередно.
7.3.11.4 Если огни сигнала поворота, установленные на транспортном средстве, работают на переменном токе, когда частота вращения двигателя находится между частотой вращения, заданной изготовителем, и 50 % частоты вращения, соответствующей максимальной скорости транспортного средства, то:
7.3.11.4.1 частота мигания должна
составлять (
) раз в минуту;
7.3.11.4.2 огни сигнала поворота, расположенные на одной стороне транспортного средства, могут мигать либо синхронно, либо поочередно.
7.3.11.5 Передние указатели поворота не должны быть видимыми сзади, а задние - спереди в пределах зон, указанных в приложении В.
7.3.11.6 В случае отказа одного из сигналов поворота, за исключением короткого замыкания, другой должен продолжать мигать или оставаться зажженным, но при этом частота мигания может быть отлична от установленного значения.
7.4 Сигналы торможения
7.4.1 Количество
Два или три (один из которых расположен на коляске).
7.4.2 Схема монтажа
Нет специальных требований.
7.4.3 Расположение
7.4.3.1 По ширине - расстояние между краем габаритной ширины транспортного средства и внешним краем освещающей поверхности сигналов торможения не должно превышать 400 мм. Если устанавливается третий сигнал торможения, то он должен быть симметричен сигналу торможения, установленному на мотоцикле, относительно средней продольной плоскости мотоцикла.
7.4.3.2 По высоте - не менее 250 мм, не более 1200 мм над уровнем грунта.
7.4.3.3 По длине - сзади транспортного средства.
7.4.4 Геометрическая видимость
Вертикальный угол a = 15° над и под горизонталью.
Однако вертикальный угол ниже горизонтали может быть уменьшен до 5°, если сигнал расположен на высоте менее 750 мм над уровнем грунта.
Горизонтальный угол b = 45° влево и вправо.
7.4.5 Направление
Сзади транспортного средства.
7.4.6 Допускается группировать с одним или более задним огнем.
7.4.7 Не допускается комбинировать ни с каким другим огнем.
7.4.8 Допускается совмещать с задним габаритным огнем.
7.4.9 Электрическое соединение
Должны загораться при применении одного из рабочих тормозов.
7.4.10 Контрольный сигнал с замкнутой цепью
Запрещен.
7.5. Передние габаритные огни
7.5.1 Количество
Два или три (один на коляске).
7.5.2 Схема монтажа
Нет специальных требований.
7.5.3 Расположение
7.5.3.1 По ширине - расстояние между краем габаритной ширины транспортного средства и внешним краем освещающей поверхности габаритных огней не должно превышать 400 мм. Если устанавливается третий передний габаритный огонь, то он должен быть симметричен переднему габаритному огню, установленному на мотоцикле, относительно средней продольной плоскости мотоцикла.
7.5.3.2 По высоте - не менее 250 мм, не более 1200 мм над уровнем грунта.
7.5.3.3 По длине - спереди транспортного средства.
7.5.4 Геометрическая видимость
Вертикальный угол a = 15° над и под горизонталью.
Однако вертикальный угол под горизонталью может быть уменьшен до 5°, если габаритный огонь находится на высоте менее 750 мм над уровнем грунта.
Горизонтальный угол b = 80° наружу и 45° внутрь (для новых конструкций); b = 80° наружу и 20° внутрь (для серийных конструкций коляски).
7.5.5 Направление
Вперед.
Направление габаритных огней на мотоцикле может меняться в зависимости от угла поворота руля.
7.5.6 Допускается группировать с другим передним огнем.
7.5.7 Допускается совмещать как одно целое с другим передним огнем.
7.5.8 Электрическое соединение
Нет специальных требований.
7.5.9 Контрольный сигнал включения с замкнутой цепью
Обязательный.
Контрольный сигнал должен испускать зеленый немигающий свет. Данное сигнальное устройство не требуется, если освещение приборного щитка можно включить и выключить одновременно с габаритным огнем.
7.5.10 Прочие требования
Отсутствуют.
7.6 Задние габаритные огни
7.6.1 Количество
Два или три (один на коляске).
7.6.2 Схема монтажа
Нет специальных требований.
7.6.3 Расположение
7.6.3.1 По ширине - расстояние между внешним краем освещающих поверхностей и краями габаритной ширины транспортного средства не должно превышать 400 мм. Если устанавливается третий задний габаритный огонь, то он должен быть симметричен заднему габаритному огню, установленному на мотоцикле, относительно средней продольной плоскости мотоцикла.
7.6.3.2 По высоте - не менее 250 мм, не более 1500 мм над уровнем грунта.
7.6.3.3 По длине - сзади транспортного средства.
7.6.4 Геометрическая видимость
Вертикальный угол a = 15° над и под горизонталью. Однако вертикальный угол под горизонталью может быть уменьшен до 5°, если фонарь находится на высоте менее 750 мм над уровнем грунта.
Горизонтальный угол b = 80° влево и вправо (для габарита фонаря мотоцикла); b = 80° наружу и 45° внутрь (для габарита коляски мотоцикла).
7.6.5 Направление
Сзади транспортного средства.
7.6.6 Допускается группировать с другим задним огнем.
7.6.7 Допускается комбинировать с огнем заднего номерного знака.
7.6.8 Допускается совмещать с сигналом торможения или задним отражателем нетреугольной формы, или с обоими, или с задней противотуманной фарой.
7.6.9 Электрическое соединение
Нет специальных требований.
7.6.10 Контрольный сигнал включения
Обязательный.
Его функция может выполняться с помощью устройства для переднего габаритного огня.
7.6.11 Прочие требования
Отсутствуют.
7.7 Передняя противотуманная фара
7.7.1 Количество
Одна или две.
7.7.2 Схема монтажа
Нет специальных требований.
7.7.3 Расположение
7.7.3.1 По ширине:
- передняя противотуманная фара может устанавливаться над или под другой передней фарой, или сбоку от нее. Если фары находятся друг над другом, то исходная ось передней фары должна располагаться в средней продольной плоскости транспортного средства. Если фары располагаются рядом друг с другом, то их исходные оси должны располагаться симметрично относительно средней продольной плоскости транспортного средства;
- передняя противотуманная фара, составляющая одно целое с другой передней фарой, должна устанавливаться таким образом, чтобы ее исходная ось находилась в средней продольной плоскости транспортного средства;
- две передние противотуманные фары, одна или обе из которых объединены с другой передней фарой, должны устанавливаться таким образом, чтобы их исходные оси были симметричны относительно средней продольной плоскости транспортного средства.
7.7.3.2 По высоте - не менее 250 мм над уровнем грунта. Ни одна точка освещающей поверхности не должна быть выше самой высокой точки освещающей поверхности фары ближнего света.
7.7.3.3 По длине - спереди транспортного средства. Это требование считают выполненным, если испускаемый свет, отражаемый зеркалами заднего вида и/или другими поверхностями транспортного средства, не мешает водителю прямо или косвенно.
7.7.4 Геометрическая видимость
Вертикальный угол a = 5° вверх и вниз от горизонтали.
Горизонтальный угол b = 45° наружу и 10° внутрь.
7.7.5 Направление
Вперед.
Может менять свое направление в зависимости от угла поворота руля.
7.7.6 Допускается группировать с другими передними фарами.
7.7.7 Не допускается комбинировать с другой передней фарой.
7.7.8 Допускается совмещать с фарой дальнего света и передним габаритным огнем.
7.7.9 Электрические соединения
Должна быть предусмотрена возможность включения передней противотуманной фары независимо от фары дальнего или ближнего света.
7.7.10 Контрольный сигнал включения с замкнутым контуром
Факультативный.
Контрольный сигнал должен испускать зеленый немигающий свет.
7.7.11 Прочие требования
Отсутствуют.
7.8 Задние противотуманные фары
7.8.1 Количество
Одна или две.
7.8.2 Схема монтажа
Нет специальных требований.
7.8.3 Расположение
7.8.3.1 По ширине - если устанавливается одна противотуманная фара, то ее положение относительно средней продольной плоскости транспортного средства должно быть слева по ходу движения или на средней продольной плоскости транспортного средства, если не позволяет конструкция.
7.8.3.2 По высоте - не менее 250 мм, не более 900 мм над уровнем грунта.
7.8.3.3 По длине - сзади транспортного средства.
7.8.3.4 Расстояние между освещающей поверхностью задней противотуманной фары и освещающей поверхностью стоп-сигнала должно быть не менее 100 мм.
7.8.4 Геометрическая видимость
Вертикальный угол a = 5° вверх и вниз.
Горизонтальный угол b = 25° влево и вправо.
7.8.5 Направление
Сзади транспортного средства.
7.8.6 Допускается группировать с другими задними огнями.
7.8.7 Не допускается комбинировать ни с каким другим огнем.
7.8.8 Допускается совмещать с задним габаритным огнем.
7.8.9 Электрические соединения
Задняя противотуманная фара может быть включена только в том случае, если включены фары дальнего и ближнего света или передние противотуманные фары.
Если установлена передняя противотуманная фара, то должна быть предусмотрена возможность включения задней противотуманной фары независимо от передней противотуманной фары.
7.8.10 Контрольный сигнал включения с замкнутым контуром
Обязательный.
Контрольный сигнал должен испускать оранжевый немигающий свет.
7.8.11 Прочие требования
Во всех случаях расстояние между задним противотуманным огнем и каждым стоп-сигналом должно быть более 100 мм.
7.9 Аварийный сигнал
7.9.1 Требования, аналогичные изложенным в 7.3 - 7.3.8.
7.9.2 Электрические соединения
Сигнал должен включаться с помощью отдельного органа управления, который подает ток одновременно на все указатели поворота.
7.9.3 Контрольный сигнал включения с замкнутым контуром
Обязательный.
Контрольный сигнал должен испускать красный мигающий свет или, если нет отдельного сигнального устройства, должен обеспечивать одновременную работу сигнальных устройств, указанных в 7.3.10.
7.9.4 Прочие требования
Аварийный сигнал должен испускать свет, мигающий с частотой (90 ± 30) раз в минуту. Приведение в действие органа управления светосигнальным устройством должно следовать за включением сигнала спустя не более 1 с, а включение должно произойти спустя не более 1,5 с.
Должна быть предусмотрена возможность включения аварийного сигнала при неработающем двигателе.
7.10 Фонарь освещения номерного знака
7.10.1 Количество
Один.
Фонарь может состоять из нескольких оптических элементов, предназначенных для освещения места расположения номерного знака.
|
7.10.2 Схема монтажа |
|
Должны обеспечивать освещение места установки номерного знака. |
|
7.10.3 Расположение |
||
|
7.10.3.1 По ширине, |
||
|
7.10.3.2 высоте и |
||
|
7.10.3.3 длине. |
||
|
7.10.4 Геометрическая видимость |
||
|
7.10.5 Направление |
7.10.6 Допускается группировать с одним или более задним огнем.
7.10.7 Допускается комбинировать с задним габаритным огнем.
7.10.8 Не допускается совмещать с каким-либо другим огнем.
7.10.9 Электрические соединения
Нет специальных требований.
7.10.10 Контрольный сигнал включения с замкнутым контуром
Факультативный.
Его работа должна обеспечиваться тем же сигнальным устройством, что и для габаритного огня.
7.10.11 Прочие требования
Отсутствуют.
7.11 Боковые светоотражатели нетреугольной формы
7.11.1 Количество
Один или два с каждой стороны, класс 1А.
7.11.2 Схема монтажа
Нет специальных требований.
7.11.3 Расположение
7.11.3.1 По ширине - нет специальных указаний.
7.11.3.2 По высоте - не менее 300 мм, не более 900 мм над уровнем грунта.
7.11.3.3 По длине - должно быть таким, чтобы в нормальных условиях эксплуатации оно не могло быть закрыто водителем или пассажиром.
7.11.4 Геометрическая видимость
Вертикальный угол a = 15° вверх и вниз.
Однако вертикальный угол вниз может быть уменьшен до 5°, если отражатель расположен на высоте менее 750 мм над уровнем грунта.
Горизонтальный угол b = 30° вперед и назад.
7.11.5 Направление
Исходная ось отражателя должна быть перпендикулярна к средней продольной плоскости транспортного средства. Передние отражатели могут менять свое направление в зависимости от угла поворота руля.
7.11.6 Допускается группировать с другими устройствами сигнализации.
7.12 Задние отражатели нетреугольной формы
7.12.1 Количество
Два, класс 1А.
7.12.2 Схема монтажа
Нет специальных требований.
7.12.3 Расположение
7.12.3.1 По ширине - края освещающих поверхностей, наиболее удаленные от средней продольной плоскости транспортного средства, не должны располагаться на расстоянии более 400 мм от края габаритной ширины транспортного средства.
7.12.3.2 По высоте - не менее 250 мм, не более 900 мм над уровнем грунта.
7.12.3.3 По длине - сзади транспортного средства.
7.12.4 Геометрическая видимость
Вертикальный угол a = 15° вверх и вниз.
Однако вертикальный угол вниз может быть уменьшен до 5°, если отражатель расположен на высоте менее 750 мм над уровнем грунта.
Горизонтальный угол b = 30° наружу и внутрь.
7.12.5 Направление
Назад.
7.12.6 Допускается группировать с другим задним огнем.
7.12.7 Осветительная поверхность отражателя может иметь общие части с любым другим задним красным огнем.
8.1 Фара дальнего света
8.1.1 Количество
Одна или две.
Однако если габаритная ширина транспортного средства более 1300 мм, то требуется устанавливать две фары дальнего света.
8.1.2 Схема монтажа
Нет специальных требований.
8.1.3 Расположение
8.1.3.1 По ширине - независимая фара дальнего света может устанавливаться над или под другой передней фарой, или сбоку от нее. Если фары находятся одна над другой, то исходная ось фары дальнего света должна располагаться в средней продольной плоскости транспортного средства. Если фары находятся сбоку друг от друга, то их исходные оси должны быть симметричны относительно средней продольной плоскости транспортного средства:
- фара дальнего света, составляющая одно целое с другой передней фарой, должна устанавливаться так, чтобы ее исходная ось находилась в средней продольной плоскости транспортного средства. Однако если транспортное средство также оснащено независимой фарой ближнего света наряду с фарой дальнего света, то их исходные оси должны быть симметричны по отношению к средней продольной плоскости транспортного средства;
- две фары дальнего света должны устанавливаться так, чтобы их исходные оси были симметричны по отношению к средней продольной плоскости транспортного средства.
8.1.3.2 По длине - спереди транспортного средства. Это требование считают выполненным, если испускаемый свет, отражаемый зеркалами заднего вида и/или другими поверхностями транспортного средства, не мешает водителю прямо или косвенно.
8.1.3.3 В любом случае расстояние между краем освещающей поверхности любой независимой фары дальнего света и краем фары ближнего света не должно превышать 200 мм.
8.1.4 Геометрическая видимость
Даже в зонах, которые кажутся неосвещаемыми в направлении наблюдения, поверхность освещения должна быть видимой в пределах расходящегося участка, ограниченного образующими, касающимися всего контура поверхности освещения и формирующими угол не менее 5° с исходной осью фары. Контур проекции поверхности освещения на поперечную плоскость, которая касательна к передней части рассеивателя фары дальнего света, считают исходной точкой углов геометрической видимости.
8.1.5 Направление
Вперед.
Фары могут менять свое направление в зависимости от угла поворота руля.
8.1.6 Допускается группировать с фарой ближнего света и другими передними огнями.
8.1.7 Не допускается комбинировать ни с каким другим огнем.
8.1.8 Допускается совмещать с:
8.1.8.1 фарой ближнего света;
8.1.8.2 передним габаритным огнем;
8.1.8.3 передней противотуманной фарой.
8.1.9 Электрические соединения
Фары дальнего света должны включаться одновременно. Все фары дальнего света должны включаться при переключении с ближнего на дальний свет. Все фары дальнего света должны выключаться одновременно при переключении с дальнего света на ближний. Фары ближнего света могут оставаться включенными одновременно с фарами дальнего света.
8.1.10 Контрольный сигнал включения с замкнутым контуром
Обязательный.
Контрольный сигнал должен испускать голубой немигающий свет.
Максимальная сила света фар дальнего света, которые могут включаться одновременно, не должна превышать 225000 кд, что соответствует контрольному значению, равному 75. Максимальная сила света представляет собой суммарную величину отдельных контрольных значений, которые указаны на каждой фаре.
8.2 Фара ближнего света
8.2.1 Количество
Одна или две.
Однако если габаритная ширина транспортного средства более 1300 мм, устанавливают две фары ближнего света.
8.2.2 Схема монтажа
Нет специальных требований.
8.2.3 Расположение
8.2.3.1 По ширине:
- независимая фара ближнего света может устанавливаться над или под другой передней фарой, или сбоку от нее. Если фары находятся одна над другой, то исходная ось фары должна располагаться в средней продольной плоскости транспортного средства. Если фары находятся сбоку друг от друга, то их исходные оси должны быть симметричны относительной средней продольной плоскости транспортного средства;
- фара ближнего света, составляющая одно целое с другой передней фарой, должна устанавливаться так, чтобы ее исходная ось находилась в средней продольной плоскости транспортного средства. Однако если транспортное средство также оснащено независимой фарой дальнего света наряду с фарой ближнего света, то их исходные оси должны быть симметричны по отношению к средней продольной плоскости транспортного средства;
- две фары ближнего света должны устанавливаться так, чтобы их исходные оси были симметричны по отношению к средней продольной плоскости транспортного средства.
Если на транспортном средстве устанавливают две фары ближнего света, то края поверхностей освещения, наиболее удаленные от средней продольной плоскости транспортного средства, должны находиться на расстоянии не более 400 мм от края его габаритной ширины.
Внутренние края поверхностей освещения должны находиться на расстоянии не менее 500 мм друг от друга. Это расстояние может быть уменьшено до 400 мм, если габаритная ширина транспортного средства менее 1300 мм.
8.2.3.2 По высоте - не менее 500 мм, не более 1200 мм над уровнем грунта.
8.2.3.3 По длине - спереди транспортного средства. Это требование считают выполненным, если испускаемый свет, отражаемый зеркалами заднего вида и/или другими поверхностями транспортного средства, не мешает водителю прямо или косвенно.
8.2.4 Геометрическая видимость
Вертикальный угол a = 15° вверх и 10° вниз.
Горизонтальный угол b = 45° влево и вправо, если установлена только одна фара ближнего света, или b = 45° наружу и 10° внутрь, если установлены две фары ближнего света.
Наличие панелей или других частей оборудования около источников света не должно вызывать вторичных эффектов, мешающих другим участникам дорожного движения.
8.2.5 Направление
Вперед.
Может меняться в зависимости от угла поворота руля.
8.2.5.2 Исходный наклон, соответствующий условию нагрузки снаряженного транспортного средства с водителем, должен быть от минус 1 % до минус 1,5 %. Это значение устанавливает изготовитель с точностью до 0,1 % и указывает на каждом транспортном средстве рядом с фарами или табличкой изготовителя с помощью четкого и нестираемого условного обозначения в соответствии с приложением Е.
8.2.5.3 В случае необходимости транспортное средство должно быть оборудовано устройством, с помощью которого направление луча ближнего света может быть легко отрегулировано в зависимости от условий нагрузки, указанных в 8.2.5.1, без применения инструментов.
8.2.6 Допускается группировать с фарой дальнего света и другими передними огнями.
8.2.7 Не допускается комбинировать ни с каким другим огнем.
8.2.8 Допускается совмещать с фарой дальнего света и с другими передними огнями.
8.2.9 Электрические соединения
Переключение на ближний свет должно вызывать одновременное выключение фар дальнего света, в то время как ближний свет может оставаться включенным одновременно с дальним светом.
8.2.10 Контрольный сигнал включения с замкнутым контуром
Факультативный.
Контрольный сигнал должен испускать зеленый немигающий свет.
8.2.11 Прочие требования
Отсутствуют.
8.3.1 Количество
По два на каждую сторону.
Допускается наличие одного бокового указателя поворота на каждую сторону.
8.3.2 Схема монтажа
Два передних и два задних указателя поворота.
8.3.3 Расположение
8.3.3.1 По ширине:
- края поверхности освещения, наиболее удаленные от средней продольной плоскости, должны находиться на расстоянии не более 400 мм от края габаритной ширины транспортного средства;
- внутренние края поверхностей освещения должны находиться на расстоянии не менее 500 мм;
- расстояния между поверхностями передних указателей поворота и фарами ближнего света должны быть:
- не менее 75 мм - при минимальной интенсивности лампочки сигнала 90 кд;
- не менее 40 мм » » » » » 175 кд;
- не менее 20 мм » » » » » 250 кд;
- менее 20 мм » » » » » 400 кд.
8.3.3.2 По высоте - не менее 350 мм, не более 1500 мм над уровнем грунта.
8.3.4 Геометрическая видимость
Вертикальный угол a = 15° вверх и вниз.
Однако вертикальный угол вниз может быть уменьшен до 5°, если фары расположены на высоте менее 750 мм над уровнем грунта.
Горизонтальный угол b = 80° наружу и 45° внутрь.
8.3.5 Направление
Передних указателей поворота - вперед, задних - назад.
Передние указатели поворота могут менять свое направление в зависимости от угла поворота руля.
8.3.6 Допускается группировать с одним или более огнем.
8.3.7 Не допускается комбинировать ни с каким другим огнем.
8.3.8 Не допускается совмещать ни с каким другим огнем.
8.3.9 Электрические соединения
Указатели поворота должны включаться независимо от других огней. Указатели, расположенные на одной стороне транспортного средства, должны включаться и выключаться с помощью одного органа (кнопки) управления.
8.3.10 Контрольный сигнал функционирования
Обязателен.
Может быть оптическим или звуковым. Оптический сигнал должен быть зеленого цвета и мигающим. Он должен быть видимым при всех нормальных условиях эксплуатации. Должен выключаться или оставаться включенным без мигания либо указывать на значительное изменение частоты в случае нарушения работы одного из огней сигнала поворота. Звуковой сигнал должен быть хорошо слышимым, в остальном быть аналогичным оптическому сигналу.
8.3.11 Прочие требования
Нижеперечисленные характеристики электросистемы только при нагрузке, необходимой для работы двигателя и осветительных устройств.
8.3.11.1 После того как орган (кнопка) управления светосигнальным устройством приведен(а) в действие, огонь должен загореться в течение не более 1 с, а первое выключение огня должно быть спустя не более 1,5 с.
8.3.11.2 Если транспортные средства снабжены огнями сигнала поворота, работающими на постоянном токе, то:
8.3.11.2.1 частота мигания должна быть (90 ± 30) раз в минуту;
8.3.11.2.2 огни поворота, расположенные на одной стороне транспортного средства, должны мигать с одинаковой частотой и в одной фазе.
8.3.11.3 Если на транспортном средстве установлены огни поворота, работающие на переменном токе, когда частота вращения двигателя составляет от 50 % до 100 % частоты вращения, соответствующей максимальной скорости транспортного средства, то:
8.3.11.3.1 огни должны мигать с частотой (90 ± 30) раз в минуту;
8.3.11.3.2 огни сигнала поворота могут мигать на одной стороне транспортного средства либо синхронно, либо попеременно.
8.3.11.4 Если огни сигнала поворота, установленные на транспортном средстве, работают на переменном токе, когда частота вращения двигателя находится между скоростью на холостом ходу, заданной производителем, и 50 % частоты вращения, соответствующей максимальной скорости транспортного средства, то:
8.3.11.4.1 частота мигания должна
составлять (
) раз в минуту;
8.3.11.4.2 огни сигнала поворота, расположенные на одной стороне транспортного средства, могут мигать либо синхронно, либо поочередно.
8.3.11.5 Передние указатели поворота не должны быть видимыми сзади, а задние - спереди в пределах зон, указанных в приложении Г.
8.3.11.6 В случае отказа одного из сигналов поворота, за исключением короткого замыкания, другой должен продолжать мигать или оставаться горящим, но при этом частота мигания может быть отлична от установленного значения.
8.4 Сигналы торможения
8.4.1 Количество
Один или два. Однако для транспортных средств, габаритная ширина которых более 1300 мм, требуются два сигнала торможения.
8.4.2 Схема монтажа
Нет специальных требований.
8.4.3 Расположение
8.4.3.1 По ширине - если установлен только один сигнал торможения, то его исходная ось должна лежать в средней продольной плоскости транспортного средства, а если установлены два сигнала торможения, то они должны быть симметричны средней продольной плоскости транспортного средства. Если на транспортное средство установлены два задних колеса, между двумя сигналами торможения должно быть расстояние не менее 600 мм. Расстояние может быть уменьшено до 400 мм, если габаритная ширина транспортного средства менее 1300 мм.
8.4.3.2 По высоте - не менее 250 мм, не более 1500 мм над уровнем грунта.
8.4.3.3 По длине - сзади транспортного средства.
8.4.4 Геометрическая видимость
Вертикальный угол a = 15° вверх и вниз.
Однако вертикальный угол вниз может быть уменьшен до 5°, если сигнал расположен на высоте менее 750 мм над уровнем грунта.
Горизонтальный угол b = 45° влево и вправо.
8.4.5 Направление
В задней части транспортного средства.
8.4.6 Допускается группировать с одним или более задним огнем.
8.4.7 Не допускается комбинировать ни с каким другим огнем.
8.4.8 Допускается совмещать с задним габаритным огнем.
8.4.9 Электрическая схема
Сигналы торможения должны загораться даже при применении одного из рабочих тормозов.
8.4.10 Контрольный сигнал включения
Запрещен.
8.5 Передние габаритные огни
8.5.1 Количество
Один или два.
Однако если габаритная ширина транспортного средства превышает 1300 мм, устанавливают два габаритных огня.
8.5.2 Схема монтажа
Нет специальных требований.
8.5.3 Расположение
8.5.3.1 По ширине:
- независимый передний габаритный огонь может устанавливаться над или под другой передней фарой, или сбоку от нее. Если фары находятся одна над другой, то исходная ось габаритного огня должна располагаться в средней продольной плоскости транспортного средства. Если фары находятся сбоку друг от друга, то их исходные оси должны быть симметричны относительно средней продольной плоскости транспортного средства;
- передний габаритный огонь, составляющий одно целое с другой передней фарой, должен устанавливаться так, чтобы его исходная ось находилась в средней продольной плоскости транспортного средства;
- два передних габаритных огня, один или оба из которых объединены с другой передней фарой, должны устанавливаться так, чтобы их исходные оси были симметричны по отношению к средней продольной плоскости транспортного средства.
Если на транспортном средстве устанавливают два передних габаритных огня, то:
- края поверхностей освещения, наиболее удаленные от средней продольной плоскости транспортного средства, должны находиться на расстоянии не более 400 мм от края его габаритной ширины;
- внутренние края поверхностей освещения должны находиться на расстоянии не менее 500 мм друг от друга.
8.5.3.2 По высоте - не менее 350 мм, не более 1200 мм над уровнем грунта.
8.5.3.3 По длине - впереди транспортного средства.
8.5.4 Геометрическая видимость
Вертикальный угол a = 15° вверх и вниз. Однако вертикальный угол может быть уменьшен до 5°, если огонь находится на высоте менее 750 мм над уровнем грунта.
Горизонтальный угол b = 80° влево и вправо, если установлен один габаритный огонь; b = 80° наружу и 45° внутрь, если установлены два габаритных огня.
8.5.5 Направление
Вперед.
Направление огня может меняться в зависимости от угла поворота руля.
8.5.6 Допускается группировать с любым передним огнем.
8.5.7 Допускается совмещать с любым передним огнем.
8.5.8 Электрическая схема
Нет специальных требований.
8.5.9 Контрольный сигнал включения с замкнутой цепью
Обязателен.
Контрольный сигнал должен испускать зеленый немигающий свет. Сигнальное устройство не требуется, если освещение приборного щитка может включаться и выключаться одновременно с габаритным огнем.
8.5.10 Прочие требования
Отсутствуют.
8.6 Задние габаритные огни
8.6.1 Количество
Один или два.
Однако если габаритная ширина транспортного средства более 1300 мм, устанавливают два задних габаритных огня.
8.6.2 Схема монтажа
Нет специальных требований.
8.6.3 Расположение
8.6.3.1 По ширине - исходная ось должна располагаться в средней продольной плоскости транспортного средства, если имеется только один габаритный огонь. Если установлены два габаритных огня, то их исходные оси должны быть симметричны относительно средней продольной плоскости транспортного средства. Если транспортное средство имеет два задних колеса, то расстояние между двумя огнями должно быть не менее 600 мм. Это расстояние может быть уменьшено до 400 мм, если габаритная ширина транспортного средства менее 1300 мм.
8.6.3.2 По высоте - не менее 250 мм, не более 1500 мм над уровнем грунта.
8.6.3.3 По длине - сзади транспортного средства.
8.6.4 Геометрическая видимость
Вертикальный угол a = 15° вверх и вниз. Однако вертикальный угол вниз может быть уменьшен до 5°, если огонь находится на высоте менее 750 мм над уровнем грунта.
Горизонтальный угол b = 80° влево и вправо, если установлен один габаритный огонь; b = 80° наружу и 45° внутрь, если установлены два габаритных огня.
8.6.5 Направление
Сзади транспортного средства.
8.6.6 Допускается группировать с другим задним огнем.
8.6.7 Допускается комбинировать с огнем заднего номерного знака.
8.6.8 Допускается совмещение с сигналом торможения или задним отражателем нетреугольной формы, или с ними обоими, или с задней противотуманной фарой.
8.6.9 Электрическая схема
Нет специальных требований.
8.6.10 Контрольный сигнал включения с замкнутой цепью
Факультативный.
Его функция может выполняться с помощью устройства для передних габаритных огней.
8.6.11 Прочие требования
Отсутствуют.
8.7 Передние противотуманные фары
8.7.1 Количество
Одна или две.
8.7.2 Схема монтажа
Нет специальных требований.
8.7.3 Расположение
8.7.3.1 По ширине:
- передняя противотуманная фара может устанавливаться над или под другой передней фарой, или сбоку от нее. Если фары находятся одна над другой, то исходная ось противотуманной фары должна располагаться в средней продольной плоскости транспортного средства. Если фары находятся сбоку друг от друга, то их исходные оси должны быть симметричны относительно средней продольной плоскости транспортного средства;
- передняя противотуманная фара, составляющая одно целое с другой передней фарой, должна устанавливаться так, чтобы ее исходная ось находилась в средней продольной плоскости транспортного средства;
- две противотуманные фары, одна или обе из которых объединены с другой передней фарой, должны устанавливаться так, чтобы их исходные оси были симметричны по отношению к средней продольной плоскости транспортного средства;
- края поверхностей освещения, наиболее удаленные от средней продольной плоскости транспортного средства, должны находиться на расстоянии не более 400 мм от края его габаритной ширины.
8.7.3.2 По высоте - не менее 250 мм над уровнем грунта. Освещающая поверхность передней противотуманной фары ни одной своей точкой не должна находиться выше самой высокой точки освещающей поверхности фары ближнего света.
8.7.3.3 По длине - спереди транспортного средства. Это требование считают выполненным, если испускаемый свет, отражаемый зеркалами заднего вида и/или другими поверхностями транспортного средства, не мешает водителю прямо или косвенно.
8.7.4 Геометрическая видимость
Вертикальный угол a = 5° вверх и вниз.
Горизонтальный угол b = 45° влево и вправо. Если фара расположена не по центру, то внутренний угол b = 10°.
8.7.5 Направление
Вперед.
Направление огня может меняться в зависимости от угла поворота руля.
8.7.6 Допускается группировать с другими передними огнями.
8.7.7 Не допускается комбинировать ни с каким передним огнем.
8.7.8 Допускается совмещать с фарой дальнего света и передним габаритным огнем.
8.7.9 Электрическая схема
Должна быть предусмотрена возможность включения и выключения передней противотуманной фары независимо от фары дальнего или ближнего света.
8.7.10 Контрольный сигнал включения
Факультативный.
Контрольный сигнал должен испускать зеленый немигающий свет.
8.7.11 Прочие требования
Отсутствуют.
8.8 Задние противотуманные фары
8.8.1 Количество
Одна или две.
8.8.2 Схема монтажа
Нет специальных требований.
8.8.3 Расположение
8.8.3.1 По ширине - исходная ось должна располагаться в средней продольной плоскости транспортного средства, если установлена только одна противотуманная фара; если установлены две противотуманные фары, то их исходные оси должны быть симметричны относительно средней продольной плоскости транспортного средства. Если транспортное средство имеет два задних колеса, то расстояние между двумя фарами должно быть не менее 600 мм. Это расстояние может быть уменьшено до 400 мм, если габаритная ширина транспортного средства менее 1300 мм.
8.8.3.2 По высоте - не менее 250 мм, не более 1000 мм над уровнем грунта.
8.8.3.3 По длине - сзади транспортного средства. Если установлена одна противотуманная фара, то она должна располагаться слева от средней продольной плоскости транспортного средства по направлению движения. Исходная ось может также располагаться на средней продольной плоскости транспортного средства.
8.8.3.4 Расстояние между освещающей поверхностью задней противотуманной фары и освещающей поверхностью сигнала торможения должно быть не менее 100 мм.
8.8.4 Геометрическая видимость
Вертикальный угол a = 5° вверх и вниз.
Горизонтальный угол b = 25° влево и вправо.
8.8.5 Направление
Назад.
8.8.6 Допускается группировать с другими задними огнями.
8.8.7 Не допускается комбинировать ни с одним другим огнем.
8.8.8 Допускается совмещать с задним габаритным огнем.
8.8.9 Электрическая схема
Фара не должна включаться, пока не будет включена одна из фар дальнего или ближнего света или передняя противотуманная фара.
8.8.10 Контрольный сигнал включения с замкнутым контуром
Обязательный.
Контрольный сигнал должен испускать немигающий сигнал оранжевого цвета.
8.8.11 Прочие требования
Отсутствуют.
8.9 Фары заднего хода
8.9.1 Количество
Одна или две.
8.9.2 Схема монтажа
Нет специальных требований.
8.9.3 Расположение
8.9.3.1 По ширине - нет специальных требований.
8.9.3.2 По высоте - не менее 250 мм, не более 1200 мм над уровнем грунта.
8.9.3.3 По длине - сзади транспортного средства.
8.9.4 Геометрическая видимость
Вертикальный угол a = 15° вверх и вниз.
Горизонтальный угол b = 45° влево и вправо, если установлена только одна фара, b = 45° наружу и 30° внутрь, если установлены две фары.
8.9.5 Направление
Назад.
8.9.6 Допускается группировать с другой задней фарой.
8.9.7 Не допускается комбинировать ни с каким другим огнем.
8.9.8 Не допускается совмещение ни с каким другим огнем.
8.9.9 Электрическая схема
Фара не может функционировать, если не включен механизм заднего хода и устройство для выключения двигателя не находится в положении, позволяющем двигателю работать.
Фара не может включаться или оставаться включенной, если не подтверждено одно из этих условий.
8.9.10 Контрольный сигнал включения
Факультативный.
8.10 Аварийный сигнал
8.10.1 Требования аналогичны изложенным в 8.3 - 8.3.8.
8.10.2 Электрическая схема
Сигнал должен включаться с помощью отдельного органа управления, который позволяет одновременно подавать ток ко всем указателям поворота.
8.10.3 Контрольный сигнал включения с замкнутой цепью
Обязателен.
Контрольный сигнал должен испускать красный мигающий свет. Если нет отдельного сигнального устройства, то должна быть обеспечена одновременная работа сигнальных устройств, указанных в 8.3.10.
8.10.4 Прочие требования
Частота мигания (90 ± 30) раз в минуту. Включение светосигнального устройства должно вызывать включение огня с задержкой не более 1 с, а первое выключение - спустя не более 1,5 с.
Должна быть предусмотрена возможность включения аварийного сигнала, даже если устройство для включения или выключения двигателя находится в положении, не позволяющем двигателю работать.
8.11 Фонарь освещения номерного знака
8.11.1 Количество
Один.
Фонарь может состоять из нескольких оптических элементов, предназначенных для освещения места установки номерного знака.
|
8.11.2 Схема монтажа |
|
Должны обеспечивать освещение места установки номерного знака. |
|
8.11.3 Расположение |
||
|
8.11.3.1 По ширине, |
||
|
8.11.3.2 высоте и |
||
|
8.11.3.3 длине. |
||
|
8.11.4 Геометрическая видимость |
||
|
8.11.5 Направление |
8.11.6 Допускается группировать с одним или более задним огнем.
8.11.7 Допускается комбинировать с задним габаритным огнем.
8.11.8 Не допускается совмещать ни с каким другим огнем.
8.11.9 Электрическая схема
Нет специальных указаний.
8.11.10 Контрольный сигнал включения с замкнутым контуром Факультативный.
Его функционирование должно обеспечиваться тем же сигнальным устройством, что применяется для габаритного огня.
8.11.11 Прочие требования
Отсутствуют.
8.12 Задние отражатели нетреугольной формы
8.12.1 Количество
Один или два, класс 1А.
Однако если габаритная ширина транспортного средства превышает 1000 мм, то требуются два задних отражателя нетреугольной формы.
8.12.2 Схема монтажа
Нет специальных требований.
8.12.3 Расположение
8.12.3.1 По ширине - если установлен только один отражатель, то его исходная ось должна находиться в средней продольной плоскости транспортного средства, если установлены два отражателя, то они должны быть симметричны относительно средней продольной плоскости транспортного средства. Если на транспортное средство установлены два задних отражателя, то:
- края поверхности освещения, наиболее удаленные от средней продольной плоскости транспортного средства, не должны находиться на расстоянии более 400 мм от края его габаритной ширины;
- внутренние края отражателей должны находиться на расстоянии не менее 500 мм друг от друга. Это расстояние может быть уменьшено до 400 мм, если габаритная ширина транспортного средства менее 1300 мм.
8.12.3.2 По высоте - не менее 250 мм, не более 900 мм над уровнем грунта.
8.12.3.3 По длине - сзади.
8.12.4 Геометрическая видимость
Вертикальный угол a = 15° над и под горизонталью.
Однако вертикальный угол ниже горизонтали может быть уменьшен до 5°, если отражатель расположен на высоте менее 750 мм над уровнем грунта.
Горизонтальный угол b = 30° влево и вправо.
8.12.5 Направление
Назад.
8.12.6 Допускается группировать с любой другой фарой.
8.12.7 Прочие требования.
Освещающая поверхность отражателя может иметь общие части с другим задним красным огнем.
8.13 Боковые отражатели нетреугольной формы
8.13.1 Количество
Один или два на каждую сторону, класс 1А.
8.13.2 Схема монтажа
Нет специальных требований.
8.13.3 Расположение
8.13.3.1 По ширине - нет специальных требований.
8.13.3.2 По высоте - не менее 300 мм, не более 900 мм над уровнем грунта.
8.13.3.3 По длине - должно быть таким, чтобы в нормальных условиях эксплуатации его устройство не могло закрываться водителем или пассажиром.
8.13.4 Геометрическая видимость
Вертикальный угол a = 15° вверх и вниз.
Однако вертикальный угол вниз может быть уменьшен до 5°, если отражатель расположен на высоте менее 750 мм над уровнем грунта.
Горизонтальный угол b = 30° вперед и назад.
8.13.5 Направление
Исходная ось отражателей должна быть перпендикулярна к средней продольной плоскости транспортного средства и направлена наружу. Передние боковые отражатели могут менять направление в зависимости от угла поворота руля.
8.13.6 Допускается группировать с другими боковыми сигнальными огнями.
(рекомендуемое)
|
1 Тип транспортного средства________________________________________________ |
|
2 Типы (тип) устройств(а) освещения и световой сигнализации____________________ |
|
3 Краткое описание устройств освещения и световой сигнализации, установленных на транспортном средстве______________________________________________________ |
|
3.1 Фары дальнего света_____________________________________________________ |
|
да/нет |
|
3.2 Фары ближнего света_____________________________________________________ |
|
да/нет |
|
3.3 Передние противотуманные фары__________________________________________ |
|
да/нет |
|
3.4 Фонарь заднего хода______________________________________________________ |
|
да/нет |
|
3.5 Передние указатели поворота______________________________________________ |
|
да/нет |
|
3.6 Задние указатели поворота________________________________________________ |
|
да/нет |
|
3.7 Аварийный сигнал_______________________________________________________ |
|
да/нет |
|
3.8 Сигнал торможения______________________________________________________ |
|
да/нет |
|
3.9 Фонарь заднего номерного знака___________________________________________ |
|
да/нет |
|
3.10 Передние габаритные огни_______________________________________________ |
|
да/нет |
|
3.11 Задние габаритные огни_________________________________________________ |
|
да/нет |
|
3.12 Задние противотуманные огни____________________________________________ |
|
да/нет |
|
3.13 Задние светоотражающие устройства нетреугольной формы___________________ |
|
да/нет |
|
3.14 Боковые светоотражающие устройства нетреугольной формы__________________ |
|
да/нет |
|
3.15 Предельные светоотражающие устройства__________________________________ |
|
да/нет |
|
3.16 Эквивалентные огни_____________________________________________________ |
|
да/нет |
|
3.17 Максимально допустимая масса в багажнике________________________________ |
|
да/нет |
|
4 Замечания________________________________________________________________ |
|
4.1 Любые замечания в отношении подвижных компонентов______________________ |
|
4.2 Метод, используемый для определения видимой поверхности__________________ |
|
граница освещающей поверхности/ |
|
__________________________________________________________________________ |
|
светоизлучающая поверхность |
|
5 Транспортное средство представлено на испытания____________________________ |
|
дата |
|
6 Испытательная лаборатория/центр, уполномоченная(ый) проводить испытания_____ |
|
7 Протокол(ы) испытаний____________________________________________________ |
(обязательное)
1 - освещающая поверхность; 2 - исходная ось; 3 - исходный центр; 4 - угол геометрической видимости; 5 - светоизлучающая поверхность; 6 - видимая освещающая поверхность; 7 - видимая светоизлучающая поверхность
Рисунок Б.1
Примечание - Видимая поверхность должна рассматриваться как касательная к светоизлучающей поверхности.
Освещающая поверхность (2.8) в сравнении со светоизлучающей поверхностью (2.7)

1 - исходная ось; 2 - поверхность рассеивателя (для удобства изображена плоской); 3 - проекция
Рисунок Б.2
|
Края |
Освещающая поверхность |
Светоизлучающая поверхность |
|
Поверхность А |
а и b |
с и d |
|
Поверхность В |
а и b |
с и d |
(обязательное)
Рисунок В.1 - Видимость красного огня в направлении вперед (5.9.1)
Рисунок В.2 - Видимость белого огня в направлении назад (5.9.2)
(обязательное)
Рисунок Г.1 - Видимость красного огня в направлении вперед (5.9.1)
Рисунок Г.2 - Видимость белого огня в направлении назад (5.9.2)
(обязательное)
Д.1 Испытания
Д.1.1 Размещение огней
Размещение огней, указанных в разделах 6 - 8, проверяют в соответствии с общими техническими требованиями, изложенными в разделе 5 настоящего стандарта. Значения измеренных расстояний должны быть такими, чтобы соблюдались отдельные технические требования, предъявляемые к каждому огню.
Д.1.2 Видимость огней
Д.1.2.1 Углы геометрической видимости должны проверяться в соответствии с 2.10 настоящего стандарта. Значения измеренных углов должны быть такими, чтобы соблюдались специальные требования, предъявляемые к каждому огню, с учетом допускаемого отклонения +3°, предусмотренного в 5.3 настоящего стандарта в отношении установки устройств освещения и световой сигнализации.
Д.1.2.2 Видимость красного огня спереди и белого огня сзади проверяют в соответствии с 5.9 настоящего стандарта.
Д.1.3 Ориентация огня ближнего света в направлении вперед
Д.1.3.1 Первоначальный наклон вниз
Первоначальный наклон светотеневой границы фар ближнего света должен устанавливаться на уровне, который указан на табличке завода-изготовителя в соответствии с приложением Е, и проверяться согласно требованиям 7.2.5.2 и 8.2.5.2 настоящего стандарта.
Д.1.3.2 Изменения наклона в зависимости от нагрузки
Отклонения угла наклона луча ближнего света вниз в зависимости от условий нагрузки, предусмотренных в 7.2.5.1 и 8.2.5.1 настоящего стандарта, должны оставаться в пределах минус 0,5 % - минус 2,5 %.
Д.1.4 Функциональная электрическая схема и контрольные сигналы
Функциональная электрическая схема должна проверяться путем включения каждого из огней, питаемых электрической системой транспортного средства. Огни и контрольные сигналы должны функционировать согласно 5.10 - 5.12 настоящего стандарта и в соответствии со специальными требованиями, предъявляемыми к каждому огню.
Д.1.5 Сила света
Д.1.5.1 Фары дальнего света
Максимальная сила света всех фар дальнего света должна соответствовать предписаниям, изложенным в 7.1.11 и 8.1.11 настоящего стандарта.
Д.1.6 Установку, количество, цвет, схему монтажа и в соответствующих случаях категорию огней проверяют путем визуального осмотра огней и их маркировки. Они должны соответствовать предписаниям, изложенным в 5.13 настоящего стандарта, и специальным техническим требованиям, предъявляемым к каждому огню.
(обязательное)

Условное обозначение фары ближнего света Значение первоначального регулирования
Ключевые слова: трех- и четырехколесные мототранспортные средства, устройства освещения, световая сигнализация, установка, испытания транспортных средств в отношении установки устройств освещения и световой сигнализации