Стандарт распространяется на самонесущие изолированные провода для воздушных линий электропередачи на номинальное напряжение до 0,6/1 кВ включительно и защищенные провода для воздушных линий электропередачи на номинальное напряжение 20 кВ (для сетей на напряжение 10, 15 и 20 кв) и 35 кВ (для сетей на напряжение 35 кВ) номинальной частотой 50 Гц. Стандарт устанавливает основные требования к конструкциям и техническим характеристикам проводов, их эксплуатационные свойства и методы испытаний.
| Обозначение: | ГОСТ Р 52373-2005 |
| Название рус.: | Провода самонесущие изолированные и защищенные для воздушных линий электропередачи. Общие технические условия |
| Статус: | отменен |
| Дата актуализации текста: | 05.05.2017 |
| Дата добавления в базу: | 01.09.2013 |
| Дата введения в действие: | 01.01.2014 |
| Утвержден: | 09.09.2005 Федеральное агентство по техническому регулированию и метрологии (226-ст) |
| Опубликован: | Стандартинформ (2005 г. ) Стандартинформ (2008 г. ) |
| Ссылки для скачивания: |
ФЕДЕРАЛЬНОЕ АГЕНТСТВО
ПО ТЕХНИЧЕСКОМУ РЕГУЛИРОВАНИЮ И МЕТРОЛОГИИ
|
|
НАЦИОНАЛЬНЫЙ |
ГОСТ Р |
ПРОВОДА
САМОНЕСУЩИЕ
ИЗОЛИРОВАННЫЕ И ЗАЩИЩЕННЫЕ
ДЛЯ ВОЗДУШНЫХ ЛИНИЙ
ЭЛЕКТРОПЕРЕДАЧИ
Общие технические условия
|
|
Москва Стандартинформ 2005 |
Предисловие
Цели и принципы стандартизации в Российской Федерации установлены Федеральным законом от 27 декабря 2002 г. № 184-ФЗ «О техническом регулировании», а правила применения национальных стандартов Российской Федерации - ГОСТ Р 1.0-2004 «Стандартизация в Российской Федерации. Основные положения»
Сведения о стандарте
1 РАЗРАБОТАН Открытым акционерным обществом «Всероссийский научно-исследовательский, проектно-конструкторский и технологический институт кабельной промышленности» (ОАО «ВНИИКП»)
2 ВНЕСЕН Техническим комитетом по стандартизации ТК 46 «Кабельные изделия» на базе ОАО «ВНИИКП»
3 УТВЕРЖДЕН И ВВЕДЕН В ДЕЙСТВИЕ Приказом Федерального агентства по техническому регулированию и метрологии от 9 сентября 2005 г. № 226-ст
4 ВВЕДЕН ВПЕРВЫЕ
Информация об изменениях к настоящему стандарту публикуется в ежегодно издаваемом информационном указателе «Национальные стандарты», а текст изменений и поправок - в ежемесячно издаваемых информационных указателях «Национальные стандарты». В случае пересмотра (замены) или отмены настоящего стандарта соответствующее уведомление будет опубликовано в ежемесячно издаваемом информационном указателе «Национальные стандарты». Соответствующая информация, уведомление и тексты размещаются также в информационной системе общего пользования - на официальном сайте национального органа Российской Федерации по стандартизации в сети Интернет
СОДЕРЖАНИЕ
ГОСТ Р 52373-2005
НАЦИОНАЛЬНЫЙ СТАНДАРТ РОССИЙСКОЙ ФЕДЕРАЦИИ
ПРОВОДА
САМОНЕСУЩИЕ ИЗОЛИРОВАННЫЕ И ЗАЩИЩЕННЫЕ
ДЛЯ ВОЗДУШНЫХ ЛИНИЙ ЭЛЕКТРОПЕРЕДАЧИ
Общие технические условия
Insulated
and protected wires for overhead power lines.
General specifications
Дата введения - 2006-07-01
Настоящий стандарт распространяется на самонесущие изолированные провода для воздушных линий электропередачи на номинальное напряжение до 0,6/1 кВ включительно и защищенные провода для воздушных линий электропередачи на номинальное напряжение 20 кВ (для сетей на напряжение 10, 15 и 20 кВ) и 35 кВ (для сетей на напряжение 35 кВ) номинальной частотой 50 Гц (далее - провода).
Стандарт устанавливает основные требования к конструкциям и техническим характеристикам проводов, их эксплуатационные свойства и методы испытаний.
Климатическое исполнение проводов - В, категории размещения - 1, 2 и 3 по ГОСТ 15150.
(Измененная редакция, Изм. № 1).
В настоящем стандарте использованы нормативные ссылки на следующие стандарты:
ГОСТ 15.309-98 Система разработки и постановки продукции на производство. Испытания и приемка выпускаемой продукции. Основные положения
ГОСТ 20.57.406-81 Комплексная система контроля качества. Изделия электронной техники, квантовой электроники и электротехнические. Методы испытаний
ГОСТ 27.410-87 Надежность в технике. Методы контроля показателей надежности и планы контрольных испытаний на надежность
ГОСТ 2990-78 Кабели, провода и шнуры. Методы испытаний напряжением
ГОСТ 3345-76 Кабели, провода и шнуры. Метод определения электрического сопротивления изоляции
ГОСТ 7229-76 Кабели, провода и шнуры. Метод определения электрического сопротивления токопроводящих жил и проводников
ГОСТ 10446-80 (ИСО 6892-84) Проволока. Метод испытания на растяжение
ГОСТ 12177-79 Кабели, провода и шнуры. Методы проверки конструкции
ГОСТ 15150-69 Машины, приборы и другие технические изделия. Исполнения для различных климатических районов. Категории, условия эксплуатации, хранения и транспортирования в части климатических факторов внешней среды
ГОСТ 15845-80 Изделия кабельные. Термины и определения
ГОСТ 18690-82 Кабели, провода, шнуры и кабельная арматура. Маркировка, упаковка, транспортирование и хранение
ГОСТ 22483-77 Жилы токопроводящие медные и алюминиевые для кабелей, проводов и шнуров. Основные параметры. Технические требования
ГОСТ 27893-88 Кабели связи. Методы испытаний
ГОСТ Р 51651-2000 Изделия кабельные. Система качества. Материалы конструкции
ГОСТ Р МЭК 60811-1-1-98 Общие методы испытаний материалов изоляции и оболочек электрических и оптических кабелей. Измерение толщины и наружных размеров. Методы определения механических свойств
ГОСТ Р МЭК 60811-1-2-2006 Общие методы испытаний материалов изоляции и оболочек электрических и оптических кабелей. Часть 1 – 2. Методы общего применения. Методы теплового старения
ГОСТ Р МЭК 60811-1-3-2007 Общие методы испытаний материалов изоляции и оболочек электрических кабелей. Часть 1 – 3. Методы общего применения. Методы определения плотности. Испытания на водопоглощение. Испытание на усадку
ГОСТ Р МЭК 60811-2-1-2006 Специальные методы испытаний эластомерных композиций изоляции и оболочек электрических и оптических кабелей. Испытания на озоностойкость, тепловую деформацию и маслостойкость
ГОСТ Р МЭК 60811-3-1-94 Специальные методы испытаний поливинилхлоридных компаундов изоляции и оболочек электрических и оптических кабелей. Испытание под давлением при высокой температуре. Испытание на стойкость к растрескиванию
ГОСТ Р МЭК 60811-4-1-2008 Специальные методы испытаний полиэтиленовых и полипропиленовых композиций изоляции и оболочек электрических кабелей. Стойкость к растрескиванию под напряжением в условиях окружающей среды. Испытание навиванием после теплового старения на воздухе. Определение показателя текучести расплава. Определение содержания сажи и/или минерального наполнителя в полиэтилене
(Измененная редакция, Изм. № 1).
Примечание - При пользовании настоящим стандартом целесообразно проверить действие ссылочных стандартов в информационной системе общего пользования - на официальном сайте национального органа Российской Федерации по стандартизации в сети Интернет или по ежегодно издаваемому информационному указателю «Национальные стандарты», который опубликован по состоянию на 1 января текущего года, и по соответствующим ежемесячно издаваемым информационным указателям, опубликованным в текущем году. Если ссылочный документ заменен (изменен), то при пользовании настоящим стандартом следует руководствоваться замененным (измененным) документом. Если ссылочный документ отменен без замены, то положение, в котором дана ссылка на него, применяется в части, не затрагивающей эту ссылку.
_______
* См. примечание ФГУП «СТАНДАРТИНФОРМ»
В настоящем стандарте применены термины по ГОСТ 15845 и международному стандарту [1], а также следующие термины с соответствующими определениями:
3.1 самонесущий изолированный провод: Многожильный провод для воздушных линий электропередачи, содержащий изолированные жилы и несущий элемент, предназначенный для крепления или подвески провода.
3.2 защищенный провод: Провод для воздушных линий электропередачи, поверх токопроводящей жилы которого наложена экструдированная полимерная защитная изоляция, исключающая короткое замыкание между проводами при схлестывании и снижающая вероятность замыкания на землю.
3.3 нулевая несущая жила: Изолированная или неизолированная токопроводящая жила из алюминиевого сплава, выполняющая функцию несущего элемента и нулевого рабочего (N) или нулевого защитного (PE) проводника.
3.4 основная жила: Изолированная токопроводящая жила, предназначенная для выполнения основной функции провода.
3.5 вспомогательная жила: Изолированная токопроводящая жила в составе многожильного провода для подключения цепей наружного освещения или контроля.
3.6 изоляция (рабочая изоляция): Электрическая изоляция токопроводящих жил самонесущего изолированного провода для воздушных линий электропередачи на напряжение до 0,6/1 кВ, обеспечивающая нормальную работу воздушных линий электропередачи и защиту от поражения электрическим током.
3.7 защитная изоляция: Экструдированный изоляционный слой поверх токопроводящей жилы защищенного провода для воздушных линий электропередачи на напряжение 10 - 35 кВ, обеспечивающий снижение вероятности короткого замыкания при случайном соприкосновении провода с заземленным элементом или при соприкосновении проводов различных фаз воздушных линий электропередачи.
3.8 герметизированный провод: Самонесущий изолированный или защищенный провод, содержащий водоблокирующий элемент или элементы, исключающие продольное распространение воды при ее попадании в местах крепления или повреждения электрической изоляции или защитной изоляции.
3.9 старение: Процесс накопления необратимых изменений в изоляции провода в результате воздействия одного или совокупности эксплуатационных факторов, приводящих к ухудшению свойств изоляции или ее отказу.
3.10 длительно допустимая температура нагрева токопроводящей жилы: Допустимая температура нагрева токопроводящей жилы провода при продолжительном режиме эксплуатации.
3.11 сшитый полиэтилен: Термореактивный материал, полученный посредством химической сшивки термопластичной композиции полиэтилена, удовлетворяющий требованиям пункта 5.2.5.1, таблица 6 (позиции 2, 3 и 6)
(Измененная редакция, Изм. № 1).
а) по назначению:
- самонесущие изолированные провода - для воздушных линий электропередачи на напряжение до 0,6/1 кВ включительно;
- защищенные провода - для воздушных линий электропередачи на напряжение 10 - 20 и 35 кВ;
б) по конструктивному исполнению:
- с неизолированной нулевой несущей жилой (1);
- с изолированной нулевой несущей жилой (2);
- с защитной изоляцией (3);
- без нулевой несущей жилы (4);
- герметизированные (г).
4.2 Число основных токопроводящих жил устанавливают из ряда: 1, 2, 3, 4.
4.3 Номинальное сечение основных токопроводящих жил устанавливают из ряда: 16, 25, 35, 50, 70, 95, 120, 150, 185, 240 мм2.
Номинальное сечение токопроводящих жил проводов без нулевой несущей жилы - 16 или 25 мм2.
4.4 Номинальное сечение нулевой несущей жилы устанавливают из ряда: 25, 35, 50, 54,6, 70, 95 мм2.
(Измененная редакция, Изм. № 1).
4.5 Число вспомогательных токопроводящих жил в проводах с нулевой несущей жилой номинальным сечением 50 мм2 и более устанавливают из ряда: 1, 2, 3.
Номинальное сечение вспомогательных токопроводящих жил для цепей наружного освещения - 16, 25 или 35 мм2, для цепей контроля - 1,5; 2,5 или 4 мм2.
4.6 Обозначение марки проводов должно состоять из последовательно расположенных букв СИП и через дефис цифр, указывающих конструктивное исполнение в соответствии с 4.1, перечисление б).
4.7 В условное обозначение проводов должны входить:
- марка провода с добавлением через интервал группы цифр (через знак умножения), последовательно указывающих число и номинальное сечение основных, нулевой несущей и вспомогательных жил, разделенных между собой знаком плюс;
- номинальное напряжение провода (через тире);
- обозначение технических условий на провод конкретной марки (через интервал).
Примеры условных обозначений:
Провод самонесущий изолированный для воздушных линий электропередачи, с тремя основными жилами номинальным сечением 70 мм2, с изолированной нулевой несущей жилой номинальным сечением 95 мм2, с двумя вспомогательными токопроводящими жилами номинальным сечением 25 мм2 на номинальное напряжение 0,6/1 кВ:
Провод СИП-2 3×70 + 1×95 + 2×25 - 0,6/1 ТУ**
Провод защищенный для воздушных линий электропередачи с водоблокирующим элементом, с жилой номинальным сечением 120 мм2 на номинальное напряжение 35 кВ:
Провод СИПг-3 1×120-35 ТУ**
_______
** Обозначение технических условий на провод конкретной марки.
5.1 Общие требования
5.1.1 Провода должны изготовляться в соответствии с требованиями настоящего стандарта и технических условий на провода конкретных марок по технологической документации, утвержденной в установленном порядке.
5.2 Характеристики
5.2.1 Требования к конструкции
5.2.1.1 Провода на номинальное напряжение 0,6/1 кВ должны изготовляться многожильными.
Провода на номинальное напряжение 20 и 35 кВ должны изготовляться одножильными.
5.2.1.3 В таблицу (таблицы, текст) основных конструктивных размеров проводов конкретных марок должны входить:
- число и номинальное сечение основных и вспомогательных токопроводящих жил, мм2;
- номинальное сечение нулевой несущей жилы, мм2;
- число проволок в основных и вспомогательных токопроводящих и нулевой несущей жилах, шт.;
- максимальное и минимальное значения наружного диаметра основных и вспомогательных токопроводящих жил, мм;
- максимальное и минимальное значения наружного диаметра нулевой несущей жилы, мм;
- номинальная толщина изоляции основных, вспомогательных токопроводящих и нулевой несущей жил, мм;
- номинальная толщина защитной изоляции, мм;
- прочность при растяжении нулевой несущей жилы, Н;
- расчетный наружный диаметр провода, мм;
- расчетная масса 1 км провода, кг.
Допускается указывать другие конструктивные размеры в технических условиях на провода конкретных марок.
Допускается сварка алюминиевых проволок при их обрыве или сходе в процессе скрутки. Число соединений проволок в жиле не должно быть более шести на строительной длине, расстояние между соседними соединениями проволок должно быть не менее 50 м.
Прочность при растяжении алюминиевых проволок до их скрутки в жилу должна быть не менее 120 Н/мм2.
Прочность при растяжении проволок из алюминиевого сплава до скрутки в жилу должна быть не менее 295 Н/мм2, относительное удлинение при разрыве - не менее 4 %, модуль упругости - не менее 62·103 Н/мм2 (справочное значение), коэффициент линейного расширения - не более 23·10-6 °С-1 (справочное значение).
(Измененная редакция, Изм. № 1).
5.2.1.6 Рекомендуемые конструкции нулевой несущей жилы и токопроводящих жил приведены в приложении А.
Разность между максимальным и минимальным диаметрами токопроводящих жил, измеренными во взаимно-перпендикулярных направлениях одного сечения, не должна быть более 0,2 мм.
5.2.1.7 Токопроводящие жилы герметизированных проводов должны содержать водоблокирующий элемент или элементы.
5.2.1.8 Изоляция основных и вспомогательных токопроводящих жил, изоляция (при наличии) нулевой несущей жилы и защитная изоляция защищенных проводов должна быть из светостабилизированного сшитого полиэтилена. Изоляция должна быть черного цвета.
Номинальная толщина изоляции основных жил, нулевой несущей жилы и вспомогательных жил проводов на напряжение 0,6/1 кВ должна соответствовать указанной в таблице 1.
Таблица 1
|
Номинальное сечение основных, нулевой несущей и вспомогательных жил, мм2 |
Номинальная толщина изоляции, мм |
|
|
основных жил и нулевой несущей жилы |
вспомогательных жил |
|
|
16 - 35 |
1,3 |
1,3 |
|
50; 54,6 |
1,5 |
- |
|
70 - 150 |
1,7 |
- |
|
185; 240 |
1,9 |
- |
|
1,5 - 4 |
- |
1,2 |
Номинальная толщина защитной изоляции защищенных проводов на номинальное напряжение 20 кВ - 2,3 мм, на номинальное напряжение 35 кВ - 3,5 мм.
Нижнее предельное отклонение от номинальной толщины изоляции - (0,1 + 0,1δн), где δн - номинальная толщина изоляции, мм.
(Измененная редакция, Изм. № 1).
5.2.1.9 Изолированные основные и вспомогательные жилы должны быть скручены вокруг нулевой несущей жилы. Скрутка изолированных жил в провод должна иметь правое направление.
Шаг скрутки жил должен соответствовать указанному в таблице 2.
Таблица 2
|
Шаг скрутки, см, не более |
|
|
16 |
80 |
|
25 |
80 |
|
35 |
85 |
|
50 |
90 |
|
70 |
100 |
|
95 |
110 |
|
120 |
120 |
|
150 |
130 |
|
185 |
140 |
|
240 |
150 |
Шаг скрутки изолированных проводов без нулевой несущей жилы должен быть не более 45 см.
5.2.1.10 Строительную длину проводов устанавливают по заказу потребителя.
5.2.1.11 Расчетную массу и расчетный наружный диаметр проводов указывают в технических условиях на провода конкретных марок в качестве справочного материала.
5.2.1.12 Материалы, применяемые для изготовления проводов, должны быть указаны в технических условиях на провода конкретных марок. Выбор и замена материалов, а также применение новых материалов должны проводиться в соответствии с ГОСТ Р 51651.
5.2.2 Требования к электрическим параметрам
Электрическое сопротивление нулевой несущей жилы и токопроводящей жилы защищенных проводов постоянному току, пересчитанное на температуру 20 °С и длину 1 км, должно соответствовать указанному в таблице 3.
Таблица 3
|
Номинальное сечение нулевой несущей жилы и токопроводящей жилы защищенных проводов, мм2 |
Электрическое сопротивление жилы, Ом, не более |
|
25 |
1,380 |
|
35 |
0,986 |
|
50 |
0,720 |
|
54,6 |
0,630 |
|
70 |
0,493 |
|
95 |
0,363 |
|
120 |
0,288 |
|
150 |
0,236 |
|
185 |
0,188 |
|
240 |
0,145 |
- самонесущие изолированные - 4 кВ;
- защищенные на номинальное напряжение 20 кВ - 6 кВ;
- защищенные на номинальное напряжение 35 кВ - 10 кВ.
5.2.2.4 Самонесущие изолированные провода должны выдерживать на образцах испытание переменным напряжением 10 кВ частотой 50 Гц в течение не менее 30 мин после выдержки в воде при температуре (20 ± 10) °С в течение не менее 24 ч.
5.2.2.7 Расчетные значения активного и индуктивного сопротивлений проводов указывают в технических условиях на провода конкретных марок в качестве справочного материала.
5.2.3 Требования к механическим параметрам
5.2.3.1 Нулевая несущая жила и токопроводящая жила защищенных проводов должны быть стойкими к растяжению и выдерживать разрывное усилие, указанное в таблице 4.
Таблица 4
|
Номинальное сечение нулевой несущей жилы и токопроводящей жилы защищенных проводов, мм2 |
Разрывное усилие, кН, не менее |
|
25 |
7,4 |
|
35 |
10,3 |
|
50 |
14,2 |
|
54,6 |
16,6 |
|
70 |
20,6 |
|
95 |
27,9 |
|
120 |
35,2 |
|
150 |
43,4 |
|
185 |
53,5 |
|
240 |
69,5 |
(Измененная редакция, Изм. № 1).
5.2.3.2 Изоляция нулевой несущей жилы должна плотно прилегать к поверхности жилы. Усилие сдвига изоляции нулевой несущей жилы должно соответствовать указанному в таблице 5.
Таблица 5
|
Усилие сдвига изоляции, Н, не менее |
|
|
25 |
180 |
|
35 |
180 |
|
50 |
180 |
|
54,6 |
180 |
|
70 |
200 |
|
95 |
240 |
5.2.3.3 Провода должны быть стойкими к монтажным изгибам.
5.2.4 Требования по стойкости к внешним воздействующим факторам
5.2.4.1 Провода должны быть стойкими к воздействию температуры окружающей среды до 50 °С.
5.2.4.2 Провода должны быть стойкими к воздействию температуры окружающей среды до минус 60 °С.
5.2.4.3 Провода должны быть стойкими к воздействию солнечного излучения.
- воздействие солнечного излучения;
- воздействие температуры (70 ± 2) °С;
- воздействие дождя;
- воздействие температуры минус (40 ± 2) °С.
______
* Вводится с 1 января 2008 г.
5.2.5 Требования к характеристикам изоляции и защитной изоляции
5.2.5.1 Характеристики изоляции и защитной изоляции жил должны соответствовать указанным в таблице 6.
Таблица 6
|
Значение характеристики |
|
|
1 До старения |
|
|
1.1 Прочность при растяжении, МПа, не менее |
12,5 |
|
1.2 Относительное удлинение при разрыве, %, не менее |
200 |
|
2 После старения в термостате при температуре (135 ± 3) °С в течение 168 ч |
|
|
2.1 Изменение* значения прочности при растяжении, %, не более |
±25 |
|
2.2 Изменение* значения относительного удлинения при разрыве, %, не более |
±25 |
|
3 Тепловая деформация |
|
|
3.1 Относительное удлинение после выдержки при температуре (200 ± 3) °С и растягивающей нагрузке 0,2 МПа, %, не более |
175 |
|
3.2 Остаточное относительное удлинение после снятия нагрузки и охлаждения, %, не более |
15 |
|
4 Водопоглощение после выдержки в течение 336 ч в воде при температуре (85 ± 2) °С: |
|
|
изменение массы, мг/см2, не более |
1 |
|
5 Усадка после выдержки в термостате при температуре (130 ± 3) °С в течение 1 ч, %, не более |
4 |
|
6 Стойкость к продавливанию при воздействии температуры (90 ± 2) °С в течение 4 ч: |
|
|
глубина продавливания, %, не более |
50 |
|
7 Содержание сажи, %, не менее |
2,5 |
|
* Изменение - разность между средним значением, полученным после старения, и средним значением, полученным до старения, выраженная в процентах от последнего. |
|
(Измененная редакция, Изм. № 1).
5.2.6 Требования надежности
5.2.6.1 Срок службы проводов должен быть не менее 40 лет.
5.2.7.1 Маркировка проводов должна соответствовать требованиям ГОСТ 18690 с дополнениями, изложенными в настоящем стандарте.
5.2.7.2 Основные токопроводящие жилы самонесущих изолированных проводов должны иметь отличительное обозначение в виде продольно выпрессованных рельефных полос на изоляции, как показано на рисунке Б.1 (приложение Б), или цифр 1, 2, 3, нанесенных тиснением или печатным способом. Изолированная нулевая несущая жила не должна иметь отличительного обозначения. Отличительное обозначение также может быть выполнено в виде цветных продольных полос шириной не менее 1 мм. Цвет полос должен быть контрастным по отношению к черному цвету.
Вспомогательные жилы для цепей освещения должны иметь отличительное обозначение: «В1», «В2» или «В3», нанесенное тиснением или печатным способом.
Маркировка цифрами и буквами тиснением или печатным способом должна производиться с интервалом не более 500 мм. Высота цифр (букв) должна быть не менее 5 мм, ширина - не менее 2 мм (для цифры 1 минимальная ширина - 1 мм).
Вспомогательные жилы для цепей контроля могут не иметь отличительного обозначения.
Отличительное обозначение, выполненное печатным способом или в виде цветных продольных полос, должно быть стойким к воздействию солнечного излучения в течение всего срока службы.
Маркировка, нанесенная печатным способом, должна быть четкой и прочной.
5.2.7.4 На щеке барабана или на ярлыке, прикрепленном к барабану или бухте, должны быть указаны:
- товарный знак или наименование предприятия-изготовителя;
- условное обозначение провода;
- дата изготовления;
- масса провода брутто, кг (при поставке на барабанах);
- длина провода, м;
- заводской номер барабана;
- знак соответствия (при наличии сертификата).
5.2.8.1 Упаковка проводов должна соответствовать ГОСТ 18690 с дополнениями, изложенными в настоящем стандарте.
5.2.8.2 Провода должны поставляться на барабанах. Допускается обшивка барабанов матами.
Допускается поставка самонесущих изолированных проводов с основными жилами номинальным сечением до 25 мм2 включительно в бухтах. Масса бухты не должна превышать 25 кг.
5.2.8.3 Этикетка или паспорт провода, содержащие указания по эксплуатации, должны быть помещены в водонепроницаемую упаковку и прикреплены к щеке барабана или к бухте.
6.1 Требования электробезопасности обеспечиваются выполнением требований 5.2.2.3 - 5.2.2.6 настоящего стандарта.
7.1 Общие требования
Правила приемки проводов должны соответствовать ГОСТ 15.309, требованиям настоящего стандарта и технических условий на провода конкретных марок.
7.2 Категории испытаний
Для проверки соответствия проводов требованиям, установленным настоящим стандартом, назначаются следующие категории контрольных испытаний:
- приемосдаточные;
- периодические;
- типовые и испытания на надежность.
7.3 Приемосдаточные испытания
7.3.1 Провода предъявляют к приемке партиями. За партию принимают провода одного маркоразмера, одновременно предъявляемые к приемке. Объем партии - от 1 до 50 строительных длин провода. Время выдержки проводов после изготовления в нормальных климатических условиях по ГОСТ 15150 до предъявления к приемке должно быть не менее 16 ч.
7.3.2 Состав испытаний должен соответствовать указанному в таблице 7. Испытания для групп С1 - С4 проводят по плану сплошного контроля с приемочным числом C = 0, для группы С5 - по плану выборочного одноступенчатого контроля с объемом выборки, равным 10 % строительных длин, но не менее чем на одной строительной длине, с приемочным числом C = 0. При получении неудовлетворительных результатов приемки решение принимают по ГОСТ 15.309 (раздел 6).
Таблица 7
|
Вид испытания или проверки |
Пункт |
||
|
технических требований |
методов контроля |
||
|
С1 |
Проверка конструкции и конструктивных размеров |
||
|
С2 |
Проверка электрического сопротивления токопроводящих жил постоянному току |
||
|
С3 |
Испытание напряжением |
||
|
С4 |
Проверка маркировки, упаковки |
||
|
С5 |
Проверка тепловой деформации изоляции |
||
Проверку строительной длины по 5.2.1.10 проводят в процессе производства.
7.4 Периодические испытания
7.4.1 Периодические испытания проводят не реже 1 раза в год на проводах, прошедших приемосдаточные испытания. Состав испытаний должен соответствовать указанному в таблице 8.
Таблица 8
|
Вид испытания или проверки |
Пункт |
||
|
технических требований |
методов контроля |
||
|
П1 |
Испытание напряжением |
||
|
П2 |
Проверка стойкости к разрывному усилию |
||
|
П3 |
Проверка усилия сдвига изоляции |
||
|
П4 |
Проверка стойкости к монтажным изгибам |
||
|
П5 |
Проверка устойчивости к продольному распространению воды |
||
|
П6 |
Проверка прочности маркировки |
||
Испытание по группе П5 проводят только на герметизированных проводах.
(Измененная редакция, Изм. № 1).
7.4.2 Испытания проводят по плану выборочного двухступенчатого контроля с объемом выборок n1 = n2 = 3 образца, с приемочным числом C1 = 0 и браковочным числом C2 = 2 для первой выборки и приемочным числом C3 = 1 для суммарной (n1 и n2) выборки.
Испытаниям подвергают образцы проводов, взятые от разных строительных длин методом случайного отбора. При получении неудовлетворительного результата испытаний второй выборки приемку проводов прекращают. После устранения причин дефектов и получения удовлетворительных результатов периодических испытаний на удвоенном количестве образцов приемку возобновляют.
7.5 Типовые испытания
7.5.1 Испытания проводят при изменении конструкции проводов, замене материалов или при изменении технологических процессов по программе, утвержденной в установленном порядке. По результатам испытаний, оформленных протоколом и актом, принимают решение о возможности и целесообразности внесения изменений в техническую документацию.
7.5.2 Соответствие проводов 5.2.2.2, 5.2.3.4, 5.2.4.1 - 5.2.4.4, 5.2.5.1, таблица 6 (пункты 1, 2, 4 - 7), 5.2.6.1 и 5.2.7.2 (в части стойкости маркировки к воздействию солнечного излучения) проверяют методами контроля по 8.3.2, 8.4.4, 8.5.1 - 8.5.4, 8.6.1, 8.6.3 - 8.6.6, 8.7.1 и 8.8.2 соответственно. Испытания проводят на типопредставителях самонесущих изолированных или защищенных проводов. Результаты испытаний распространяют на всю группу проводов, по которой проводили испытания.
8.1 Общие требования
8.1.1 Все испытания и измерения проводят в нормальных климатических условиях по ГОСТ 15150, если иное не указано при изложении конкретного метода.
8.1.2 Внешний осмотр проводят без применения увеличительных приборов.
8.2 Проверка конструкции
8.2.1 Конструкцию и конструктивные размеры (5.2.1.2 - 5.2.1.10) проверяют измерениями по ГОСТ 12177 и внешним осмотром путем разборки каждого из концов проводов на длине не менее 600 мм.
8.2.2 Проверку прочности при растяжении алюминиевых проволок и прочности при растяжении и относительного удлинения при разрыве проволок из алюминиевого сплава (5.2.1.4, 5.2.1.5) проводят по ГОСТ 10446 не менее чем на трех образцах проволоки с расчетной длиной 200 мм.
8.3 Проверка электрических параметров
8.3.1 Электрическое сопротивление токопроводящих жил и нулевой несущей жилы постоянному току (5.2.2.1) измеряют по ГОСТ 7229.
8.3.2 Удельное объемное электрическое сопротивление изоляции и защитной изоляции (5.2.2.2) проверяют по ГОСТ 3345 на образцах изолированных жил длиной не менее 10 м, помещенных в воду при температуре (90 ± 2) °С. Время выдержки в воде перед измерением должно быть не менее 30 мин.
Удельное объемное сопротивление ρ, Ом·см, вычисляют, исходя из измеренного значения сопротивления изоляции, по формуле
(1)
где R - измеренное значение сопротивления изоляции, Ом;
l - длина образца, см;
D - фактический наружный диаметр изолированной жилы, мм;
d - фактический диаметр токопроводящей жилы, мм.
8.3.3 Испытание переменным напряжением (5.2.2.3 - 5.2.2.6) проводят по ГОСТ 2990.
Испытание на соответствие требованиям 5.2.2.4 проводят на образце длиной не менее 10 м, помещенном в воду. Напряжение прикладывают между изолированными жилами, соединенными вместе, и водой после выдержки образца в воде не менее 24 ч.
Испытание на соответствие требованиям 5.2.2.5 проводят на образце провода длиной не менее 500 мм, в середине которого наложен металлический электрод из алюминиевых или медных проволок номинальным диаметром 2,0 мм, навитых виток к витку на длине 100 мм. Напряжение прикладывают между жилой и заземленным металлическим электродом.
Испытание на соответствие требованиям 5.2.2.6 проводят на трех образцах длиной не менее 10 м каждый, помещенных в воду. Концы образца должны отстоять от поверхности воды на расстояние не менее 1,0 м. Скорость подъема напряжения - не менее 0,5 кВ/с.
8.4 Проверка механических параметров
8.4.1 Проверку стойкости к разрывному усилию нулевой несущей жилы и токопроводящей жилы защищенных проводов (5.2.3.1) проводят по ГОСТ 10446 на трех образцах расчетной длиной 200 мм каждый.
Испытания проводят путем определения разрывного усилия проволок из сплава алюминия, взятых из нулевой несущей жилы или токопроводящей жилы защищенных проводов. Испытаниям подвергают 100 % проволок жилы. Разрывное усилие для нулевой несущей жилы или токопроводящей жилы защищенных проводов Р, Н вычисляют по формуле
(2)
где рi - разрывное усилие проволоки, Н;
n - число проволок в жиле.
Полученное значение разрывного усилия нулевой несущей жилы или токопроводящей жилы защищенных проводов должно быть не менее 95 % значений, указанных в таблице 4 (подпункт 5.2.3.1).
(Новая редакция, Изм. № 1).
8.4.2 Проверку усилия сдвига изоляции нулевой несущей жилы (5.2.3.2) проводят на шести образцах длиной не менее 300 мм каждый, отобранных на длине жилы не менее 10 м. Перед испытанием образцы выдерживают при температуре (120 ± 2) °С в течение не менее 1 ч с последующим охлаждением в воде при температуре окружающей среды в течение не менее 16 ч.
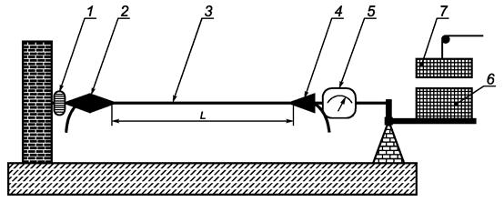
Испытания проводят с помощью устройства, схема которого показана на рисунке 1. Размеры подготовленного для испытаний образца показаны на рисунке 1 в миллиметрах. Устройство с размещенным в нем образцом закрепляют в зажимах разрывной машины. Скорость разведения зажимов должна быть (2 ± 1) см/мин. На каждом образце во время испытаний фиксируют усилие сдвига изоляции.
Минимальное усилие сдвига, измеренное на шести образцах, должно соответствовать указанному в таблице 5.
8.4.3 Испытания на стойкость к монтажным изгибам (5.2.3.3) проводят на образце каждой из изолированных жил провода длиной не менее 0,5 м. Образец выдерживают при температуре минус (40 ± 2) °С в течение не менее 4 ч, после чего извлекают из камеры и изгибают вокруг цилиндра на угол 180° ± 5°, затем образец выпрямляют и изгибают на угол 180° ± 5° в противоположном направлении. Время между выемкой образца из холодильной камеры и началом изгибания должно быть не более 5 мин. Номинальный диаметр испытательного цилиндра должен быть равен четырем минимальным наружным диаметрам изолированной жилы. Предельные отклонения от номинального диаметра цилиндра - ±5 %.
1 - стержень для захвата в зажиме разрывной машины; 2
- упорный подшипник;
3 - корпус устройства; 4 - изоляция; 5 - токопроводящая
жила
Рисунок 1
Образец считают выдержавшим испытание, если после двух двухсторонних изгибов при внешнем осмотре не обнаружено трещин в изоляции.
8.4.4 Проверку стойкости изолированной нулевой несущей жилы к воздействию термомеханических нагрузок (5.2.3.4) проводят на образце нулевой несущей жилы сечением 54,6; 70 или 95 мм2, длиной 5 - 10 м. Образец перед испытанием выдерживают в течение не менее 1 ч при температуре (120 ± 2) °С с последующим охлаждением в течение не менее 16 ч в воде при температуре окружающей среды.
Принципиальная схема установки показана на рисунке 2. Растягивающее усилие прикладывают к образцу через клиновой анкерный зажим (натяжной), используемый для крепления нулевой несущей жилы на концевых опорах.
1 - вращающийся крепежный зажим; 2 - анкерный
зажим; 3 - образец нулевой несущей жилы; 4 - анкерный зажим;
5 - динамометр; 6 - груз; 7 - дополнительный груз; L - длина образца 5 - 10 м
Рисунок 2
Образец подвергают циклическому воздействию термомеханической нагрузки. Продолжительность цикла составляет около 90 мин, в течение которых к образцу прикладывают растягивающее усилие и осуществляют нагрев и охлаждение образца.
В течение первых 45 мин образец нагревают током по жиле (плотность токовой нагрузки - 4 - 5 А/мм2) до температуры (60 ± 3) °С, затем ток выключают и в течение последующих 45 мин образец охлаждают при температуре окружающей среды до (25 ± 10) °С.
Механическая нагрузка в течение 75 мин цикла составляет:
4000 Н - для жилы номинальным сечением 54,6 мм2;
4500 Н - для жилы номинальным сечением 70 мм2;
5000 Н - для жилы номинальным сечением 95 мм2.
В течение следующих 15 мин механическая нагрузка составляет:
7500 Н - для жилы номинальным сечением 54,6 мм2;
10000 Н - для жилы номинальным сечением 70 мм2;
12500 Н - для жилы номинальным сечением 95 мм2.
Увеличение нагрузки должно быть осуществлено не более чем за 5 с.
Схематический цикл термомеханической нагрузки для жилы номинальным сечением 70 мм2 показан на рисунке 3.
1 - температура; 2 - механическая нагрузка
Рисунок 3
Общее число циклов термомеханической нагрузки - 500. Допускаются перерывы между циклами.
После второго цикла испытаний проводят измерение осевого смещения анкерных зажимов относительно первоначального положения на изоляции, которое должно быть не более 4 мм.
После завершения циклов испытаний образец нулевой несущей жилы вместе с зажимами помещают в воду и испытывают на соответствие требованиям 5.2.2.4. Не должно быть пробоя изоляции.
Затем проводят измерение осевого смещения анкерных зажимов относительно первоначального положения на изоляции. Результат считают положительным, если смещение анкерных зажимов после 500 циклов составляет не более 5 мм. В местах крепления зажимов после 500 циклов испытаний проводят измерение деформации изоляции жилы в соответствии с рисунком 4.
Рисунок 4
Деформацию изоляции жилы F, %, вычисляют по формуле
(3)
где δ1 и δ2 - толщина изоляции, измеренная вне зажимов;
δ′1 и δ′2 - толщина деформированной изоляции, измеренная в зоне зажимов.
Деформация изоляции должна быть не более 25 %.
8.5 Проверка стойкости к внешним воздействующим факторам
8.5.1 Проверку стойкости проводов к воздействию повышенной температуры окружающей среды (5.2.4.1) проводят по ГОСТ 20.57.406 (метод 201-1.2) на образце длиной не менее 3 м, свернутом в бухту диаметром не более 20d, где d - фактический диаметр изолированной жилы, мм. Испытание самонесущих изолированных проводов проводят на образце одной из изолированных основных жил.
Образец помещают в камеру тепла, после чего в камере устанавливают температуру (90 ± 2) °С и выдерживают при установившемся режиме не менее 24 ч.
После извлечения образца из камеры его выдерживают в нормальных климатических условиях в течение не менее 1 ч, после чего он должен выдержать испытание переменным напряжением по 5.2.2.3.
8.5.2 Проверку стойкости проводов к воздействию пониженной температуры окружающей среды (5.2.4.2) проводят по ГОСТ 20.57.406 (метод 204-1) на образце длиной не менее 3 м, свернутом в бухту диаметром не более 20d. Испытание самонесущих изолированных проводов проводят на образце одной из изолированных основных жил.
Образец помещают в камеру холода, после чего в камере устанавливают температуру минус (60 ± 2) °С и выдерживают при установившемся режиме не менее 3 ч.
После извлечения образца из камеры его выдерживают в нормальных климатических условиях в течение не менее 1 ч, после чего он должен выдержать испытание переменным напряжением по 5.2.2.3.
8.5.3 Проверку стойкости к воздействию солнечного излучения (5.2.4.3) проводят по ГОСТ 20.57.406 (метод 211-1) на образцах изолированных жил самонесущих изолированных проводов или защищенного провода длиной не менее 0,5 м, навитых на цилиндр номинальным диаметром, равным четырем диаметрам испытуемого образца. Образцы отбирают таким образом, чтобы на их поверхности оказалось отличительное обозначение жилы провода, если оно нанесено печатным способом или в виде цветных продольных полос. Предельные отклонения от номинального диаметра цилиндра - ±5 %.
После извлечения образца из испытательной камеры его выдерживают в нормальных климатических условиях не менее 12 ч и затем помещают в камеру холода на 4 ч при температуре минус (60 ± 2) °С. После извлечения из камеры холода образец выдерживают не менее 12 ч в нормальных климатических условиях и затем осматривают.
Образец считают выдержавшим испытание, если при внешнем осмотре не обнаружено трещин в изоляции.
8.5.4 Проверку стойкости проводов к циклическому воздействию комплекса атмосферных факторов (5.2.4.4) проводят на 18 образцах изоляции основных жил или изолированной нулевой несущей жилы и на образцах защитной изоляции защищенных проводов длиной по (100 ± 10) мм.
Для испытаний подготавливают 3 партии образцов по 6 образцов в каждой. Подготовку образцов проводят в соответствии с ГОСТ Р МЭК 60811-1-1.
Образцы изоляции каждой партии закрепляют на штативах вертикально с натяжением, обеспечивающим относительное удлинение около 20 %.
Первую партию образцов (эталонная партия) помещают в шкаф при температуре окружающей среды без воздействия прямых солнечных лучей на протяжении всего времени испытаний.
Вторую и третью партии образцов помещают в климатическую камеру и подвергают в течение трех недельных циклов воздействиям следующих климатических факторов:
- солнечного излучения при интенсивности излучения с интегральной поверхностной плотностью светового потока (2,2 ± 0,2) мВт/см2 и длине волны светового потока 340 - 400 нм;
- максимальной температуры среды (70 ± 2) °С;
- отрицательной температуры среды минус (40 ± 2) °С;
- орошения дистиллированной водой интенсивностью потока 15 - 25 дм3/ч при температуре воды 10 °С - 30 °С и угле падения около 50°.
После чего вторую партию образцов извлекают из камеры для проверки физико-механических характеристик. Третью партию образцов подвергают дополнительному воздействию климатических факторов в течение следующих трех недельных циклов.
Климатическая камера должна быть оснащена источником ультрафиолетового излучения, состоящим из ксеноновой лампы и кварцевого фильтра. Источник излучения должен обеспечивать световой поток в зоне расположения образцов в сухой атмосфере (относительная влажность - не более 30 %), соответствующий графическому изображению на рисунке 5.
Рисунок 5
При этом с учетом дисперсии излучения ксеноновой лампы и ее старения допускается отклонение мощности светового потока - ±20 % в зоне ультрафиолетового спектра (длина волны - менее 400 нм) и ±50 % для видимого спектра излучения (длина волны - свыше 400 нм).
Процедура испытаний предусматривает недельный цикл (168 ч), включающий в себя следующие режимы в последовательности, указанной в таблице 9.
Таблица 9 - Состав недельного цикла воздействия атмосферных факторов
|
Длительность, ч |
Температура, °С |
Воздействие ультрафиолетового излучения |
Орошение дождем |
Относительная влажность, % |
|
|
А |
0 |
70 ± 2 |
Да |
Нет |
≤30 |
|
71 |
↓ |
Да |
Нет |
↓ |
|
|
В |
72 |
55 ± 2 |
Да |
Да |
60 ± 5 |
|
95 |
↓ |
Да |
Нет |
↓ |
|
|
С |
96 |
70 ± 2 |
Да |
Да |
≤30 |
|
119 |
↓ |
Да |
Да |
↓ |
|
|
D |
120 |
55 ± 2 |
Нет |
Да |
≥95 |
|
121 |
↓ |
Нет |
Да |
* |
|
|
121,25 |
-40 |
Нет |
Нет |
* |
|
|
122,25 |
↓ |
Нет |
↓ |
↓ |
|
|
123,25 |
55 ± 2 |
Нет |
Да |
≥95 |
|
|
124,25 |
↓ |
Нет |
Да |
* |
|
|
124,5 |
-40 |
Нет |
Нет |
* |
|
|
125,5 |
↓ |
Нет |
↓ |
↓ |
|
|
126,5 |
55 ± 2 |
Нет |
Да |
≥95 |
|
|
144 |
↓ |
Нет |
Да |
* |
|
|
144,25 |
-40 |
Нет |
Нет |
* |
|
|
145,25 |
↓ |
Нет |
↓ |
↓ |
|
|
146,25 |
55 ± 2 |
Нет |
Да |
≥95 |
|
|
147,25 |
↓ |
Нет |
Да |
* |
|
|
147,5 |
-40 |
Нет |
Нет |
* |
|
|
148,5 |
↓ |
Нет |
↓ |
↓ |
|
|
149,5 |
55 ± 2 |
Нет |
Да |
≥95 |
|
|
167 |
↓ |
Нет |
Нет |
↓ |
|
|
А |
168 |
70 ± 2 |
Да |
Нет |
≤30 |
|
↓ - переход к следующему режиму. * - не нормировано. |
|||||
Орошение дистиллированной водой осуществляют при помощи инжектора. Продолжительность единичного орошения составляет 3 мин с периодичностью каждые 20 мин.
Графическое изображение недельного цикла испытаний показано на рисунке 6.

UV - ультрафиолетовое излучение.
RF - относительная влажность.
ооооо - орошение водой.
Рисунок 6
После завершения воздействия атмосферных факторов образцы подвергают испытаниям по определению прочности при растяжении R и относительного удлинения при разрыве A по ГОСТ Р МЭК 60811-1-1:
- эталонная партия - A0 и R0;
- вторая партия - A1 и R1;
- третья партия - A2 и R2.
Измеренные средние значения физико-механических характеристик образцов должны удовлетворять следующим соотношениям:
(4)
(5)
(Измененная редакция, Изм. № 1).
8.5.5 Проверку герметизированных проводов на устойчивость к продольному распространению воды (5.2.4.5) проводят по ГОСТ 27893, метод 10Б на образце изолированных жил самонесущих изолированных проводов или защищенного провода.
8.6 Проверка характеристик изоляции и защитной изоляции
8.6.1 Проверку характеристик изоляции и защитной изоляции (5.2.5.1, таблица 6, пункты 1 и 2) до старения проводят по ГОСТ Р МЭК 60811-1-1, старение и проверку механических характеристик после старения - по ГОСТ Р МЭК 60811-1-2.
(Измененная редакция, Изм. № 1).
8.6.2 Проверку стойкости изоляции и защитной изоляции к тепловой деформации (5.2.5.1, таблица 6, пункт 3) проводят по ГОСТ Р МЭК 60811-2-1 (раздел 9).
8.6.3 Проверку водопоглощения изоляции и защитной изоляции (5.2.5.1, таблица 6, пункт 4) проводят по ГОСТ Р МЭК 60811-1-3 (гравиметрический метод).
8.6.4 Проверку усадки изоляции и защитной изоляции (5.2.5.1, таблица 6, пункт 5) проводят по ГОСТ Р МЭК 60811-1-3.
8.6.3, 8.6.4 (Измененная редакция, Изм. № 1).
8.6.5 Проверку стойкости к продавливанию изоляции и защитной изоляции (5.2.5.1, таблица 6, пункт 6) проводят по ГОСТ Р МЭК 60811-3-1 (раздел 8).
8.6.6 Проверку содержания сажи (5.2.5.1, таблица 6, пункт 7) проводят по ГОСТ Р МЭК 60811-4-1.
8.7 Проверка надежности
8.7.1 Проверку срока службы (5.2.6.1) проводят по методикам, разработанным в соответствии с ГОСТ 27.410 и указанным в технических условиях на провода конкретных марок.
8.8 Проверка маркировки и упаковки
8.8.1 Проверку маркировки (5.2.7) и упаковки (5.2.8) проводят внешним осмотром.
8.8.2 Устойчивость отличительного обозначения, выполненного печатным способом или в виде цветных продольных полос (5.2.7.2), подтверждается испытаниями по 8.5.3. После завершения испытаний отличительное обозначение должно быть отчетливо видно при внешнем осмотре.
8.8.3 Проверку прочности маркировки, нанесенной печатным способом (5.2.7.3), проводят легким десятикратным протиранием (в двух противоположных направлениях) ватным или марлевым тампоном, смоченным водой. Результаты испытаний считают положительными, если после протирания расцветка или маркировка отчетливо видна, а тампон не окрашен.
9.1 Транспортирование и хранение проводов должны соответствовать требованиям ГОСТ 18690.
9.2 Условия транспортирования и хранения проводов в части воздействия климатических факторов внешней среды должны соответствовать группе ОЖЗ по ГОСТ 15150.
10.1 Самонесущие изолированные и защищенные провода допускается эксплуатировать при температуре окружающей среды от минус 60 °С до 50 °С.
10.2 Монтаж проводов рекомендуется проводить при температуре окружающей среды не ниже минус 20 °С.
10.3 Подвеска проводов в воздушных линиях электропередачи должна соответствовать требованиям Правил устройства электроустановок [2].
Самонесущие изолированные провода на номинальное напряжение 0,6/1 кВ без нулевой несущей жилы предназначены для выполнения ответвлений от воздушных линий электропередачи к вводу, для прокладки по стенам зданий или сооружений.
Механические напряжения в проводах при их монтаже следует принимать в соответствии с [2] и типовыми проектами опор воздушных линий.
10.4 Расстояние от защищенных проводов до ветвей и кроны деревьев следует принимать в соответствии с [2].
10.5 Радиус изгиба при монтаже и установленного на опорах провода должен быть не менее 10D, где D - расчетный наружный диаметр провода, мм.
10.6 Допустимый нагрев токопроводящих жил при эксплуатации не должен превышать 90 °С в нормальном режиме эксплуатации и 250 °С - при коротком замыкании.
10.7 Допустимые токи нагрузки проводов, рассчитанные при температуре окружающей среды 25 °С, скорости ветра 6 м/с и интенсивности солнечной радиации 1000 Вт/м2, и допустимые токи односекундного короткого замыкания должны соответствовать указанным в таблице 10.
Таблица 10
|
Допустимый ток нагрузки, А, не более |
Допустимый ток односекундного короткого замыкания, кА, не более |
||||
|
Самонесущие изолированные провода |
Защищенные провода |
Самонесущие изолированные провода |
Защищенные провода |
||
|
20 кВ |
35 кВ |
||||
|
16 |
100 |
- |
- |
1,5 |
- |
|
25 |
130 |
- |
- |
2,3 |
- |
|
35 |
160 |
200 |
220 |
3,2 |
3,0 |
|
50 |
195 |
245 |
270 |
4,6 |
4,3 |
|
70 |
240 |
310 |
340 |
6,5 |
6,0 |
|
95 |
300 |
370 |
400 |
8,8 |
8,2 |
|
120 |
340 |
430 |
460 |
10,9 |
10,3 |
|
150 |
380 |
485 |
520 |
13,2 |
12,9 |
|
185 |
436 |
560 |
600 |
16,5 |
15,9 |
|
240 |
515 |
600 |
670 |
22,0 |
20,6 |
11.1 Изготовитель гарантирует соответствие проводов требованиям настоящего стандарта и технических условий на провода конкретных марок при соблюдении правил транспортирования, хранения, монтажа и эксплуатации.
Гарантийный срок эксплуатации - 3 года. Гарантийный срок исчисляют с даты ввода провода в эксплуатацию, но не позднее 6 месяцев с даты изготовления.
Рекомендуемые конструкции нулевой несущей жилы и токопроводящих жил
Таблица А.1 - Рекомендуемые конструкции токопроводящих жил самонесущих изолированных проводов
|
Номинальное сечение основных жил, мм2 |
Число и номинальный диаметр
проволок в жиле, |
Диаметр уплотненной жилы, мм |
|
|
минимальный |
максимальный |
||
|
16 |
7 × 1,79 |
4,60 |
5,10 |
|
25 |
7 × 2,23 |
5,70 |
6,10 |
|
35 |
7 × 2,69 |
6,70 |
7,10 |
|
50 |
7 × 3,28 |
7,85 |
8,35 |
|
70 |
7 × 3,82 |
9,45 |
9,95 |
|
95 |
7 × 4,45 |
11,10 |
11,70 |
|
95 |
19 × 2,70 |
11,00 |
12,00 |
|
120 |
19 × 3,00 |
12,50 |
13,10 |
|
150 |
19 × 3,39 |
14,00 |
14,50 |
|
185 |
19 × 3,76 |
15,45 |
16,15 |
|
240 |
19 × 4,29 |
17,75 |
18,45 |
Таблица А.2 - Рекомендуемые конструкции нулевой несущей жилы самонесущих изолированных проводов и токопроводящей жилы защищенных проводов
|
Номинальное сечение жилы, мм2 |
Число и номинальный диаметр
проволок в жиле, |
Диаметр уплотненной жилы, мм |
|
|
минимальный |
максимальный |
||
|
25 |
7 × 2,30 |
5,70 |
6,10 |
|
35 |
7 × 2,75 |
6,70 |
7,10 |
|
50 |
7 × 3,29 |
7,85 |
8,35 |
|
54,6 |
7 × 3,15 |
9,20 |
9,60 |
|
70 |
7 × 3,89 |
9,45 |
9,95 |
|
95 |
7 × 4,50 |
11,10 |
11,70 |
|
95 |
19 × 2,72 |
12,20 |
12,90 |
|
120 |
19 × 3,07 |
12,50 |
13,10 |
|
150 |
19 × 3,41 |
13,90 |
14,50 |
|
185 |
19 × 3,78 |
15,45 |
16,15 |
|
240 |
19 × 4,41 |
17,75 |
18,45 |
Отличительное
обозначение жил провода продольно выпрессованными
рельефными полосами
1 (первая жила) - одна полоса; 2 (вторая жила)
- две полосы; 3 (третья жила) - три полосы;
N (нулевая жила) - без обозначения.
Размеры a, b и h являются справочными
Рисунок Б.1
[1] МЭК 60 050(461):1984 - Международный электротехнический словарь. Глава 461: Электрические кабели
[2] Правила устройств электроустановок (ПУЭ). Седьмое издание, переработанное и дополненное (Москва, Энергоатомиздат, 2000)
Ключевые слова: провода самонесущие изолированные, провода защищенные, воздушные линии электропередачи, классификация, технические требования, требования безопасности, маркировка, упаковка, правила приемки, методы контроля, транспортирование и хранение, указания по эксплуатации
ПРИМЕЧАНИЕ ФГУП «СТАНДАРТИНФОРМ»
Указанные в разделе 2 «Нормативные ссылки» к ГОСТ Р 52373-2005:
ГОСТ 12175-90 заменен на ГОСТ Р МЭК 60811-1-3-2007 Общие методы испытаний материалов изоляции и оболочек электрических и оптических кабелей. Часть 1 - 3. Методы общего применения. Методы определения плотности. Испытания на водопоглощение. Испытание на усадку;
ГОСТ Р МЭК 811-1-2-94 заменен на ГОСТ Р МЭК 60811-1-2-2006 Общие методы испытаний материалов изоляции и оболочек электрических и оптических кабелей. Часть 1 - 2. Методы общего применения. Методы теплового старения.