Настоящий стандарт распространяется на аппараты воздушного охлаждения, предназначенные для охлаждения газов и жидкостей и конденсирования паровых и парожидкостных сред в технологических процессах химической, нефтехимической, нефтеперерабатывающей, газовой, нефтяной и других отраслях промышленности при давлении среды не более 16,0 МПа или под вакуумом с остаточным давлением не ниже 665 Па и температуре не выше 400°С.
Настоящий стандарт определяет основные требования к изготовлению, контролю и поставке аппаратов воздушного охлаждения.
Климатическое исполнение аппаратов У1 и УХЛ1 - по ГОСТ 15150.
В общем случае аппараты исполнений У1, УХЛ1 поставляют для эксплуатации при рабочей температуре деталей, находящихся под давлением, не ниже минус 40°С.
По прочности металлической несущей конструкции аппараты могут быть использованы для установки в районах с сейсмичностью до 7 баллов [1] и скоростным напором ветра по IV географическому району [2].
Аппараты предназначены для работы на высоте не более 1000 м над уровнем моря.
В отдельных случаях в соответствии с контрактом область применения аппаратов может быть расширена и по требованию заказчика аппараты могут быть изготовлены:
- с усиленной металлической конструкцией - для работы в районах с сейсмичностью до 9 баллов и со скоростным напором ветра по V географическому району;
- в климатическом исполнении УХЛ1 - для эксплуатации с рабочей температурой деталей, находящихся под давлением, ниже минус 40°С;
- по специальным требованиям, связанным с поставкой на экспорт, в том числе в климатическом исполнении Т1 по ГОСТ 15150.
| Обозначение: | ГОСТ Р 51364-99 |
| Название рус.: | Аппараты воздушного охлаждения. Общие технические условия |
| Статус: | действует |
| Дата актуализации текста: | 05.05.2017 |
| Дата добавления в базу: | 01.09.2013 |
| Дата введения в действие: | 01.01.2001 |
| Утвержден: | 25.11.1999 Госстандарт России (Russian Federation Gosstandart 433-ст) |
| Ссылки для скачивания: |
ГОСТ Р51364-99
(ИСО6758-80)
| ГОСУДАРСТВЕННЫЙ СТАНДАРТ РОССИЙСКОЙ ФЕДЕРАЦИИ |
АППАРАТЫ ВОЗДУШНОГО ОХЛАЖДЕНИЯ
Общие технические условия
СОДЕРЖАНИЕ
1. РАЗРАБОТАН И ВНЕСЕНТехническим комитетом по стандартизации ТК 260 «Оборудование химическое инефтеперерабатывающее»
2. ПРИНЯТ ИВВЕДЕН В ДЕЙСТВИЕ Постановлением Госстандарта России от 25 ноября 1999 г. №433-ст
3. ПриложениеА настоящего стандарта представляет собой аутентичный текст ИСО6758-80 «Трубы стальные сварные для теплообменников», приложение Б - ИСО6759-80 «Трубы стальные бесшовные для теплообменников»
4. ВВЕДЕН ВПЕРВЫЕ
ГОСТ Р51364-99
(ИСО6758-80)
| ГОСУДАРСТВЕННЫЙ СТАНДАРТ РОССИЙСКОЙ ФЕДЕРАЦИИ |
| АППАРАТЫ ВОЗДУШНОГО ОХЛАЖДЕНИЯ Общие технические условия Air cooling apparatus. General specifications |
Дата введения2001-01-01
Настоящий стандартраспространяется на аппараты воздушного охлаждения, предназначенные дляохлаждения газов и жидкостей и конденсирования паровых и парожидкостных сред втехнологических процессах химической, нефтехимической, нефтеперерабатывающей,газовой, нефтяной и других отраслях промышленности при давлении среды не более16,0 МПа или под вакуумом с остаточным давлением не ниже 665 Па и температурене выше 400°С.
Настоящий стандартопределяет основные требования к изготовлению, контролю и поставке аппаратоввоздушного охлаждения.
Климатическое исполнениеаппаратов У1 и УХЛ1 - по ГОСТ15150.
В общем случае аппаратыисполнений У1, УХЛ1 поставляют для эксплуатации при рабочей температуредеталей, находящихся под давлением, не ниже минус 40°С.
По прочностиметаллической несущей конструкции аппараты могут быть использованы дляустановки в районах с сейсмичностью до 7 баллов [1]и скоростным напором ветра по IVгеографическому району [2].
Аппараты предназначеныдля работы на высоте не более 1000 м над уровнем моря.
В отдельных случаях всоответствии с контрактом область применения аппаратов может быть расширена ипо требованию заказчика аппараты могут быть изготовлены:
- с усиленнойметаллической конструкцией - для работы в районах с сейсмичностью до 9 баллов исо скоростным напором ветра по Vгеографическому району;
- в климатическомисполнении УХЛ1 - для эксплуатации с рабочей температурой деталей, находящихсяпод давлением, ниже минус 40°С;
- по специальнымтребованиям, связанным с поставкой на экспорт, в том числе в климатическомисполнении Т1 по ГОСТ15150.
В настоящем стандартеиспользованы ссылки на следующие нормативные документы:
ГОСТ 2.601-95 Единая системаконструкторской документации. Эксплуатационные документы
ГОСТ9.005-72 Единая система конструкторской документации. Допустимые инедопустимые контакты металлов. Общие требования
ГОСТ9.014-78 Единая система защиты от коррозии и старения материалов и изделий.Временная противокоррозионная защита изделий. Общие требования
ГОСТ9.032-74 Единая система защиты от коррозии и старения материалов и изделий.Покрытия лакокрасочные. Группы, технические требования и обозначения
ГОСТ9.104-79 Единая система защиты от коррозии и старения материалов и изделий.Покрытия лакокрасочные. Группы условий эксплуатации
ГОСТ9.401-91 Единая система защиты от коррозии и старения материалов и изделий.Покрытия лакокрасочные. Общие требования и методы ускоренных испытаний настойкость к воздействию климатических факторов
ГОСТ9.402-80 Единая система защиты от коррозии и старения материалов и изделий.Покрытия лакокрасочные. Подготовка металлических поверхностей передокрашиванием
ГОСТ9.403-80 Единая система защиты от коррозии и старения материалов и изделий.Покрытия лакокрасочные. Методы испытаний на стойкость к статическомувоздействию жидкостей
ГОСТ 12.1.003-83 Системастандартов безопасности труда. Шум. Общие требования безопасности
ГОСТ12.1.007-76 Система стандартов безопасности труда. Вредные вещества.Классификация и общие требования безопасности
ГОСТ 12.1.012-90Система стандартов безопасности труда. Вибрационная безопасность. Общиетребования
ГОСТ12.1.028-80 Система стандартов безопасности труда. Шум. Определение шумовыххарактеристик источников шума. Ориентировочный метод
ГОСТ12.2.003-91 Система стандартов безопасности труда. Оборудованиепроизводственное. Общие требования безопасности
ГОСТ12.2.007.0-75 Система стандартов безопасности труда. Изделияэлектротехнические. Общие требования безопасности
ГОСТ12.2.020-76 Система стандартов безопасности труда. Электрооборудованиевзрывозащищенное. Классификация. Маркировка
ГОСТ 12.4.026-76Система стандартов безопасности труда. Цвета сигнальные и знаки безопасности
ГОСТ15.001-88 Система разработки и постановки продукции на производство.Продукция производственно-технического назначения
ГОСТ15.005-86 Система разработки и постановки продукции на производство.Создание изделий единичного и мелкосерийного производства, собираемых на местеэксплуатации
ГОСТ26.008-85 Шрифты для надписей, наносимых методом гравирования.Исполнительные размеры
ГОСТ26.020-80 Шрифты для средств измерений и автоматизации. Начертания иосновные размеры
ГОСТ27.002-89 Надежность в технике. Основные понятия. Термины и определения
ГОСТ27.410-87 Надежность в технике. Методы контроля показателей надежности ипланы контрольных испытаний на надежность
ГОСТ 166-89 (ИСО 3599-76)Штангенциркули. Технические условия
ГОСТ 380-94 Стальуглеродистая обыкновенного качества. Марки
ГОСТ 481-80 Паронити прокладки из него. Технические условия
ГОСТ550-75 Трубы стальные бесшовные для нефтехимической промышленности. Техническиеусловия
ГОСТ 977-88 Отливкистальные. Общие технические условия
ГОСТ1050-88 Прокат сортовой калиброванный, со специальной отделкой поверхностииз углеродистой качественной конструкционной стали. Общие технические условия
ГОСТ 1759.0-87Болты, винты, шпильки и гайки. Технические условия
ГОСТ1759.4-87 (ИСО 898-1-78) Болты, винты и шпильки. Механические свойства иметоды испытаний
ГОСТ 1759.5-87 (ИСО898-2-80) Гайки. Механические свойства и методы испытаний
ГОСТ4543-71 Прокат из легированной конструкционной стали. Технические условия
ГОСТ 4784-97Алюминий и сплавы алюминиевые деформируемые. Марки
ГОСТ 5494-95 Пудраалюминиевая пигментная (порошок алюминиевый). Технические условия
ГОСТ5520-79 Сталь листовая углеродистая низколегированная и легированная длякотлов и сосудов, работающих под давлением. Технические условия
ГОСТ5632-72 Стали высоколегированные и сплавы коррозионностойкие, жаростойкие ижаропрочные. Марки
ГОСТ7350-77 Сталь толстолистовая коррозионностойкая, жаростойкая и жаропрочная.Технические условия
ГОСТ 7502-98Рулетки измерительные металлические. Технические условия
ГОСТ8479-70 Поковки из углеродистой и легированной стали. Общие техническиеусловия
ГОСТ8731-74 Трубы стальные бесшовные горячедеформированные. Технические условия
ГОСТ8733-74 Трубы стальные бесшовные холоднодеформированные итеплодеформированные. Технические условия
ГОСТ9038-90 Меры длины концевые плоскопараллельные
ГОСТ 9109-81Грунтовка ФЛ-ОЗК и ФЛ-ОЗЖ. Технические условия
ГОСТ9940-81 Трубы бесшовные горячедеформированные из коррозионностойкой стали.Технические условия
ГОСТ9941-81 Трубы бесшовные холодно- и теплодеформированные изкоррозионностойкой стали
ГОСТ10198-91 Ящики деревянные для грузов массой свыше 200 до 20000 кг. Общиетехнические требования
ГОСТИСО 10816-1-97 Вибрация. Контроль состояния машин по результатам измеренийвибрации на невращающихся частях. Общие требования
ГОСТ 12971-67Таблички прямоугольные для машин и приводов. Размеры
ГОСТ 14192-96 Маркировка грузов
ГОСТ 14249-89Сосуды и аппараты. Нормы и методы расчета на прочность
ГОСТ14637-89 Прокат толстолистовой из углеродистой стали обыкновенногокачества. Технические условия
ГОСТ15150-69 Машины, приборы и другие технические изделия. Исполнения дляразличных климатических районов. Категории, условия эксплуатации, хранения итранспортирования в части воздействия климатических факторов внешней среды
ГОСТ 15907-70 Лаки ПФ-170и ПФ-171. Технические условия
ГОСТ16350-80 Климат СССР. Районирование и статистические параметрыклиматических факторов для технических целей
ГОСТ16523-97 Прокат тонколистовой из углеродистой стали качественной иобыкновенного качества общего назначения. Технические условия
ГОСТ 8018-70 Лакэлектроизоляционный пропиточный ГФ-95. Технические условия
ГОСТ18475-82 Трубы холоднодеформированные из алюминия и алюминиевых сплавов.Технические условия
ГОСТ19281-89 (ИСО 4950-2-81, ИСО 4950-3-81, ИСО 4951-79, ИСО 4995-78, ИСО4996-78, ИСО 4952-83) Прокат из стали повышенной прочности. Общие техническиеусловия
ГОСТ 19433-88 Грузыопасные. Классификация и маркировка
ГОСТ 20072-74 Стальтеплоустойчивая. Технические условия
ГОСТ21130-75 Изделия электротехнические. Зажимы заземляющие и знаки заземления.Конструкция и размеры
ГОСТ21646-76 Трубы латунные для теплообменных аппаратов. Технические условия
ГОСТ22061-76 Система классов точности балансировки. Машины и техническоеоборудование. Основные положения
ГОСТ 23170-78Упаковка для изделий машиностроения. Общие требования
ГОСТ 24297-87Входной контроль продукции. Основные положения
ГОСТ24444-87 Оборудование технологическое. Общие требования монтажнойтехнологичности
ГОСТ24634-81 Ящики деревянные для продукции, поставляемой для экспорта. Общиетехнические условия
ГОСТ25054-81 Поковки из коррозионностойких сталей и сплавов. Общие техническиеусловия
ГОСТ25346-89 Основные нормы взаимозаменяемости. Единая система допусков ипосадок. Общие положения, ряды допусков и основных отклонений
ГОСТ25348-82 Основные нормы взаимозаменяемости. Единая система допусков ипосадок. Ряды допусков, основных отклонений и поля допусков для размеров свыше3150 мм
ГОСТ25670-83 Основные нормы взаимозаменяемости. Предельные отклонения размеровс неуказанными допусками
ГОСТ25822-83 Сосуды и аппараты. Аппараты воздушного охлаждения. Нормы и методырасчета на прочность
ГОСТ26191-84 Масла, смазки и специальные жидкости. Ограничительный перечень ипорядок назначения
ГОСТ27772-88 Прокат для строительных конструкций. Общие технические условия
ГОСТ28759.3-90 Фланцы сосудов и аппаратов стальные приварные встык. Конструкцияи размеры
ГОСТ29329-92 Весы для статического взвешивания. Общие технические требования
ГОСТР 50460-92 Знак соответствия при обязательной сертификации. Форма, размерыи технические требования
ИСО 2604-2-75* Стальныеизделия, используемые в условиях повышенного давления. Требования к качеству.Часть 2. Кованые бесшовные трубы
ИСО 2604-3-75* Стальныеизделия, используемые в условиях повышенного давления. Требования к качеству.Часть 3. Трубы, сваренные с помощью контактной и индукционной сварки.
ИСО 2604-5-78* Стальныеизделия, используемые в условиях повышенного давления. Требования к качеству.Трубы из аустенитной стали, сваренные продольно
ИСО 2954-75* Механическаявибрация машин с вращательным и возвратно-поступательным движением. Требованияк приборам для измерения интенсивности вибрации
ИСО 4200-91* Гладкиеконцы стальных труб сварных и бесшовных. Общая таблица размеров и масс наединицу длины.
* Оригиналы международных стандартов ИСО/МЭКнаходятся во ВНИИКИ и ВНИИНМАШ Госстандарта России.
3.1 Аппарат воздушногоохлаждения (далее - аппарат) представляет собой теплообменный аппарат,состоящий из следующих основных частей:
теплообменной поверхности(теплообменная секция);
системы подачи воздуха,включающей вентилятор с приводом от электродвигателя, диффузор с коллектором;
опорнойметаллоконструкции.
Типичная конструкция аппаратаприведена на рисунке 1.
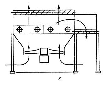
3.1.1. По способупринудительной подачи охлаждающего воздуха на теплообменную поверхностьаппараты подразделяют на два вида:
- нагнетательный (рисунок1а);
- вытяжной (рисунок 1б).
3.1.2. По расположениютеплообменных секций в пространстве аппараты подразделяют на горизонтальные,вертикальные, зигзагообразные и дельтаобразные.
3.1.3. По условиямэксплуатации аппараты могут быть снабжены дополнительными устройствами,обеспечивающими рециркуляцию нагретого в теплообменных секциях воздуха, дляпредотвращения переохлаждения продукта в зимнее время.
По этому признакуаппараты подразделяют следующим образом: а) без рециркуляции (см. рисунок 1);


а - аппарат нагнетательного вида; б- аппарат вытяжного вида
1 -теплообменная секция; 2- колесовентилятора; 3 - приводвентилятора; 4- диффузор сколлектором; 5 - металлоконструкция
Рисунок 1 - Конструкция аппарата воздушногоохлаждения


a - с внутренней рециркуляцией;б - с внешней рециркуляцией
Рисунок 2 - Аппараты воздушного охлаждения
б) с внутреннейрециркуляцией через соседний вентилятор (рисунок 2а);
в) с внешним коробом длярециркуляции (рисунок 2б).
Типичная конструкциятеплообменной секции приведена на рисунке 3.
3.2. В зависимости отконструкции камер теплообменных секций аппараты могут быть:
а) с разъемными камерамина давление до 6,3 МПа;
б) с цельносварнымикамерами с пробками на давление до 10 МПа;
в) с трубчатыми камерамина давление свыше 10 МПа. Основные типы камер приведены на рисунке 4.
3.3. Дополнительноаппараты могут быть оснащены:
а) увлажнителем воздуха,необходимым для снятия пиковых нагрузок в летнее время;
б) подогревателемвоздуха, устанавливаемым перед теплообменной секцией в потоке воздуха;
в) подогревателемпродукта типа «труба в трубе», конструктивно объединенным с трубным пучкомтеплообменной секции;

1 - трубный пучок; 2 - крышка камеры; 3 и 4 - неподвижная и подвижная трубные доски; 5 - боковая стенка; 6 - балка; 7 - дистанционирующийэлемент
Рисунок 3 -Конструкция теплообменной секции
г) жалюзийнымустройством;
д) приводами измененияугла наклона лопаток жалюзи и лопастей вентилятора.
3.4. Конструкцияаппаратов, их основные параметры и размеры, а также условное обозначение должнысоответствовать нормативной и конструкторской документации.


а, б, в - разъемные камеры надавление до ,3 МПа; г, д - цельносварные камеры с пробками на давление до 10,0МПа; е - трубчатые камеры на давление свыше 10,0 МПа
Рисунок 4 - Основные типы камер теплообменных секций
4.1. Характеристикиаппаратов воздушного охлаждения
4.1.1. Показателиназначения аппаратов должны соответствовать приведенным в нормативной иконструкторской документации на аппараты конкретных типов.
4.1.2. Характеристикиаппаратов, обеспечивающие при изготовлении соответствие аппаратов показателямназначения, приведены в таблице 1.
Указанные в таблице 1характеристики должны подтверждаться при проведении приемочных, периодических исертификационных испытаний аппаратов.
| Наименование показателя назначения | Характеристика аппарата, обеспечивающая заданный показатель назначения |
| 1. Теплопроизводительность | Площадь поверхности теплообмена |
| Тепловой контакт оребрения с несущей трубой | |
| Производительность вентилятора | |
| 2. Давление расчетное или условное* | Прочность |
| 3. Температура расчетная | Тип оребрения |
| * В соответствии с конструкторской документацией. | |
4.1.3.Теплообменные секции аппаратов должны быть герметичными. Класс герметичности 4и 5 по ОСТ 26-11-14 [1] взависимости от применяемой среды и ее параметров.
4.1.4.Показатели надежности аппаратов воздушного охлаждения:
наработка до отказа, ч. 15000,
ресурс до капитальногоремонта, ч. 50000,
расчетный срок службы для аппаратов, работающих нанекоррозионных и малокоррозионных средах (при скорости коррозии до 0,1 мм вгод), лет 20
Примечание. Указанные показатели всоответствии с ГОСТ27.002 до наступления отказа, срока ремонта и предельного состоянияявляются прогнозируемыми. Браковочный уровень значения срока службы:
- для аппаратов, работающих на средах со скоростьюкоррозии до 0,1 мм в год, - 16 лет;
- для аппаратов специальной конструкции илиработающих на средах со скоростью коррозии > 0,1 мм в год - по согласованиюс заказчиком. Расчетный срок службы должен быть занесен в паспорт аппарата.
4.2. Требования кконструкции
4.2.1. Общие положения
Аппараты воздушногоохлаждения должны изготовляться в соответствии с требованиями настоящегостандарта и комплекта конструкторской документации, утвержденной вустановленном порядке. Конструкторская документация сборочных единиц и деталей,работающих под давлением или вакуумом, должна быть разработана с учетомтребований [4]и [6].Конструкторская документация на металлические несущие конструкции должнаучитывать требования [5]и [6].
В конструкторскойдокументации на аппарат должны быть учтены специальные требования заказчика всоответствии с разделом 1.
4.2.2. Требования ктеплообменной секции
4.2.2.1. Теплообменнаясекция должна представлять собой законченную сборочную единицу и может бытьпоставлена заказчику как в сборе с аппаратом, так и отдельно.
Трубы теплообменнойсекции могут быть изготовлены в соответствии с приложениямиА и Б(ИСО 6758 и ИСО 6759).
4.2.2.2. В конструкциисекции должны быть предусмотрены строповые устройства, обеспечивающие удобствотранспортирования и монтажа.
4.2.2.3. Конструкциятеплообменной секции должна быть жесткой и исключать прогиб трубного пучка, чтодостигается установкой поперечных опор под нижним рядом труб идистанционирующих элементов, располагающихся между рядами труб над опорами.
Допускается плавныйпрогиб труб в рабочем положении не более 0,6 внутреннего диаметра трубы.
4.2.2.4. В конструкциисекции должна быть предусмотрена возможность компенсации теплового расширениятруб.
4.2.2.5. Конструкциясекций должна обеспечивать возможность удаления воздуха и продукта, для чего вверхней и нижней точках камеры должны быть предусмотрены специальные резьбовыеотверстия, заглушаемые пробками, либо могут быть использованы штуцеры камер,установленные в этих точках.
4.2.2.6.Трубы аппаратов, предназначенных для охлаждения продукта с конденсирующимисяфракциями, должны иметь уклон не менее 1:100 в сторону выхода продукта.
4.2.2.7. В зависимости оттемпературы охлаждаемой среды и материального исполнения теплообменной секции,условное обозначение которого принято в соответствии с приложениемВ, в аппаратах могут применяться теплообменные трубы с различнымиспособами оребрения в соответствии с таблицей 2.
| Способ оребрения | Условия применения |
| 1 Поперечно-винтовое накатывание ребер на алюминиевой трубе, надетой на гладкую несущую трубу, с образованием биметаллической оребренной трубы | До 300°С при материальных исполнениях Б1, Б2.1, Б3, Б3.1, Б4, Б4.1. |
| 2 Образование ребер методом навивки алюминиевой ленты с последующей завальцовкой ее в винтовую канавку на поверхности несущей трубы | До 350°С при материальном исполнении Б1. |
| Способ не применяется в аппаратах исполнения Т1 | |
| 3 Образование L-образных ребер методом навивки с натягом алюминиевой ленты на несущую трубу: |
|
| а) с насечкой наружной поверхности несущей трубы | До 200°С |
| б) без насечки наружной поверхности несущей трубы | До 150°С |
| 4 Образование ребер методом навивки стальной ленты с обваркой | До 400°С при материальном исполнении Б1 |
| Примечание - Допускается применять трубы с другим типом оребрения или без него. | |
4.2.2.8. Переднанесением оребрения наружная поверхность несущих труб материального исполненияБ1 должна быть очищена от ржавчины, коррозии и консервационных смазок.
Технология и контролькачества очистки поверхности несущих труб должны определяться технологическойинструкцией предприятия-изготовителя.
4.2.2.9. При навивке поднатягом L-образныхребер концы ребер должны быть закреплены для того, чтобы предотвратитьослабление или разматывание ребер при эксплуатации.
4.2.2.10. Для оребрениятруб методом навивки с завальцовкой алюминиевой ленты в канавку рекомендуетсяиспользовать трубы с предельными отклонениями по наружному диаметру и толщине,соответствующими группе А по ГОСТ550 или требованиям приложенияБ.
Толщина трубы при этомспособе оребрения должна измеряться от дна канавки до внутренней поверхноститрубы.
4.2.2.11. Дефектыповерхности оребренных труб, возникающие в процессе оребрения и изготовлениясекции, ограничиваются требованиями технологических инструкцийпредприятия-изготовителя, согласованных с организацией, специализированной потехнологии изготовления аппаратов воздушного охлаждения (см. приложениеД). Дефекты не должны выводить площадь поверхности теплообмена запределы минусового допуска, указанного в конструкторской документации.
4.2.2.12. По требованиюЗаказчика после проведения операции оребрения оребренные поверхности должныбыть очищены от продуктов смазочно-охлаждающей жидкости.
Технология очистки иметоды контроля оребренных поверхностей определяются технологическойинструкцией предприятия-изготовителя, степень очистки - по согласованным соспециализированной технологической организацией образцам-эталонам.
4.2.2.13.Трубы не должны иметь стыковых швов.
При изготовленииаппаратов с длиной труб свыше 6 м допускается один кольцевой сварной шов,выполняемый на оребренной трубе, при условии проведения радиографическогоконтроля сварного шва в объеме 100 % с последующим гидроиспытанием каждойтрубы: для труб, применяемых в АВО с рабочим (условным) давлением:
- до 6,3 МПа - пробнымдавлением 10 МПа, но не большим, чем предусмотрено по стандарту на конкретнуютрубу;
- свыше 6,3 МПа -двухкратным рабочим давлением, но не большим, чем предусмотрено по стандарту наконкретную трубу.
Длина неоребренногоучастка труб в месте сварного шва не должна превышать 100 мм. Для улучшенияраспределения воздуха в секции (исключения проскока воздуха в зоне сварныхшвов) швы соседних рядов труб должны быть смещены относительно друг друга, анеоребренный участок верхнего ряда закрыт дефлектором.
4.2.2.14. Крепление трубв трубных решетках цельносварных и разъемных камер - в соответствии синструкцией предприятия-изготовителя, разработанной в соответствии стребованиями [7] и[8]и согласованной со специализированной технологической организацией.
В теплообменных секцияхдля охлаждения взрывоопасных и токсичных сред должны быть использованы трубы сотклонениями по наружному диаметру, регламентированными стандартами, указаннымив [7],приложение 1, а для классов точности соединения труб с трубной решеткой 2 и 3 -также международными стандартами. При использовании труб, не обеспечивающихкласс соединения, рекомендованный [7],приложение 2, в инструкции предприятия-изготовителя по контролю качествакрепления труб в трубных решетках должны быть предусмотрены зависимые допускина размер внутреннего диаметра трубы после развальцовки, обеспечивающиесоответствие степени развальцовки, указанной в [7],таблица 8.
Развальцовка труб безавтоматического ограничения крутящего момента с контролем степени развальцовкитолько измерением внутренних диаметров труб допускается при обмере ипаспортизации всех трубных отверстий в решетках и всех вальцуемых концов труб.
Крепление труб втрубчатых камерах должно производиться сваркой.
4.2.2.15. Зазор от краяоребрения до трубной решетки или дефлектора должен быть (15 ±5) мм, ширинадефлектора - не более 30 мм.
4.2.2.16. При изготовлениитеплообменной секции допускается заглушать трубы в количестве:
- одной трубы - в секциис числом труб до 124;
- двух труб - в секции счислом труб свыше 124 до 200;
- трех труб - в секции счислом труб свыше 200.
В отдельных секцияхмногосекционных аппаратов допускается увеличивать число заглушаемых труб, еслисуммарное число заглушаемых в аппарате труб не превышает нормированного.
4.2.3 Требования к камерам
4.2.3.1.В многоходовых аппаратах, где разность температур среды в начале одного хода иконце последующего превышает 100°С, камеры должны быть выполнены раздельными.
4.2.3.2.Площадь проходного сечения отверстий в усиливающей перегородке для проходасреды должна быть в 1,2 раза больше площади внутреннего сечения труб одногохода за перегородкой.
4.2.3.3. Расчет напрочность камер секций - по ГОСТ25822 и ГОСТ 14249.
4.2.3.4. Разъемные камеры
Шероховатостьуплотнительных поверхностей в соединениях разъемных камер должна быть не ниже Ra 6,3 в соответствии с ГОСТ28759.3 для давления до 6,3 МПа.
Тип прокладок камерразъемной конструкции должен быть определен в нормативной документациипредприятия-изготовителя.
Ширина прокладки крышкидолжна быть не менее 9 мм.
Для облегчения демонтажав крышке должны быть предусмотрены отжимные болты или зазор между крышкой ирешеткой не менее 5 мм.
Номинальный диаметршпилек должен быть не менее 16 мм.
4.2.3.5. Цельносварныекамеры
Для обеспечения доступа ктеплообменным трубам напротив каждой трубы должны быть предусмотрены отверстияпод пробки.
Разность диаметровотверстия под пробку и номинального наружного диаметра теплообменной трубыдолжна быть не менее 1 мм.
Шероховатостьуплотнительньгх поверхностей отверстий под пробки должна быть не ниже Ra 6,3.
Пробки должны быть сбуртиком и с цилиндрической резьбой.
Пустотелые пробки недопускаются.
Пробки должны иметьшестигранную головку. Минимальный размер головки «под ключ» должен быть неболее диаметра буртика пробки.
Уплотнение пробки должновыполняться с помощью прокладки, размещенной между буртиком и стенкой камеры.
Длина резьбового участкапробки должна быть равна толщине решетки (без учета глубины выточки подпрокладку) минус 1,5 мм.
4.2.4. Требования кподогревателю воздуха
4.2.4.1. Подогревательвоздуха в общем случае должен представлять собой самостоятельную сборочнуюединицу, состоящую из однорядного прямотрубного пучка оребренных труб,вваренных в коллекторы.
4.2.4.2. Контроль сварныхшвов в подогревателе производится в соответствии с требованиями [4],предъявляемыми к сосудам группы 4.
4.2.5. Требования к патрубкам идругим соединениям
4.2.5.1. Патрубкидиаметром от 40 мм и более должны быть выполнены с фланцами.
4.2.5.2. Размеры фланца иего присоединительной поверхности должны быть выполнены в соответствии снормативной документацией.
4.2.6. Требования квентиляторам
4.2.6.1. Применяемые ваппаратах вентиляторы должны быть осевого типа.
4.2.6.2.Размер колеса вентилятора и расположение его в аппарате должны соответствоватьследующим требованиям:
- площадь проходногосечения вентилятора должна быть не менее 40 % площади фронтального сеченияперед теплообменной секцией, обдуваемой этим вентилятором;
- расстояние отколлектора вентилятора до теплообменной секции должно быть не менее 0,4диаметра вентилятора;
- номинальный радиальныйзазор между концом лопасти и внутренней поверхностью коллектора вентилятора недолжен превышать 0,5 % диаметра колеса вентилятора, при этом отклонение недолжно быть более 25 %, номинальный радиальный зазор должен быть не более 25мм.
4.2.6.3.Окружная скорость концов лопастей вентилятора не должна превышать 65 м/с.
4.2.6.4. Допускаемыеотклонения линейных размеров проточной части вентилятора должны быть в пределахполей допусков не ниже 14-го квалитета по ГОСТ25346 и ГОСТ25348. Неравномерность зазора не должна превышать:
3 мм - при диаметрахколеса до 2250 мм;
5 мм - при диаметрахсвыше 2250 мм.
4.2.6.5. Материалы концовлопастей и коллектора вентилятора должны исключать возможность искрообразованияв случае касания лопастей поверхности коллектора.
4.2.6.6. Вариантрегулирования угла поворота лопастей вентилятора - вручную при остановленном вентилятореили автоматически с помощью пневмопривода без остановки вентилятора - долженбыть предусмотрен в технической документации на аппарат воздушного охлажденияконкретного типа.
4.2.6.7. Вентиляторыаппаратов должны быть оснащены съемным защитным ограждением. Размер ячейкиограждения вентилятора не должен превышать 50 мм.
4.2.6.8. Минимальноерасстояние от ограждения вентилятора до его лопастей при их максимальномрабочем угле должно быть 150 мм.
4.2.6.9. После сборкиперед окраской колесо вентилятора должно быть статически сбалансировано.Допустимый остаточный дисбаланс Д,г/см, не должен превышать рассчитываемого по формуле:
,
где М - расчетнаямасса колеса вентилятора, кг;
п - частотавращения вентилятора, мин-1.
Балансировочные грузыдолжны привариваться к внутренней поверхности ступицы вентилятора. Допускаетсяих крепление с помощью заклепок.
4.2.6.10. Вентиляторымогут быть оснащены следующими видами приводов:
- непосредственный(колесо вентилятора установлено на вал электродвигателя с использованиемшпоночного соединения);
- с клиноременнойпередачей;
- редукторный.
Типы приводов приведенына рисунках 5 и 6.




а -непосредственный; б - клиноременный; в - редуктор с параллельными валами; г -редуктор с перпендикулярными валами
Рисунок 5 -Приводы аппаратов нагнетательного вида




а -непосредственный; б - клиноременный; в - редуктор с параллельными валами; г -редуктор с перпендикулярными валами
4.2.7. Требования к электродвигателям
4.2.7.1.Электродвигатели, служащие приводами вентиляторов, должны быть многофазнымиасинхронного типа.
4.2.7.2. Класс точностибалансировки привода 3 - по ГОСТ22061 (оговаривается при заказе электродвигателя).
4.2.7.3. Исполнениедвигателя и его техническая характеристика должны соответствовать условиямработы аппарата.
4.2.7.4. Установочнаямощность электродвигателя должна превышать мощность, потребляемую вентилятором,не менее чем на 10 %.
4.2.7.5. В аппаратах срециркуляцией воздуха электродвигатели должны быть рассчитаны на работу притемпературах окружающей среды с учетом рециркуляционных потоков воздуха.
4.2.8. Требования к передаче
4.2.8.1. В раме приводоввентиляторов должны быть предусмотрены резьбовые отверстия для регулировочныхболтов.
4.2.8.2. Смазка и масло впередаче должны быть приняты в соответствии с ГОСТ26191.
4.2.8.3. Открытыедвижущиеся части передачи должны иметь ограждения.
4.2.9. Требования к жалюзи
4.2.9.1. Конструкциясистемы тяг жалюзийной решетки должна обеспечивать синхронность перемещениялопаток жалюзи. Зазор между соседними лопатками при закрытых жалюзи дляаппаратов с рециркуляцией воздуха не должен превышать 3 мм.
4.2.9.2. Зазор междулопатками жалюзи (у их концов) и боковыми стенками не должен превышать 6 мм.
4.2.9.3. Конструкциялопаток и каркаса жалюзи должна быть жесткой и исключать перекос прилегающихкромок лопаток.
4.2.9.4.При использовании привода его мощность должна не менее чем в два раза превышатьнеобходимую мощность, которая требуется для перемещения жалюзийных заслонок.
4.2.9.5. Пневмопривод потребованию заказчика может быть оснащен позиционером.
4.2.9.6.Жалюзийная решетка, оснащенная приводом, должна быть снабжена концевымиуказателями положения жалюзи с подачей сигнала на пульт управления.
4.2.9.7. При ручнойрегулировке работы жалюзи должно быть предусмотрено стопорное устройство.
4.2.9.8.Жалюзийные решетки при ручном регулировании поворотом лопаток по требованиюзаказчика могут быть оснащены удлинителями для осуществления ручногорегулирования с земли или с площадки.
4.2.9.9. Материалподшипниковых втулок для опоры осей жалюзийных лопаток должен выдерживатьмаксимальную температуру продукта при входе в аппарат.
4.2.10. Конструктивныетребования к аппарату в целом
4.2.10.1. Качество ихарактеристики покупных комплектующих изделий должны соответствоватьдействующей нормативной документации на их изготовление и поставку.
4.2.10.2. Климатическоеисполнение комплектующих изделий должно соответствовать климатическомуисполнению аппарата.
4.2.10.3. Предельныеотклонения размеров на необрабатываемые поверхности и сварные конструкции, неуказанные в конструкторской документации, не должны превышать соответствующихочень грубому классу точности, отклонения размеров между обрабатываемыми инеобрабатываемыми поверхностями - грубому классу точности, на обрабатываемыеповерхности - среднему классу точности по ГОСТ25670.
Предельные отклоненияприсоединительных размеров аппаратов, не указанные в конструкторскойдокументации, должны соответствовать среднему классу точности по ГОСТ25670.
4.2.10.4. Приприсоединении листов обшивки на диффузорах, коллекторах вентиляторов, жалюзи идругих малонагруженных элементах аппарата допускается применение прерывистыхшвов, контактной сварки и электрозаклепок.
4.2.10.5. На элементахметаллоконструкции аппарата должны быть предусмотрены заземляющие зажимы по ГОСТ21130. Место установки зажима должно быть указано в монтажной документации.
4.2.10.6.Для дополнительного охлаждения технологических продуктов в жаркое время годааппарат по требованию заказчика может быть снабжен увлажнителем с форсуночнымраспылением воды.
4.2.11. Требования к материалам
4.2.11.1. Дляизготовления деталей аппаратов должны применяться материалы, обеспечивающие ихнадежную работу в течение расчетного срока службы с учетом заданных условийэксплуатации.
4.2.11.2. По химическомусоставу и механическим свойствам материалы должны соответствовать требованиямгосударственных стандартов, технических условий, [4]и [6].
4.2.11.3. При выборематериалов для изготовления деталей аппарата (секций), работающих поддавлением, следует учитывать:
- расчетное давление;
- температуру стенки(минимальную отрицательную и максимальную положительную);
- состав (содержаниеотдельных компонентов и примесей) и характер среды (коррозионноактивный,взрывоопасный, токсичный и т.п.);
- технологическиесвойства (свариваемость, коррозионную стойкость и коррозионно-механическуюпрочность).
4.2.11.4. Материалы,применяемые при изготовлении основных деталей и сборочных единиц секции,работающих под давлением, и соответствующее им условное обозначениематериального исполнения секции приведены в таблице В1.
Данные об этих материалахдолжны быть занесены в паспорт аппарата.
4.2.11.5. Требования кматериалам деталей аппарата (секций), работающих под давлением, виды и объемыиспытаний и требуемое состояние поставки должны соответствовать требованиям [4]и [6].
4.2.11.6. Требования кприменяемым материалам и материалы для изготовления остальных деталей исборочных единиц аппаратов приведены в таблице В2 приложения В.
4.2.11.7. Требования к сварочнымматериалам - по [4],[6].
4.2.11.8. Приизготовлении аппаратов в климатическом исполнении У1 минимальная температурастенки деталей, работающих под давлением, может быть по согласованию сзаказчиком принята минус 30°С. В этом случае дополнительно к материалам,указанным в 4.2.11.4, могут быть выбраны материалы по [4].Рекомендуемый перечень этих материалов приведен в приложенииГ.
4.2.11.9. В случаепоступления стальных труб секций без гарантии гидроиспытанийпредприятия-поставщика труб каждая труба должна быть подвергнута гидроиспытаниюна предприятии-изготовителе аппаратов в соответствии с требованиями 5.11 [4]и 4.2.2.13.
Теплообменные трубы дооребрения не должны иметь сварных швов.
Применение электросварныхтруб, в том числе по ИСО 6758, не допускается, кроме случаев применения труббез оребрения в соответствии с примечанием к таблице 2.
4.2.11.10. Для оребрениятруб методом накатки в качестве заготовки должны применяться трубы из алюминиямарки АД1 по ГОСТ18475 или по технической документации, утвержденной в установленномпорядке.
Для оребрения трубметодом навивки должна применяться лента из алюминия марки АД1М по ГОСТ4784 или по технической документации, утвержденной в установленном порядке.
Допускается применениедругих марок алюминия.
При оребрении трубметодом навивки стальной лентой с обваркой марку стали для ребер выбираетпредприятие-изготовитель.
4.2.11.11. Ответныефланцы секций должны быть изготовлены из стали того же класса, что и основныефланцы, а для секций материального исполнения Б3.1и Б4.1 из стали того же класса, что ирешетка.
4.2.11.12. Материал итехнические требования на изготовление крепежных деталей секций, работающих поддавлением, должны соответствовать требованиям [4],[9]и [6].
Для шпилек креплениякрышек применяют материалы с пределом текучести не менее 600 МПа (60 кгс/мм2)и пределом прочности не менее 750 МПа (75 кгс/мм2).
4.2.11.13. Резьбовыепробки должны быть изготовлены из стали того же класса, что и камеры.
4.2.11.14. Прокладкисоединений крышки с трубной решеткой должны быть изготовлены из паронита по ГОСТ481, если не оговорено особо.
4.2.11.15. Прокладкифланцевых соединений аппаратов, работающих под давлением до 6,3 МПавключительно, должны изготовляться из паронита по ГОСТ 481, если неоговорено особо.
Материал прокладокфланцевых соединений аппаратов, работающих под давлением свыше 6,3 МПа, взависимости от условий эксплуатации должен приниматься по техническойдокументации, утвержденной в установленном порядке. В теплообменных секциях дляохлаждения токсичных сред под давлением 4,0 МПа и выше рекомендуется в качествепрокладок фланцевых соединений использовать спирально-навитые прокладки по [10]с наполнителем из графлекса.
4.2.11.16. Материалметаллических прокладок должен быть мягче материала поверхности,контактирующего с прокладкой.
4.2.11.17. Прокладки подпробки должны быть изготовлены из алюминия или меди, если по условиямкоррозионности среды Заказчиком не оговорен конкретный материал.
4.2.11.18. Лопастивентилятора должны быть изготовлены из алюминиевого сплава или армированныхпластических материалов. Применение других материалов должно быть оговорено втехнической документации.
4.2.11.19. Контактыматериалов, использованных при изготовлении аппаратов, недопустимые илиограниченно допустимые по ГОСТ9.005, должны быть защищены от воздействия атмосферы металлическимпокрытием с последующим лакокрасочным покрытием по инструкциипредприятия-изготовителя.
4.2.11.20. В аппаратахисполнений У1 и УХЛ1 поверхность трубных решеток секций со стороны потокавоздуха для материальных исполнений Б1, Б2, Б2.1,Б5, Б5.1,а также концы труб между оребрением и трубной решеткой секции материальныхисполнений Б1, Б2 и Б2.1 должны иметь защитное покрытие по инструкциипредприятия-изготовителя, согласованной со специализированной организацией.
В аппаратах исполнения Т1поверхность трубных решеток секций со стороны потока воздуха для материальныхисполнений Б1, Б2, Б2.1, Б5, Б5.1, а также концы труб секций материальныхисполнений Б1, Б2 и Б2.1 (от трубной решетки до начала оребрения) должны бытьметаллизированы с последующим лакокрасочным покрытием по инструкциипредприятия-изготовителя. Концы труб, развальцовываемые в трубные решетки,лакокрасочному покрытию не подвергаются.
У аппаратов в исполненииТ1 все детали с разъемными посадочными поверхностями, предназначенные к сборкеи регулировке при монтаже или эксплуатации, а также детали подвижных соединенийдолжны быть металлизированы или изготовлены из материалов, стойких в условияхтропического климата.
Пружины, применяемые ваппаратах в исполнении Т1, должны быть металлизированы по инструкциипредприятия-изготовителя.
4.2.11.21. В случаеприменения материалов для деталей, работающих под давлением, не указанных в [4]и [6],их применение должно быть согласовано с организациями, перечень которыхприведен в приложенииД.
4.2.11.22. Требования 4.2.2.6,4.2.3.1,4.2.3.2,4.2.6.2,4.2.6.3,4.2.9.4,4.2.9.6,4.2.9.8,4.2.10.6обеспечиваются конструкцией аппарата и проверке ОТК предприятия-изготовителя неподлежат.
4.3. Комплектность
4.3.1. Взависимости от габаритов аппараты поставляют в собранном виде либо максимальнособранными сборочными единицами.
В комплектность поставкиаппаратов воздушного охлаждения должны входить:
1) аппарат согласноспецификации комплекта конструкторской документации;
2) ответные фланцы спрокладками и крепежными деталями - один комплект;
3) запасные детали:
- прокладки к фланцевымсоединениям - один комплект;
- пробки с прокладкамипод пробки для теплообменных секций с цельносварными камерами - не менее 5 %количества пробок;
4) запасные частикомплектующих изделий в соответствии с комплектовочными документамипредприятий-изготовителей этих изделий;
5) техническаядокументация в одном экземпляре в следующем составе:
а) паспорт аппарата поформе, приведенной в приложенииЕ. К паспорту аппарата должны быть приложены:
- сборочный чертежаппарата и основных сборочных единиц и, при необходимости, монтажный чертеж;
- расчет на прочность сприложением эскизов основных несущих элементов аппарата: стенок камерыаппарата, фланцев, узлов врезки штуцеров и др.;
- руководство поэксплуатации (РЭ) и, при необходимости, инструкция по монтажу, пуску,регулированию и обкатке изделия (ИМ) в соответствиис ГОСТ 2.601;
6) комплектовочная ведомость;
в) сопроводительныедокументы на комплектующие изделия.
4.3.2. По требованиюзаказчика, оговоренному в заказе (договоре, контракте), в комплект поставки заотдельную плату могут быть включены:
1) дополнительныесборочные единицы, если их поставка предусматривается нормативной илитехнической документацией на конкретные аппараты (тип аппаратов):
- пневмопривод жалюзи,
- позиционер кпневмоприводу жалюзи,
- увлажнитель,
- подогреватель воздуха.
Количество сборочныхединиц определено в комплекте конструкторской документациипредприятия-изготовителя;
2) дополнительноеколичество запасных деталей, указанных в 4.3.1;
3) запасные прокладки подкрышки камер разъемной конструкции.
4.3.3. Для ремонтныхцелей могут быть поставлены по особому заказу в установленном порядке следующиесборочные единицы:
1) теплообменная секция,
2) трубный пучок (секциибез крышек, прокладок),
3) крышка секции,
4) колесо вентилятора,
5) лопасть вентилятора,
6) жалюзи,
7) увлажнитель воздуха,
8) комплект форсунок дляувлажнения воздуха,
9) подогреватель воздуха.
4.3.4. В комплектностьаппаратов не входят:
1) система средствавтоматизации с комплектом пусковой аппаратуры;
2) коллекторная обвязкатеплообменных секций при отсутствии ее в составе конструкторской документации итрубопроводная арматура;
3) вспомогательныеподъемные устройства;
4) салазки или тележкидля монтажа и демонтажа привода вентилятора;
5) фундаментные болты;
6) площадки обслуживания,лестницы, ограждения между стойками несущей конструкции.
По согласованию спредприятием-изготовителем перечисленные комплекты изделий могут бытьпоставлены заказчику по отдельному договору.
4.4. Маркировка
4.4.1. Аппарат должениметь табличку, соответствующую требованиям ГОСТ 12971.
4.4.2. Табличка должнабыть размещена на видном месте и прикреплена на приварном подкладном листе.
4.4.3. На табличке должныбыть указаны:
1) наименованиепредприятия-изготовителя (допускается сокращенное) или его товарный знак;
2) тип аппарата(наименование или условное обозначение аппарата);
3) заводской номераппарата;
4) расчетное или условноедавление, МПа;
5) пробное давление, МПа;
6) расчетная температурастенки, °С;
7) год изготовления;
8) масса аппарата;
9) клеймо ОТК.
В случае проведениясертификации на изделие должна быть нанесена маркировка Знака соответствия по ГОСТР 50460.
4.4.4. Каждая секция иподогреватель воздуха (при наличии его в аппарате) должны иметь (на верхнемкрае передней трубной решетки или допускается на боковой поверхности трубнойрешетки; на боковой стенке сварной камеры; на коллекторе) маркировку,содержащую данные, указанные в 4.4.3. На каждой секции к заводскому номеруаппарата должен быть добавлен порядковый номер секции или другое условноеобозначение, позволяющее однозначно идентифицировать любую секцию аппарата. Приэтом указывается масса секции или подогревателя.
Способ нанесениямаркировки - по [4].
4.4.5. Вентилятор должениметь маркировку, нанесенную на ступице и содержащую следующие данные:
- наименованиепредприятия-изготовителя и (или) товарный знак;
- условное обозначениевентилятора;
- год изготовления;
- заводской номер;
- масса, кг;
- обозначение техническихусловий на изготовление вентилятора при их наличии.
Маркировка должна бытьнанесена ударным способом на ступице и несмываемой краской на лопастивентилятора.
4.4.6. Шрифт маркировкидолжен соответствовать ГОСТ26.020 для плоской печати и ГОСТ26.008 для ударного способа.
4.4.7. Поставляемые поособому заказу для ремонтных целей сборочные единицы и детали поставляют беззаводской таблички.
Теплообменные секции,трубный пучок, крышки секции, подогреватель воздуха, колесо вентилятора,поставляемые для ремонтных целей, должны иметь на видном месте маркировку всоответствии с 4.4.4 и 4.4.5.
Допускается присваивать одинзаводской номер партии однотипных сборочных единиц, поставляемых одномупотребителю одновременно. При этом дополнительно маркируется порядковый номерсборочной единицы в партии. Остальные сборочные единицы и детали, поставляемыедля ремонтных целей, могут быть без заводского номера.
4.4.8. Количество исостав грузовых мест определяет предприятие-изготовитель.
4.4.9. Каждое грузовоеместо (сборка, ящик, контейнер или укладка) должно иметь указания о местестроповки и условное обозначение на строповые устройства, выполненные яркойкраской.
4.4.10. Маркировкагрузовых мест - в соответствии с требованиями ГОСТ 14192 и нормативной документациейпредприятия-изготовителя.
Транспортная маркировкатеплообменных секций, законсервированных инертными газами или воздухом сизбыточным давлением, должна учитывать требования ГОСТ 19433.
4.4.11. Накрупногабаритные грузовые места (секции) должны быть нанесены манипуляционныезнаки «Место строповки» и «Центр тяжести».
4.4.12. Содержание, местамонтажной маркировки и способы ее нанесения должны соответствовать требованиям ГОСТ24444 и отражены в технической документации на аппарат.
4.4.13. Каждое колесовентилятора должно иметь монтажную маркировку на деталях, которые подлежатсборке при монтаже колеса вентилятора. Маркировка должна быть нанесена рельефнымшрифтом.
Порядок сборки колесавентилятора согласно монтажной маркировке должен быть указан в РЭ.
4.4.14. На коллекторе(корпусе) вентилятора должна быть нанесена несмываемой краской стрелка красногоцвета, указывающая направление вращения.
4.5. Консервация, окраска иупаковка
4.5.1. Консервацияаппаратов должна производиться по документации предприятия-изготовителя всоответствии с требованиями ГОСТ9.014 и конструкторской документации в зависимости от срока защиты иусловий транспортирования и хранения.
4.5.2. Консервация должнаобеспечивать защиту от коррозии при транспортировании и хранении не менее 24месяцев со дня отгрузки с предприятия-изготовителя.
4.5.3. Консервацииподлежат:
- наружные поверхностисборочных единиц, комплектующих изделий и запасных частей, не имеющиелакокрасочного или металлического защитного покрытия, а также уплотнительныеповерхности ответных фланцев и штуцеров крышек;
- внутренние поверхноститрубного пространства теплообменных секций материальных исполнений Б1, Б2 и Б2.1, а для климатического исполнения Т1 теплообменныесекции Б1, Б2, Б2.1, Б3.1 и Б4.1, если их консервация оговорена Заказчиком вконтракте.
4.5.4. Консервации неподлежат:
- наружные поверхностиоребренных труб секций и змеевиков подогревателя воздуха;
- поверхности деталей изнержавеющих сталей;
- детали из алюминия,резины и синтетических материалов;
- внутреннее пространствозмеевиков подогревателя воздуха, увлажнителя воздуха, пневмоприводов жалюзи имеханизма поворота лопастей вентилятора;
- отверстия под крепежныедетали (кроме отверстий под отжимные болты в крышках), отверстия вовтулочно-пальцевых муфтах и в других деталях, подшипниковые латунные втулкижалюзи;
- внутренние поверхностидеталей, имеющие замкнутый (закрытый) профиль (лопасти вентиляторов, элементыметаллоконструкций, детали из труб и др.);
- противолежащиеповерхности фланцевых соединений крышек с решетками.
4.5.5. Консервация должнапроизводиться с учетом условий хранения и транспортирования для группы изделий II по ГОСТ9.014, соответствующих условиям 7 (Ж1) или 8 (ОЖЗ) по ГОСТ15150 в зависимости от типа атмосферы, а для аппаратов климатическогоисполнения Т1-9 (ОЖ1).
4.5.6. Консервациязапасных частей должна производиться с учетом условий хранения итранспортирования для группы изделий I по ГОСТ9.014, соответствующим условиям 5 (ОЖ4) по ГОСТ15150.
4.5.7. Методы консервациии применяемые для этого материалы должны обеспечивать возможностьрасконсервации без разборки сборочных единиц. Метод консервации определяетпредприятие-изготовитель.
4.5.8. Консервациявнутренних поверхностей трубного пространства секций должна производиться поодному из вариантов защиты по ГОСТ9.014 для группы изделий II-4.
При герметизациивнутреннего пространства, заполненного инертными газами, следует применятьтолько металлические заглушки, пробки и т.п. с резиновыми или паронитовымипрокладками.
По требованию заказчикапри герметизации аппарата может быть предусмотрено избыточное давление ваппарате до 0,02 МПа с устройством для его контроля.
4.5.9.Все отверстия, патрубки, штуцеры и фланцы секций и подвода воздуха кпневмоприводам жалюзи должны быть герметично заглушены для защиты отзагрязнений и повреждений уплотнительных поверхностей, также должны бытьзаглушены торцы секторов и патрубков увлажнителя воздуха (при наличии его ваппарате).
4.5.10. Наружныеповерхности сборок и деталей аппаратов должны быть окрашены. Окраске неподлежат:
- оребренные поверхноститеплообменных труб теплообменных секций и подогревателей воздуха;
- поверхности,подвергаемые консервации;
- алюминиевые лопастивентиляторов;
- детали из резины ипластмасс.
4.5.11. Допускается неподвергать металлическому или лакокрасочному покрытию, если не оговорено особо:
- поверхности трубныхрешеток;
- поверхности крышек состороны продукта;
- противолежащиеповерхности фланцевых соединений;
- внутренние поверхностидеталей, имеющих замкнутый профиль (лопасти вентилятора, элементы металлоконструкций,детали из труб и др.).
4.5.12. Требования клакокрасочным покрытиям в зависимости от климатического исполнения аппаратов -по ГОСТ9.401.
Покрытия, подвергающиесяв процессе эксплуатации воздействию температур свыше 60°С или особых сред по ГОСТ9.032, должны быть испытаны по ГОСТ9.403 или документации, устанавливающей технические требования на принятыйвид покрытия.
4.5.13. Обозначениеусловий эксплуатации изделий с покрытием в зависимости от климатическогоисполнения изделия и назначения покрытия - по ГОСТ 9.104и ГОСТ9.032.
4.5.14. Внешний видпокрытия и качество окрашиваемой поверхности должны соответствовать классу VI по ГОСТ9.032. По согласованию с предприятием-изготовителем заказчик может заказатьаппарат с покрытием класса V.
4.5.15. Подготовкаповерхности под окраску должна производиться по инструкциипредприятия-изготовителя, разработанной в соответствии с требованиями ГОСТ9.402.
Окраска должна производитьсяпо инструкции предприятия-изготовителя, утвержденной в установленном порядке.
4.5.16. Дренажные пробкитеплообменных секций, стрелки на коллекторе вентилятора, ограждениевентиляторов и центрирующие тяги должны быть окрашены в красный цвет. Цветаокраски остальных сборочных единиц и деталей выбираютсяпредприятием-изготовителем, предпочтительный цвет - серебристый.
4.5.17. Прилегающиеповерхности деталей коллекторов и диффузоров, жалюзи и других сборочных единицаппаратов в исполнении Т1, свариваемые контактной сваркой, должны быть досварки покрыты слоем токопроводящей краски одного из следующих составов:
а) пентафталевый лакПФ-170 или ПФ-171 по ГОСТ 15907 с добавлением10 - 15 % алюминиевой пудры ПАП-1 или ПАП-2 по ГОСТ 5494;
б) лак ГФ-95 по ГОСТ 8018с добавлением 15 - 20 % алюминиевойпудры ПАП-1 или ПАП-2 ГОСТ 5494;
в) эмаль 910 по [11].
Допускается применениегрунтов ФЛ-03-К, ФЛ-ОЗ-Ж по ГОСТ 9109 сдобавлением 10 - 20 % алюминиевой пудры по ГОСТ 5494 при сварке посырому слою грунтовки или не позднее чем через 10 мин после нанесения.
4.5.18. Аппараты вклиматическом исполнении У1 и УХЛ1, поставляемые в собранном виде, как правило,транспортируют без упаковки.
При поставке аппаратовмаксимально собранными сборочными единицами упаковка сборочных единиц аппаратовв ящики или решетчатую тару зависит от конкретного типа аппарата и требованийнастоящего стандарта и проводится по документации предприятия-изготовителя.Категория упаковки - КУ-1 по ГОСТ 23170.
Без упаковки поставляют:
- теплообменные секцииаппаратов (или теплообменные секции в сборе с вентиляторными секциями);
- сборочные единицыметаллической несущей конструкции, жалюзи и подогреватели воздуха, секторыувлажнителя, диффузора и коллектора вентилятора.
В упаковке поставляют:
- приводы вентиляторов(тихоходные электродвигатели, электродвигатели с редуктором или другим видомпередачи) должны поставляться в упаковке предприятия-изготовителясоответственно двигателей и редукторов;
- сборочные единицыколеса вентилятора, механизма поворота лопастей вентилятора, механизм передачижалюзийной решетки, отдельно поставляемые сборки к приводу (стяжки, ограждениевентилятора и др.), крепежные детали и запасные части. Допускается упаковыватьколеса вентиляторов в металлическую решетчатую тару, изготовленную поконструкторской документации.
Деревянные ящики должнысоответствовать типу III,V или VI ГОСТ10198.
4.5.19. Аппараты вклиматическом исполнении Т1 или транспортируемые морским путем должны бытьупакованы:
- в специальнуюрешетчатую тару при поставке в собранном виде;
- в деревянные ящики всоответствии с ГОСТ24634 при поставке сборочными единицами. Допускается использоватьдеревянные ящики для упаковки аппарата в сборе.
Вариант внутреннейупаковки для ящика - ВУ-2 по ГОСТ9.014.
4.5.20. Сборочные единицыи детали аппаратов, упакованные в ящики или решетчатую тару, должны быть в нихнадежно закреплены для предотвращения перемещения.
4.5.21. Техническая исопроводительная документация, прилагаемая к аппаратам, должна быть обернута вводонепроницаемую бумагу и вложена в пакет из полиэтиленовой пленки толщиной неменее 150 мкм. Швы пакета должны быть заварены или заклеены. Пакет должен бытьзавернут в водонепроницаемую бумагу и вложен в ящик места номер 1, а приотсутствии упаковки должен быть закреплен на аппарате. При этом на аппаратедолжна быть нанесена надпись о месте нахождении документации.
Техническую исопроводительную документацию, второй экземпляр упаковочных листов допускаетсяотправлять почтой. Отправка должна быть произведена в течение одного месяцапосле отгрузки изделия.
5.1. По конструктивномуустройству и условиям эксплуатации аппараты должны соответствовать требованиямбезопасности по ГОСТ12.2.003, 12.2.007.0,[6], [13] и конструкторской документации.
5.2. Аппаратыпредназначены для установки на открытой площадке в пределах взрывоопасной зоныкласса В-1г по классификации [12], если неоговорено особо.
5.3. В качестве рабочейсреды в аппаратах применяют среды газовой, нефтяной, химической,нефтехимической, нефтеперерабатывающей и других отраслей промышленности.
Класс опасности рабочейсреды - по ГОСТ12.1.007.
5.4. Аппарат не являетсяисточником вредных выбросов, герметичен и не оказывает отрицательноговоздействия на окружающую среду.
Класс герметичностиопределяют для конкретного аппарата в зависимости от применяемой рабочей среды,согласовывают с заказчиком (потребителем) и заносят в РЭ и раздел«Свидетельство о приемке» паспорта аппарата или теплообменной секции.
5.5. Комплектующееэлектрооборудование должно соответствовать требованиям безопасности по ГОСТ12.2.007.0.
5.6. Исполнениеэлектрооборудования по взрывозащите должно соответствовать ГОСТ12.2.020 в зависимости от рабочей среды.
5.7. Для обеспеченияэлектробезопасности должны быть выполнены следующие требования:
5.7.1. Аппараты должныиметь заземляющие зажимы и нанесенные знаки заземления, выполненные по ГОСТ21130;
5.7.2. Электрическоесопротивление между заземляющими зажимами и каждой доступной прикосновениюметаллической нетоковедущей частью, которая может оказаться под напряжением, всоответствии с ГОСТ12.2.007.0 не должно превышать 0,1 Ом.
5.8. Защита аппаратов отпревышения давления должна быть обеспечена заказчиком.
5.9. Устройства дляобеспечения сброса вредных или взрывоопасных сред должны быть предусмотренызаказчиком и размещены на трубопроводной обвязке аппарата.
5.10. Строповка аппаратовпри проведении сборочных и погрузочно-разгрузочных работ должна производиться всоответствии с требованиями конструкторской документации.
5.11. Уровень звука нарасстоянии 1 м от наружного контура аппарата на открытой площадке не долженпревышать 92 дБА.
5.12. Требования к защитеобслуживающего персонала от воздействия повышенного уровня шума приведены в разделе9.
5.13. Размахвиброперемещения, измеренный на раме привода и верхней плите стойкиметаллоконструкции в диапазоне частот от
до 250 Гц, не долженпревышать 0,2 мм, где ПДВ - частота вращения электродвигателя, мин-1.
Примечание - При отсутствиитехнической возможности измерения виброперемещения допускается измерятьвиброскорость. Среднеквадратичное значение виброскорости не должно превышатьзначений, допускаемых ГОСТИСО 10816-1.
5.14. Виброотключателидля аварийной защиты аппарата должны устанавливаться по требованию заказчика.
6.1. Служба техническогоконтроля предприятия-изготовителя должна осуществлять систематический контролькачества выполнения работ, который заключается в организации и проведении всоответствии с ГОСТ 24297 входногоконтроля материалов и комплектующих изделий и операционного контроля в процессеизготовления деталей и сборочных единиц.
Результаты входного иоперационного контроля должны регистрироваться на предприятии-изготовителе.Система хранения зарегистрированных результатов контроля должна устанавливатьсяпредприятием-изготовителем и может быть использована при проведении испытанийготового аппарата.
6.2. Готовые аппараты(сборочные единицы, детали) должны быть приняты службой контроляпредприятия-изготовителя в соответствии с требованиями настоящего стандарта икомплекта конструкторской документации и представлены на испытания всоответствии с требованиями ГОСТ15.001, ГОСТ15.005 и настоящего стандарта.
6.3. Виды и периодичностьиспытаний в зависимости от вида продукции приведены в таблице 3.
Таблица 3
| Вид продукции | Вид испытаний | Периодичность проведения испытаний |
| 1. Единичное изделие - аппарат, сборочная единица, поставляемая самостоятельно, или партия аппаратов или сборочных единиц | Приемо-сдаточные | Каждый изготовленный аппарат или самостоятельно поставляемая сборочная единица. Испытания проводят на предприятии-изготовителе |
| 2. Аппарат (сборочная единица) мелкосерийного производства | Сертификационные | Один образец, отобранный по усмотрению испытательной лаборатории из числа прошедших приемо-сдаточные испытания аппаратов или сборочных единиц |
| 3. Опытный образец (партия) | Приемо-сдаточные | Каждый аппарат |
| Приемочные | Каждый аппарат или представитель партии, прошедший приемосдаточные испытания | |
| 4. Аппарат (сборочные единицы) серийного производства | Приемо-сдаточные | Каждый изготовленный аппарат или самостоятельно поставляемая сборочная единица. Испытания проводят на предприятии-изготовителе |
| Периодические | Один аппарат в год из числа прошедших приемо-сдаточные испытания. Испытания проводят на заводе-изготовителе | |
| Типовые испытания | В случае внесения в конструкцию аппарата или технологию его изготовления изменений, которые могут влиять на его характеристики или взаимозаменяемость сборочных единиц. Испытания проводят на предприятии-изготовителе на аппарате, прошедшем приемо-сдаточные испытания | |
| Сертификационные | Один образец, отобранный по усмотрению испытательной лаборатории из числа прошедших приемо-сдаточные испытания аппаратов или сборочных единиц | |
Примечания1. По требованию заказчика, оговоренному при заказе единичного аппарата или партии, могут быть проведены приемочные испытания единичного аппарата или головного образца партии в объеме, согласованном между разработчиком рабочей документации и заказчиком. 2. Аппараты, изготовление которых возобновлено после перерыва, превысившего по продолжительности срок проведения периодических испытаний, подвергают периодическим испытаниям перед началом серийного выпуска. 3. Необходимость и порядок проведения сертификационных испытаний определяется директивными и нормативными документами по сертификации продукции. | ||
6.4.Приемочные испытания опытного образца аппарата проводят с целью определениядействительных показателей, подготовки рекомендаций по доработке аппарата и,при необходимости, по выводу его на проектную мощность (в случае, если аппаратпо объективным причинам не может быть выведен на проектную мощность в процессеприемочных испытаний). Испытания проводят на предприятии-изготовителе в объеме,установленном техническим заданием. По параметрам, для проверки которых напредприятии-изготовителе отсутствует техническая возможность, испытанияпроводят на месте эксплуатации.
При проведении приемочныхиспытаний на месте эксплуатации на взрывопожароопасных производствах необходимоиметь разрешение органа ГГТН РФ на проведение испытаний.
6.5. Объем испытанийаппаратов приведен в таблице 4.
Таблица 4
Объем испытаний аппаратов
| Наименование сборочной единицы | Наименование показателя или испытания | Наличие проверки при испытаниях | |||
| приемо-сдаточных | периодических | приемочных | сертификационных** | ||
| 1. Секция теплообменная | Площадь поверхности теплообмена | - (+*) | + | - | - |
| Качество контакта оребрения с несущей трубой | + | - | - | - | |
| Гидравлические испытания теплообменной секции в сборе на прочность и герметичность | + | - | - (+**) | + | |
| Гидравлические испытания литых крышек | + | - | - | + | |
| Гидравлические испытания литых ответных фланцев | + | - | - | + | |
| Контроль прогиба труб | - (+*) | + | - | - | |
| 2. Подогреватель воздуха | Гидравлические испытания на прочность и герметичность | + | - | - (+**) | + |
| 3. Вентилятор | Дисбаланс колеса вентилятора | + | - | - | - |
| Испытание колеса вентилятора на прочность при частоте вращения, превышающей номинальную на 20 % | + | - | - | + | |
| Работоспособность вентилятора на аппаратах, поставляемых в собранном виде | + | - | - | - | |
| Работоспособность механизма поворота лопастей | + | - | - | - | |
| Проверка аэродинамической характеристики вентилятора | - (+*) | - | - | - | |
| 4. Жалюзи | Работоспособность жалюзи | + | - | - (+**) | - |
| Работоспособность пневмопривода жалюзи | + | - | - (+**) | - | |
| 5. Аппарат в целом | Комплектность и маркировка | + | - | - (+**) | - |
| Масса | - (+*) | + | - | - | |
| Аэродинамические характеристики аппарата | - | + | + | - | |
| Контрольная сборка аппарата | - (+*) | + | + | - | |
| Взрывобезопасность | + | - | - | + | |
| Электробезопасность: |
|
|
|
| |
| по 5.7.1 | + | - | - | + | |
| по 5.7.2 | - | + | + | + | |
| Уровень звука | - | + | + | + | |
| Вибрация | - | + | + | + | |
| Показатели надежности | - | + | - | - | |
| * Для аппаратов единичного производства и опытного образца. ** При проведении испытаний на месте эксплуатации. *** Объем сертификационных испытаний может быть расширен по требованию изготовителя или поставщика. Объем типовых испытаний определяется изготовителем в зависимости от изменений, внесенных в конструкцию или технологию изготовления аппарата. | |||||
6.6. Если порезультатам испытаний аппарат не соответствует требованиям раздела4, аппарат (сборочные единицы, детали аппарата) должен бытьвозвращен в производство для устранения несоответствий и дефектов.
При повторном обнаруженииодного и того же несоответствия служба технического контроля предприятия-изготовителядолжна принять и внести в протокол испытаний решение о забраковании аппарата(его сборочных единиц и деталей) или о возможности его использования.
6.7. Требования раздела4, не контролируемые в процессе приемо-сдаточных испытаний,проверяют в процессе изготовления аппаратов по технологиипредприятия-изготовителя.
6.8. Средства измерения иоборудование для проведения контроля продукции выбираетпредприятие-изготовитель с учетом требований раздела 7.
7.1. Входной иоперационный контроль проводят по инструкции и технической документациипредприятия-изготовителя. Количество контролируемых образцов и порядок ихотбора определяет предприятие-изготовитель.
7.2. Площадь поверхноститеплообмена F, м2,контролируют косвенным методом по формуле:
|
| (1) |
где D - измеренный наружный диаметроребренной трубы, м;
Н - измереннаявысота ребра, м;
Sp - измеренная толщина ребрапри вершине, м;
S0- измеренноерасстояние между ребрами, м;
L - измеренная длина оребреннойчасти трубы, м-1;
т - действительноелинейное число ребер, шт.;
п - действительноечисло труб в аппарате без учета заглушённых, шт.
Параметры оребренной трубыизмеряют на трех трубах аппарата на расстоянии не менее 1 м от концов труб.
В формулу следуетподставлять средние арифметические значения результатов трех измерений каждогопараметра.
Геометрические величины D, H, SР, S0следует измерятьштангенциркулями ШЦ-1-125-0,1 и ШЦ-1-250-0,05 по ГОСТ 166, L - измерительной рулеткой с верхним пределом измерений до 10 м(20 м) и ценой деления 1 мм по ГОСТ 7502.
Для серийных аппаратов,за исключением представленных к периодическим испытаниям, и повторяющихсяпартий аппаратов мелкосерийного производства допускается измерять площадьоребренной поверхности шаблонами при операционном контроле качества оребренныхтруб по инструкции предприятия-изготовителя, согласованной соспециализированной технологической организацией. В этом случае в паспортаппарата заносится значение номинальной площади поверхности в соответствии с конструкторскойдокументацией без учета площади поверхности заглушенных труб.
Для аппаратов с гладкимитрубами и трубами с нестандартным оребрением контроль площади поверхноститеплообмена следует производить по конструкторской документации.
7.3. Качество контактаоребрения с несущей трубой определяют при операционном контроле путемтеплотехнических испытаний на стенде «экспресс-контроля» по методикепредприятия-изготовителя, согласованной со специализированной организацией.
Дополнительно ктеплотехническому контролю допускается проверять оребренные трубы на усилиевыпрессовки, как поверочный контроль. Усилие плавной выпрессовки образца трубыдлиной 100 мм, изготовленной методом накатки, не менее 9,8·103 Н вначале выпрессовки. Усилие удаления сектора ребра на образце трубы,изготовленном методом навивки алюминиевой ленты, должно приниматься всоответствии с паспортными данными оборудования.
Объем контроля:
- для труб каждого станадля оребрения труб два раза в месяц, но не реже, чем после прокатки 30000метров труб каждым станом;
- при переналадке станана производство труб с другими параметрами оребрения.
7.4.Гидравлические испытания теплообменных секций - по [4],а в части испытания литых деталей - в соответствии с [6].
По требованию заказчика,оговоренному в контракте, после удаления воды трубное пространствотеплообменной секции может быть просушено воздухом температурой на входе ваппарат от 170 до 200°С. Продолжительность сушки должна обеспечить выходвоздуха в течение 15 мин температурой не ниже 115°С, после чего секция должнабыть загерметизирована. Проведение сушки должно быть оформлено актом.
7.5. Испытания нагерметичность - по [3].При совмещении их с гидроиспытаниями давление гидроиспытания для классагерметичности 4 должно быть не менее 2,0 МПа.
7.6. Прогиб труб врабочем положении контролируют по инструкции предприятия-изготовителя послепроведения гидроиспытаний теплообменной секции.
7.7. Гидравлическоеиспытание подогревателя воздуха на прочность и плотность проводят по [4]пробным давлением 2,0 МПа, если не оговорено особо.
7.8. Операционныйконтроль допускаемого дисбаланса колеса вентилятора должен проводиться пристатической балансировке колеса по инструкции предприятия-изготовителя.
7.9. Испытание колесвентиляторов на прочность проводят при повышенной (на 20 % номинальной) частотевращения в течение 15 мин по инструкции предприятия-изготовителя.
Испытание колесавентилятора на прочность при повышенной частоте вращения проводят один раз вмесяц на одном колесе каждого диаметра, а также каждый раз, когда в конструкциюколеса вентилятора или в технологию его изготовления вносятся изменения,которые могут повлиять на его прочность.
7.10. Работоспособностьвентиляторов на аппаратах, поставляемых в собранном виде, проверяют включениемих в работу на 5 мин.
7.11. Испытаниемеханизмов поворота лопастей вентиляторов должно проводиться по технологиипредприятия-изготовителя вручную и с помощью пневмопривода после проверкигерметичности пневмопривода.
7.12. Предварительноеиспытание жалюзи на работоспособность проводится вручную отдельно для каждойсекции жалюзи.
Лопатки должны свободно,без заедания поворачиваться в подшипниках. Зазор между соседними лопатками взакрытом положении определяется с помощью концевых плоскопараллельных мер длиныпо ГОСТ 9038.
7.13. Испытание пневмоприводажалюзи на герметичность и работоспособность должно проводиться по технологиипредприятия-изготовителя.
Испытание привода сэлектрическим исполнительным механизмом должно проводиться включением механизмав сеть.
7.14. Окончательноеиспытание работоспособности жалюзи проводится на собранном жалюзийномустройстве включением привода или поворотом ручного рычага управления припоставке жалюзийного устройства с ручным регулированием.
7.15. Проверкукомплектности и маркировки аппарата на соответствие требованиямнормативно-технической и конструкторской документации проводят визуально.
7.16. Массу аппаратапроверяют взвешиванием отдельных сборочных единиц и деталей аппарата на весахдля статического взвешивания обычного класса точности с наибольшим пределомвзвешивания, выбранным из ряда по ГОСТ29329, с последующим суммированием их масс.
При наличии техническойвозможности аппарат, поставляемый в собранном виде, может быть взвешен в сборена весах с наибольшим пределом взвешивания, выбранным из ряда по ГОСТ29329.
7.17. Аэродинамическуюхарактеристику аппарата проверяют по инструкции предприятия-изготовителя,согласованной со специализированной организацией.
7.18. Контрольная сборкааппарата должна проводиться по технологии предприятия-изготовителя всоответствии с монтажными и сборочными чертежами аппарата.
Аппарат должен бытьсобран без подгоночных работ.
7.19. Проверкусоответствия требованиям взрывобезопасности проводят визуально:
- сличением обозначенияуровня и вида взрывозащиты, группы электрооборудования и температурного классапо ГОСТ12.2.020 на маркировке электродвигателя с требованиями к взрывозащитеэлектродвигателя в технической документации на аппарат;
- сопоставлениемуказанного в технической документации комплектующих изделий исполнения повзрывозащите с требованиями технической документации на аппарат.
7.20. Проверкусоответствия требованиям электробезопасности проводят:
- визуальным контролемналичия заземляющих зажимов и соответствия их конструкции и знаков заземлениятребованиям ГОСТ21130;
- измерениемэлектрического сопротивления между заземляющими зажимами и каждой доступнойприкосновению металлической нетоковедущей частью, которая может оказаться поднапряжением.
Электрическоесопротивление рекомендуется измерять микроомметром Ф415 с пределами измерений 0- 1,0 Ом, класса точности 2,5.
7.21. Уровень звука проверяетсяшумомером класса точности 2. Методика измерений - по ГОСТ12.1.028.
7.22. Проверкупоказателей вибрации следует производить виброизмерительным прибором, имеющимшкалу виброперемещения, по инструкции предприятия-изготовителя с учетомтребований ГОСТИСО 2954.
7.23. Показателинадежности подтверждаются в процессе промышленной эксплуатации за период неменее одного года после окончания пуска и освоения производства. Подтверждениепоказателей надежности оформляются в виде акта обследования. Результатыобследования могут быть учтены при проектировании аналогичных аппаратов.
7.24. Допускаетсяприменять другие средства измерения, не указанные в настоящем разделе, нообеспечивающие заданную точность измерения и допущенные к применению.
8.1. Аппаратытранспортируют всеми видами транспорта в соответствии с правилами перевозок,действующими на соответствующем виде транспорта.
8.2. Условиятранспортирования:
в части воздействияклиматических факторов - 7, 8 по ГОСТ15150 (открытый подвижной состав) или 9 для климатического исполнения Т1;
в части механическихфакторов - С по ГОСТ 23170(не более 4 перегрузок) или - Ж (неограниченное число перегрузок).
8.3. Способы погрузки,разгрузки, а также способы транспортирования и условия хранения аппаратов употребителя должны обеспечивать сохранность изделия от механическихповреждений.
Крепление аппаратовследует производить по документации предприятия-изготовителя.
8.4. Аппараты воздушногоохлаждения и не упакованные в ящики сборочные единицы аппаратов до их монтажамогут храниться на открытом воздухе, если не оговорено особо, при этом подсборочные единицы должны быть подложены брусья или шпалы. Сверху укладки изтеплообменных секций должны быть защищены от загрязнений и атмосферных осадков.
Детали и сборки,упакованные в ящики, а также привод вентилятора, поставляемый отдельно отаппарата, должны храниться только под навесом или в закрытом помещении (условияхранения 5 по ГОСТ15150).
8.5. При транспортированиилопатки жалюзи должны быть установлены в положение «Закрыто» и предохранены отсамопроизвольного открывания.
8.6. Во времятранспортирования допускается устанавливать до четырех теплообменных секцийдруг на друга по документации предприятия-изготовителя.
8.7. Притранспортировании и хранении все штуцеры секций и штуцеры подвода воздуха кпневмоприводам жалюзи должны быть заглушены, также должны быть заглушены торцысекторов и патрубков увлажнителя воздуха (при наличии его в аппарате) всоответствии с требованием 4.5.9.
9.1. Аппараты воздушногоохлаждения, подпадающие по своим рабочим параметрам под действие [6],должны быть до ввода в эксплуатацию зарегистрированы в местном органеГосгортехнадзора России в соответствии с требованиями [6].
9.2. Аппарат долженэксплуатироваться в соответствии с утвержденным технологическим регламентом иРЭ, выполненным разработчиком рабочей документации по ГОСТ 2.601, при рабочихпараметрах, не превышающих указанные в паспорте аппарата.
Сборка и монтаж аппаратовна месте эксплуатации не входят в стоимость аппарата, а также в объем работ предприятия-изготовителяи производятся силами потребителя.
9.3. При пуске иостановке аппарата в зимнее время необходимо руководствоваться «Регламентомпроведения в зимнее время пуска, остановки и испытаний на герметичностьаппаратов воздушного охлаждения», составленным в соответствии с приложением 17 [4],который должен быть приложен к паспорту аппарата.
9.4. Перед пуском вэксплуатацию, а также после каждого ремонта или остановки аппарата со сбросомдавления необходимо произвести подтяжку гаек крепления крышек к трубнымрешеткам (для аппаратов с разъемными камерами) согласно указаниям РЭ.
9.5. Перед пускомаппарата необходимо проверить надежность заземления аппарата иэлектродвигателя, надежность крепления лопастей вентилятора, стяжек коллектора,крепление поворотного сектора коллектора вентилятора, уровень масла вредукторе, ограждения вентилятора, муфты редукторного привода (при наличии егов аппарате) или клиноременной передачи (при наличии ее в аппарате). В зимнеевремя лопасти вентилятора должны быть очищены от наледи.
9.6. Перед пускомаппарата должна быть проведена динамическая балансировка вентилятора в сборе сэлектродвигателем.
После ремонта колеса илизамены его сборочных единиц потребителем должна быть произведена статическаябалансировка колес вентиляторов с достижением 3-го класса точности балансировкипо ГОСТ22061 с последующей динамической балансировкой колеса в сборе сэлектродвигателем.
9.7. Должны бытьсоблюдены все правила безопасности, установленные для отдельных видов работ, атакже общие правила безопасности и противопожарные требования, действующие напредприятии, эксплуатирующем аппарат.
9.8. При монтажеотдельных сборок и деталей аппарата должны быть соблюдены все правилапроведения такелажных работ.
Строповку аппаратовследует проводить по документации предприятия-изготовителя.
9.9. Аппаратыпредназначены для работы с дистанционным управлением. Постоянные рабочие местав зоне повышенного шума (свыше 80 дБА) не допускаются. Зона обслуживания аппарата должна бытьобозначена знаками безопасности по ГОСТ 12.4.026.
Суммарную длительностьпребывания обслуживающего персонала и средства индивидуальной защиты работающихв зоне повышенного (свыше 80 дБА)шума определяет предприятие, эксплуатирующее аппарат, в соответствии стребованиями ГОСТ12.1.003.
9.10. При регулировкеугла поворота лопастей вентилятора вручную, проведении монтажных, ремонтных, атакже других работ, при выполнении которых вентилятор аппарата должен бытьостановлен, привод вентилятора должен быть отключен от сети, и должны бытьприняты меры против случайного включения электродвигателя.
9.11. При монтаже,эксплуатации и ремонте не допускается применять электрические инструменты ипереносные лампы напряжением более 36 В.
9.12. Все электрическиепровода должны быть проложены в стальных трубах или металлорукавах.
9.13. При остановкеаппарата в зимнее время должны быть приняты меры для предотвращения замерзанияжидких продуктов в трубном пространстве теплообменных секций и змеевикаподогревателя воздуха.
При остановке надлительное время аппаратов, в которых может присутствовать влага, в частности,после проведения гидроиспытаний, аппараты должны быть осушены в соответствии с 7.4.
10.1. При проектированииустановок с применением аппаратов воздушного охлаждения следует учитывать:
- возможность работыаппаратов в непрерывном и циклическом режимах;
- необходимостьдистанционного управления, так как постоянные рабочие места в зоне повышенногошума (свыше 80 дБА) недопускаются.
10.2. При примененииаппаратов в установках взрывопожароопасных производств должны быть учтенытребования правил [6]и [13].
10.3. Выбор рекомендуемыхв таблице В.1 конструкционных материаловдля изготовления теплообменных секций с учетом конкретных условий эксплуатациии применяемой среды производит заказчик. При необходимости выбор материаловможет быть согласован со специализированной организацией. При отсутствии особыхтребований аппарат поставляют в соответствии с требованиями 4.1.4 длянекоррозионных сред.
10.4. Показателинадежности, приведенные в 4.1.4 настоящего стандарта, регламентируютработу аппаратов для некоррозионных сред. При заказе аппаратов для охлаждениякоррозионных сред требования к показателям надежности должны быть согласованызаказчиком с разработчиком аппарата или предприятием-изготовителем. Приотсутствии особых требований аппарат поставляют в соответствии с требованиями 4.1.4 длянекоррозионных сред.
10.5. При проектированиипривязки секций аппаратов (для аппаратов с разъемными камерами) ктехнологическим трубопроводам следует предусмотреть возможность перемещениякрышек секций по шпилькам трубных решеток на расстояние до 130 мм.
10.6. При проектированиимонтажной обвязки аппаратов воздушного охлаждения следует обеспечитьминимальные нагрузки и крутящие моменты, воздействующие на штуцеры аппарата.
10.7. При проектированииобслуживающих площадок должно быть предусмотрено ограждение поверхностейаппарата, имеющих температуру выше 60°С и доступных прикосновениюобслуживающего персонала, крупноячеистой сеткой или экраном.
10.8. При примененииаппаратов с увлажнителем воздуха должна быть предусмотрена химическаяподготовка воды или использование конденсата. Максимальное давление воды всистеме 0,6 МПа.
11.1.Предприятие-изготовитель должно гарантировать соответствие аппарата требованиямнастоящего стандарта и нормативной документации на аппарат конкретного типа присоблюдении заказчиком условий транспортирования, хранения, монтажа иэксплуатации.
При этом выполнениедополнительных требований или требований, предусматривающих вариант исполнения,должно гарантироваться в соответствии с контрактом.
11.2.Предприятие-изготовитель должен гарантировать работу аппарата при параметрах,указанных в контракте или техническом задании.
11.3. Гарантийный срокэксплуатации - не менее 18 месяцев со дня ввода сосуда в эксплуатацию, но неболее 24 месяцев после отгрузки с предприятия-изготовителя, то же и на запасныечасти.
Гарантийный срокэксплуатации на комплектующие изделия - в соответствии с сопроводительнойдокументацией поставщиков.
Трубы стальные сварные длятеплообменников (ИСО 6758-80)
1. Область применения
1.1. Настоящиймеждународный стандарт устанавливает характеристики сварных труб с гладкимконцом, изготовленных из углеродистой или легированной стали (включаяаустенитную нержавеющую сталь), которые предназначены для использования втеплообменниках.
1.2. Настоящий стандартне распространяется на стальные трубы, используемые в условиях действия на нихоткрытого пламени.
2. Ссылки
ИСО 2604-3-75 Стальныеизделия, используемые в условиях повышенного давления. Требования к качеству.Часть 3. Трубы, сваренные с помощью контактной и индукционной сварки
ИСО 2604-5-78 Стальныеизделия, используемые в условиях повышенного давления. Требования к качеству.Часть 5. Трубы, из аустенитной нержавеющей стали, сваренные продольно
3. Материал
Трубы должнысоответствовать требованиям стандарта ИСО 2604/3 или ИСО 2604-5. Они должныотноситься к категории испытаний III или Vдля стандарта ИСО 2604/3 и к категории испытаний II или IV для стандарта ИСО 2604-5, однакогидравлическое испытание по выбору изготовителя может быть заменено испытаниембез разрушения образца, обеспечивающим такое же качество (водонепроницаемость).
Предпочтительноиспользовать следующие марки стали:
углеродистая - TW2, TW5, TW9H, TW10;
легированная - TW26, TW32;
аустенитная нержавеющая -TW46, TW47, TW53, TW57,TW58, TW60, TW61.
По соглашению междуизготовителем и заказчиком могут поставляться другие марки стали согласно ISO 2604, часть 3 или 5.
4. Размеры, масса и допуски
4.1. Размеры и масса
Таблица 1
Углеродистая и легированнаясталь
| Наружный диаметр, мм | Масса на единицу длины, кг/м, при толщине, мм | ||||
| 1,2 | 1,6 | 2,0 | 2,6 | 3,2 | |
| 16 | 0,438 | 0,568 | 0,691 | - | - |
| 20 | - | 0,726 | 0,888 | 1,12 | - |
| 25 | - | 0,923 | 1,13 | 1,44 | 1,72 |
| 30 | - | 1,12 | 1,38 | 1,76 | 2,11 |
| 38 | - | - | 1,78 | 2,27 | 2,75 |
Примечание к таблицам 1 и 2 - См.также дополнение к настоящему стандарту.
Таблица 2
Аустенитная нержавеющая сталь
| Наружный диаметр, мм | Масса на единицу длины, кг/м при толщине, мм | ||||
| 1,2 | 1,6 | 2,0 | 2,6 | 3,2 | |
| 16 | 0,445 | 0,577 | 0,701 | - | - |
| 20 | 0,564 | 0,737 | 0,901 | 1,14 | - |
| 25 | - | 0,937 | 1,15 | 1,46 | 1,75 |
| 30 | - | 1,14 | 1,40 | 1,79 | 2,14 |
| 38 | - | 1,46 | 1,81 | 2,30 | 2,79 |
4.2. Допуски
Трубы должны иметьдопуски, указанные в 4.2.1 - 4.2.3. Вдопуски по наружному диаметру входит овальность, а в допуски по толщине -эксцентричность.
4.2.1. Наружный диаметр
4.2.1.1.Трубы из углеродистой и легированной стали
| Диаметр, мм | Допуск, мм |
| До 20 включ. | ±0,10 |
| От 20 до 38 » | ±0,15 |
4.2.1.2. Трубыиз аустенитной нержавеющей стали
Класс I
| Диаметр, мм | Допуск, мм |
| До 20 включ. | ±0,15 |
| От 20 до 38 » | ±0,20 |
Класс II
| Диаметр, мм | Допуск, мм |
| До 20 включ. | ±0,3 |
| От 30 до 38 » | ±0,4 |
4.2.2. Толщина
Допуски по толщине должнысоставлять ±10 % (не менее ±0,2 мм), за исключением тех случаев, когда трубы поставляютсяминимальной толщины в соответствии с соглашением; при этом допуски составляют:
%.
Наплыв шва снаружи должен быть полностью удален так,чтобы поверхность шва сравнялась с поверхностью трубы, а внутренний наплывдолжен быть удален так, чтобы его высота не превышала:
0,25 мм для труб наружнымдиаметром < 20 мм;
0,15 мм для труб наружнымдиаметром ≤ 20 мм.
Примечание - Для толщины и массы трубына единицу длины в таблицах 1 и 2 даны номинальные значения. При указанииминимального допуска на толщину трубы необходимо увеличить массу на 10 %.
Если длина указана как«точная», то допуски по длине должны быть следующими:
| Длина, мм | Допуск, мм |
| До 6000 включ. | +3,0 |
|
| 0 |
| От 6000 до 9000 | +4,5 |
|
| 0 |
| » 9000 » 12000 » | +6,0 |
|
| 0 |
| » 12000 - 15000 » | +7,5 |
|
| 0 |
| » 15000 - 18000 » | +9,0 |
|
| 0 |
5. Обозначение для заявки
5.1. Трубы, указанные внастоящем международном стандарте, обозначают следующим образом:
а) название «труба»;
б) ссылка на данныймеждународный стандарт;
в) размеры в миллиметрах(наружный диаметр и толщина);
г) марка стали.
Пример:
Труба, соответствующаяИСО 6758, наружным диаметром 20 мм и толщиной 2 мм, изготовленная из сталимарки TW5, должна иметьобозначение:
Труба ИСО 6758-20×2-TW5
5.2. Настоящиймеждународный стандарт допускает выбор вариантов. Заказчик должен указать взаявке приведенные здесь сведения, в противном случае поставку осуществляют повыбору изготовителя.
ДОПОЛНЕНИЕ
Размеры в метрической системе,соответствующие размерам в дюймах
Значения, представленныев приведенной ниже таблице, могут понадобиться при замене труб в существующихтеплообменниках для соблюдения критического зазора между трубами и трубнойрешеткой, особенно если последний первоначально был определен в дюймах.
Этизазоры взаимозаменяемы с соответствующими зазорами, выраженными в дюймах.Условия поставки (в частности, допуски по толщине) должны быть оговорены междуизготовителем и заказчиком.
| Наружный диаметр, мм | Толщина, мм | |||||
| 0,89 | 1,25 | 1,65 | 2,11 | 2,77 | 3,41 | |
| 15,9 | х1 | х | х | х |
|
|
| 19,06 | х1 | х1 | х | х | х |
|
| 25,4 |
| х1 | х | х | х | х |
| 31,8 |
|
| х | х | х | х |
| 38,1 |
|
| х | х | х | х |
| 50,8 |
|
|
| х | х | х |
| 1 Только для труб из нержавеющей стали. Примечание - Масса должна быть вычислена в соответствии с ИСО 4200. | ||||||
Трубы стальные бесшовные длятеплообменников (ИСО 6759-80)
1. Область применения
1.1. Настоящиймеждународный стандарт устанавливает характеристики бесшовных труб с гладкимконцом, изготовленным из углеродистой или легированной стали (включаянержавеющую сталь), которые предназначены для использования в теплообменниках.
1.2. Настоящий стандартне распространяется на стальные трубы, используемые в условиях действия на нихоткрытого пламени.
2. Ссылка
ИСО 2604/2 Стальныеизделия, используемые в условиях повышенного давления. Требования к качеству.Часть 2. Кованые бесшовные трубы
3. Материал
Трубы должнысоответствовать требованиям стандарта ИСО 2604/2 и, кроме того, должны пройтихолодную отделку и термическую обработку. Они относятся к категории испытаний III или V, однако гидравлическое испытание повыбору изготовителя может быть заменено испытанием без разрушения образца,обеспечивающим такое же качество (водонепроницаемость).
Предпочтительноиспользовать следующие марки стали:
углеродистую - TS2, TS5, TS9H, TS10;
легированную - TS26, TS32, TS34, TS37,TS43, TS45;
ферритную нержавеющую - TS39;
аустенитную нержавеющую -TS46, TS47, TS48, TS53,TS54, TS57, TS58, TS60,TS61, TS63.
По соглашению междуизготовителем и заказчиком могут поставляться другие марки стали согласно ИСО2604, часть 2.
4. Размеры, масса и допуски
4.1. Размеры и масса
Таблица 1
Углеродистая и легированнаясталь
| Наружный диаметр, мм | Масса на единицу длины, кг/м, при толщине, мм | ||||
| 1,2 | 1,6 | 2,0 | 2,6 | 3,2 | |
| 16 | 0,438 | 0,568 | 0,691 | - | - |
| 20 | - | 0,726 | 0,888 | 1,12 | - |
| 25 | - | 0,923 | 1,13 | 1,44 | 1,72 |
| 30 | - | 1,12 | 1,38 | 1,76 | 2,11 |
| 38 | - | - | 1,78 | 2,27 | 2,75 |
Примечание к таблицам 1-3 - см. такжедополнение к настоящему стандарту
Таблица 2
Аустенитная нержавеющая сталь
| Наружный диаметр, мм | Масса на единицу длины, кг/м, при толщине, мм | ||||
| 1,2 | 1,6 | 2,0 | 2,6 | 3,2 | |
| 16 | 0,445 | 0,577 | 0,701 | - | - |
| 20 | 0,564 | 0,737 | 0,901 | 1,14 | - |
| 25 | - | 0,937 | 1,15 | 1,46 | 1,7 |
| 30 | - | 1,14 | 1,40 | 1,79 | 2,1 |
| 38 | - | 1,46 | 1,81 | 2,30 | 2,9 |
Таблица 3
Ферритная нержавеющая сталь
| Наружный диаметр, мм | Масса на единицу длины, кг/м, при толщине, мм | ||||
| 1,2 | 1,6 | 2,0 | 2,6 | 3,2 | |
| 16 | 0,431 | 0,559 | 0,681 | - | - |
| 20 | 0,548 | 0,715 | 0,875 | 1,10 | - |
| 25 | - | 0,909 | 1,11 | 1,42 | 1,69 |
| 30 | - | 1,10 | 1,36 | 1,73 | 2,08 |
| 38 | - | 1,42 | 1,75 | 2,24 | 2,71 |
4.2. Допуски
Трубы должны иметьдопуски, указанные в 4.2.1 - 4.2.3. В допуски по наружному диаметру входитовальность, а в допуски по толщине - эксцентричность.
4.2.1. Наружный диаметр
4.2.1.1.Трубы из углеродистой и легированной стали
| Диаметр, мм | Допуск, мм |
| До 20 включ. | ±0,10 |
| От 20 до 38 » | ±0,15 |
4.2.1.2 Трубы изнержавеющей стали
Класс I
| Диаметр, мм | Допуск, мм |
| До 20 включ. | ±0,15 |
| От 20 до 38 » | ±0,20 |
Класс II
| Диаметр, мм | Допуск, мм |
| До 20 включ. | ±0,3 |
| От 20 до 38 » | ±0,4 |
4.2.2. Толщина
Допуски по толщине должнысоставлять ±10 % (не менее ±0,2 мм), за исключением тех случаев, когда трубыпоставляются минимальной толщиной в соответствии с соглашением; при этомдопуски составляют:
%.
Примечание - Для толщины и массы наединицу длины в таблицах 1, 2 и 3 даны номинальные значения. При указанииминимального допуска на толщину необходимо увеличить массу на 10 %.
4.2.3. Длина
Еслидлина указывается как точная, то допуски по длине должны быть следующими:
| Длина, мм | Допуск, мм |
| До 6000 включ. | +3,0 |
|
| 0 |
| От 6000 до 9000 » | +4,5 |
|
| 0 |
| » 9000 » 12000 » | +6,0 |
|
| 0 |
| » 12000 » 15000 » | +7,5 |
|
| 0 |
| » 15000 » 18000 » | +9,0 |
|
| 0 |
5. Обозначение для заявки
5.1. Трубы, указанные вданном международном стандарте, обозначаются следующим образом:
а) название «труба»;
б) ссылка на настоящиймеждународный стандарт;
в) размеры в миллиметрах(наружный диаметр и толщина);
г) марка стали.
Пример:
Труба, соответствующаяИСО 6759, наружным диаметром 20 мм и толщиной 2 мм, изготовленная из сталимарки TS5, должна иметьобозначение:
Труба ИСО 6759-20×2-TS5
5.2. Настоящиймеждународный стандарт допускает выбор вариантов. Заказчик должен указать взаявке приведенные здесь сведения, в противном случае продукт поставляется повыбору изготовителя.
Перечень материалов дляизготовления основных деталей и сборочных единиц аппарата, работающих поддавлением, для климатического исполнения УХЛ1
| Условное обозначение исполнения секций при заказе | Марка стали, обозначение ГОСТ или ТУ | ||||||||
| Внутренняя труба | Разъемная камера | Цельносварная камера | Трубчатая камера | ||||||
| Трубная решетка | Крышка | Камера | Штуцер, фланец | Пробка | Коллектор, штуцер | Днище (крышка) | Фланец | ||
| Сталь 10, 20, 10Г2 по ГОСТ 550, ГОСТ 8731, ГОСТ 8733, сталь 20 по [14] | Сталь 09Г2С, 10Г2С1, категории 6, 7, 8, 12, 17 по ГОСТ 5520 и категории 4 по ГОСТ 19281 в зависимости от температуры стенки. Сталь 09Г2С-ш и 09Г2СА по [15] | Сталь 20Л, 25Л группа 3 по ГОСТ 977 Сталь 20ГМЛ* по [16] 20ЮЧЛ* по [17] | Сталь 09Г2С, 10Г2С1 категории 6, 7, 8, 12, 17 по ГОСТ 5520 и категории 4 по ГОСТ 19281 в зависимости от температуры стенки. Сталь 09Г2С-ш и 09Г2СА по [15] | Сталь 10Г2 по ГОСТ 4543 | Сталь 09Г2С категории 4, 7, 12 по ГОСТ 19281 в зависимости от температуры стенки Сталь 10Г2 по ГОСТ 4543 | Сталь 10Г2 по ГОСТ 8731, ГОСТ 8733 | Сталь 10Г2 по ГОСТ 4543 | Сталь 10Г2 по ГОСТ 4543 | |
| Сталь 15Х5М, Х8 по ГОСТ 550 | - | - | - | - | - | - | |||
| Сталь 15Х5М по ГОСТ 7350, [18] | Сталь 20Х5МЛ по ГОСТ 977 или 20Х5ТЛ по [17] | Сталь 15Х5М по ГОСТ 7350, [18] | Сталь 15Х5М по ГОСТ 20072 | Сталь 15Х5М по ГОСТ 20072 | Сталь 15Х5М по ГОСТ 550 | Сталь 15Х5М по ГОСТ 20072 | Сталь 15Х5М по ГОСТ 20072 | ||
| Сталь 12Х18Н10Т, 08Х18Н10Т, 08Х22Н6Т по ГОСТ 9941 | Сталь 12Х18Н10Т, 08Х22Н6Т по ГОСТ 7350 | Сталь 12Х18Н9ТЛ, группа 3 по ГОСТ 977 | Сталь 12Х18Н10Т, 08Х22Н6Т по ГОСТ 7350 | Сталь 12Х18Н10Т, 08Х22Н10Т, 08Х22Н6Т по ГОСТ 5632 | Сталь 12Х18Н10Т, 08Х18Н10Т, 08Х22Н6Т по ГОСТ 5632 | Сталь 12Х18Ш0Т, 08Х18ШОТ, 08Х22Н6Т по ГОСТ 9940, ГОСТ 9941 | Сталь 12Х18Н10Т, 08Х18Н10Т, 08Х22Н6Т по ГОСТ 5632 | Сталь 12Х18Ш0Т, 08Х18Н10Т, 08Х22Н6Т по ГОСТ 5632 | |
| Сталь 08Х22Н6Т по ГОСТ 9941 | Сталь 08Х22Н6Т по ГОСТ 7350 | Сталь 20ГМЛ*** по [16], сталь 20ЮЧЛ***, по [17] | - | - | - | - | - | - | |
| Сталь 10Х17Х13М2Т по ГОСТ 9941 | Сталь 12Х18Н10Т, 08Х22Н6Т по ГОСТ 7350 | Сталь 12Х18Н9ТЛ, группа 3 по ГОСТ 977 | Сталь 10Х17Х13М2Т, 12Х18Н10Т, 08Х22Н6Т по ГОСТ 7350 | Сталь 10Х17Х13М2Т, 12Х18Н10Т, 08Х22Н6Т по ГОСТ 5632 | Сталь 10Х17Х13М2Т, 12Х18Н10Т, 08Х22Н6Т по ГОСТ 7350 | Сталь 10Х17Х13М2Т, 12Х18Н10Т, 08Х22Н6Т по ГОСТ 9940, ГОСТ 9941 | Сталь 10Х17Х13М2Т, 12Х18Ш0Т, 08Х22Н6Т по ГОСТ 5632 | Сталь 10Х17Х13М2Т, 12Х18Ш0Т, 08Х22Н6Т по ГОСТ 5632 | |
| Сталь 08Х2Ш6М2Т по [19] | Сталь 08Х22Н6Т по ГОСТ 7350 | Сталь 08Х2Ш6М2Т, 08Х22Н6Т по ГОСТ 7350 | Сталь 08Х21Н6М2Т, 08Х22Н6Т по ГОСТ 5632 | Сталь 08Х21Н6М2Т, 08Х22Н6Т по ГОСТ 5632 | Сталь 08Х22Н6Т по ГОСТ 9940, ГОСТ 9941 | Сталь 08Х22Н6Т по ГОСТ 5632 | Сталь 08Х22Н6Т по ГОСТ 5632 | ||
| Сталь G8X21H6M2T по [19] | Сталь 08Х2Ш6М2Т, 08Х22Н6Т по ГОСТ 7350 | Сталь 20ГМЛ*** по [16], сталь 20ЮЧЛ***, по [17] | - | - | - | - | - | - | |
| Латунь ЛАМш 77-2-0,05 по ГОСТ 21646 | Сталь 09Г2С, 10Г2С1, категории 7 по ГОСТ 5520 и категории 5 по ГОСТ 19281 с наплавкой латунью | Сталь 20ЮЧЛ* с металлизацией латунью внутренних поверхностей с последующим покрытием бакелитовым лаком или сталь 20ГМЛ*** по [16] | - | - | - | - | - | - | |
| Латунь ЛАМш 77-2-0,05 по ГОСТ 21646 | См. исполнение Б1 | Сталь 20ЮЧЛ* по [17], 20ГМЛ*. по [16] | См. исполнение Б1 | Сталь 10Г2 по ГОСТ 4543 | Сталь 09Г2С категории 4, 7, 12 по ГОСТ 19281 в зависимости от температуры стенки, сталь 10Г2 по ГОСТ 4543 | - | - | - | |
| * Отливки подлежат проверке на ударную вязкость при температуре минус 50°С, при этом ударная вязкость должна быть не менее 29 Дж/см2 (3 кгс•м/см2). ** Прибавка на коррозию должна приниматься не менее 4 мм. Примечания1. В секциях исполнения Б4 при применении внутренних труб из стали марки 08Х21Н6М2Т применение трубных решеток из стали марки I2X18H10T не допускается. 2. Применение аппаратов исполнения Б4.1 подлежит согласованию с ОАО «ЛЕННИИХИММАШ», Санкт-Петербург. 3. Трубы из стали марок 08Х22Н6Т и 08Х2Ш6М2Т на раздачу не испытывают. 4. Сталь марки 20ЮЧЛ применяют в нормализованном состоянии (нормализация плюс отпуск) по технической документации, утвержденной в установленном порядке. 5. Исполнения Б5 и Б5.1 применяют при температуре охлаждаемой среды не выше 250°С (523 К). 6. В секциях исполнений Б5 и Б5.1 допускается применять трубы из латуни ЛАМш 70-1-0,05 по ГОСТ 21646. 7. При отсутствии требований к материалу на склонность к межкристаллитной коррозии крышки секций исполнений Б3 и Б4 допускается изготовлять из стали марки 10Х18Н9Л, группа 3 по ГОСТ 977 с пределом текучести не ниже 200 МПа (20 кгс/мм2), а материал решетки допускается применять без проверки на склонность к межкристаллитной коррозии. 8. Для аппаратов, изготовляемых для эксплуатации в районах со средней температурой воздуха в течение 5 суток подряд в наиболее холодный период не ниже минус 40°С, крышки секций исполнений Б1, Б2.1, Б3.1, Б4.1, Б5 и Б5.1 могут быть изготовлены из сталей марок 20Л, 25Л по ГОСТ 977 при условии проведения термической обработки в режиме нормализации плюс отпуск. 9. При необходимости конкретные сочетания марок сталей внутри материального исполнения для внутренних труб, крышек и решеток (камер, коллекторов) должны оговариваться заказчиком при заказе аппарата. 10. В секциях исполнения Б1 допускается применять листовой прокат из стали марок 09Г2С и 10Г2С1 по [20] при условии проведения на предприятии-изготовителе полистных испытаний механических свойств и ударной вязкости, предусмотренных [4], прил. 2, прим. 15. Результаты полистных испытаний должны быть не ниже значений, указанных в [20]. 11. По согласованию со специализированной организацией допускается применять материалы других марок, отличных от указанных в таблице и примечании 6, не ухудшающих эксплуатационных характеристик аппарата. | |||||||||
Перечень материалов дляизготовления деталей и сборочных единиц аппарата, не работающих под давлением
| Наименование сборки | Марка материала | Вид испытаний |
|
| 1. Металлическая несущая конструкция, опора секций, рама привода вентилятора, каркас секций, ступица вентилятора, механизм поворота лопастей вентилятора, пневмопривод жалюзи, нагруженный крепеж (болты и шпильки), а также другие нагруженные ответственные детали привода вентилятора и других сборок | а) сварные конструкции: |
|
|
| Для климатического исполнения У1: |
| ||
| - сортовой, фасонный и листовой прокат из стали марки Ст3сп и Ст3пс по ГОСТ 380 | По ГОСТ 380 с контролем ударной вязкости при минус 20°С и после механического старения. |
| |
| Прокат толщиной от 10 до 25 мм должен поставляться с гарантируемой свариваемостью | |||
| - фасонные профили, листовая и сортовая сталь 09Г2, 09Г2С, 14Г2, 10Г2С1 по ГОСТ 5520 и ГОСТ 19281 категории 12, по [20] категории 3 | По ГОСТ 5520, ГОСТ 19281 с контролем ударной вязкости при минус 40°С | ||
| Для климатического исполнения УХЛ1: | По ГОСТ 5520, ГОСТ 19281 с контролем ударной вязкости при минус 50°С. |
| |
| - фасонные профили, листовая и сортовая сталь 09Г2, 09Г2С, 14Г2, 10Г2С1 по ГОСТ 5520 и ГОСТ 19281 категории 12 | |||
| Для аппаратов, предназначенных для работы в климатическом районе I по ГОСТ 16350, контроль ударной вязкости должен производиться при минус 70°С либо при минус 40°С и после механического старения (категории 2 и 3 по ГОСТ 27772 соответственно) | |||
| б) детали, не подлежащие сварке: | По подпункту а. |
| |
| - материалы по подпункту а); | По ГОСТ 1759.4, ГОСТ 1759.5 и ГОСТ 4543 контроль ударной вязкости при минус 40°С или минус 50°С в зависимости от температуры применения. |
| |
| - материалы - в соответствии с ГОСТ 1759.4 и ГОСТ 1759.5. | |||
| - сортовая сталь марки 10Г2 по ГОСТ 4543 в термически обработанном состоянии | Для климатического района I испытания по ГОСТ 4543 с дополнительным требованием испытания ударной вязкости сортовой стали 40Г2 при температуре минус 60°С. Нормы ударной вязкости для приведенных материалов должны быть не ниже указанных в ГОСТ 27772 при соответствующей температуре испытаний | ||
| 2. Элементы металлоконструкций и других деталей и сборок с напряжением менее 0,4 расчетного сопротивления | Стали Ст3сп5 и Ст3пс5 по ГОСТ 380, с техническими требованиями для проката толщиной: до 3,9 мм включительно по ГОСТ 16523, с 4 мм до 5 мм включительно по ГОСТ 14637. | По ГОСТ 380, ГОСТ 16523, ГОСТ 14637 с контролем ударной вязкости при минус 20°С и после механического старения | |
| 3. Вспомогательные конструкции жалюзи, обшивка коллекторов и диффузоров, малонагруженные и невращающиеся детали разных сборок | Стали Ст3сп4 и Ст3пс4 по ГОСТ 380, с техническими требованиями для проката толщиной: | По ГОСТ 380, ГОСТ 16523, ГОСТ 14637 |
|
| до 3,9 мм включительно по ГОСТ 16523, с 4 мм до 5 мм включительно по ГОСТ 14637 |
| ||
| 4. Трубы для стяжек коллектора и увлажнителя воздуха | Для климатического исполнения У1: |
| |
| Сталь Ст3сп5 и Ст3пс5 в термообработанном состоянии по ГОСТ 380 | В состоянии поставки |
| |
| Для климатического исполнения УХЛ1: |
| ||
| Сталь 10Г2 по ГОСТ 4543 в термообработанном состоянии или сталь 12Х18Н10Т по ГОСТ 5632 | То же |
| |
| 5. Трубы змеевиков подогрева воздуха и змеевиков подогрева рабочей среды в секциях | Сталь 10, 20 по ГОСТ 8733 | » |
|
| 6. Малонагруженный неответственный крепеж | Материалы по ГОСТ 1759.4 и ГОСТ 1759.5 | » |
|
Примечания1. Допускается применять другие марки стали, соответствующие требованиям ГОСТ 27772. 2. Детали из резины должны быть изготовлены из резины марки В-14-1 по [21] или по согласованию со специализированной организацией из других равноценных марок резины. |
| ||
Таблица Г.1
| Условное обозначение исполнения секций при заказе | Марка стали, обозначение ГОСТ или ТУ | ||||||||
| Труба внутренняя | Разъемная камера | Цельносварная камера | Трубчатая камера | ||||||
| Решетка внутренняя | Крышка | Камера | Штуцер, фланец | Пробка | Коллектор, штуцер | Днище (крышка) | Фланец | ||
| Б1 | Сталь 10, 20, 10Г2 по ГОСТ 550, ГОСТ 8731, ГОСТ 8733, сталь 20 по [4] | Сталь 17ГС, 17Г1С, 09Г2С, 16ГС, 10Г2С1 категории 5, 6, 12 Сталь 16ГС, 09Г2С, 10Г2С1 категории 11 по ГОСТ 5520 Сталь 17ГС, 17ПС, 16ГС, 09Г2С категории 3, 4, 11, 12 по ГОСТ 19281 и категории 2, 3 по [20] в зависимости от температуры стенки | Сталь 20Л, 25Л группа 3 по ГОСТ 977 Сталь 20ГМЛ* по [16], сталь 20ЮЧЛ* по [17] | Сталь 17ГС, 17Г1С, 09Г2С, 16ГС, 10Г2С1 категории 5, 6, 12 Сталь 16ГС, 09Г2С, 10Г2С1 категории 11 по ГОСТ 5520 Сталь 17ГС, 17Г1С, 16ГС, 09Г2С категории 3, 4, 12 по ГОСТ 19281 в зависимости от температуры стенки | Сталь 16ГС, 09Г2С по ГОСТ 19281 Сталь 10Г2 по ГОСТ 4543 | Сталь 09Г2С категории 4, 12, по ГОСТ 19281 в зависимости от температуры стенки, сталь 10Г2 по ГОСТ 4543 | Сталь 20 по ГОСТ 550, ГОСТ 8731, ГОСТ 8733 [14] | Сталь 20 по ГОСТ 1050 | Сталь 20 по ГОСТ 1050 |
| Б2.1 | Сталь 15Х5М, Х8 по ГОСТ 550 |
| - | - | - | - | - | - | |
| * Отливки подлежат проверке на ударную вязкость при температуре минус 50°С, при этом ударная вязкость должна быть не менее 29 Дж/см2 (3 кгс·м/см2). | |||||||||
| Наименование организации | Область специализации | Адрес |
| 1. ОАО «ЛЕННИИХИММАШ» | Проектирование, изготовление, расчеты на прочность, технологические расчеты, сертификационные испытания, разработка нормативных документов | 193167, г. Санкт-Петербург, ул. А. Невского, 9 тел/факс (812) 274-4635 |
| 2. ОАО «ВНИИПТхимнефтеаппаратуры» | Технология изготовления, сварка, термообработка, металловедение | 400005, г. Волгоград, пр. Ленина, 90 тел/факс (8442) 34-114 34-1197 |
| 3. ОАО «ВНИИнефтемаш» | Металловедение, сварка, коррозия, расчеты на прочность | 113191, г. Москва, 4-й Рощинский проезд, 19/21 тел/факс (095) 952-5168 |
1. Форму приложений А и Бк паспорту определяет предприятие-изготовитель.
2. Форму паспортатеплообменной секции при поставке ее отдельной сборочной единицей, разрабатываетпредприятие-изготовитель по типу паспорта на аппарат с включением сведений,относящихся непосредственно к теплообменной секции.
АППАРАТ ВОЗДУШНОГО ОХЛАЖДЕНИЯ
ПАСПОРТ
________________________________________________ПС
обозначение изделия
Регистрационный№_________________
ПРИ ПЕРЕДАЧЕ АППАРАТА ДРУГОМУВЛАДЕЛЬЦУ ВМЕСТЕ С АППАРАТОМ ПЕРЕДАЕТСЯ НАСТОЯЩИЙ ПАСПОРТ
ПС С.2
Содержание
1.Основные сведения об аппарате
2.Основные технические данные
3.Сведения об основных элементах аппарата, работающих под давлением
4.Комплектность
5.Ресурсы, сроки службы и хранения, гарантии изготовителя
6.Консервация
7.Свидетельство об упаковывании
8.Свидетельство о приемке
9.Движение изделия при эксплуатации
10.Работы при эксплуатации
11.Ремонт
12.Свидетельство о приемке после ремонта и гарантии
13.Сведения о рекламациях
14.Техническое освидетельствование контрольными органами
15.Регистрация аппарата
ПриложениеА Регламент проведения в зимнее время пуска, остановки и испытаний нагерметичность аппаратов воздушного охлаждения
ПриложениеБ - Для серийных аппаратов: пределы применения теплообменных секций по давлениюв зависимости от действительной рабочей температуры;
- длянесерийных аппаратов: значение отношения [σ]20/ [σ]т в соответствии с требованиями [16]
| Разрешение на изготовление |
| №__________________________________ |
| от_________________________20______г. |
| выдано_____________________________ |
| наименование органа Госгортехнадзора России |
| УДОСТОВЕРЕНИЕ О КАЧЕСТВЕ ИЗГОТОВЛЕНИЯ АППАРАТА | |||||||||||||||
| 1. Основные сведения об аппарате | |||||||||||||||
| 1.1. Аппарат воздушного охлаждения типа_____________________________________ | |||||||||||||||
| изготовлен________________________________________________________________ | |||||||||||||||
| наименование | |||||||||||||||
| _________________________________________________________________________ | |||||||||||||||
| и адрес предприятия-изготовителя | |||||||||||||||
| Заводской номер ________________________Дата изготовления______________ | |||||||||||||||
| 1.2. Аппарат предназначен для работы на открытом воздухе в макроклиматических районах с ____________климатом, со средней температурой воздуха в течение 5 суток подряд в наиболее холодный период не ниже минус ________°С. Несущая конструкция аппарата рассчитана для установки аппарата в районах с сейсмичностью до _____ баллов и скоростным напором ветра по _______ географическому району. Аппарат предназначен для работы на высоте не более 1000 м над уровнем моря. | |||||||||||||||
| 1.3. Сведения о сертификате соответствия | |||||||||||||||
| __________________________________________________________________________ | |||||||||||||||
| __________________________________________________________________________ | |||||||||||||||
| __________________________________________________________________________ | |||||||||||||||
| 2. Основные технические данные | |||||||||||||||
| 2.1. Площадь поверхности теплообмена аппарата, м2: | |||||||||||||||
| - наружная (по оребрению) | _______________________ | ||||||||||||||
| - внутренняя | _______________________ | ||||||||||||||
| 2.2. Характеристика теплообменной секции | |||||||||||||||
| 2.2.1. Эксплуатационные параметры аппарата- в соответствии с таблицей 1. | |||||||||||||||
| Таблица 1 | |||||||||||||||
| |||||||||||||||
| 2.2.2. Конструктивные параметры: | |
| - коэффициент оребрения труб условный | __________________________ |
| - номинальный размер несущей трубы (наружный диаметр × толщина), мм | __________________________ |
| - число труб фактическое (за вычетом заглушённых) | __________________________ |
| - число рядов труб в секции | __________________________ |
| - число ходов по трубному пространству | __________________________ |
| 2.3. Число теплообменных секций в аппарате | __________________________ |
| 2.4. Объем трубного пространства | __________________________ |
| 2.5. Характеристика привода |
|
| Тип привода: | - непосредственный с передачей вращения через шпоночное соединение; - с клиноременной передачей; - редукторный |
| Тип электродвигателя: | ___________________________ |
| - мощность электродвигателя номинальная, кВт | ___________________________ |
| -синхронная частота вращения электродвигателя, мин-1 | ____________________________ |
| - число приводов в аппарате | ____________________________ |
| 2.6. Характеристика вентилятора: | ____________________________ |
| - тип колеса вентилятора | ____________________________ |
| - диаметр колеса вентилятора, мм | ____________________________ |
| - число лопастей | ____________________________ |
| - частота вращения вентилятора, мин-1 | ____________________________ |
| - максимальный угол установки лопастей (теоретический) | ____________________________ |
| - лопасти изготовлены из | ____________________________ |
| 2.7. Число вентиляторов в аппарате: | ____________________________ |
| - в том числе с ручной регулировкой каждой лопасти отдельно при остановленном вентиляторе | ____________________________ |
| - с пневматическим механизмом поворота лопастей при работающем вентиляторе | ____________________________ |
| 2.8. Габаритные размеры аппарата, мм: |
|
| длина | ____________________________ |
| ширина | ____________________________ |
| высота | ____________________________ |
| 2.9. Масса, кг: |
|
| аппарата | ____________________________ |
| теплообменной секции | ____________________________ |
| привода | ____________________________ |
| 3. Сведения об основных элементах аппарата, работающих под давлением | |
| (заполняются отдельно для каждой сборочной единицы аппарата, работающей под давлением) | |
| 3.1. Сведения об основных элементах теплообменной секции с заводским номером_______________________________________________________ | |
| Шифр материального исполнения теплообменной секции по ГОСТ Р _________________________________________________________________________ | |
| Сведения об основных элементах теплообменной секции приведены в таблице 2. Данные о термообработке элементов теплообменной секции (вид и режим) | |
| _________________________________________________________________________ | |
| _________________________________________________________________________ | |
| _________________________________________________________________________ | |
| Выписка из сертификатов Поставщиков материалов приведена в таблице 3. | |
Таблица 2
Сведения об основных элементахтеплообменных секций с заводским номером _________, работающих под давлением
| Наименование элементов, работающих под давлением | Число элементов | Размеры, мм: для труб: диаметр × толщина; для листа: толщина; для фланцев: условный диаметр DN, - условное давление PN | Основной металл | Данные о сварке | ||||
| Марка | ГОСТ или ТУ | Вид сварки | Электроды, сварочная проволока | Метод и объем контроля | ||||
| Тип, марка | ГОСТ или ТУ | |||||||
| 1. Трубы теплообменные несущие |
|
|
|
|
|
|
|
|
| 2. Сварные камеры: |
|
|
|
|
|
|
|
|
| Стенки: |
|
|
|
|
|
|
|
|
| боковые |
|
|
|
|
|
|
|
|
| верхние |
|
|
|
|
|
|
|
|
| нижние |
|
|
|
|
|
|
|
|
| торцевые |
|
|
|
|
|
|
|
|
| Перегородки |
|
|
|
|
|
|
|
|
| Штуцеры |
|
|
|
|
|
|
|
|
| Фланцы |
|
|
|
|
|
|
|
|
| 3. Разъемные камеры: |
|
|
|
|
|
|
|
|
| решетки |
|
|
|
|
|
|
|
|
| крышки |
|
|
|
|
|
|
|
|
| фланцы |
|
|
|
|
|
|
|
|
| 4. Трубчатые камеры: |
|
|
|
|
|
|
|
|
| трубы камерные |
|
|
|
|
|
|
|
|
| штуцеры |
|
|
|
|
|
|
|
|
| фланцы |
|
|
|
|
|
|
|
|
| 5. Крепежные изделия: |
|
|
|
|
|
|
|
|
| шпильки |
|
|
|
|
|
|
|
|
| гайки |
|
|
|
|
|
|
|
|
| пробки резьбовые |
|
|
|
|
|
|
|
|
| 6. Ответные фланцы |
|
|
|
|
|
|
|
|
Таблица 3
Выписка из сертификатовпоставщиков материалов основных элементов теплообменных секций
| Наименование элементов, работающих под давлением | Размер заготовки | Марка материала | № плавки | Номер сертификата или протокола испытаний | Обозначение ГОСТ, ТУ, DIN | Химический состав, % | Результаты механических испытаний | |||||||||||||||
| С | Si | Мп | S | Р | Сr | Ni |
|
| σТ, н/мм2 | σВ, н/мм2 | σ5, % | φ0,2, % | KCU, Дж/см2 | НВ | Загиб, Дж/см2 |
| ||||||
| 1. Трубы теплообменник несущие |
|
|
|
|
|
|
|
|
|
|
|
|
|
|
|
|
|
|
|
|
|
|
| 2. Сварные камеры: |
|
|
|
|
|
|
|
|
|
|
|
|
|
|
|
|
|
|
|
|
|
|
| Стенки: |
|
|
|
|
|
|
|
|
|
|
|
|
|
|
|
|
|
|
|
|
|
|
| боковые |
|
|
|
|
|
|
|
|
|
|
|
|
|
|
|
|
|
|
|
|
|
|
| верхние |
|
|
|
|
|
|
|
|
|
|
|
|
|
|
|
|
|
|
|
|
|
|
| нижние |
|
|
|
|
|
|
|
|
|
|
|
|
|
|
|
|
|
|
|
|
|
|
| торцевые |
|
|
|
|
|
|
|
|
|
|
|
|
|
|
|
|
|
|
|
|
|
|
| Перегородки |
|
|
|
|
|
|
|
|
|
|
|
|
|
|
|
|
|
|
|
|
|
|
| Штуцеры |
|
|
|
|
|
|
|
|
|
|
|
|
|
|
|
|
|
|
|
|
|
|
| Фланцы |
|
|
|
|
|
|
|
|
|
|
|
|
|
|
|
|
|
|
|
|
|
|
| 3. Разъемные камеры: |
|
|
|
|
|
|
|
|
|
|
|
|
|
|
|
|
|
|
|
|
|
|
| решетки |
|
|
|
|
|
|
|
|
|
|
|
|
|
|
|
|
|
|
|
|
|
|
| крышки |
|
|
|
|
|
|
|
|
|
|
|
|
|
|
|
|
|
|
|
|
|
|
| фланцы |
|
|
|
|
|
|
|
|
|
|
|
|
|
|
|
|
|
|
|
|
|
|
| 4. Трубчатые камеры: |
|
|
|
|
|
|
|
|
|
|
|
|
|
|
|
|
|
|
|
|
|
|
| трубы камерные |
|
|
|
|
|
|
|
|
|
|
|
|
|
|
|
|
|
|
|
|
|
|
| штуцеры |
|
|
|
|
|
|
|
|
|
|
|
|
|
|
|
|
|
|
|
|
|
|
| фланцы |
|
|
|
|
|
|
|
|
|
|
|
|
|
|
|
|
|
|
|
|
|
|
| 5. Крепежные изделия: |
|
|
|
|
|
|
|
|
|
|
|
|
|
|
|
|
|
|
|
|
|
|
| шпильки |
|
|
|
|
|
|
|
|
|
|
|
|
|
|
|
|
|
|
|
|
|
|
| гайки |
|
|
|
|
|
|
|
|
|
|
|
|
|
|
|
|
|
|
|
|
|
|
| пробки резьбовые |
|
|
|
|
|
|
|
|
|
|
|
|
|
|
|
|
|
|
|
|
|
|
| 6. Ответные фланцы |
|
|
|
|
|
|
|
|
|
|
|
|
|
|
|
|
|
|
|
|
|
|
3.2. Сведения об основныхэлементах коллекторов входа и выхода продукта (при наличии в аппарате)приведены в таблицах 4 и 5.
Таблица 4
Сведения об основных элементахколлекторов входа и выхода
| Наименование элементов, работающих под давлением | Число элементов | Размеры, мм: для труб: диаметр х толщина; для листа: толщина; для фланцев: - условный диаметр DN - условное давление PN | Основной металл | Данные о сварке | ||||
| Марка | ГОСТ или ТУ | Вид сварки | Электроды, сварочная проволока | Метод и объем контроля | ||||
| Тип, марка | ГОСТ или ТУ | |||||||
| 1. Трубы коллектора |
|
|
|
|
|
|
|
|
| 2. Штуцеры |
|
|
|
|
|
|
|
|
| 3. Заглушки |
|
|
|
|
|
|
|
|
| 4. Фланцы |
|
|
|
|
|
|
|
|
| 5. Крепежные изделия: |
|
|
|
|
|
|
|
|
| шпильки |
|
|
|
|
|
|
|
|
| гайки |
|
|
|
|
|
|
|
|
Данные о термообработкеэлементов коллекторов входа и выхода продукта (вид и режим)
____________________________________________________________________________________________
____________________________________________________________________________________________
____________________________________________________________________________________________
Таблица 5
Выписка из сертификатовпоставщиков материалов основных элементов коллекторов входа и выхода
| Наименование элементов, работающих под давлением | Размер заготовки | Марка материала | Номер плавки | Номер сертификата или протокола испытаний | Обозначение ГОСТ, ТУ, DIN | Химический состав, % | Результаты механических испытаний | |||||||||||||||
| С | Si | Мп | S | Р | Сr | Ni |
|
| σТ, н/мм2 | σВ, н/мм2 | σ5, % | φ0,2, % | KCU, Дж/см2 | НВ | Загиб, Дж/см2 |
| ||||||
| 1. Трубы коллектора |
|
|
|
|
|
|
|
|
|
|
|
|
|
|
|
|
|
|
|
|
|
|
| 2. Штуцеры |
|
|
|
|
|
|
|
|
|
|
|
|
|
|
|
|
|
|
|
|
|
|
| 3. Заглушки |
|
|
|
|
|
|
|
|
|
|
|
|
|
|
|
|
|
|
|
|
|
|
| 4. Фланцы |
|
|
|
|
|
|
|
|
|
|
|
|
|
|
|
|
|
|
|
|
|
|
| 5. Крепежные изделия: |
|
|
|
|
|
|
|
|
|
|
|
|
|
|
|
|
|
|
|
|
|
|
| шпильки |
|
|
|
|
|
|
|
|
|
|
|
|
|
|
|
|
|
|
|
|
|
|
| гайки |
|
|
|
|
|
|
|
|
|
|
|
|
|
|
|
|
|
|
|
|
|
|
3.3. Сведения об основныхэлементах подогревателя воздуха приведены в таблицах 6 и 7.
Таблица 6
Сведения об основных элементахподогревателя воздуха
| Наименование элементов, работающих под давлением | Число элементов | Размеры, мм: для труб: диаметр х толщина; для листа: толщина; для фланцев: - условный диаметр DN - условное давление PN | Основной металл | Данные о сварке | ||||
| Марка | ГОСТ или ТУ | Вид сварки | Электроды, сварочная проволока | Метод и объем контроля | ||||
| Тип, марка | ГОСТ или ТУ | |||||||
| 1. Трубы теплообменные несущие |
|
|
|
|
|
|
|
|
| 2. Трубы коллектора |
|
|
|
|
|
|
|
|
| 3. Заглушки |
|
|
|
|
|
|
|
|
| 4. Фланцы |
|
|
|
|
|
|
|
|
| 5. Крепежные изделия: |
|
|
|
|
|
|
|
|
| шпильки |
|
|
|
|
|
|
|
|
| гайки |
|
|
|
|
|
|
|
|
Данные о термообработкеэлементов подогревателя воздуха (вид и режим)
_________________________________________________________________________
_________________________________________________________________________
_________________________________________________________________________
Таблица 7
Выписка из сертификатовпоставщиков материалов основных элементов коллекторов входа и выхода
| Наименование элементов, работающих под давлением | Размер заготовки | Марка материала | Номер плавки | Номер сертификата или протокола испытаний | Обозначение ГОСТ, ТУ, DIN | Химический состав, % | Результаты механических испытаний | |||||||||||||||
| С | Si | Мп | S | Р | Сr | Ni |
|
| σТ, н/мм2 | σВ, н/мм2 | σ5, % | φ0,2, % | KCU, Дж/см2 | НВ | Загиб, Дж/см2 |
| ||||||
| 1. Трубы теплообменные несущие |
|
|
|
|
|
|
|
|
|
|
|
|
|
|
|
|
|
|
|
|
|
|
| 2. Трубы коллектора |
|
|
|
|
|
|
|
|
|
|
|
|
|
|
|
|
|
|
|
|
|
|
| 3. Заглушки |
|
|
|
|
|
|
|
|
|
|
|
|
|
|
|
|
|
|
|
|
|
|
| 4. Фланцы |
|
|
|
|
|
|
|
|
|
|
|
|
|
|
|
|
|
|
|
|
|
|
| 5. Крепежные изделия: |
|
|
|
|
|
|
|
|
|
|
|
|
|
|
|
|
|
|
|
|
|
|
| шпильки |
|
|
|
|
|
|
|
|
|
|
|
|
|
|
|
|
|
|
|
|
|
|
| гайки |
|
|
|
|
|
|
|
|
|
|
|
|
|
|
|
|
|
|
|
|
|
|
4. Комплектность
4.1. Комплектностьпоставки аппарата в соответствии со спецификацией приведена в таблице 8.
Таблица 8
| Обозначение изделия | Наименование аппарата или сборочной единицы | Количество, шт. | Заводской номер | Примечание |
| 1. Аппарат с теплообменными секциями и при наличии в спецификации коллектора входа и выхода продукта, укомплектованными ответными фланцами, прокладками и крепежом (приварными заглушками) | ||||
|
|
|
|
|
|
|
|
|
|
|
|
|
|
|
|
|
|
|
|
|
|
|
|
|
|
|
|
|
|
|
|
|
|
|
|
|
|
|
|
|
|
|
|
|
|
|
|
|
|
|
|
|
|
|
|
|
|
|
|
|
|
|
|
|
|
|
|
|
|
|
|
| 2. Сборочные единицы, поставляемые по требованию заказчика | ||||
|
| Комплект жалюзи с ручным приводом |
|
|
|
|
| Пневмопривод жалюзи |
|
|
|
|
| Позиционер к пневмоприводу жалюзи |
|
|
|
|
| Увлажнитель | - |
|
|
|
| Подогреватель воздуха |
|
|
|
| 3. Запасные части к аппарату | ||||
|
|
|
|
|
|
|
|
|
|
|
|
|
|
|
|
|
|
|
|
|
|
|
|
|
|
|
|
|
|
|
|
|
|
|
|
|
|
|
|
|
|
| (наименование комплекта ЗИ или перечень запасных частей) | ||||
|
|
|
|
|
|
|
|
|
|
|
|
|
|
|
|
|
|
|
|
|
|
|
|
|
|
|
|
|
|
|
|
|
|
|
|
|
|
|
|
|
|
| 4. Эксплуатационная документация | ||||
|
|
|
|
|
|
|
|
|
|
|
|
|
|
|
|
|
|
|
|
|
|
|
|
|
|
|
|
|
|
|
|
|
|
|
|
|
|
|
|
|
|
|
| (перечень эксплуатационных документов) |
|
|
|
|
|
|
|
|
|
|
|
|
|
|
|
|
|
|
|
|
|
|
|
|
|
|
|
|
|
|
|
|
|
|
|
|
|
|
|
|
|
|
|
|
|
5. Ресурсы, сроки службы ихранения, гарантии изготовителя
Ресурс до первогокапитального ремонта при непрерывной работе теплообменной секции ______час.
Расчетный срок службы_________лет, в том числе срок хранения __________лет/года при
___________________________________________________________________________
вид консервации изготовителя
___________________________________________________________________________
условия хранения
Ресурсы и срокслужбы комплектующих изделий - в соответствии с эксплуатационными документамина эти изделия.
Указанные ресурсы, срокислужбы и хранения действительны при соблюдении потребителем требованийдействующей эксплуатационной документации.
Гарантии изготовителя(поставщика)
___________________________________________________________________________
___________________________________________________________________________
___________________________________________________________________________
___________________________________________________________________________
___________________________________________________________________________
___________________________________________________________________________
6. Консервация
Сведения о консервацииприведены в таблице 9.
Таблица 9
| Дата проведения консервации | Наименование работы | Срок действия, лет | Должность, фамилия, подпись |
|
|
| - |
|
7. Свидетельство обупаковывании
| _________ | _______________ | ________________ | №_________ | ||||||
| наименование изделия | обозначение | заводской номер |
| ||||||
| упакован(а)___________________________________________________________ | |||||||||
| наименование или код изготовителя | |||||||||
| согласно требованиям, предусмотренным в действующей технической документации. | |||||||||
| _______________ | ____________________ | ____________________ | |||||||
| должность | личная подпись | расшифровка подписи | |||||||
| ___________________________ | |||||||||
| год, месяц, число | |||||||||
| 8. Свидетельство о приемке | |||||||||
| ________ | ________________ | ________________ | №_________ | ||||||
| наименование изделия | обозначение | заводской номер |
| ||||||
| изготовлен(а) и принят(а) в соответствии с требованиями ГОСТ Р и действующей технической документации. Сборочные единицы, работающие под давлением, подвергнуты наружному осмотру и гидравлическому испытанию пробным давлением: | |||||||||
| теплообменные секции | _____________________МПа, | ||||||||
| подогреватели воздуха | _____________________МПа, | ||||||||
| коллекторы входа и выхода продукта | _____________________МПа, | ||||||||
| Класс герметичности теплообменной секции _______по ОСТ 26-11-14-88 подтвержден испытаниями___________________________________________________________________ Колесо вентилятора отбалансировано статически. Остаточный дисбаланс _________________г·см. Аппарат признан годным для эксплуатации при указанных в паспорте среде и параметрах. | |||||||||
|
| Начальник ОТК | ||||||||
| __________________________ | _____________________________ | ||||||||
| личная подпись | расшифровка подписи | ||||||||
| __________________________ |
| ||||||||
| год, месяц, число |
| ||||||||
Обязательные приложения кпаспорту:
1) Сборочный чертежаппарата и основных сборочных единиц и, при необходимости, монтажный чертеж с указаниемосновных размеров.
2) Расчет на прочность сприложением эскизов основных несущих элементов аппарата: стенок камерыаппарата, фланцев, узлов врезки штуцеров и др.
3) Руководство поэксплуатации и, при необходимости, инструкция по монтажу, пуску, регулированиюи обкатке изделия.
4) Регламент пускааппарата в зимнее время ОСТ 26-291.
5) Отношение [σ]20/[σ]t всоответствии с требованиями 4.6 «Правил устройства и безопасной эксплуатациисосудов, работающих под давлением» для несерийных аппаратов, либо пределыприменения для теплообменных секций по давлению в зависимости от рабочейтемпературы для серийных аппаратов.
9. Движение изделия при эксплуатации
| Ограничения по транспортированию ______________________________________ |
| ограничения, соблюдение которых |
| _________________________________________________________________________ |
| обязательно при транспортировании изделия |
| _________________________________________________________________________ |
| _________________________________________________________________________ |
Таблица 10
Хранение
| Дата | Условия хранения | Вид хранения | Примечание | |
| приемки на хранение | снятия с хранения | |||
|
|
|
|
|
|
Таблица 11
Движение изделия приэксплуатации
| Дата установки | Место установки | Дата снятия | Наработка | Причина снятия | Подпись лица, проводившего установку (снятие) | |
| с начала эксплуатации | После последнего ремонта | |||||
|
|
|
|
|
|
|
|
Таблица 12
Прием и передача изделия
| Дата | Состояние изделия | Основание (наименование, номер и дата документа) | Предприятие, должность и подпись | Примечание | |
| сдавшего | принявшего | ||||
|
|
|
|
|
|
|
Таблица 13
Сведения о закреплении изделияза ответственным лицом за исправное состояние и безопасность работы
| Наименование изделия (составной части) и обозначение | Основание (наименование, номер и дата документа) | Должность, фамилия и инициалы | Подпись ответственного лица | |
| Закрепление | Открепление | |||
|
|
|
|
|
|
10. Работы при эксплуатации
Таблица 14
Учет выполнения работ
| Дата | Наименование работы и причина ее выполнения | Должность, фамилия и подпись | Примечание | |
| выполнившего работу | проверившего работу | |||
|
|
| - |
|
|
Таблица 15
Особые замечания поэксплуатации и аварийным случаям
| Дата | Данные по аварийным случаям, возникшим из-за неисправности изделия, и сведения по основным замечаниям по эксплуатации | Неисправность изделия | Меры, принятые по устранению неисправности | Подпись лица, ответственного лица за выполнение работ |
|
|
|
|
|
|
Таблица 16
Периодический контроль основныхэксплуатационных и технических характеристик
| Наименование и единица измерения проверяемой характеристики | Номинальное значение | Предельное значение | Периодичность контроля | Результаты контроля | |
| Дата | Значение | ||||
|
|
|
|
|
|
|
| Примечание - Перечень, наименование, единицы измерения проверяемых характеристик (номинальные величины и предельные отклонения) указывает изготовитель изделия. | |||||
11. Ремонт
| Краткие записи о произведенном ремонте | |||||
| ____________ | ______________________ | № _________________ | |||
| наименование изделия | обозначение | заводской номер | |||
| ______________________________ |
| ||||
| предприятие, дата |
| ||||
| Наработка с начала эксплуатации | __________________________________ | ||||
|
| параметр, характеризующий ресурс или срок службы | ||||
| Наработка после последнего ремонта | ______________________________________________ | ||||
|
| параметр, характеризующий ресурс или срок службы | ||||
| Причина поступления в ремонт_____________________________________________________________ | |||||
| Сведения о произведенном ремонте | ________________________________________ | ||||
|
| вид ремонта и краткие | ||||
| _______________________________________________________________________ | |||||
| сведения о ремонте | |||||
| Данные приемо-сдаточных испытаний изделия после ремонта______________________ | |||||
| ________________________________________________________________________ | |||||
| ________________________________________________________________________ | |||||
| ________________________________________________________________________ | |||||
| ________________________________________________________________________ | |||||
12. Свидетельство о приемке после ремонта и гарантии
| ____________________ | _____________________ | № ____________________ | |||||
| наименование изделия | обозначение | заводской номер | |||||
| _________________ | _____________________ | согласно | _______________ | ||||
| вид ремонта | наименование предприятия условное обозначение |
| вид документа | ||||
| Принят(а) в соответствии с обязательными требованиями государственных стандартов и действующей технической документацией и признан(а) годным(ой) для эксплуатации. | |||||||
| Ресурс до очередного ремонта | ___________________________________________ | ||||||
|
| параметр, определяющий ресурс | ||||||
| в течение срока службы __________лет (года), в том числе срок хранения________ | |||||||
| ________________________________________________________________________ | |||||||
| условия хранения лет (года) | |||||||
| Исполнитель ремонта гарантирует соответствие изделия требованиям действующей технической документации при соблюдении потребителем требований действующей эксплуатационной документации. | |||||||
| МП | Начальник ОТК | ||||||
| __________________________ | _______________________ | ||||||
| личная подпись | расшифровка подписи | ||||||
| __________________________ |
| ||||||
| год, месяц, число |
| ||||||
13. Сведения о рекламациях
Таблица 17
| Краткое изложение порядка предъявления рекламации | Краткое содержание рекламации | Меры, принятые по рекламации |
|
|
|
|
| Особые отметки_______________________________________________________________ |
| ______________________________________________________________________________ |
| ______________________________________________________________________________ |
| ______________________________________________________________________________ |
14. Техническоеосвидетельствование контрольными органами
Таблица 18
Техническое освидетельствованиеконтрольными органами
| Наименование и обозначение составной части изделия | Заводской номер | Дата изготовления | Периодичность освидетельствования | Освидетельствование | Примечание | |
| Дата | Срок очередного освидетельствования | |||||
|
|
|
|
|
|
|
|
| Примечание - Первые четыре графы таблицы заполняет изготовитель изделия. Последующие графы заполняет лицо, проводившее освидетельствование. | ||||||
15. Регистрация аппарата
| Аппарат зарегистрирован за №__________________________________________________ | ||
| в _____________________________________________________________________________ | ||
| регистрирующий орган | ||
| В паспорте пронумеровано и прошнуровано __________страниц и ___________ чертежей | ||
| ________________________ | _____________________ |
|
| должность регистрирующего лица | подпись |
|
| М.П. | ||
| "_____"_______________20 _____г. | ||
1. СНиП11-7-81 Строительство в сейсмических районах
2. СНиП 2.01.07-85 Нагрузки ивоздействия
3. ОСТ26-11-14-88 Сосуды и аппараты, работающие под давлением. Газовые и жидкостныеметоды контроля герметичности
4. ОСТ26-291-94 Сосуды и аппараты стальные сварные. Общие технические условия
5. ОСТ26-02-758-79 Конструкции металлические. Общие технические требования
6. Правилаустройства и безопасной эксплуатации сосудов, работающих под давлением (ПБ10-115-96) - Госгортехнадзор России
7. ОСТ26-02-1015-85 Крепление труб в трубных решетках
8. ОСТ26-17-01-83 Аппараты теплообменные и аппараты воздушного охлаждениястандартные. Технические требования к развальцовке труб с ограничениемкрутящего момента
9. ОСТ26-2043-91 Болты, шпильки, гайки и шайбы для фланцевых соединений. Техническиетребования
10. ОСТ26.260.454-99 Прокладки спирально-навитые. Типы и размеры. Общие техническиетребования
11. ТУ6-10-1233-77 Эмаль ПФ темно-серая
12. Правила устройства электроустановок(ПУЭ)
13. Общиеправила взрывобезопасности для взрывопожароопасных химических, нефтехимическихи нефтеперерабатывающих производств (ПБ09-170-97) Госгортехнадзор России
14. ТУ14-3-460-75 Трубы стальные бесшовные для паровых котлов и трубопроводов.Технические условия
15. ТУ302.02.122-91 Заготовки из стали марок 09Г2С (092СШ), 09Г2СА. Техническиеусловия
16. ОСТ26-07-402-83 Отливки стальные для трубопроводной арматуры и приводных устройствк ним. Общие технические условия
17. ТУ26-02-19-75 Отливки стальные для оборудования нефтеперерабатывающих инефтехимических производств
18. ТУ14-1-2657-79 Сталь толстолистовая марки 15Х5М
19. ТУ14-3-1905-93 Трубы бесшовные горяче- и холоднодеформированные из коррозионнойстали марок 08Х22Н6Т (ЭП53), 08Х21Р6М2Т (ЭП54) и 10Х14П4Н4Т (ЭИ711)
20. ТУ14-1-5241-93 Прокат толстолистовой высококачественный из углеродистой,низколегированной и легированной сталей. Технические условия
21. ТУ 38.1051082-86 Смеси резиновые невулканизированные товарные
| Ключевые слова: аппараты воздушного охлаждения, конструкция, основные параметры и размеры, материалы, трубы оребренные, вентилятор |