Меню
Навигация
Novatika
Бесплатное обучение
Первая линия

Замки сферических шарнирных соединений линейной арматуры и изоляторов. Технические условия

Стандарт распространяется на замки, предназначенные для предотвращения расцепления сферических шарнирных соединений изоляторов и линейной арматуры.

Обозначение: ГОСТ Р 51178-98
Название рус.: Замки сферических шарнирных соединений линейной арматуры и изоляторов. Технические условия
Статус: действует
Дата актуализации текста: 05.05.2017
Дата добавления в базу: 01.09.2013
Дата введения в действие: 01.01.1999
Утвержден: 18.06.1998 Госстандарт России (Russian Federation Gosstandart 252)
Опубликован: ИПК Издательство стандартов (1998 г. )
Ссылки для скачивания:

ГОСТ Р 51178-98

ГОСУДАРСТВЕННЫЙ СТАНДАРТ РОССИЙСКОЙ ФЕДЕРАЦИИ

 

ЗАМКИ СФЕРИЧЕСКИХ ШАРНИРНЫХ
СОЕДИНЕНИЙ ЛИНЕЙНОЙ АРМАТУРЫ
И ИЗОЛЯТОРОВ

Технические условия

 

 

ГОССТАНДАРТ РОССИИ

Москва

 

Предисловие

1 РАЗРАБОТАН Московским специальным конструкторско-технологическим бюро акционерного общества «Производственное объединение Электросетьизоляция» (МСКТБ АО «ПО Электросетьизоляция»)

2 ПРИНЯТ И ВВЕДЕН В ДЕЙСТВИЕ Постановлением Госстандарта России от 18 июня 1998 г. № 252

3 ВВЕДЕН ВПЕРВЫЕ

4 ПЕРЕИЗДАНИЕ

 

СОДЕРЖАНИЕ

ГОСТ Р 51178-98

ГОСУДАРСТВЕННЫЙ СТАНДАРТ РОССИЙСКОЙ ФЕДЕРАЦИИ

ЗАМКИ СФЕРИЧЕСКИХ ШАРНИРНЫХ СОЕДИНЕНИЙ ЛИНЕЙНОЙ АРМАТУРЫ
И ИЗОЛЯТОРОВ

Технические условия

Clips for ball-socket couplings of line hardware and insulators.
Specifications

Дата введения 1999-01-01

1 Область применения

Настоящий стандарт распространяется на замки, предназначенные для предотвращения расцепления сферических шарнирных соединений изоляторов и линейной арматуры.

2 Нормативные ссылки

В настоящем стандарте использованы ссылки на следующие стандарты:

ГОСТ 2999-75 Металлы и сплавы. Метод измерения твердости по Виккерсу

ГОСТ 9012-59 (ИСО 410-82, ИСО 6506-81) Металлы. Метод измерения твердости по Бринеллю

ГОСТ 9013-59 (ИСО 6508-86) Металлы. Метод измерения твердости по Роквеллу

ГОСТ 13276-79 Арматура линейная. Общие технические условия

ГОСТ 27396-93 (МЭК 120-84) Арматура линейная. Сферические шарнирные соединения изоляторов

3 Технические требования

3.1 Замки должны соответствовать требованиям настоящего стандарта, ГОСТ 13276 и рабочим чертежам, утвержденным в установленном порядке.

3.2 Основные параметры и размеры

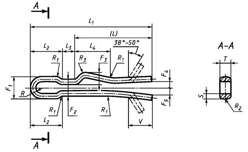
3.2.1 Марки и размеры V-образных замков должны соответствовать указанным на рисунке 1 и в таблице 1. Исполнения кромок на концах ножек V-образных замков приведены в приложении А.

Рисунок 1

Таблица 1                                                                                                     В миллиметрах

Марка замка

Условный размер по ГОСТ 27396

F1

F2min

F3

F4

F5

Lmin

L1

L2

L3

V-11

11

11,9

8,2

4,5

3,5

2,5

29

55

16,0

4,6

V-16A

16А

14,5

10,3

5,5

4,5

3,0

38

65

19,0

5,2

V-16B

16В

16,4

10,7

5,5

4,5

3,5

38

65

18,5

6,5

V-20

20

16,4

10,7

6,0

4,5

3,5

49

80

22,5

6,5

V-24

24

20,0

12,8

7,0

7,0

4,0

60

100

29,5

7,7

V-28

28

22,5

13,8

7,4

7,5

4,5

71

115

32,5

8,7

V-32

32

26,0

15,8

8,4

8,5

5,0

81

130

37,0

10,0

В миллиметрах

Марка замка

Условный размер по ГОСТ 27396

L4

Rmin

R1

R2

R3

S

±0,1

T

V

V-11

11

16

2,5

2

3,3

6,0

2,2

4,8+0,2

8

V-16A

16А

18

3,0

3

3,8

6,5

3,2

5,5+0,2

12

V-16B

16В

22

3,0

3

4,8

8,5

3,2

7,9+0,2

12

V-20

20

22

3,0

3

4,8

8,5

3,2

7,0+0,2

12

V-24

24

28

3,5

4

5,7

10,0

4,0

8,7+0,2

12

V-28

28

31

3,5

5

6,2

12,0

4,5

10,0+0,3

15

V-32

32

36

3,5

6

7,2

14,0

5,2

11,5+0,3

15

Примечание - Размер Lmax устанавливает потребитель (6.3).

3.2.2 Марки и размеры W-образных замков должны соответствовать указанным на рисунке 2 и в таблице 2.

Рисунок 2

Таблица 2                                                                                                     В миллиметрах

Марка замка

Условный размер по ГОСТ 27396

F1

F2

F3

F4

F5

F6

L1

±1,5

L2

W-11

11

15

20

3

13

19

4+0,6

37

12,0

W-16A

16А

22

28

5

19

24

5+1,0

50

15,5

W-16B

16В

22

28

5

19

24

5+1,0

50

15,5

W-20

20

22

30

5

19

24

5+1,0

62

15,5

W-24

24

22

30

5

19

25

5+1,0

72

15,5

W-28

28

24

32

6

21

28

6+1,0

83

16,0

W-32

32

26

36

6

24

33

7+1,0

96

18,0

В миллиметрах

Марка замка

Условный размер по ГОСТ 27396

L3

±1,5

L4

L5

R1

R2

R3, не более

S

+0,2

T

+0,2

W-11

11

24

8,0

3

2,5

3,0

1,5

1,2

4,8

W-16A

16А

36

10,5

3

2,5

3,0

2,5

1,5

5,5

W-16B

16В

36

10,5

3

2,5

4,5

2,5

1,5

7,9

W-20

20

42

10,5

3

2,5

4,5

2,5

2,0

7,0

W-24

24

50

10,5

3

2,5

5,0

2,5

2,0

8,7

W-28

28

62

12,5

4

3,0

6,0

3,0

2,2

10,0

W-32

32

71

16,0

4

3,0

7,0

3,0

2,6

11,5

Примечание - По согласованию изготовителя с потребителем допускается изготовлять W-образные замки всех марок с R2 = 5 мм.

3.2.3 Условные обозначения

В условном обозначении буквы означают: V - V-образный (шплинтовой) замок; W - W-образный (пружинный) замок.

Примеры условных обозначений

V-образный замок для гнезда условного размера 16 мм, исполнение А:

Замок V-16A ГОСТ Р 51178-98

W-образный замок для гнезда условного размера 20 мм:

Замок W-20 ГОСТ Р 51178-98

3.2.4 Замки должны изготовляться из коррозионно-стойкого материала с твердостью не менее 160 единиц по Виккерсу для V-образных и не менее 150 - для W-образных замков. Тип материала и его характеристики указываются в конструкторской документации.

3.2.5 В зависимости от поставляемого материала допускается изготавливать W-образные замки с предельными отклонениями по ширине замка (T) + 0,4 мм для условных размеров от 11 до 24 мм и 0,7 мм для условных размеров от 28 до 32 мм при поставках на российский рынок. При поставке в другие страны - по согласованию изготовителя с потребителем.

3.2.6 V-образный замок должен выступать из отверстия гнезда не менее чем на 5 мм (рисунок 3).

Рисунок 3

3.2.7 Допускается уменьшение размера L2 V-образных замков при условии выполнения требования 3.2.6. При этом должна быть соответственно уменьшена общая длина замка L1.

3.2.8 V-образные замки должны переходить из запирающего положения (рисунок 3) в положение предварительной фиксации (рисунок 4) при приложении силы:

от 30 до 300 Н - для условного размера 11 мм;

от 50 до 500 Н - для остальных условных размеров.

Рисунок 4

3.2.9 V-образные замки не должны полностью извлекаться из гнезда при приложении силы Fmax:

300 Н - для условного размера 11 мм;

500 Н - для остальных условных размеров.

3.2.10 W-образные замки должны переходить из запирающего положения (рисунок 5) в положение предварительной фиксации (рисунок 6) при приложении силы от 25 до 250 Н.

Рисунок 5

Рисунок 6

По согласованию с потребителем значения этих сил могут быть установлены в определенных пределах.

3.2.11 W-образные замки не должны полностью извлекаться из гнезда при приложении силы Fmax = 250 H.

3.2.12 На поверхности замков не должно быть дефектов, которые могут нарушить его нормальную работу.

3.2.13 Замки должны входить в комплект с изоляторами и линейной арматурой.

По требованию потребителя допускается дополнительно отгружать замки без изоляторов и линейной арматуры.

3.3 Маркировка

Маркировка замков - по ГОСТ 13276.

3.4 Упаковка

Упаковка замков - по ГОСТ 13276.

4 Требования охраны окружающей среды

4.1 Замки при хранении, транспортировании и эксплуатации не вызывают воздействий на экологическую среду, что могло бы нанести вред здоровью и генетическому фонду человека.

4.2 Отработанные и снятые с эксплуатации изделия сдают для вторичной переработки.

5 Правила приемки

5.1 Для проверки замков устанавливают приемосдаточные испытания.

5.2 Приемосдаточные испытания проводят на замках, отобранных произвольно из партии замков.

За партию принимают замки одной марки, изготовленные в одних и тех же технологических условиях и оформленные одним документом о качестве. При приемосдаточных испытаниях выполняют:

1) проверку внешнего вида;

2) проверку размеров;

3) испытания на изгиб;

4) испытания на твердость;

5) эксплуатационное испытание.

5.3 Количество замков, подвергаемых проверке внешнего вида, приемочное число К, приемочный уровень дефектности AQL указаны в таблице 3.

Таблица 3

Число замков в партии N, шт.

Число замков, подвергаемых внешнему осмотру, шт.

Приемочное число K

AQL = 1,5 %

AQL = 6,5 %

N  <   500

50

2

7

500    <  N  <   1200

80

3

10

1200  <  N  <   3200

125

5

14

3200  <  N  <   10000

200

7

21

10000    <  N   <         35000

315

10

21

35000    <  N   <         150000

500

14

21

Примечания

1 Приемочное число K соответствует числу дефектов, принятых для AQL.

2 AQL = 1,5 % - число замков, имеющих поверхностное растягивание или зарождающиеся трещины. По согласованию изготовителя с потребителем партию замков с наличием зарождающихся трещин бракуют.

3 AQL = 6,5 % - число замков, имеющих мелкие раковины или шероховатую поверхность.

Партия удовлетворяет требованиям 5.3, если число дефектных замков меньше или равно приемочному числу K, т.е. если приемочное число K превышает значение, приведенное в таблице 3, партию замков бракуют.

5.4 Число замков P, подвергаемых испытаниям на соответствие остальным требованиям 5.2, должно равняться ближайшему целому числу, превышающему число, полученное по формулам:

При N < 500 P должно определяться по согласованию между сторонами, где N - число замков в партии.

Замки, отобранные для испытаний, делят на две приблизительно равные части, которые последовательно подвергают следующим испытаниям:

- первую часть - проверке размеров, испытанию на изгиб и твердость;

- вторую часть - проверке размеров и эксплуатационному испытанию (требования по 3.2.7 - 3.2.10).

5.5 При получении неудовлетворительных результатов испытаний размеров проводят повторную проверку на утроенном количестве замков, отобранных из той же партии.

5.6 При получении неудовлетворительных результатов испытаний на изгиб и твердость, а также эксплуатационного испытания хотя бы на одном замке, по одному из указанных испытаний должно быть проведено повторное испытание на удвоенном количестве замков, отобранных из той же партии.

Если два или более замков не выдержали какое-либо из указанных испытаний или если результаты повторных испытаний неудовлетворительны, то всю партию бракуют.

6 Методы испытаний

6.1 Внешний вид замков проверяют внешним осмотром без применения увеличительных приборов.

6.2 Размеры замков проверяют калибрами и универсальными измерительными инструментами.

У V-образных замков должны проверяться размеры: S, T, R2, F2min, Rmin и Lmin.

6.3 Проверку размеров Lmin и Lmax проводят на приспособлении, указанном на рисунке 7, при этом замок должен касаться точки A. Условные размеры приспособления K и D1 должны соответствовать указанным в таблице 4.

Рисунок 7

Таблица 4                                                                                                     В миллиметрах

Условный размер

11

16А

16В

20

24

28

32

K

3,5 ± 0,6

4 ± 0,7

5 ± 1,0

5 ± 1,0

6 ± 1,0

7 ± 1,2

8 ± 1,4

D1

7,5 ± 0,4

9,5 ± 0,5

10 ± 0,5

10 ± 0,5

12 ± 0,5

13 ± 0,5

15 ± 0,5

6.4 У W-образных замков должны проверяться все размеры.

Размеры калибров для W-образных замков приведены на рисунке 8 и в таблице 5.

Рисунок 8

Таблица 5                                                                                                     В миллиметрах

Марка замка

Условный размер по ГОСТ 27396

А

В

С

D

Е

F

G

Н

I

K

L

М

N

P

R

S

W-11

11

0,6

23

15

20

4

50

3,0

19

18

24

4,5

32

12

3

9

32

W-16A

16А

1,0

32

22

28

5

60

2,5

24

20

30

8,0

44

15

4

9

32

W-16B

16В

1,0

32

22

28

5

60

2,5

24

20

30

8,0

44

15

4

9

32

W-20

20

1,0

32

22

30

5

60

2,5

24

20

30

8,0

55

15

4

9

40

W-24

24

1,0

32

22

30

5

60

3,0

25

20

30

8,0

65

15

4

9

42

W-28

28

1,0

36

24

32

6

65

3,5

28

22

30

8,0

75

15

5

12

42

W-32

32

1,0

40

26

36

6

70

4,5

33

22

35

10,0

85

15

5

12

45

Технические требования к калибрам приведены в приложении 2.

6.5 W-образный замок устанавливают в калибре в положении по рисунку 8 так, чтобы номинальные размеры F1 и F5 фиксировались с помощью соответствующих штифтов и упоров.

6.6 Канавки шириной A соответствуют номинальному размеру F6. Концы ножек замка должны находиться в пределах зоны, образуемой этими канавками.

6.7 Размер D должен соответствовать номинальной ширине F2 замка. Вырезы позволяют сравнивать замок и номинальный размер.

6.8 Размер E должен соответствовать номинальному размеру F3 внутренней петли.

6.9 Канавки шириной G должны соответствовать разности между номинальными размерами F4 и F5.

Номинальные размеры замка F3 и F4 проверяют внутренними кромками канавок калибра.

6.10 Размеры L1, L2, L3, L4, S и Т проверяют путем непосредственного измерения.

6.11 Испытание на изгиб проводят на образце, взятом из прямолинейной части ножки V-образного замка, или на образце, взятом из материала, из которого были изготовлены V-образные замки. Один конец образца зажимают в тисках, на одной из губок которых имеется накладка из стали. Поверхность накладки расположена приблизительно под углом 75° по отношению к вертикальной оси.

Испытание на изгиб заключается в одноразовой гибке образца на угол 75° по рисунку 9.

1 - тиски; 2 - накладка; 3 - образец

Рисунок 9

В зависимости от марки замка должны выбираться следующие радиусы гибки R, мм:

Условный размер

11

16А

16В

20

24

28

32

R

2

3

4

4

5

6

7

Образец изгибают при помощи молотка.

После гибки не должно оставаться трещин.

Для W-образных замков испытание на изгиб не проводят.

6.12 Испытание на твердость проводят методом Виккерса по ГОСТ 2999 на одной из плоских поверхностей замка.

Для каждого замка должна проводиться серия из трех измерений. Среднее из трех измерений должно быть больше или равно 160 единиц по Виккерсу для V-образных замков и 150 единиц для W-образных замков.

Допускается твердость измерять другими методами по ГОСТ 9012 и ГОСТ 9013.

6.13 Эксплуатационное испытание V-образных замков проводят следующим образом.

Замок вставляют в отверстие гнезда сферического шарнирного соединения по ГОСТ 27396 и концы разводят по рисунку 1. Замок переводят в запирающее положение. После этого к ушку замка вдоль его оси прикладывают силу, которую постепенно увеличивают до тех пор, пока замок из запирающего положения (рисунок 3) переместится в положение предварительной фиксации (рисунок 4). Операция перемещения замка из запирающего положения в положение предварительной фиксации должна повторяться последовательно, три раза.

Сила, вызывающая перемещение замка, должна находиться в пределах, указанных в 3.2.8.

Кроме того, к ушку замка должна прикладываться сила Fmax по 3.2.9.

6.14 Эксплуатационное испытание W-образных замков проводят следующим образом.

Замок вставляют в гнездо.

С помощью стального стержня прямоугольного сечения шириной, равной размеру F5, указанному в таблице 2, и высотой T, указанной в таблице 1, прикладывают силу к двум закругленным частям замка вдоль его оси.

Силу постепенно увеличивают до тех пор, пока замок из запирающего положения (рисунок 5) переместится в положение предварительной фиксации (рисунок 6). Операция перемещения замка должна повторяться последовательно, три раза. Сила, вызывающая перемещение замка, должна находиться в пределах, указанных в 3.2.10.

Кроме того, к замку должна прикладываться сила Fmax = 250 H.

6.15 При испытаниях, за исключением эксплуатационного испытания, замки не должны находиться в гнездах сферического шарнирного соединения.

7 Транспортирование и хранение

Транспортирование и хранение замков - по ГОСТ 13276.

8 Указания по монтажу

8.1 V-образный замок вставляют через вход гнезда сферического шарнирного соединения и затем разводят концы (рисунок 1). После чего замок может быть переведен из положения предварительной фиксации (рисунок 4) в запирающее положение (рисунок 3).

8.2 W-образный замок вставляют через вход гнезда сферического шарнирного соединения. Затем замок может быть переведен из запирающего положения (рисунок 5) в положение предварительной фиксации (рисунок 6).

9 Гарантии изготовителя

Гарантии изготовителя замков - по ГОСТ 13276.

ПРИЛОЖЕНИЕ А

(рекомендуемое)

ИСПОЛНЕНИЯ КОНЦОВ V-ОБРАЗНЫХ ЗАМКОВ

Кромки на концах ножек V-образного замка могут быть:

1) прямоугольными;

2) иметь фаски с одной стороны;

3) иметь фаски с двух сторон.

Размеры L5 и F6 должны соответствовать указанным на рисунке А.1 и в таблице А.1

Рисунок А. 1

Таблица А.1                                                                                                  В миллиметрах

Марка замка

L5

F6

V-11

2

1,0

V-16A

3

1,5

V-16B

3

1,5

V-20

3

1,5

V-24

4

2,0

V-28

5

2,0

V-32

6

2,5

ПРИЛОЖЕНИЕ Б

(рекомендуемое)

ТЕХНИЧЕСКИЕ ТРЕБОВАНИЯ К КАЛИБРАМ

Б.1 Калибры должны изготовляться из безусадочной закаленной в масле стали с твердостью не менее 58 - 63 HRC.

Б.2 Шероховатость поверхности калибров не должна быть более 4 мкм.

ПРИЛОЖЕНИЕ В

(рекомендуемое)

МАТЕРИАЛЫ ДЛЯ ЗАМКОВ

Материалы, из которых могут быть изготовлены замки:

- бронза и фосфористая бронза;

- медные сплавы с содержанием цинка не более 15 %, прошедшие соответствующий стабилизирующий отжит;

- аустенитные нержавеющие стали, подвергнутые стандартной термообработке во время изготовления исходного профиля.

 

Ключевые слова: замки, соединения сферические шарнирные, арматура линейная, изоляторы