Меню
Навигация
Бесплатное обучение
Novatika
Первая линия

Установки пенного пожаротушения автоматические. Дозаторы. Общие технические требования. Методы испытаний

Стандарт распространяется на вновь разрабатываемые и выпускаемые дозаторы эжекторного типа, предназначенные для дозирования (ввода) пенообразователя (добавок) с плотностью от 1,0 до 1,2 кг/м3 и кинематической вязкостью от 40 до 200 мм2/с в поток воды и устанавливаемые на обводной линии водяного насоса в дренчерных установках пенного пожаротушения. Стандарт не распространяется на автоматические дозаторы

Обозначение: ГОСТ Р 51114-97
Название рус.: Установки пенного пожаротушения автоматические. Дозаторы. Общие технические требования. Методы испытаний
Статус: введен впервые
Дата актуализации текста: 05.05.2017
Дата добавления в базу: 01.09.2013
Дата введения в действие: 01.01.1999
Утвержден: 25.12.1997 Госстандарт России (Russian Federation Gosstandart 424)
Опубликован: ИПК Издательство стандартов (1998 г. )
Ссылки для скачивания:

ГОСТ Р 51114-97

ГОСУДАРСТВЕННЫЙ СТАНДАРТ РОССИЙСКОЙ ФЕДЕРАЦИИ

УСТАНОВКИ ПЕННОГО
ПОЖАРОТУШЕНИЯ АВТОМАТИЧЕСКИЕ.
ДОЗАТОРЫ.

ОБЩИЕ ТЕХНИЧЕСКИЕ ТРЕБОВАНИЯ.
МЕТОДЫ ИСПЫТАНИЙ

ГОССТАНДАРТ РОССИИ
Москва

Предисловие

1 Разработан и внесен Техническим комитетом по стандартизации МТК 274/643 «Пожарная безопасность»

2 Принят и введен в действие Постановлением Госстандарта России от 25 декабря 1997г. № 424

3 ВВЕДЕН ВПЕРВЫЕ

СОДЕРЖАНИЕ

ГОСТ Р 51114-97

ГОСУДАРСТВЕННЫЙ СТАНДАРТ РОССИЙСКОЙ ФЕДЕРАЦИИ

Установки пенного пожаротушения автоматические.
Дозаторы.

Общие технические требования. Методы испытаний

Automatic water and foam fire fighting systems. Feeders.
General technical requirements. Test methods

Дата введения 1999-01-01

1 Область применения

Настоящий стандарт распространяется на вновь разрабатываемые и выпускаемые дозаторы эжекторного типа (далее - дозаторы), предназначенные для дозирования (ввода) пенообразователя (добавок) с плотностью от 1,0 до 1,2 кг/м3 и кинематической вязкостью от 40 до 200 мм2/c в поток воды и устанавливаемые на обводной линии водяного насоса в дренчерных установках пенного пожаротушения.

Обязательные требования к продукции, выполнение которых обеспечивают ее безопасность для жизни, здоровья и имущества населения, охрану окружающей среды, изложены в разделе 6.

Стандарт не распространяется на автоматические дозаторы.

2 Нормативные ссылки

В настоящем стандарте использованы ссылки на следующие стандарты:

ГОСТ 2.601-95 ЕСКД. Эксплуатационные документы

ГОСТ 9.014-78 ЕСЗКС. Временная противокоррозионная защита изделий. Общие требования

ГОСТ 9.308-85 ЕСЗКС. Покрытия металлические и неметаллические неорганические. Методы ускоренных коррозионных испытаний

ГОСТ 12.2.003-91 ССБТ. Оборудование производственное. Общие требования безопасности

ГОСТ 12.2.037-78 ССБТ. Техника пожарная. Требования безопасности

ГОСТ 12.4.009-83 ССБТ. Пожарная техника для защиты объектов. Основные виды. Размещение и обслуживание

ГОСТ 12.4.026-76 ССБТ. Цвета сигнальные и знаки безопасности

ГОСТ 15.001-88 Разработка и постановка продукции на производство. Основные положения

ГОСТ 27.410-87 Надежность в технике. Методы контроля показателей надежности и планы контрольных испытаний на надежность

ГОСТ 427-75 Линейки измерительные металлические. Технические условия

ГОСТ 2991-85 Ящики дощатые неразборные для грузов массой до 500 кг. Общие технические условия

ГОСТ 12815-80 Фланцы арматуры, соединительных частей и трубопроводов на Рy от 0,1 до 20,0 МПа (от 1 до 200 кгс/см2). Типы. Присоединительные размеры и размеры уплотнительных поверхностей

ГОСТ 14192-96 Маркировка грузов

ГОСТ 15150-69 Машины, приборы и другие технические изделия. Исполнение для различных климатических районов. Категории, условия эксплуатации, хранения и транспортирования в части воздействия климатических факторов внешней среды

ГОСТ 18321-73 Статистический отбор качества. Методы случайного отбора выборок штучной продукции

ГОСТ 23170-78 Упаковка для изделий машиностроения. Общие требования

ГОСТ 24054-80 Изделия машиностроения и приборостроения. Методы испытаний на герметичность. Общие требования

ГОСТ Р 50460-92 Знак соответствия при обязательной сертификации. Форма, размеры и технические требования

ГОСТ Р 50800-95 Установки пенного пожаротушения автоматические. Общие технические требования. Методы испытаний

3 Определения, обозначения и сокращения

3.1 В настоящем стандарте применяют следующие термины с соответствующими определениями.

3.1.1 дозатор: Устройство, предназначенное для дозирования пенообразователя (добавок) к воде в дренчерных установках пенного пожаротушения;

3.1.2 давление рабочее, Pраб: Установившееся давление, при котором обеспечивается заданный в нормативном документе расход пенообразователя;

3.1.3 давление рабочее максимальное, Pраб mах: Установившееся максимальное рабочее давление, при котором обеспечивается заданный в нормативном документе расход пенообразователя

4 Основные параметры

4.1 Эжектируемый расход пенообразователя должен составлять: 1,5; 2,5; 5,0; 8,5 и 16 л/с.

4.2 Основные параметры и размеры дозаторов должны соответствовать значениям, приведенным на рисунке 1 и в таблице 1.

1 - входной патрубок; 2 - всасывающая камера; 3 – сопло; 4 - выходной патрубок

Рисунок 1 Дозатор

Таблица 1

Наименование параметра

Значение параметра

Д-1,5

Д-2,5

Д-5,0

Д-8,5

Д-16,0

1 Рабочее давление перед дозатором в пределах, МПа

0,6-1,0

2 Давление на выходе из дозатора, МПа

0,08±0,05

3 Расход воды при рабочем давлении 0,8 МПа, л/с

1,9± 0,1

3,0±0,1

6,1±0,2

9,8±0,3

17,5±0,5

4 Расход пенообразователя при рабочем давлении 0,8 МПа, л/с

1,5± 0,1

2,5±0,1

5,0±0,1

8,5±0,2

16,0±0,2

5 Габаритные размеры, мм, не более:

длина L

380

450

640

800

970

высота Н

150

160

200

240

320

ширина В

130

140

185

205

245

6 Масса, кг, не более

4

5

8

13

25

Примечание - Масса указана для дозаторов, изготовленных из алюминиевых сплавов.

4.3 Пример условного обозначения дозатора с расходом эжектируемого пенообразователя 1,5 л/с климатического исполнения УХЛ и категории размещения 4:

Д-1,5 УХЛ 4 ГОСТ Р 51114-97

5 Общие технические требования

5.1 Дозаторы не должны иметь внешних дефектов: следов растрескивания, отслаивания или повреждений иного рода.

5.2 Присоединительные размеры дозатора должны соответствовать требованиям ГОСТ 12815.

5.3 Масса дозаторов должна соответствовать таблице 1.

5.4 Дозатор должен быть окрашен в красный цвет по ГОСТ 12.4.026.

5.5 По устойчивости к климатическим воздействиям дозаторы должны соответствовать требованиям исполнения УХЛ, категории размещения 4 по ГОСТ 15150.

5.6 Конструкция дозатора и его соединения должны обеспечивать прочность при пробном гидравлическом давлении, равном 1,5 Pраб mах.

5.7 Конструкция дозатора и его соединения должны обеспечивать герметичность при давлении, равном Pраб max.

5.8 Дозатор должен выдерживать вибрацию частотой от 5 до 40 Гц и амплитуду колебания 1 мм.

5.9 После действия на внешнюю поверхность дозатора в течение 30 сут повышенной влажности и температуры по ГОСТ 9.308, раздел 5 дозатор не должен проявлять признаков разрушения деталей, нарушения герметичности соединений.

5.10 После действия на внутреннюю поверхность дозатора в течение 30 сут водного раствора хлористого натрия при температуре (40 ± 2) °С дозатор не должен проявлять признаков разрушения, нарушения герметичности соединений и изменение расходных характеристик (таблица 1).

5.11 Дозаторы должны обеспечивать расход воды и пенообразователя согласно таблице 1, перечисления 3 и 4.

5.12 Дозатор должен обеспечивать работоспособность при давлении воды, равном Рраб mах в течение не менее 60 мин.

5.13 Дозатор должен сохранять работоспособность после 100 циклов включения.

5.14 Вероятность безотказной работы дозатора в режиме ожидания должна быть не менее 0,99 за время работы не менее 2000 ч.

5.15 Назначенный срок службы - не менее 10 лет.

5.16 Габаритные размеры должны соответствовать таблице 1.

6 Требования безопасности

6.1 Дозаторы должны соответствовать ГОСТ 12.2.003, ГОСТ 12.2.037, ГОСТ 12.4.009, ГОСТ Р 50800, настоящему стандарту и другим нормативным документам, утвержденным в установленном порядке.

6.2 Запрещается проводить техническое обслуживание (демонтаж, подтягивание крепежных деталей) дозатора, находящегося под давлением.

6.3 При демонтаже дозатора следует предохранять органы зрения от попадания пенообразователя или его раствора.

7 Комплектность

7.1 К каждому дозатору должна быть приложена эксплуатационная документация по ГОСТ 2.601.

- техническое описание, инструкция по монтажу и эксплуатации дозатора,

- паспорт на дозатор (или паспорт, совмещенный с техническим описанием и инструкцией по эксплуатации);

- монтажные чертежи и гидравлические схемы;

- ремонтная документация;

- ЗИП.

8 Правила приемки

8.1 Для контроля соответствия дозатора настоящему стандарту и другим нормативным документам, утвержденным в установленном порядке, проводят следующие виды испытаний: приемочные, квалификационные, приемо-сдаточные, периодические, типовые, на надежность и сертификационные.

8.2 Приемочные испытания дозаторов проводят в соответствии с ГОСТ 15.001 на образцах опытной партии по программе, разработанной изготовителем и разработчиком.

8.3 Квалификационные испытания проводят на образцах установочной серии или первой промышленной партии с целью определения готовности предприятия к выпуску продукции по программе, разработанной изготовителем и разработчиком.

8.4 Каждый дозатор следует подвергать приемо-сдаточным испытаниям. Номенклатура параметров, которые проверяют в процессе этих испытаний, приведена в таблице 2. Испытания проводит служба технического контроля предприятия-изготовителя на соответствие изделий конструкторской документации.

За партию принимают число изделий, сопровождаемых одним документом.

Таблица 2

Перечень показателей

Номер пункта настоящего стандарта

Вид испытания

Приемосдаточные

Периодические

Сертификационные

1 Визуальный осмотр

5.1, 9.1

+

+

+

2 Проверка на соответствие чертежам

5.16, 5.2, 9.2

+

+

-

3 Проверка массы дозатора

5.3, 9.3

+

+

-

4 Проверка цвета окраски дозатора

5.4, 9.4

+

+

-

5 Испытание на устойчивость к климатическим воздействиям

5.5, 9.5

-

+

+

6 Испытание на прочность

5.6, 9.6

+

+

+

7 Испытание на герметичность

5.7, 9.7

+

+

+

8 Испытание на виброустойчивость

5.8, 9.8

-

-

+

9 Испытание на устойчивость к воздействию повышенной влажности и температуры

5.9, 9.9

-

+

+

10 Испытание на устойчивость к воздействию водного раствора хлористого натрия

5.10, 9.10

-

+

+

11 Проверка расхода воды

5.11, 9.11

-

+

+

12 Проверка расхода пенообразователя

5.11, 9.11

-

+

+

13 Проверка работоспособности при расходе воды

5.12, 9.12

-

+

+

14 Проверка работоспособности при много кратном включении

5.13, 9.13

-

+

+

15 Испытания на вероятность безотказной работы

5.14, 9.14

-

+

-

16 Проверка назначенного срока службы

5.15, 9.15

-

+

-

17 Проверка маркировки

10.1, 9.4

+

+

+

18 Комплектность

7, 9.4

+

+

-

8.5 Периодические испытания проводят не реже одного раза в три года на образцах, прошедших приемо-сдаточные испытания с целью контроля стабильности качества продукции и возможности продолжения выпуска изделия. Отбор образцов для испытаний проводят по ГОСТ 18321. Количество испытываемых образцов не менее трех.

8.6 Типовые испытания проводят при внесении конструктивных или иных изменений (технологии изготовления, материала и т.п.), способных повлиять на основные параметры, обеспечивающие работоспособность дозатора. Программу испытаний планируют в зависимости от характера изменений и согласовывают с разработчиком.

8.7 Испытания на надежность проводят не реже одного раза в три года.

8.8 Сертификационные испытания проводят с целью установления соответствия характеристик дозатора требованиям настоящего стандарта согласно таблице 2. Отбор образцов для испытаний проводят по ГОСТ 18321. Количество испытываемых образцов не менее трех.

8.9 Объем проведения приемо-сдаточных, периодических и сертификационных испытаний приведен в таблице 2.

8.10 Результаты испытаний считают удовлетворительными, если предъявленные к испытаниям дозаторы соответствуют требованиям настоящего стандарта.

8.11 В случае получения отрицательных результатов по какому-либо виду испытаний число испытываемых образцов удваивают и испытания повторяют в полном объеме. Полученные повторно отрицательные результаты считать окончательными.

9 Методы испытаний

9.1 Общие требования

9.1.1 Все испытания, если это отдельно не оговорено, следует проводить при нормальных климатических условиях по ГОСТ 15150.

9.1.2 Все дозаторы, подвергающиеся испытаниям, предварительно осматривают на отсутствие внешних дефектов.

9.1.3 При гидравлических испытаниях должно быть обеспечено отсутствие воздуха во внутренних полостях.

9.1.4 Погрешность измерения параметров при испытаниях не должна превышать:

±2,5 % - при измерении давления;

±4 % - при измерении расхода жидкости;

±5 % - при измерении массы;

±1 мм - при измерении габаритных размеров.

9.2 Габаритные размеры дозатора (5.16) определяют линейкой по ГОСТ 427 с ценой деления не более 1 мм.

Присоединительные размеры дозатора (5.2) определяют штангенциркулем с ценой деления не более 0,1 мм.

9.3 Определение массы дозатора (5.3) проводят на весах с погрешностью, указанной в 9.1.4.

9.4 Проверку цвета окраски (5.4), маркировки (раздел 10), комплектности (раздел 7) дозатора осуществляют визуально.

9.5 Испытания дозатора на устойчивость к климатическим воздействиям (5.5) проводят на устойчивость к холоду и теплу при температурах по ГОСТ 15150, соответствующих их исполнению и категории (устойчивость к теплу - не ниже 50 °С). Дозатор выдерживают при соответствующей минимальной температуре в течение не менее 3 ч. После испытания дозатор помещают в нормальные климатические условия по ГОСТ 15150 не менее чем на 3 ч. Затем дозатор выдерживают при соответствующей максимальной температуре в течение не менее 3 ч. После испытания дозатор помещают в нормальные климатические условия по ГОСТ 15150 не менее чем на 3 ч. Результаты испытаний считают положительными, если после всего цикла испытаний дозатор удовлетворяет требованиям к герметичности по 5.7.

9.6 Испытания корпуса дозатора на прочность (5.6) проводят на гидравлическом стенде давлением, равным 1,5 Pраб max, контролируемым манометром, установленным на нагнетательном магистральном трубопроводе в течение не менее 5 мин. Скорость нарастания давления должна быть не более 0,02 МПа/с.

Течь, остаточные деформации и разрушение корпуса дозатора не допускаются.

9.7 Испытания дозатора на герметичность (5.7) проводят на пневматическом стенде по ГОСТ 24054 давлением, равным Pраб max в течение не менее 5 мин. Скорость нарастания давления не более 0,02 МПа/с, при этом дозатор погружают в ванну с жидкостью.

Утечка воздуха не допускается.

9.8 Испытание дозаторов на виброустойчивость (5.8) проводят на вибростенде, при этом дозатор крепят к платформе стенда в рабочем положении. Необходимо непрерывно отслеживать частоту вибраций от (5 ± 1) до (40 ± 1) Гц при темпе не более 5 мин/октава и амплитуде колебаний 1 мм. При обнаружении резонансных точек дозатор необходимо подвергать воздействию вибрации на каждой резонансной частоте в течение 120 ч. Если резонансная частота не установлена, то дозатор необходимо подвергать вибрациям на частоте от 5 до 40 Гц с амплитудой колебаний 1 мм в течение 120 ч.

После испытаний дозатор не должен иметь видимых механических повреждений и должен удовлетворять требованиям к герметичности по (5.7).

9.9 Испытание на устойчивость к воздействию повышенной влажности и температуры (5.9) проводят по ГОСТ 9.308, раздел 5 в течение 30 сут.

После окончания испытаний дозаторы не должны иметь следов растрескивания, отслаивания или повреждений иного рода и удовлетворять требованиям на прочность (5.6) и герметичность (5.7).

9.10 Испытания на устойчивость к воздействию водного раствора хлористого натрия на внутреннюю поверхность дозатора (п. 5.10) проводят путем заполнения дозатора 1 %-ным раствором хлористого натрия (NaCl) в дистиллированной воде.

После этого дозатор закрывают со всех сторон крышками и помещают на 30 сут в тепловую камеру с температурой (40 ± 2) °С. Температуру воздуха поддерживают постоянной в течение всего времени испытания.

После окончания испытания дозатор вскрывают, освобождают от солевого раствора.

Дозаторы не должны иметь следов растрескивания, отслаивания или повреждений иного рода и должны удовлетворять требованиям на прочность (5.6), герметичность (5.7) и обеспечивать расходные характеристики (таблица 1).

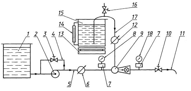
9.11 Испытания по определению расходов воды и пенообразователя (5.11) проводят на установке, схема которой приведена на рисунке 2.


 

1- емкость для воды; 2 - насос; 3 - вентиль; 4 - обводное кольцо на насосе; 5 - напорный трубопровод; 6, 12 - водомер;
7 -демпфирующее устройство под манометром; 8, 18 - манометры; 9 - дозатор; 10 - вентиль; 11 - сливной патрубок; 13 - весы;
14 - уровнемер; 15 - бак для пенообразователя (добавки); 16 - вентиль; 17 - всасывающий трубопровод для пенообразователя

Рисунок 2. Схема установки для определения расходов воды и пенообразователя через дозатор


Предельные уровни пенообразователя в емкости должны быть: нижний на 0,3 м ниже оси дозатора, а верхний не выше чем на 2 м от оси дозатора. Заборный уровень должен быть расположен на оси дозатора. Протяженность трубопровода подачи пенообразователя должна быть не более 6 м и иметь условный проход, равный условному проходу всасывающего патрубка дозатора.

9.11.1 Определение расхода воды через дозатор с использованием расходомера

Емкость 1 заполняют водой. В качестве водоисточника допускается использовать водопровод или иной источник, обеспечивающий требуемые параметры (таблица 1) по давлению и расходу. Включают насос 2 при открытых вентилях 3, 10 и 16. Устанавливают давление перед дозатором (0,80 ± 0,02) МПа и на выходе из дозатора с помощью вентилей 3 и 10. Давление на входе в дозатор измеряют манометром с верхним пределом измерения не менее 1,2 МПа и установленным на расстоянии от входа не более 400 мм. Давление на выходе из дозатора измеряют манометром (мановакуумметром, с верхним пределом измерения 0,1 МПа и установленным на расстоянии от входа не более 250 мм. При этом на линии отбора давления на входе и выходе из дозатора должно быть установлено демпфирующее устройство, обеспечивающее колебание стрелки манометра не более одного деления шкалы. Линия отбора давления должна быть полностью заполнена жидкостью. После установления стационарного режима, когда показания манометров перед и за дозатором будут соответствовать заданным значениям, измеряют расход воды, проходящей через дозатор, путем снятия показаний с расходомера 6. За результаты испытаний принимают среднее арифметическое значение не менее чем из трех измерений.

9.11.2 Определение расхода пенообразователя с использованием расходомера Емкости 1 и 15 заполняют соответственно водой и пенообразователем. В качестве водоисточника допускается использовать водопровод или иной источник, обеспечивающий требуемые параметры по давлению и расходу.

Включают насос 2 при открытых вентилях 3, 10 и 16. Устанавливают давление перед дозатором (0,80 ± 0,02) МПа и на выходе из дозатора вентилями 3 и 10. После установления стационарного режима, когда показания манометров перед и за дозатором будут соответствовать заданным значениям, закрывают вентиль 16, тем самым открывая доступ пенообразователя в систему. Выдерживают время установления стационарного режима. Расход пенообразователя через дозатор измеряют расходомером 12. За результаты испытаний принимают среднее арифметическое значение не менее чем из трех измерений.

9.11.3 Определение расхода пенообразователя с использованием уровнемера, установленного на емкости с пенообразователем (рисунок 2).

9.11.3.1 Предварительно проводят тарировку уровнемера по определению объема жидкости в единице деления любым удобным для испытателя способом. В качестве рабочей жидкости используют воду.

9.11.3.2 Проведение испытаний.

Включают насос 2 при открытых вентилях 3, 10 и 16. Вентилями 3 и 10 устанавливают давление перед дозатором (0,80 ± 0,02) МПа и на выходе из дозатора. После установления стационарного режима, когда показания манометров перед и за дозатором будут соответствовать заданным значениям, закрывают вентиль 16. После установления стационарного режима отмечают начальный уровень жидкости в уровнемере и включают секундомер. По истечении времени, достаточного для обеспечения требуемой погрешности измерения расхода не ниже чем указано в 9.1.4, открывают вентиль 16 и снимают конечное показание уровня в мерной трубке.

Расход пенообразователя Q, м3/с, рассчитывают по формуле

Q = q (Nн - Nк)/t,                                                           (1)

где q          - цена деления мерной трубки, м3/дел.;

Nн и Nк - начальное и конечное значения делений на мерной трубке, дел.;

t             - время испытаний, с.

За результаты испытаний принимают среднее арифметическое значение не менее чем из трех измерений.

9.11.4 Определение расхода пенообразователя весовым способом

Порядок проведения испытаний аналогичен с проведением испытаний с использованием уровнемера. Проводят предварительную тарировку весов. В качестве рабочей жидкости при тарировке используют воду.

Включают насос 2 при открытых вентилях 3, 10 и 16. Устанавливают давление перед дозатором (0,80 ± 0,02) МПа и на выходе из дозатора вентилями 3 и 10. После установления стационарного режима закрывают вентиль 16. Выдерживают время для установления стационарного режима. Затем на весах отмечают начальную массу и включают секундомер. По истечении времени, определенного в предварительных испытаниях, снимают конечные показания массы.

Расход пенообразователя Q, м3/с, рассчитывают по формуле

Q = (Pн - Pк)/tr,                                                           (2)

где Pн и Pк - начальное и конечное значения показания весов, кг;

t - время испытаний, с;

r - плотность пенообразователя, кг/м3.

За результаты испытаний принимают среднее арифметическое значение не менее чем из трех измерений.

Допускается для определения расхода пенообразователя вместо пенообразователя использовать воду. При этом возможно закольцовывание напорного трубопровода установки со всасывающей линией насоса через емкость.

Значения подсасываемого пенообразователя определяют в этом случае расчетным способом, путем умножения полученного расхода по воде на коэффициент, равный 0,85.

9.12 Испытание на работоспособность дозатора (5.12) проводят при давлении на входе в дозатор (0,80 ± 0,02) МПа с расходом воды согласно таблице 1. Продолжительность испытаний не менее 60 мин.

Признаки внешних повреждений элементов дозатора, трещин на корпусе, остаточных деформаций и поломок отдельных частей не допускаются.

9.13 Работоспособность дозатора (число циклов включения) (5.13) проверяют при Pраб mах после не менее 100 циклов включения установки. Число циклов в минуту - не более 5. После испытания дозаторы должны соответствовать требованиям 5.6, 5.7.

9.14 Испытание на вероятность безотказной работы (на надежность) (5.14) проводят в соответствии с ГОСТ 27.410 одноступенчатым методом. Приемочный уровень срока сохраняемости принимается равным 0,99, браковочный уровень - 0,9. Риск изготовителя принимают 0,1, риск потребителя - 0,2. Объем выборки 11 дозаторов, приемочное число отказов 0. Продолжительность испытаний не менее 300 ч при максимальном рабочем давлении.

В качестве критерия отказа принимают наличие механических дефектов и несоответствие параметрам по 5.6 - 5.8.

9.15 Контроль назначенного срока службы (5.15) проверяют путем обработки статистических данных [1].

10 Маркировка и упаковка

10.1 На каждом дозаторе должна быть нанесена маркировка, содержащая следующие данные:

- товарный знак или торговую марку предприятия-изготовителя;

- условное обозначение дозатора;

- номер дозатора по системе нумерации предприятия-изготовителя;

- обозначения ГОСТ или ТУ;

- дату выпуска;

- направление потока воды;

- знак соответствия по ГОСТ Р 50460.

10.2 Место и способ нанесения, шрифт маркировки устанавливает предприятие-изготовитель.

10.3 Маркировка должна сохраняться в течение всего срока эксплуатации дозатора.

10.4 Каждый дозатор перед упаковкой в транспортную тару должен пройти консервацию по ГОСТ 9.014 для группы изделий 1, условий хранения Ж, вариант временной противокоррозионной защиты ВЗ-1, вариант внутренней упаковки ВУ-0.

10.5 Дозаторы должны быть упакованы в транспортную тару (ящики) по ГОСТ 2991.

10.6 Дозаторы различных типоразмеров допускается упаковывать в одну транспортную тару только по требованию заказчика.

10.7 Для предотвращения перемещения и повреждения дозатора при транспортировании в таре должны быть применены подкладки, подпорки и т.д.

10.8 Масса упаковки и продукции в ней (брутто) не должна превышать 50 кг.

10.9 В тару должен быть вложен упаковочный лист, содержащий:

- наименование и товарный знак или торговую марку предприятия-изготовителя;

- условное обозначение дозатора;

- количество изделий;

- дату упаковки;

- личное клеймо упаковщика.

Допускается вместо личного клейма упаковщика вкладывать контрольный талон упаковщика, напечатанный типографским способом, или проставлять номер упаковщика штампом на поверхности тары или компостером на ярлыке. Ярлык должен быть напечатан типографским способом и приклеен на тару.

Всю документацию помещают в герметичный пакет.

10.10 Надписи на таре должны соответствовать ГОСТ 14192.

10.11 Консервация и упаковка должны предохранять дозатор от коррозии не менее года со дня отгрузки с предприятия-изготовителя при жестких условиях хранения и транспортирования по ГОСТ 9.014.

10.12 Допускается любой, отличный от указанного в 10.5 вид упаковки, обеспечивающий сохранность дозатора при транспортировании и хранении.

10.13 Сопроводительная документация должна быть упакована по ГОСТ 23170.

Приложение А
(информационное)

Библиография

[1] РД 50-204-87 Надежность в технике. Сбор и обработка информации о надежности изделий в эксплуатации. Основные положения. Методические указания