Стандарт распространяется на электроустановки зданий, применяемые во всех отраслях экономики страны, независимо от их принадлежности и форм собственности, и устанавливает требования по выбору и монтажу электрооборудования, в частности к выбору конструкции и монтажу заземляющих устройств, систем уравнивания и выравнивания электрических потенциалов в электроустановках, содержащих оборудование обработки информации, соединенное между собой для обмена данными, а также другое электрооборудование, чувствительное к помехам.
| Обозначение: | ГОСТ Р 50571.21-2000 |
| Название рус.: | Электроустановки зданий. Часть 5. Выбор и монтаж электрооборудования. Раздел 548. Заземляющие устройства и системы уравнивания электрических потенциалов в электроустановках, содержащих оборудование обработки информации |
| Статус: | заменен |
| Заменен: | ГОСТ Р 50571.5.54-2011 «Электроустановки низковольтные. Часть 5-54. Выбор и монтаж электрооборудования. Заземляющие устройства, защитные проводники и проводники уравнивания потенциалов» |
| Дата актуализации текста: | 05.05.2017 |
| Дата добавления в базу: | 01.09.2013 |
| Дата введения в действие: | 01.01.2013 |
| Утвержден: | 18.12.2000 Госстандарт России (Russian Federation Gosstandart 375-ст) |
| Опубликован: | ИПК Издательство стандартов (2001 г. ) ИПК Издательство стандартов (2000 г. ) Стандартинформ (2012 г. ) |
| Ссылки для скачивания: |
ГОСТ Р 50571.21-2000
(МЭК 60364-5-548-96)
ГОСУДАРСТВЕННЫЙ СТАНДАРТ РОССИЙСКОЙ ФЕДЕРАЦИИ
Электроустановки зданий
Часть 5
Выбор и монтаж электрооборудования
Раздел 548
Заземляющие
устройства и системы уравнивания
электрических потенциалов в электроустановках,
содержащих оборудование обработки информации
|
|
Москва |
1 РАЗРАБОТАН Всероссийским научно-исследовательским институтом электрификации сельского хозяйства (ВИЭСХ) и Всероссийским научно-исследовательским институтом стандартизации и сертификации в машиностроении (ВНИИНМАШ)
ВНЕСЕН Техническим комитетом по стандартизации ТК 337 «Электроустановки жилых и общественных зданий»
2 ПРИНЯТ И ВВЕДЕН В ДЕЙСТВИЕ Постановлением Госстандарта России от 18 декабря 2000 г. № 375-ст
3 Настоящий стандарт представляют собой аутентичный текст международного стандарта МЭК 60364-5-548-96 «Электроустановки зданий. Часть 5. Выбор и монтаж электрооборудования. Раздел 548. Системы заземления и системы уравнивания потенциалов электроустановок и оборудования информационных технологий» с дополнительными требованиями, учитывающими потребности экономики страны
4 ВВЕДЕН ВПЕРВЫЕ
СОДЕРЖАНИЕ
Настоящий стандарт является частью комплекса государственных стандартов на электроустановки зданий, разрабатываемых на основе стандартов Международной электротехнической комиссии МЭК 364 «Электроустановки зданий». Он представляет собой аутентичный текст международного стандарта МЭК 60364-5-548-96, кроме раздела 1 (548.1.1), уточняющего особенности применения настоящего стандарта в национальной энергетике, раздела 2 (548.1.2), дополняющего соответствующий пункт 548.1.2 МЭК 60364-5-548-96, и раздела 3 (548.1.3), который исключает разночтения в толковании терминов, и требований (выделенных курсивом), отражающих потребности различных отраслей экономики страны, в том числе и сельскохозяйственного производства.
В настоящем стандарте сформулированы требования к техническим средствам, направленным на устранение или ограничение до допустимого уровня перенапряжений, которые могут вызывать сбои в работе оборудования информационных технологий, а также любого другого электронного оборудования, чувствительного к помехам, например, медицинского, лабораторного и т.п. К таким средствам относятся заземляющие устройства, в том числе с электрически независимыми заземлителями, устройства уравнивания и выравнивания электрических потенциалов.
Нумерация разделов, пунктов и подпунктов в настоящем стандарте, начиная с раздела 548.2, а также рисунков соответствуют принятым в МЭК 60364-5-548-96.
Требования настоящего стандарта дополняют, изменяют или заменяют требования других частных стандартов комплекса государственных стандартов на электроустановки зданий. Отсутствие ссылки на главу, раздел или пункт частного стандарта означает, что соответствующие требования стандарта распространяются и на данный случай.
ГОСТ
Р 50571.21-2000
(МЭК 60364-5-548-96)
ГОСУДАРСТВЕННЫЙ СТАНДАРТ РОССИЙСКОЙ ФЕДЕРАЦИИ
ЭЛЕКТРОУСТАНОВКИ ЗДАНИЙ
Часть 5
Выбор и монтаж электрооборудования
Раздел 548
Заземляющие устройства и системы уравнивания
электрических потенциалов в электроустановках,
содержащих оборудование обработки информации
Electrical installations of buildings. Part
5. Selection and erection of electrical equipment. Section 548.
Earthing arrangements and
equipotential bonding for information technology installations
Дата введения 2002-01-01
Настоящий стандарт распространяется на электроустановки зданий, применяемые во всех отраслях экономики страны, независимо от их принадлежности и форм собственности, и устанавливает требования по выбору и монтажу электрооборудования, в частности к выбору конструкции и монтажу заземляющих устройств, систем уравнивания и выравнивания электрических потенциалов в электроустановках, содержащих оборудование обработки информации, соединенное между собой для обмена данными, а также другое электрооборудование, чувствительное к помехам.
Стандарт предназначен для проектных, монтажных, пусконаладочных и эксплуатационных организаций любых форм собственности, разрабатывающих, монтирующих, испытывающих и эксплуатирующих в указанных выше электроустановках заземляющие устройства, в том числе с электрически независимыми заземлителями, устройства уравнивания и выравнивания электрических потенциалов (УВЭП), в том числе локальные УВЭП, системы безопасного сверхнизкого напряжения и др.
Требования, дополняющие МЭК 60364-5-548-96 и учитывающие потребности экономики страны, приведены в приложении D и выделены курсивом.
Требования настоящего стандарта являются обязательными.
Примечания
1 Оборудование обработки информации включает в себя все виды электрического и электронного коммерческого оборудования и телекоммуникационного оборудования по ГОСТ Р МЭК 60950.
Примеры оборудования и установок, на которые распространяется настоящий стандарт:
- телекоммуникационное оборудование и оборудование для передачи и обработки данных или установки, использующие передачу сигналов с обратным заземлением во внутренних и внешних подсоединениях к зданию;
- электрические сети постоянного тока, обслуживающие оборудование обработки информации внутри здания;
- установки или оборудование для учрежденческих АТС с входящей и исходящей связью;
- локальные компьютерные сети;
- системы охранной сигнализации внутри помещений, действующей на прикосновение, и системы пожарной сигнализации;
- установки по обслуживанию, например системы прямого цифрового контроля;
- системы промышленного проектирования и других видов деятельности на базе компьютеров.
2 В настоящем стандарте термин «функциональный» относится к использованию заземления и систем уравнивания электрических потенциалов для целей электромагнитной совместимости (ЭМС) информационного оборудования, а также для целей передачи сигналов без искажений, которые в отсутствие такого проводника могут вызываться помехами (см. 548.1.3).
3 При защите электроустановок от грозовых и коммутационных перенапряжений, а также от перенапряжений, вызванных электромагнитными воздействиями, следует руководствоваться требованиями, изложенными в ГОСТ Р 50571.19 и ГОСТ Р 50571.20.
4 В случае возникновения проблемы ЭМС, связанной с действующей (существующей) электроустановкой здания, необходимо использовать информацию, приведенную в приложении А к настоящему стандарту.
5 Требования настоящего стандарта не распространяются на оборудование с большими токами утечки (дифференциальными токами). Применительно к такому оборудованию следует соблюдать требования 707.1 - 707.4 ГОСТ Р 50571.22.
В настоящем стандарте использованы ссылки на следующие стандарты:
ГОСТ 30331.2-95 (МЭК 364-3-93) / ГОСТ Р 50571.2-94* (МЭК 364-3-93) Электроустановки зданий. Часть 3. Основные характеристики
_______
* На территории Российской Федерации ГОСТ 30331.2-95 утратил силу. С 1 июля 2010 г. действует ГОСТ Р 50571.1-2009.
ГОСТ Р 50571.2-94 в части п. 31, 33 - 35 заменен на ГОСТ Р 50571.1-2009.
ГОСТ 30331.3-95 (МЭК 364-4-41-92) / ГОСТ Р 50571.3-94** (МЭК 364-4-41-92) Электроустановки зданий. Часть 4. Требования по обеспечению безопасности. Защита от поражений электрическим током
_______
** С 1 января 2011 г. действует ГОСТ Р 50571.3-2009.
ГОСТ Р 50571.10-96 (МЭК 364-5-54-80) Электроустановки зданий. Часть 5. Выбор и монтаж электрооборудования. Глава 54. Заземляющие устройства и защитные проводники
ГОСТ Р 50571.14-96 (МЭК 364-7-705-84) Электроустановки зданий. Часть 7. Требования к специальным электроустановкам. Раздел 705. Электроустановки сельскохозяйственных и животноводческих помещений
ГОСТ Р 50571.19-2000*** (МЭК 60364-4-443-95) Электроустановки зданий. Часть 4. Требования по обеспечению безопасности. Глава 44. Защита от перенапряжений. Раздел 443. Защита электроустановок от грозовых и коммутационных перенапряжений
ГОСТ Р 50571.20-2000*** (МЭК 60364-4-444-96) Электроустановки зданий. Часть 4. Требования по обеспечению безопасности. Глава 44. Защита от перенапряжений. Раздел 444. Защита электроустановок от перенапряжений, вызванных электромагнитными воздействиями
_______
*** С 1 июля 2012 г. будет введен в действие ГОСТ Р 50571-4-44-2011.
ГОСТ Р 50571.22-2000 (МЭК 60364-7-707-84) Электроустановки зданий. Часть 7. Требования к специальным электроустановкам. Раздел 707. Заземление оборудования обработки информации
ГОСТ Р 50571.23-2000 (МЭК 60364-7-704-89) Электроустановки зданий. Часть 7. Требования к специальным электроустановкам. Раздел. 704. Электроустановки строительных площадок
ГОСТ Р МЭК 60950-2002 Безопасность оборудования информационных технологий
В настоящем стандарте применяют следующие термины.
3.1 земля (относительная, эталонная): Проводящая электрический ток и находящаяся вне зоны влияния какого-либо заземлителя часть земной коры, электрический потенциал которой принимают равным нулю.
3.2 локальная земля: Часть земли, находящаяся в контакте с заземлителем, электрический потенциал которой под влиянием тока, стекающего с заземлителя, может быть отличен от нуля. В случаях, когда отличие от нуля потенциала части земли не имеет принципиального значения, вместо термина «локальная земля» используют общий термин «земля».
3.3 электроустановка до 1 кВ: Электроустановка, номинальное значение напряжения в которой не превышает 1 кВ.
3.4 электроустановка выше 1 кВ: Электроустановка, номинальное значение напряжения в которой равно или выше 1 кВ.
3.5 электрическая сеть с эффективно заземленной нейтралью: Трехфазная электрическая сеть выше 1 кВ, в которой коэффициент замыкания на землю не превышает 1,4.
3.6 коэффициент замыкания на землю: Отношение разности потенциалов в трехфазной электрической сети между неповрежденной фазой и землей в точке замыкания на землю другой или двух других фаз к разности потенциалов между фазой и землей в этой точке до замыкания.
3.7 проводящая часть: Часть, способная проводить электрический ток.
3.8 нейтральная проводящая часть (нейтральный проводник): Часть электроустановки, способная проводить электрический ток, потенциал которой в нормальном эксплуатационном режиме равен или близок к нулю, например корпус трансформатора, шкаф распредустройства, кожух пускателя, проводник системы уравнивания потенциалов, PEN-проводник и т.п.
3.9 открытая проводящая часть: Доступная прикосновению нейтральная проводящая часть.
3.10 сторонняя проводящая часть: Проводящая часть, не являющаяся частью электроустановки.
3.11 проводник: Часть, предназначенная для проведения электрического тока определенного значения.
3.12 токоведущая часть: Проводник или проводящая часть, предназначенный для работы под напряжением в нормальном эксплуатационном режиме работы электроустановки.
3.13 замыкание на землю: Случайное или преднамеренное (например при срабатывании короткозамыкателя) возникновение проводящей цепи между находящейся под напряжением токоведущей частью и землей или не изолированной от земли проводящей частью.
3.14 заземление: Преднамеренное электрическое соединение данной точки системы или установки, или оборудования с локальной землей посредством заземляющего устройства.
3.15 функциональное заземление: Заземление, для обеспечения нормального функционирования аппарата, на корпусе которого по требованию разработчика не должен присутствовать даже малейший электрический потенциал (иногда для этого требуется наличие отдельного электрически независимого заземлителя).
3.16 заземляющее устройство: Совокупность заземлителя и заземляющих проводников.
3.17 заземлитель: Часть заземляющего устройства, состоящая из одного или нескольких электрически соединенных между собой заземляющих электродов.
3.18 электрически независимый заземлитель (независимый заземлитель): Заземлитель, расположенный на таком расстоянии от других заземлителей, что токи растекания с них не оказывают существенного влияния на электрический потенциал независимого заземлителя.
3.19 заземляющий проводник: Проводник, соединяющий заземляемую точку системы или установки, или оборудования с заземлителем.
3.20 функциональный заземляющий проводник (FE-проводник): Заземляющий проводник в электроустановке до 1 кВ, служащий для функционального заземления.
3.21 заземляющий электрод (электрод заземлителя): Проводящая часть, находящаяся в электрическом контакте с локальной землей непосредственно или через промежуточную проводящую среду, например через слой бетона или проводящее антикоррозионное покрытие.
3.22 потенциаловыравнивающий электрод: То же, что и заземляющий электрод, но используемый для выравнивания электрических потенциалов.
3.23 уравнивание электрических потенциалов: Электрическое соединение проводящих частей друг с другом для достижения их эквипотенциальности.
3.24 защитное уравнивание электрических потенциалов: Уравнивание электрических потенциалов в целях обеспечения электробезопасности путем устранения разности электрических потенциалов между всеми одновременно доступными прикосновению открытыми проводящими частями стационарного электрооборудования и сторонними проводящими частями, включая металлические части строительных конструкций зданий, достигаемое надежным соединением этих частей друг с другом при помощи проводников.
3.25 главная заземляющая шина (главный заземляющий зажим): Шина или зажим, являющаяся частью заземляющего устройства электроустановки до 1 кВ и предназначенная для электрического присоединения нескольких проводников с целью заземления.
3.26 система заземления (заземляющая система): Совокупность заземляющих устройств подстанции, открытых проводящих частей потребителя и нейтрального проводника в электроустановке до 1 кВ.
3.27 тип системы заземления: Показатель, характеризующий отношение к земле нейтрали трансформатора на подстанции и открытых проводящих частей у потребителя, а также устройство нейтрального проводника. Обозначение типов систем заземления - по ГОСТ 30331.2. Различают TN-, ТТ- и IT-системы, две первых из которых имеют заземленную нейтраль на трансформаторной подстанции, а третья - изолированную. TN-система по устройству нейтрального проводника в свою очередь делится на TN-S-, TN-C- и TN-C-S-системы.
3.28 зануление: Преднамеренное электрическое соединение нейтральной проводящей части (нейтрального проводника) в электроустановке до 1 кВ с заземленной нейтралью трансформатора на подстанции
3.29 нулевой рабочий проводник (N-проводник): Проводник в электроустановке до 1 кВ, предназначенный для питания однофазных электроприемников и соединенный с заземленной нейтралью трансформатора на подстанции.
3.30 защитный проводник (РЕ-проводник): Проводник в электроустановке до 1 кВ, предназначенный для целей безопасности и соединяющий открытые проводящие части у потребителя с заземляющим устройством.
3.31 совмещенный нулевой рабочий и защитный проводник (PEN-проводник): Проводник в электроустановке до 1 кВ, совмещающий в себе функции нулевого рабочего и защитного проводников.
3.32 совмещенный защитный и функциональный заземляющий проводник (PEF-проводник): Проводник в электроустановке до 1 кВ, совмещающий в себе функции защитного и функционального заземляющего проводников.
3.33 электрическое защитное разделение цепей: Отделение электрических цепей друг от друга при помощи разделяющего трансформатора, обмотки которого отделены друг от друга основной, дополнительной либо одной усиленной изоляцией.
3.34 сверхнизкое напряжение (СНН): Напряжение, не превышающее значений, при которых оно не представляет опасности для человека в помещениях с повышенной опасностью, особо опасных и в наружных установках.
3.35 система безопасного сверхнизкого напряжения (система БСНН): Электрическая система в электроустановке до 1 кВ, в которой напряжение не превышает значений СНН:
- в нормальном режиме работы электроустановки и
- при первом повреждении изоляции, включая замыкание на землю в других цепях.
3.36 система защитного сверхнизкого напряжения (система ЗСНН): Электрическая система в электроустановке до 1 кВ, в которой напряжение не превышает значений СНН:
- в нормальном режиме работы электроустановки и
- при первом повреждении изоляции, исключая замыкание на землю в других цепях.
3.37 главная потенциалоуравнивающая шина (ГПШ): То же, что и главная заземляющая шина, но служащая для целей уравнивания электрических потенциалов (часто одна и та же шина может выполнять одновременно обе функции).
3.38 потенциаловыравнивающая сетка: Несколько потенциаловыравнивающих электродов, объединенных в сетку для расширения зоны выравнивания электрических потенциалов.
Заземление установок и оборудования информационных технологий должно обеспечивать защиту от поражения электрическим током в соответствии с требованиями ГОСТ 30331.3 и ГОСТ Р 50571.10. Дополнительные требования необходимы для обеспечения надежной и безопасной работы установки и оборудования информационных технологий, в частности, для обеспечения:
- защиты от электролитической коррозии;
- защиты от больших обратных токов по функциональным заземляющим проводникам (FE-проводникам);
- то же, и по защитным проводникам (по РЕ- и FE-проводникам);
- электромагнитной совместимости установки и оборудования информационных технологий путем эквипотенциального соединения их в единую систему уравнивания электрических потенциалов.
Примечание - Если главная заземляющая шина (главный заземляющий зажим) электроустановки используется для целей функционального заземления, то в этом случае ее можно использовать и для целей заземления оборудования информационных технологий как точку подсоединения к заземляющему устройству при условии выполнения требований 548.2.
548.3.1 ЗСНН-системы
Когда заземленные цепи систем защитного сверхнизкого напряжения (ЗСНН) и открытые проводящие части оборудования классов II и III заземлены исходя из функциональных целей для связи с локальной землей, они должны быть подсоединены к системе уравнивания электрических потенциалов согласно требованию ГОСТ 30331.3 (см. рисунок 1).
Примечание - Системы безопасного сверхнизкого напряжения (БСНН) согласно требованию ГОСТ Р МЭК 60950 заземляют и в этом случае рассматривают как ЗСНН.
Функциональное заземление может выполняться путем использования защитного проводника (РЕ-проводника) цепи питания оборудования информационных технологий в системе заземления TN-S.
Допускается функциональный заземляющий проводник (FE-проводник) и защитный проводник (РЕ-проводник) объединять в один специальный проводник и присоединять его к главной заземляющей шине (главному заземляющему зажиму).
Рисунок 1 - Блок-схема уравнивания электрических
потенциалов открытых,
опасных и сторонних проводящих частей.
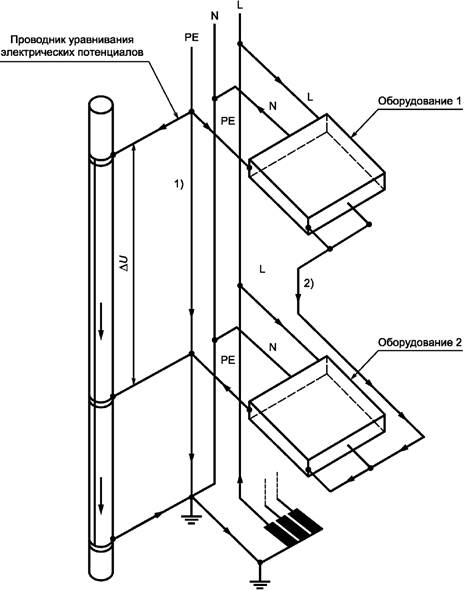
Для зданий, в которых установлено или может быть установлено большое число различного оборудования обработки информации или другого оборудования, чувствительного к действию помех, необходимо следить за использованием отдельных защитных проводников (РЕ-проводников) и нулевых рабочих проводников (N-проводников) после точки подвода питания с тем, чтобы предотвратить или свести к минимуму электромагнитные воздействия. Указанные проводники нельзя объединять так, как показано на рисунке 2а. В противном случае ток нагрузки и особенно сверхток, возникающий при однофазном коротком замыкании, будет проходить не только по нулевому рабочему проводнику (N-проводнику), но и частично по защитному проводнику, что может привести к помехе.
Если трансформатор, дизель-генератор, источник бесперебойного питания или иное подобное устройство, являясь частью электрической установки здания, имеют систему заземления типа TN-C и используются главным образом для питания оборудования информационных технологий, выходом должен быть переход на систему заземления типа TN-S, как это показано на рисунке 2b.
Пункт 548.4 специально адресован разработчикам электрических установок, предназначенных для офисов или помещений промышленного назначения. На рисунке 2a ток в нейтральном проводнике (PEN-проводнике), вызванный несимметричной нагрузкой в трехфазных сетях, делится между PEN-проводником, сторонними проводящими частями, экранами и оболочками кабелей, а также проводниками, предназначенными для обмена информацией, и тем самым вызывает появление помех. При прохождении тока в PEN-проводнике происходит падение напряжения ΔU = ΔU1 + ΔU2. В TN-S-системе ток нейтрального проводника протекает только по нулевому рабочему проводнику (N-проводнику), не вызывая падения напряжения в РЕ-проводнике.
Рисунок 2а - Система заземления типа TN-C
1) - пути токов при устранении падения напряжения ΔU вдоль РЕ;
2) - соединительный проводник уравнивания электрических потенциалов на ограниченной площади
Примечание - Система TN-S ликвидирует ток в нейтральном проводнике, показанном на рисунке 2а, и тем самым устраняет ΔU.
Рисунок 2b - Схема устранения токов в нейтральном проводнике
путем использования
в здании системы заземления типа TN-S.
В случаях, когда по проводникам функционального заземления (или проводникам рабочего заземления и защиты) проходит постоянный ток, для предотвращения электролитической коррозии следует соблюдать требования пункта 512.2 ГОСТ Р 50571.23 и ГОСТ Р 50571.10.
Примечание - См. приложение В к ГОСТ Р 50571.21 и МЭК 1000-1-1 [1].
548.7.1 Главная заземляющая шина здания
Главную заземляющую шину здания можно удлинять посредством подсоединения к ней дополнительных элементов, выполненных из того же металла и того же сечения, что и главная заземляющая шина с таким расчетом, чтобы установки обработки информации можно было подсоединять к главной заземляющей шине (главному заземляющему зажиму) самым коротким путем с любой точки здания.
В соответствии с пунктом 413.1.2.1 ГОСТ 30331.3 любой заземляющий проводник разрешается подсоединять к главной заземляющей шине в любой точке (МЭК 1024-1 [2]).
Примечания
1 Проводник заземляющей шины должен быть доступен для соединения. Его желательно устанавливать в виде соединительного кольцевого проводника (замкнутого контура), проходящего по периферии внутри здания (по контуру помещения).
2 Эффективность эквипотенциального соединения (уравнивания электрических потенциалов) между двумя точками проводника заземляющей шины зависит от импеданса используемой секции проводника. Импеданс проводника зависит от выбора нужного размера и маршрута прокладки. На частоте 50 или 60 Гц, что часто имеет место, медный провод сечением 50 мм2 является хорошим компромиссом между стоимостью материала и импедансом.
548.7.1.1 Выбор сечения проводника
Сечение проводника главной заземляющей шины должно выбираться точно так же, как и сечение проводника главного эквипотенциального соединения (главной потенциалоуравнивающей шины) в соответствии с требованиями пункта 547.1.1 ГОСТ Р 50571.10.
Примечание - Следует помнить, что сечение заземляющего проводника, требуемое функциями информационной технологии (функционального заземляющего FE-проводника), может превышать требования защиты от поражения электрическим током (защитного заземляющего РЕ-проводника)
548.7.1.2 Подсоединения к проводнику заземляющей шины
К проводнику заземляющей шины можно подсоединить:
- все проводники, отвечающие требованиям пункта 413.1.2.1 ГОСТ 30331.3 и пункта 542.4.1 ГОСТ Р 50571.10;
- проводящие экраны, оболочки, бронирующие покрытия телекоммуникационных кабелей или телекоммуникационного оборудования;
- проводники эквипотенциального соединения железнодорожных систем;
- заземляющие проводники для защиты устройств от перенапряжений;
- проводники заземления антенн радиосвязи;
- проводник заземления заземленной системы источника питания постоянного тока для оборудования информационных технологий;
- проводники функционального заземления;
- проводники систем молниезащиты (МЭК 1024-1) [2];
- проводники дополнительного эквипотенциального соединения в соответствии с пунктом 747.1.2 ГОСТ Р 50571.10.
548.7.1.3 Выбор и монтаж
В случаях, когда необходимо установить заземляющую шину, служащую для заземления большого числа оборудования информационных технологий, она должна устанавливаться в здании в виде замкнутого контура, смонтированного по стенам помещения.
Проводник заземляющей шины может быть «голым» (неизолированным) и неокрашенным. Этот проводник (предпочтительно медный) должен устанавливаться так, чтобы к нему был доступ по всей длине, например на поверхности или в магистрали. «Голые» проводники необходимо изолировать (окрашивать) в точках опоры и на участках, которые проходят через стены, чтобы предотвратить коррозию.
548.7.2 Схемы эквипотенциального соединения для функциональных целей
1) Эквипотенциальное соединение (уравнивание и выравнивание электрических потенциалов) может включать проводники, оплетки кабелей и металлоконструкции зданий, такие как водопроводы, трубопроводы отопления и горячего водоснабжения, металлические короба кабелепроводов и потенциаловыравнивающие сетки, установленные на этажах здания.
В некоторых случаях может оказаться целесообразным использование стальных строительных конструкций или стальной арматуры в системе заземления. Тогда стержни арматуры должны свариваться вместе и подсоединяться к проводнику заземляющей шины. Если сварка недопустима по строительным или иным соображениям, можно использовать зажимные приспособления.
2) Требования, предъявляемые к эквипотенциальному соединению для функциональных целей (например, сечение, форма, протяженность), зависят от частотного диапазона системы обработки информации, преобладания электромагнитной среды и характеристик устойчивости рабочей частоты оборудования.
Сечение потенциалоуравнивающего проводника, находящегося между двумя единицами оборудования, должно отвечать требованиям пункта 547.1.2 ГОСТ Р 50571.10.
Примечание - При коротких однофазных замыканиях на заземленные проводящие части сверхток может вызывать избыточный ток в проводящих сигнальных соединениях между оборудованием.
Если потенциалоуравнивающие проводники в системе уравнивания электрических потенциалов отвечают требованиям, предъявляемым к защитным проводникам, то они должны идентифицироваться как защитные проводники в соответствии с пунктом 514.3.1 ГОСТ Р 50571.23.
Когда потенциаловыравнивающая сетка создается по функциональным причинам внутри большой системы оборудования информационной технологии, действуют требования пункта 547.1.2 ГОСТ Р 50571.10.
548.7.3 Проводники функционального заземления
При выборе сечения проводников функционального заземления необходимо учитывать возможные токи повреждения, которые могут протекать в проводниках, если проводник функционального заземления используется одновременно в качестве обратного проводника (N-проводника). Необходимо также учитывать нормальное протекание номинального тока и падение напряжения в проводнике, вызванное этим током. В случаях, когда нет соответствующих данных для выбора сечения, их следует получить у фирмы-изготовителя оборудования.
548.7.3.2 Подсоединение устройств защиты от перенапряжения
Заземляющие проводники, соединяющие устройства защиты от перенапряжения с главной заземляющей шиной, должны быть самыми короткими и прямыми (без углов, создающих индуктивность) для того, чтобы максимально понизить как активное, так и индуктивное их сопротивление (импеданс).
548.7.4 Объединенные проводники функционального заземления и защиты
Проводник функционального заземления и защиты должен по меньшей мере отвечать требованиям, предъявляемым к защитному проводнику по всей его длине (раздел 543 ГОСТ Р 50571.10). Помимо соответствия требованиям поперечного сечения для защитных проводников, проводник функционального заземления и защиты должен также отвечать требованиям пункта 548.7.3.1 настоящего стандарта.
Проводник обратного постоянного тока для сети питания оборудования информационных технологий может также служить в качестве проводника функционального заземления и защиты при условии, что в случае размыкания цепи на маршруте проводника соответствующее безопасное напряжение (ожидаемое напряжение прикосновения) между одновременно доступными проводящими частями не превышает предельных величин в соответствии с пунктом 413.1 ГОСТ 30331.3 (50 В переменного тока или 120 В постоянного тока).
Если токи источника питания постоянного тока и сигнальные токи создают падение напряжения в объединенном проводнике функционального заземления и защиты, которые могут привести к разности потенциалов в установившемся режиме, площадь поперечного сечения проводника должна быть такой, чтобы падение напряжения ограничилось максимум 1 В. При вычислении падения напряжения следует пренебречь влиянием параллельных путей, т.е. расчет необходимо вести с некоторым запасом.
Примечание - Основная цель требований последнего абзаца - ограничить коррозию.
548.7.4.2 Типы проводников функционального заземления и защиты
Примеры различных электрических схем прокладки проводников, которые могут использоваться в качестве проводников функционального заземления и защиты, приведены в пункте 543.2.1 ГОСТ Р 50571.10.
548.7.4.3 Требования для использования проводящих строительных деталей в качестве проводников функционального заземления оборудования информационных технологий и защиты
Электрическая неразрывность пути прохождения тока для проводников функционального заземления и защиты должна обеспечиваться посредством:
- типа конструкции;
- использования способов соединения, которые предотвращают ухудшения электрической проводимости вследствие механических, химических и электрохимических воздействий;
Примечание - Правилами соответствующих методов соединения являются сварные и гофрированные соединения, соединения на заклепках и болтах, которые надежно затянуты и не допускают самопроизвольного ослабления.
Удельная проводимость любой строительной детали, используемой в качестве проводника функционального заземления и защиты, должна отвечать требованиям пункта 548.7.4.1 настоящего стандарта. Когда предполагается снять часть оборудования, защитное соединение между оставшимися частями оборудования не должно прерываться до тех пор, пока сначала не будут обесточены такие удаляемые части оборудования.
Рекомендуется, чтобы для стоек или рядов длиной 10 м или более проводники функционального заземления и защиты подсоединялись на обоих концах к локальной потенциаловыравнивающей сетке либо к проводнику главной заземляющей шины.
Подсоединение сигнальных цепей
В зданиях с существующими электропроводками, которые включают PEN-проводники, либо когда существуют проблемы электромагнитной совместимости (ЭМС) на сигнальных кабелях из-за неадекватных мер обеспечения ЭМС в электрической установке (см. 548.1), рекомендуется применять следующие методы для того, чтобы избежать или свести к минимуму эту проблему:
- использовать оптоволоконные линии для сигнальных цепей;
- использовать местный разделительный трансформатор с отдельными обмотками для питания оборудования информационных технологий с учетом требований ГОСТ 30331.3, особенно пункта 413.1.5 для локальной IT-системы или положение пункта 413.5 для защиты посредством электрического разделения сети;
- прокладывать кабели так, чтобы свести к минимуму закрытые участки для совместных контуров, формируемых силовыми и сигнальными кабелями.
Более подробную информацию по дополнительным методам см. в МЭК 1000-1-1 [1].
Меры по обеспечению электромагнитной совместимости
Установки или оборудование информационных технологий могут подвергаться сбою в работе вследствие токов и напряжений, наведенных как в самом оборудовании, так и в соединения между отдельными единицами оборудования. Причинами помех являются переходные процессы в сети питания и переходные явления в заземляющих проводниках вследствие грозы или переключения нагрузки (коммутационные помехи), электростатические разряды, дифференциальные напряжения в элементах заземления на частоте питания, магнитные и электромагнитные, в том числе высокочастотные поля.
Ниже приводятся основные методы устранения электромагнитных помех:
- использование помехоустойчивого оборудования информационных технологий, основанного на электрических способах, либо путем применения коррекции ошибки;
- электрическое отделение установки или оборудования информационных технологий от источников возмущения;
- обеспечение эквипотенциального соединения между оборудованием для соответствующего диапазона частот;
- применение низкоимпедансного источника опорного напряжения, чтобы свести к минимуму потенциальные дифференциальные напряжения и обеспечить экранирование.
Существуют различные методы заземления и эквипотенциального соединения для достижения электромагнитной совместимости. Ниже приведены примеры таких методов.
В.1 Метод 1 - Радиально соединенные защитные проводники
Этот метод использует присоединение защитных проводников совместно с проводниками питания. Защитный проводник на каждом оборудовании обеспечивает достаточное сопротивление для электромагнитных возмущений (отличных от переходных явлений, возникающих в сети), так что сигнальные кабели между единицами оборудования подвергаются воздействию большей части входящего шума. Следовательно, оборудование должно обладать высокой устойчивостью, чтобы работать удовлетворительно.
Помехи можно значительно снизить, если создать изолированную цепь электроснабжения, обслуживающую только оборудование информационных технологий и отделенную (например, с помощью разделительного трансформатора) от других цепей электроснабжения, заземления и внешних металлических систем (трубопроводов и т.п.).
В некоторых случаях точка заземления звездой (например, РЕ-шина в соответствующем распределительном щите) радиально соединенных проводников функционального заземления и защиты для оборудования информационных технологий может заземляться отдельным изолированным проводником, подсоединенным к клемме главной шины заземления (см. 548.2).

ОИТ - оборудование информационных технологий
Рисунок В.1 - Радиально подсоединенные защитные проводники
В.2 Использование локального выравнивания электрических потенциалов (потенциаловыравнивающей сетки)
Действие обычных защитных проводников (РЕ-проводников) может быть многократно усилено применением локального выравнивания электрических потенциалов, выполненным в виде потенциаловыравнивающей сетки, вмонтированной в бетонный пол помещения в месте размещения оборудования информационных технологий (см. рисунок В.2). Степень выравнивания электрических потенциалов зависит от размера ячейки сетки - чем меньше ячейка, тем лучшим будет выравнивание потенциалов.
Как и в случае метода 1, дополнительную устойчивость от помех можно обеспечить путем изоляции в целом цепей подачи питания на оборудование информационных технологий, включая систему заземления и потенциаловыравнивающую сетку, от других цепей электроснабжения и систем заземления, а также от внешних проводящих частей, таких как строительные металлоконструкции.
Рисунок В.2 - Локальное устройство выравнивания электрических потенциалов
В.3 Система горизонтального и вертикального эквипотенциального заземления
Действие РЕ-проводников может быть многократно усилено за счет использования горизонтального и вертикального (между этажами) эквипотенциального заземления путем применения многоярусной системы уравнивания электрических потенциалов. Эта система имеет многочисленные соединения со строительными и технологическими металлоконструкциями, открытыми проводящими частями электроустановки и металлоконструкциями других назначений (см. рисунок В.3). В этой системе широко используются проложенные по стенам помещения заземляющие шины, выполненные в виде замкнутых контуров, удлиняющих собой главную заземляющую шину, служащую для подсоединения к ней заземляющих проводников от оборудования информационных технологий (см. 548.7).
Рисунок В.3 - Система горизонтального и вертикального эквипотенциального заземления
В зависимости от частотного спектра действующих на оборудование информационных технологий помех и шага сетки (размера ячейки), этот метод может обеспечить достаточно низкий импеданс для решения большинства проблем на оборудовании со средней помехоустойчивостью. Тем не менее, неудачная попытка поддерживать «закрытую» (вмонтированную в бетонный пол) сетку на всем протяжении помещения может привести к проблемам, поскольку все потенциальные источники шума будут «проявляться» в системе. Особое внимание следует уделить шагу сетки для рассеяния возмущений от таких источников.
В.4 Сравнение методов
Метод 1 наиболее легко реализуем, особенно в существующих зданиях. Сложность и затраты на реализацию возрастают в случае применения методов 2 и 3. Тем не менее, эти методы с наибольшей вероятностью обеспечат приемлемую среду для оборудования информационных технологий.
Передача сигналов между различными участками эквипотенциального соединения
Грозовые явления и повреждения в электрических сетях выше 1 кВ, особенно в сетях с эффективно заземленной нейтралью могут вызвать чрезмерные разности электрических потенциалов (перенапряжения) между различными зданиями или различными участками эквипотенциального соединения в одном здании. Они, в свою очередь, могут вызвать перенапряжения в проводниках, передающих сигналы между оборудованием информационных технологий, и тем самым создать помехи.
Чтобы избежать таких проблем, сигнальные линии передачи между различными участками эквипотенциального соединения можно реализовать с использованием неметаллического оптоволоконного кабеля или других не проводящих систем, таких как микроволновые или лазерные линии связи.
Примечание - За проблемы возникновения дифференциальных напряжений в системах заземления на больших общественных телекоммуникационных сетях отвечает оператор, который может использовать другие методы.
Заземляющие
устройства и системы уравнивания потенциалов в
животноводческих помещениях, содержащих оборудование информационных
технологий
Заземляющие устройства и системы уравнивания и выравнивания электрических потенциалов в животноводческих помещениях с оборудованием информационных технологий (устройства автоматического индивидуального дозирования корма по номеру животного, автоматические распознаватели индивидуальных номеров животных, приборы автоматического индивидуального учета надоев молока и т.п.) должны выполняться исходя из двух основных требований - обеспечения надежной работы без помех оборудования информационных технологий и обеспечения безопасных условий содержания скота, исключая при этом электропатологию животных, т.е. снижение продуктивности под воздействием безопасных для жизни весьма малых напряжений прикосновения, составляющих доли вольта.
Проверку этих требований следует осуществлять по результатам фиксированного вертикального электрического зондирования земли в местах размещения помещений согласно А8 приложения А к ГОСТ Р 50571.14.
[2] МЭК 1024-1-90 Защита сооружений от молний. Часть 1. Общие принципы
Ключевые слова: электроустановки зданий; электроустановки до 1 кВ; обеспечение безопасности; защита от перенапряжений; заземление; уравнивание электрических потенциалов; выравнивание электрических потенциалов; оборудование информационных технологий; монтаж электрооборудования