Правила применяют: - к зеркалам заднего вида, предназначенным для установки на механических транспортных средствах категорий М, N и всех других механических транспортных средствах, имеющих менее четырех колес и кузов частично или полнстью закрытого типа, и - к установке зеркал заднего вида на: механических транспортных средствах категорий М и N; на всех других механических транспортных средствах, имеющих менее четырех колес и кузов частично или полностью закрытого типа.
| Обозначение: | ГОСТ Р 41.46-99 |
| Название рус.: | Единообразные предписания, касающиеся официального утверждения зеркал заднего вида и механических транспортных средств в отношении установки на них зеркал заднего вида |
| Статус: | действует |
| Дата актуализации текста: | 05.05.2017 |
| Дата добавления в базу: | 01.09.2013 |
| Дата введения в действие: | 01.07.2000 |
| Утвержден: | 26.05.1999 Госстандарт России (Russian Federation Gosstandart 184) |
| Опубликован: | ИПК Издательство стандартов (2000 г. ) |
| Ссылки для скачивания: |
ГОСТ Р 41.46-99
(Правила ЕЭК ООН № 46)
ЕДИНООБРАЗНЫЕПРЕДПИСАНИЯ, КАСАЮЩИЕСЯ ОФИЦИАЛЬНОГО УТВЕРЖДЕНИЯ ЗЕРКАЛ ЗАДНЕГО ВИДА ИМЕХАНИЧЕСКИХ ТРАНСПОРТНЫХ СРЕДСТВ В ОТНОШЕНИИ УСТАНОВКИ НА НИХ ЗЕРКАЛ ЗАДНЕГОВИДА
ГОССТАНДАРТ РОССИИ
Москва
СОДЕРЖАНИЕ
1. РАЗРАБОТАНВсероссийским научно-исследовательским институтом стандартизации и сертификациив машиностроении (ВНИИНМАШ) на основе Правил № 46 ЕЭК ООН, принятых Рабочейгруппой по конструкции транспортных средств КВТ ЕЭК ООН
ВНЕСЕНГосстандартом России
2. ПРИНЯТ ИВВЕДЕН В ДЕЙСТВИЕ Постановлением Госстандарта России от 26 мая
3 Настоящийстандарт представляет собой идентичный текст Правил ЕЭК ООН № 46, Пересмотр 1(документ E/ECE/324-E/ECE/TRANS/505/Rev.l/Add.45/Rev.1, дата вступления в силу 08.07.88) «Единообразные предписания, касающиесяофициального утверждения зеркал заднего вида и механических транспортныхсредств в отношении установки на них зеркал заднего вида» и включает в себя:
- Пересмотр 1- Поправка 1 (документ E/ECE/324-E/ECE/TRANS/505/Rev.l/Add.45/Rev.1/ Amend.l, дата вступления в силу27.08.96);
- Пересмотр 1- Поправка 2 (документ E/ECE/324-E/ECE/TRANS/505/Rev.l/Add.45/Rev.1/ Amend.2, датавступления в силу 03.01.98)
4. ВВЕДЕНВПЕРВЫЕ
ГОСУДАРСТВЕННЫЙСТАНДАРТ РОССИЙСКОЙ ФЕДЕРАЦИИ
| ЕДИНООБРАЗНЫЕ ПРЕДПИСАНИЯ, КАСАЮЩИЕСЯ ОФИЦИАЛЬНОГО УТВЕРЖДЕНИЯ ЗЕРКАЛ ЗАДНЕГО ВИДА И МЕХАНИЧЕСКИХ ТРАНСПОРТНЫХ СРЕДСТВ В ОТНОШЕНИИ УСТАНОВКИ НА НИХ ЗЕРКАЛ ЗАДНЕГО ВИДА Uniform provisions concerning the approval of rear-view mirrors, and of motor vehicles with regard to the installation of rear-view mirrors |
Дата введения 2000-07-01
Настоящий стандарт вводитв действие Правила ЕЭК ООН № 46 (далее - Правила).
Настоящие Правилаприменяют:
1.1 к зеркалам заднеговида, предназначенным для установки на механических транспортных средствахкатегорий М, N и всехдругих механических транспортных средствах, имеющих менее четырех колес и кузовчастично или полностью закрытого типа, и
1.2 1) кустановке зеркал заднего вида на:
1.2.1 механическихтранспортных средствах категорий М и N;
1.2.2 на всех другихмеханических транспортных средствах, имеющих менее четырех колес и кузовчастично или полностью закрытого типа.
1) Для механическихтранспортных средств, не подпадающих под категории М, N, и всех других механическихтранспортных средств, не имеющих кузова частично или полностью закрытого типа,применяют требования Правил, которые в настоящее время разрабатывают и номеркоторых будет определен позже.
В настоящем стандарте применяют следующие термины:
2.1 зеркало заднего вида: Любое устройство, предназначенноедля обеспечения в пределах поля обзора, определенного в 16.5, четкого вида того, что находится позади и сбокутранспортного средства, за исключением сложных оптических систем, таких какперископы.
2.2 внутреннее зеркалозаднего вида: Устройство, соответствующее определению, данному в 2.1,предназначенное для установки в пассажирском салоне транспортного средства.
2.3 внешнее зеркалозаднего вида: Устройство, соответствующее определению, данному в 2.1,предназначенное для установки на внешней поверхности транспортного средства.
2.4 зеркалодля наблюдения: Какое-либо зеркало заднего вида, иное, чем определенное в2.1, которое устанавливают внутри или снаружи транспортного средства ипредназначено для обеспечения поля обзора, иного, чем предписанное в 16.5.
2.5 тип зеркала заднеговида: Устройства, которые не отличаются друг от друга по следующим основнымхарактеристикам:
2.5.1 размерам и радиусукривизны отражающей поверхности зеркала заднего вида;
2.5.2 конструкции, формеили материалам, из которых изготовлено зеркало заднего вида (Поправка серии01).
2.6 класс зеркалзаднего вида: Все устройства, имеющие одну или несколько общиххарактеристик или функций.
Их классифицируютследующим образом:
I - внутренниезеркала заднего вида, обеспечивающие поле обзора, определенное в 16.5.2; II, III - такназываемые «основные» внешние зеркала заднего вида, обеспечивающие поле обзора,определенное в 16.5.3;
IV - такназываемые «широкоугольные» внешние зеркала заднего вида, обеспечивающие полеобзора, определенное в 16.5.4;
V - такназываемые внешние зеркала «бокового обзора», обеспечивающие поле обзора,определенное в 16.5.5.
2.7 r. Средний радиускривизны, измеренный по отражающей поверхности в соответствии с методом,предписанным в разделе 2 приложения 7 к настоящимПравилам.
2.8 основные радиусыкривизны в одной точке отражающей поверхности (ri):Величины, полученные с использованием приборов, определенных в приложении 7,измеренные по дуге отражающей поверхности, проходящей через центр зеркалапараллельно сегменту b, определенному в 7.1.2.1, и по дуге, перпендикулярной этомусегменту.
2.9 радиус кривизны водной точке отражающей поверхности (rp): Среднееарифметическое основных радиусов кривизны ri и r'i, то есть
![]()
2.10 центрзеркала: Центр тяжести видимой зоны отражающей поверхности.
2.11 радиус кривизнысоставных элементов зеркала заднего вида:
Радиус с дугиокружности, которая в наибольшей степени приближается к кривизнерассматриваемого элемента.
2.12 транспортные средствакатегорий М и N:Транспортные средства, определенные в 5.2.2 и 5.2.3 Правил № 13.
3.1 Заявка на официальноеутверждение типа зеркала заднего вида должна представляться владельцемфабричной или торговой марки или его надлежащим образом уполномоченнымпредставителем.
3.2 К заявке для каждогокласса зеркала заднего вида должны быть приложены упомянутые ниже документы втрех экземплярах и следующие данные:
3.2.1 техническоеописание, включая инструкции по установке с указанием типа(ов) транспортныхсредств, для которых предназначено данное зеркало заднего вида;
3.2.2чертежи, достаточно подробные, чтобы:
3.2.2.1 определить класс,
3.2.2.2 проверитьсоответствие общим техническим требованиям, предписанным в разделе 6,
3.2.2.3 проверитьсоответствие размерам, предписанным в 7.1,
3.2.2.4 контролироватьположение мест, предусмотренных для знака официального утверждения ипредписанных ниже в 4.2.
3.3 Кроме того, к заявкена официальное утверждение должны быть приложены четыре образца данного типазеркала заднего вида. По просьбе лаборатории могут быть затребованыдополнительные образцы.
3.4 Компетентный органдолжен проверить наличие удовлетворительных мер по обеспечению эффективногоконтроля за соответствием производства до выдачи официального утверждения потипу конструкции.
4.1 Наобразцах зеркал заднего вида, представленных для официального утверждения,должен быть нанесен фабричный или торговый знак предприятия-изготовителя; знакдолжен быть четким и нестираемым.
4.2 Назащитном корпусе каждого зеркала заднего вида должно быть место, достаточноедля нанесения знака официального утверждения, который должен быть удобочитаемымпосле установки зеркала заднего вида на транспортное средство; это место должнобыть указано в чертежах, упомянутых в 3.2.2.
5.1 Если образцы,представленные для официального утверждения, отвечают требованиям, содержащимсяв разделах 6- 8, тоданный тип зеркала заднего вида считают официально утвержденным.
5.2 Каждому официальноутвержденному типу присваивают номер официального утверждения, первые две цифрыкоторого (в настоящее время 01, соответствующие поправкам серии 01, вступившимв силу 5 октября
5.3 СтороныСоглашения, применяющие настоящие Правила, уведомляются об официальномутверждении, отказе в официальном утверждении, распространении или отменеофициального утверждения или об окончательном прекращении производства того илииного типа зеркала заднего вида в соответствии с настоящими Правилами посредствомкарточки, удовлетворяющей образцу, приведенному в приложении 1 к настоящим Правилам.
5.4 Навсе зеркала заднего вида, соответствующие официально утвержденному типусогласно настоящим Правилам, наносят, кроме знака, предписанного в 4.1, в месте,предусмотренном в 4.2,легко читаемый международный знак официального утверждения, состоящий из:
5.4.1 круга,внутри которого помещена буква Е, за которой следует отличительный номерстраны, в которой произведено официальное утверждение 1);
5.4.2 номера официальногоутверждения;
5.4.3 дополнительногознака, состоящего из римской цифры.
1) 1 - Германия, 2 - Франция,3 - Италия, 4 - Нидерланды, 5 - Швеция, 6 - Бельгия, 7 - Венгрия, 8 - ЧешскаяРеспублика, 9 - Испания, 10 - Югославия, 11 - Соединенное Королевство, 12 -Австрия, 13 -Люксембург, 14 - Швейцария, 15 - не присвоен, 16 - Норвегия, 17 -Финляндия, 18 - Дания, 19 -Румыния, 20 - Польша, 21 - Португалия, 22 -Российская Федерация, 23 - Греция, 24 - не присвоен, 25 - Хорватия, 26 -Словения, 27 - Словакия, 28 - Беларусь, 29 - Эстония, 30 - не присвоен, 31 -Босния и Герцеговина, 32 - 36 - не присвоены, 37 - Турция, 38 - 39 - не присвоеныи 40 - бывшая югославская Республика Македония. Последующие порядковые номераприсваиваются другим странам в хронологическом порядке ратификации имиСоглашения о принятии единообразных технических предписаний для колесныхтранспортных средств, предметов оборудования и частей, которые могут бытьустановлены и (или) использованы на колесных транспортных средствах, и обусловиях взаимного признания официальных утверждений, выдаваемых на основе этихпредписаний, или в порядке их присоединения к этому Соглашению. Присвоенные имтаким образом номера сообщаются Генеральным секретарем Организации ОбъединенныхНаций Договаривающимся сторонам Соглашения.
5.5 Знак официальногоутверждения и дополнительный знак должны быть легко читаемыми и нестирающимися.
5.6 В приложении 3к настоящим Правилам приведен образец знака официального утверждения идополнительного знака, упомянутых выше.
6.1 Все зеркала заднеговида должны быть регулируемыми.
6.2 Контуротражающей поверхности должен быть окружен защитным корпусом (кожухом и т. д.),который по своему периметру в любой точке и во всех направлениях должен иметьзначение с ≥
6.3 Еслизеркало заднего вида установлено на ровную поверхность, все его части при любойрегулировке устройства, а также все части, остающиеся прикрепленными взащитному корпусу после проведения испытания, предусмотренного в 8.2, которыев статическом положении могут вступать в контакт со сферой диаметром
6.3.1 Края отверстий длякрепления или выемки, диаметр или наибольшая диагональ которых составляет менее
6.4 Устройствокрепления на транспортном средстве должно быть сконструировано таким образом,чтобы цилиндр радиусом
6.5 Соответствующиеположения не распространяются на части внешних зеркал заднего вида, предусмотренныев 6.2 и6.3,изготовленные из материала, твердость которого по Шору А не превышает 60.
6.6 Положения 6.2 и 6.3, касающиесякронштейнов, не распространяются на части внутренних зеркал заднего вида,которые изготовлены из материала, твердость которого по Шору А составляет менее50, и установлены на жестких кронштейнах.
7.1.1 Внутренниезеркала заднего вида (класс I)
Отражающая поверхностьдолжна иметь такие размеры, чтобы в них можно было вписать прямоугольник, однаиз сторон которого равна

7.1.2 Внешние зеркала заднего вида (классы II и III)
7.1.2.1 Отражающаяповерхность должна иметь такие размеры, чтобы в них можно было вписать:
7.1.2.1.1 прямоугольник,высота которого составляет
7.1.2.1.2 сегмент,параллельный высоте прямоугольника, длина которого, выраженная в сантиметрах,равна b.
7.1.2.2Минимальные значения α и b приведены в следующей таблице.
| Классы зеркал заднего вида | Категория транспортных средств, для которых предназначены зеркала заднего вида | α | β |
| II | М2, М3, N2 и N3 |
| 20 |
| III | M1 и N1, N2 и N3 (в случае применения предписаний 16.2.1.3) |
| 7 |
7.1.3 «Широкоугольные»внешние зеркала заднего вида (класс IV)
Контур отражающей поверхностидолжен быть простым, а ее размеры должны быть такими, чтобы обеспечивалось полеобзора, предписываемое в 16.5.4.
7.1.4 Внешниезеркала «бокового обзора» (класс V)
Контур отражающей поверхностидолжен быть простым, а ее размеры должны быть такими, чтобы обеспечивалось полеобзора, предписываемое в 16.5.5.
7.2.1 Отражающая поверхностьзеркала заднего вида должна быть плоской или иметь форму выпуклой сферы.
7.2.2 Расхождениемежду радиусами кривой
7.2.2.1 Разница между ri или r'i и rрв каждой опорной точке не должнапревышать 0,15 r.
7.2.2.2 Разница междукаждым из радиусов кривой (rp1, rр2и rр3) и r не должна превышать 0,15r.
7.2.2.3 Если r ≥
7.2.3 Значение r должно быть не менее:
7.2.3.1
7.2.3.2
7.2.3.3
7.2.4 Значение обычногокоэффициента отражения, определенное по методу, описываемому в приложении 5к настоящим Правилам, должно составлять не менее 40%. Если зеркало имеет две позиции(«день» и «ночь»), то в положении «день» оно должно позволять распознаватьцвета сигнальных знаков дорожного движения. Значение обычного коэффициентаотражения в положении «ночь» должно быть не ниже 4%.
7.2.5 Отражающаяповерхность должна сохранять характеристики, предписанные в 7.2.4, несмотря напродолжительное воздействие неблагоприятных погодных условий при нормальномрежиме эксплуатации.
8.1 Зеркала заднего вида,не являющиеся зеркалами «бокового обзора» (класс V), подвергают испытаниям, описанным в8.2 и 8.3.
8.1.1 Проведениеиспытаний, предусмотренных в 8.2, не требуется для всех внешних зеркал заднеговида, у которых ни одна из частей не располагается на высоте менее
Указанное вышеотступление от установленных правил применяют также в случае, когда элементыкрепления (крепежные пластины, кронштейны, шарниры и т.д.) располагаются навысоте не менее
В этом случае к зеркалузаднего вида должно прилагаться описание, в котором указывают, что зеркалодолжно быть установлено таким образом, чтобы расположение элементов крепления ктранспортному средству соответствовало вышеуказанным предписаниям.
При таком отступлении отустановленных правил на кронштейне зеркала должен быть нанесен нестираемый знак
, а всвидетельстве об официальном утверждении должна быть сделана соответствующаяотметка.
8.2 Испытаниена повреждение конструкции при ударе
8.2.1 Описаниеиспытательного устройства
8.2.1.1 Испытательноеустройство должно состоять из маятника, могущего колебаться вокруг двухгоризонтальных осей, перпендикулярных друг другу, одна из которыхперпендикулярна фронтальной плоскости, в которую вписывается траектория«падения» маятника. На конце маятника должен быть установлен ударный элемент,состоящий из жесткой сферы диаметром (165 ± 1) мм с резиновым покрытиемтолщиной
8.2.1.2Центр удара маятника должен быть совмещен с центром сферы, образующей ударнуючасть. Расстояние l от центрасферы до оси вращения в плоскости падения составляет (1000 ± 5) мм. Приведеннаямасса маятника m0в центре удара составляет (6,8 ± 0,05) кг (между т0, общеймассой маятника т и расстоянием d от центра тяжестимаятника до его оси вращения существует следующее соотношение
).

Рисунок 1
8.2.2 Описаниеиспытания
8.2.2.1 Установка зеркалазаднего вида на опоре должна производиться, как указано предприятием-изготовителемустройства или, в случае необходимости, конструктором транспортного средства.
8.2.2.2 Размещениезеркала заднего вида для испытания
8.2.2.2.1 Зеркала должныбыть размещены на испытательном маятниковом устройстве таким образом, чтобы осизеркала, которые находятся в горизонтальном и вертикальном положении приустановке на транспортное средство в соответствии с указаниями изготовителя иликонструктора транспортного средства, находились в том же положении.
8.2.2.2.2 Если зеркалорегулируется по отношению к основанию, то во время испытания зеркало должнонаходиться в положении, наиболее неблагоприятном для отклонения в пределахрегулировки, предусмотренных изготовителем или конструктором транспортногосредства.
8.2.2.2.3 Если в зеркалепредусмотрено устройство регулировки на расстоянии по отношению к основанию, тоэто устройство должно быть установлено таким образом, чтобы расстояние междузащитным корпусом и основанием было минимальным.
8.2.2.2.4 Если отражающаяповерхность подвижна в пределах защитного корпуса, регулировка должна бытьтакой, чтобы ее верхний угол, наиболее удаленный от транспортного средства,находился в положении, наиболее удаленном по отношению к защитному корпусу.
8.2.2.3 За исключениемиспытания 2 внутренних зеркал заднего вида (8.2.2.6.1), в случаях, когдамаятник находится в вертикальном положении, горизонтальная и продольнаявертикальная плоскости, проходящие через центр ударной части, должны проходитьчерез центр зеркала, как предусмотрено в 2.10. Продольные направлениеколебания маятника должно быть параллельно продольной плоскости транспортногосредства.
8.2.2.4 Если прирегулировке, предусмотренной в 8.2.2.2.1 и 8.2.2.2.2, элементы зеркала заднеговида ограничивают подъем ударной части, точка удара должна быть смещена внаправлении, перпендикулярном рассматриваемой оси вращения или поворота. Этосмещение может производиться только в случае, если оно совершенно необходимодля проведения испытания. Оно должно ограничиваться:
8.2.2.4.1 либо такимобразом, чтобы сфера, образующая ударный элемент, пересекала или по крайнеймере касалась цилиндра, указанного в 6.4;
8.2.2.4.2 либо такимобразом, чтобы контакт с ударным элементом происходил на расстоянии не менее
8.2.2.5 Испытаниепредставляет собой падение маятника с высоты, соответствующей углу 60° междумаятником и вертикалью, таким образом, что ударный элемент бьет зеркало заднеговида в тот момент, когда маятник достигает вертикального положения.
8.2.2.6 Испытаниезеркал заднего вида на удар проводят в следующих различных условиях.
8.2.2.6.1 Внутренниезеркала заднего вида
8.2.2.6.1.1 Испытание 1.Точка удара определена в 8.2.2.3; ударный элемент бьет по зеркалу со стороныотражающей поверхности.
8.2.2.6.1.2 Испытание 2.Удар наносят по краю защитного корпуса таким образом, что его направлениеобразует угол 45° с плоскостью зеркала и расположено в горизонтальнойплоскости, проходящей через центр зеркала. Направление удара - со стороныотражающей поверхности.
8.2.2.6.2 Внешниезеркала заднего вида
8.2.2.6.2.1 Испытание 1.Точка удара определена в 8.2.2.3 или 8.2.2.4; ударный элемент бьет по зеркалусо стороны отражающей поверхности.
8.2.2.6.2.2 Испытание 2.Точка удара определена в 8.2.2.3 или 8.2.2.4; ударный элемент бьет по зеркалусо стороны, противоположной отражающей поверхности.
8.2.2.6.2.3 В случаях,когда зеркала класса IIили III имеют общий кронштейн с зеркалами класса IV, описанные выше испытания должныпроводиться с внутренним зеркалом заднего вида.
Однако техническаяслужба, уполномоченная проводить испытания, может повторить эти испытания илиодно из испытаний с верхним зеркалом, если оно расположено на высоте менее
8.3 Испытаниена изгиб защитного корпуса, установленного на стержне
8.3.1 Описаниеиспытания
8.3.1.1 Защитный корпусдолжен быть установлен горизонтально на испытательном устройстве таким образом,чтобы можно было надежно блокировать элементы регулировки крепления.Оконечность, наиболее приближенную к точке крепления на элементе регулировки,закрепляют в направлении наибольшего габарита защитного корпуса жестким упоромшириной
8.3.1.2 С другой сторонына защитный корпус устанавливают упор, аналогичный описанному выше, для того,чтобы приложить предусмотренную испытательную нагрузку (рисунок 2).
8.3.1.3 Допускаетсязакрепление оконечности защитного корпуса, противоположной той, к которойприкладывают нагрузку, вместо удержания ее в положении, показанном на рисунке2.
8.3.2Испытательная нагрузка должна составлять

1 - нагрузка; 2- металлические прокладки; 3 -защитный корпус; 4 -регулируемый упор; 5 - регулируемая опора; 6 - механизм блокировки
Рисунок 2 - Пример устройства дляиспытания на изгиб защитных корпусов зеркал заднего вида
8.4 Результатыиспытаний
8.4.1 В испытаниях, предусмотренных в 8.2, маятникдолжен продолжать свое движение таким образом, чтобы проекция штанги маятникана плоскость падения образовывала с вертикалью угол не менее 20°.
8.4.1.1 Точностьизмерения угла должна составлять ± 1o.
8.4.1.2 Это предписаниене распространяется на зеркала заднего вида, приклеиваемые на ветровое стекло,на которые после проведения испытания распространяются предписания 8.4.2.
8.4.1.3 Угол отклонения штангимаятника уменьшается с 20 до 10° в случае зеркал заднего вида класса II, а также зеркал класса III, если они имеют общийкронштейн с зеркалами класса IV.
8.4.2 В ходе испытания,предусмотренного в 8.2 для зеркал заднего вида, приклеиваемых на ветровоестекло, в случае поломки кронштейна зеркала остающаяся часть не должнавыступать по отношению к основанию более чем на
8.4.3 В ходе испытаний,предусмотренных в 8.2и 8.3,зеркало не должно разбиваться. Однако допускается разбивание зеркала присоблюдении одного из следующих условий:
8.4.3.1 осколки должныприлегать к основанию защитного корпуса или к поверхности, прочно соединенной сзащитным корпусом; однако допускается частичное отделение стекла при условии,что оно не превышает
8.4.3.2 зеркало должноизготовляться из безопасного стекла.
9.1 Любое изменение типа зеркала,включая его крепление к кузову, должно доводиться до сведения административнойслужбы, которая производит официальное утверждение данного типа зеркала. В этомслучае такая служба имеет право:
9.1.1 либо признать, чтовнесенные изменения не окажут значительного неблагоприятного воздействия и влюбом случае это зеркало по-прежнему отвечает предписаниям;
9.1.2 либо потребовать оттехнической службы, проводившей испытания, составить новый протокол.
(Поправка серии 01).
9.2 Подтверждениеофициального утверждения с указанием внесенных изменений или отказа вофициальном утверждении должны доводиться до сведения сторон Соглашения,применяющих настоящие Правила, в соответствии с процедурой, указанной в 5.3.
9.3 Стороны Соглашения
9.4 При распространенииофициального утверждения компетентный орган проставляет на каждом уведомлении отаком распространении официального утверждения порядковый номер.
10.1 Зеркалозаднего вида, официально утвержденное в соответствии с настоящими Правилами,должно быть изготовлено таким образом, чтобы оно соответствовало официальноутвержденному типу и удовлетворяло требованиям, изложенным в разделах 6 - 8.
10.2 Дляпроверки выполнения требований 10.1 необходимо проводить соответствующийконтроль за производством.
10.3 Владелецофициального утверждения должен, в частности:
10.3.1 обеспечитьпринятие мер для эффективного контроля за качеством продукции;
10.3.2 иметь доступ кнеобходимому контрольному оборудованию для проверки соответствия каждогоофициально утвержденного типа;
10.3.3 регистрироватьданные результатов испытаний и прилагаемые документы, которые должны хранитьсяв течение периода времени, определяемого по согласованию с административнойслужбой;
10.3.4 анализироватьрезультаты каждого типа испытания в целях проверки и поддержания стабильныххарактеристик зеркал заднего вида с учетом отклонений, допускаемых в условияхпромышленного производства;
10.3.5 обеспечить, чтобыпо крайней мере для каждого типа зеркал заднего вида проводились испытания,предписанные в приложении9 к настоящим Правилам;
10.3.6 обеспечить, чтобыв случае несоответствия производства при проведении данного типа испытания навыборке образцов или испытуемых деталях проводились новая выборка образцов иновые испытания. Должны быть предприняты все необходимые шаги длявосстановления соответствия производства.
10.4 Компетентный орган,выдавший официальное утверждение, может в любое время проверить соответствиеприменяемых методов контроля в отношении каждой производственной единицы.
10.4.1 При каждойпроверке инспектору должны представляться протоколы испытаний ипроизводственные журналы технического контроля.
10.4.2 Инспектор можетпровести произвольную выборку образцов, проверку которых осуществляют влаборатории предприятия-изготовителя. Минимальное число образцов может бытьопределено в зависимости от результатов, полученных при проверке самим предприятием-изготовителем.
10.4.3 Если качествоявляется неудовлетворительным или представляется необходимым проверитьправильность испытаний, проведенных в соответствии с 10.4.2, инспектор можетотобрать образцы, которые отсылают технической службе, проводившей испытаниядля официального утверждения данного типа.
10.4.4 Компетентный органможет проводить любое испытание, предписываемое настоящими Правилами.
10.4.5 В обычных условияхкомпетентный орган разрешает проводить одну проверку в год. В случае полученияотрицательных результатов в ходе одной из проверок компетентные органынезамедлительно предпринимают все необходимые меры для восстановлениясоответствия производства.
11.1 В случае несоблюденияусловия, указанного в 10.1, или если тип зеркала заднего вида не прошелиспытания, предписанные в 10.2, официальное утверждение, выданное длякакого-либо типа зеркала заднего вида в соответствии с настоящими Правилами,может быть отменено.
11.2 В случае, если однаиз сторон Соглашения, применяющая настоящие Правила, отменяет официальноеутверждение, выданное ею ранее, она должна незамедлительно информировать обэтом другие Договаривающиеся стороны, применяющие настоящие Правила,посредством копии регистрационной карточки официального утверждения, в концекоторой крупным шрифтом делают отметку «ОФИЦИАЛЬНОЕ УТВЕРЖДЕНИЕ ОТМЕНЕНО» ипроставляют подпись и дату.
Еслипредприятие-изготовитель официально утвержденной продукции окончательнопрекращает производство того или иного типа зеркал заднего вида, официальноутвержденного на основании настоящих Правил, он должен информировать об этомкомпетентный орган, выдавший официальное утверждение. По получении этогосообщения данный компетентный орган информирует о нем другие СтороныСоглашения, применяющие настоящие Правила, посредством копии регистрациейкарточки официального утверждения, в конце которой крупным шрифтом делаютотметку «ПРОИЗВОДСТВО ПРЕКРАЩЕНО» и проставляют подпись и дату.
В настоящем разделеприменяют следующие термины:
13.1 типтранспортного средства в отношении зеркал заднего вида: Механическиетранспортные средства, не имеющие между собой различий в отношении следующихосновных элементов:
13.1.1 характеристиккузова, ограничивающих поле обзора;
13.1.2 координат точки R сиденьяводителя;
13.1.3 положений и типовобязательных и факультативных (если таковые установлены) зеркал.
13.2 окулярныеточки водителя: Две точки, удаленные друг от друга на
13.3 амбинокулярныйобзор: Полное поле обзора, получаемое наложением монокулярных полей правогои левого глаза (см. рисунок 3).

Е - внутреннее зеркало заднеговида; OD, ОЕ - глаза водителя; ID;IE -виртуальноемонокулярное изображение; I -виртуальное амбинокулярное изображение; А - угол обзорности левогоглаза; В - угол обзорности правого глаза; С - бинокулярный уголобзорности; D - амбинокулярный уголобзорности
Рисунок 3 - Амбинокулярный обзор
14.1 Заявка наофициальное утверждение какого-либо типа транспортного средства в отношенииустановки зеркал заднего вида представляется предприятием-изготовителемтранспортного средства или его надлежащим образом уполномоченнымпредставителем.
14.2 К заявке должны бытьприложены указанные ниже документы в трех экземплярах и следующие данные:
14.2.1 описание типатранспортного средства в отношении точек, упомянутых в 13.1;
14.2.2 переченьэлементов, необходимых для определения зеркал заднего вида, которые могут быть установленына данное транспортное средство;
14.2.3 чертежи, накоторых указано размещение на транспортном средстве зеркал заднего вида иприспособлений для их установки;
14.2.4 инструкцияпредприятия-изготовителя, в которой указаны:
14.2.4.1 параметры точки R сиденьяводителя,
14.2.4.2 максимальнаяширина кузова в случае, если транспортное средство поставляют с установленнымкузовом,
14.2.4.3 максимальный иминимальный габариты кузова по ширине, с учетом которых утверждено данноезеркало заднего вида (для автомобилей без кузова, указанных в 6.3.3).
14.3 Один образецофициально утверждаемого типа транспортного средства должен быть представлентехнической службе, на которую возложено проведение испытаний для официальногоутверждения.
14.4 Компетентный орган долженпроверить наличие удовлетворительных мер по обеспечению эффективного контроляза соответствием производства до выдачи официального утверждения данного типа.
15.1 Если типтранспортного средства, представленный для официального утверждения всоответствии с положениями раздела 14, удовлетворяет положениям раздела 16настоящих Правил, то данный тип транспортного средства считают официальноутвержденным.
15.2 Каждому официальноутвержденному типу присваивают номер официального утверждения, первые две цифрыкоторого (в настоящее время 01, соответствующие поправкам серии 01, вступившимв силу 5 октября
15.3 СтороныСоглашения, применяющие настоящие Правила, уведомляются об официальномутверждении или об отказе в официальном утверждении, или о распространенииофициального утверждения типа транспортного средства на основании настоящихПравил посредством карточки, соответствующей образцу, приведенному в приложении 2к настоящим Правилам.
15.4 Накаждом транспортном средстве, соответствующем типу, официально утвержденному наосновании настоящих Правил, в легкодоступном месте, указанном на карточкеофициального утверждения, наносят ясно различимый международный знакофициального утверждения, состоящий из:
15.4.1 круга, в которомпроставлена буква Е, за которой следует отличительный номер страны,предоставившей официальное утверждение 1);
15.4.2 номера настоящихПравил, который проставляют справа от круга, предусмотренного в 15.4.1, за которымследуют буква R, тире иномер официального утверждения.
1) См. сноску к 5.4.1.
15.5 Еслитранспортное средство соответствует типу транспортного средства, официальноутвержденному на основании других приложенных к Соглашению Правил в той жестране, которая предоставила официальное утверждение на основании настоящихПравил, то не следует повторять обозначение, предусмотренное в 15.4.1. В этомслучае номера Правил и официального утверждения, а также дополнительныеобозначения всех Правил, на основании которых произведено официальноеутверждение в стране, которая произвела официальное утверждение на основаниинастоящих Правил, должны быть расположены в вертикальных колонках, помещаемыхсправа от знака, предусмотренного в 15.4.1.
15.6 Знак официальногоутверждения должен быть четким и нестираемым.
15.7 Знак официальногоутверждения проставляют рядом с прикрепляемой предприятием-изготовителемтабличкой, на которой приведены характеристики транспортного средства, или наносятна эту табличку.
15.8 В приложении 4к настоящим Правилам приведены в качестве примера схемы знака официальногоутверждения.
16.1 Транспортноесредство должно соответствовать следующим спецификациям.
16.1.1 Тип зеркал,устанавливаемых на транспортном средстве, должен быть официально утвержден наосновании настоящих Правил.
16.1.2 Все зеркалазаднего вида должны быть установлены таким образом, чтобы при перемещении они неизменяли расчетное поле обзора и в случае вибрации не давали искаженногоизображения, которое могло бы быть неправильно воспринято водителем.
16.1.2.1 Требования,содержащиеся в 16.1.2, должны соблюдаться при движении транспортного средствасо скоростью, составляющей 80 % максимальной расчетной скорости, однако неболее
16.2 Количество
16.2.1 Минимальноеобязательное количество зеркал заднего вида
16.2.1.1 Длятранспортных средств категорий М и N предписываемое в 16.5 поле обзора должно обеспечиватьсяминимальным обязательным количеством зеркал заднего вида, указанным в таблице.
16.2.1.2 Однако в случаетранспортных средств категорий М1 иN1:
16.2.1.2.1если внутреннее зеркало заднего вида не отвечает предписаниям 16.5.2,то на транспортном средстве должно быть установлено дополнительное внешнеезеркало заднего вида. Это зеркало устанавливают с правой стороны транспортногосредства в странах с правосторонним движением и с левой стороны - в странах слевосторонним движением;
| Категория транспортного средства | Внутренние зеркала заднего вида класса I | Количество зеркал заднего вида | |||
| Основные зеркала классов | Широкоугольные зеркала класса IV | Зеркала бокового обзора класса V | |||
| II | III | ||||
| M1 | 1 (см. также 16.2.1.2) | - (см. также 16.2.1.2.3) | 1 Устанавливается на стороне, противоположной стороне направления движения (см. также 16.2.2.1) | - | - |
| М2 | - | 2 (по одному с левой и правой сторон) | - | (см. также 16.2.2.4) | (см. также 16.2.2.2 и 16.3.7) |
| М3 | - | 2 (по одному с левой и правой сторон) | - | (см. также 16.2.2.4) | (см. также 16.2.2.2 и 16.3.7) |
| N1 | 1 (см. также 16.2.1.2) | (см. также 16.2.1.2.3) | 1 Устанавливается на стороне, противоположной стороне направления движения (см. также 16.2.2.1) | - | - |
| N2 ≤ 7,5 т | - (см. также 16.2.2.3) | 2 (по одному с левой и правой сторон) | - (см. также 16.2.1.3) | (см. также 16.2.2.4 и 16.2.1.4) | - (см. также 16.2.2.2 и 16.3.7) |
| N2 ≥ 7,5 т | - (см. также 16.2.2.3) | 2 (по одному с левой и правой сторон) | - (см. также 16.2.1.3) | 1 - | 1 (см. также 16.3.7) |
| N3 | - (см. также 16.2.2.3) | 2 (по одному с левой и правой сторон) | - (см. также 16.2.1.3) | 1 - | 1 (см. также 16.3.7) |
(Поправка серии 01).
16.2.1.2.2 если внутреннее зеркало заднего вида на обеспечиваетникакого заднего обзора, то его установка не предписывается;
16.2.1.2.3 допускается установка зеркал заднего вида класса II.
16.2.1.3 Однако если на транспортныхсредствах категорий N2или N3 всилу технических особенностей конструкции невозможно обеспечить поле обзора,предписываемое в 16.5.3.2.2 и 16.5.4, при установке зеркал заднеговида класса IV на общемкронштейне с зеркалами класса II,то вместо них допускается установка зеркал класса III.
16.2.1.4 Зеркало заднего вида класса IV подлежит установке на транспортныесредства категории N2,максимальный вес которых не превышает 7,5 т, если обязательное для установкизеркало класса II, находящеесяна той же стороне, не является выпуклым.
(Поправка серии 01).
16.2.1.5 Автотранспортныесредства, имеющие менее четырех колес, с кузовом, полностью или частичнозакрывающим водителя, должны быть оборудованы:
- либо одним внутреннимзеркалом заднего вида класса Iи одним внешним зеркалом класса IIили III, которыеустанавливают с правой стороны транспортного средства в странах справосторонним движением и с левой стороны транспортного средства - в странах слевосторонним движением;
- либо двумя внешнимизеркалами заднего вида класса IIили III, по одному скаждой стороны транспортного средства.
Предписания 6.5 к этимтранспортным средствам 1) неприменяют.
1) Поле обзора, которое должнобыть предписано для этих транспортных средств, еще не определено.
16.2.2 Максимальноеколичество факультативных зеркал заднего вида
16.2.2.1 В случаетранспортных средств категорий М1 иN1 допускается установка внешнего зеркала заднеговида на стороне, противоположной той, на которой устанавливают обязательноевнешнее зеркало, предусмотренное в 16.2.1.1.
16.2.2.2 На транспортныхсредствах категорий М2, М3 и N2, максимальный вес которыхне превышает 7,5 т, допускается установка внешнего зеркала заднего вида класса V.
(Поправка серии 01).
16.2.2.3 В случаетранспортных средств категорий N2и N3допускается установка внутреннего зеркала заднего вида.
16.2.2.4 Установкавнешнего зеркала заднего вида класса IV допускается на транспортных средствах:
- категории N2, максимальныйвес которых не превышает 7,5;
- категорий М2,М3.
(Поправка серии 01).
16.2.2.5 Зеркала заднеговида, предусмотренные в 16.2.2.1 - 16.2.2.4, должны отвечать предписаниямнастоящих Правил. Однако предписания 16.5 не распространяются на зеркала заднего вида,предусмотренные в 16.2.2.3.
16.2.2.6 Предписаниянастоящих Правил не распространяются на внешние зеркала для наблюдения,определяемые в 2.4.Однако высота установки внешних зеркал для наблюдения должна составлять вобязательном порядке на транспортном средстве, загруженном до его максимальнойдопустимой массы, не менее
(Поправка серии 01).
16.3 Места установки
16.3.1 Зеркала заднеговида должны устанавливаться таким образом, чтобы позволять водителю, сидящемуна своем месте в обычном положении вождения, наблюдать за дорогой позади транспортногосредства и сбоку (с боков) от него.
16.3.2 Внешние зеркалазаднего вида должны просматриваться через ту часть ветрового стекла, котораяочищается стеклоочистителями, или через боковые стекла. Однако, ввидуконструктивных особенностей, это положение не распространяется на внешниезеркала заднего вида, устанавливаемые с правой стороны транспортных средствкатегорий М2 и М3 в странах с правосторонним движением ис левой стороны транспортных средств тех же категорий - в странах слевосторонним движением.
16.3.3 Длявсех транспортных средств, на которых во время проведения испытаний по замеруполя обзора не был установлен кузов, минимальная и максимальная ширина кузовадолжна указываться предприятием-изготовителем и в случае необходимостиобозначаться временными габаритными планками. Все принимаемые во внимание входе испытаний крайние точки транспортных средств и зеркал должны быть указаныв карточке официального утверждения (см. приложение 2).
16.3.4 Внешнее зеркалозаднего вида на стороне водителя должно устанавливаться таким образом, чтобыугол между вертикальной продольной плоскостью, проходящей через серединутранспортного средства, и вертикальной плоскостью, проходящей через центрзеркала заднего вида и середину сегмента длиной
16.3.5 Зеркало(ла)заднего вида должно выходить за внешние габариты транспортного средства ровнонастолько, чтобы обеспечить поле обзора, указанное в 16.5.
16.3.6 Если верхний крайзеркала заднего вида нагруженного транспортного средства находится на высотеменее
16.3.7 Зеркалазаднего вида класса Vдолжны устанавливаться на транспортных средствах таким образом, чтобы ни однаиз их частей или частей их опоры в любых возможных положениях регулировки нерасполагалась на транспортном средстве, загруженном до его максимальнойдопустимой массы, на высоте менее
Однако установка данногозеркала на транспортных средствах, кабины которых располагаются на такойвысоте, что данное предписание не может быть выполнено, запрещается.
16.3.8 При соблюденииусловий, указанных в 16.3.5 и 16.3.6, зеркала заднего вида могут выходить заразрешенные габариты транспортных средств.
16.4. Регулировка
16.4.1 Внутреннее зеркалозаднего вида должно регулироваться водителем, находящимся на своем месте.
16.4.2 Внешнее зеркалозаднего вида, находящееся со стороны водителя, должно регулироваться изнутритранспортного средства при закрытой двери, причем окно может быть открыто.Однако фиксация положения зеркала может осуществляться снаружи.
16.4.3 Требования 16.4.2не распространяются на внешние зеркала заднего вида, которые, будучи сбитыми врезультате толчка, могут быть возращены в первоначальное положение безрегулировки.
16.5.1 Определенное нижеполе обзора должно обеспечиваться при амбинокулярном обзоре, когда глазасовмещены с «окулярными точками водителя», определенными в 13.2. Оноопределяется при движении транспортного средства, приведенного в 6.1.1приложения 3 к документу TRANS/SC.1/WP. 29/78, в котором находится пассажирвесом
16.5.2 Внутренниезеркала заднего вида (класс I)
16.5.2.1 Поле обзорадолжно быть таким, чтобы водитель мог видеть по крайней мере часть ровной игоризонтальной дороги, центром которой является вертикальная продольнаяплоскость, проходящая через середину транспортного средства, от горизонта дорасстояния
16.5.2.2 Допускаетсяуменьшение поля обзора, вызванное наличием подголовников и таких устройств, каксолнцезащитные экраны, задние стеклоочистители, обогревающие элементы,стоп-сигнал категории S3l) если все они в совокупности незакрывают более 15% требуемого поля обзора при проекции их на обычнуювертикальную плоскость, перпендикулярную продольной плоскости, проходящей черезсередину транспортного средства. Уменьшение поля обзора определяют приустановке подголовников в наиболее низкое положение, предусматриваемое ихсистемой регулировки, и при сложенных солнцезащитных щитках.
(Поправка серии 01).
1) См. Правила № 48, поправкисерии 01, пункт 6.7.
16.5.3 Основныевнешние зеркала заднего вида (классы II и III)
16.5.3.1 Левое внешнеезеркало заднего вида для транспортных средств, движущихся по правой стороне, иправое внешнее зеркало заднего вида для транспортных средств, движущихся полевой стороне
Поле обзора должно бытьтаким, чтобы водитель мог видеть по крайней мере часть ровной и горизонтальнойдороги шириной
16.5.3.2 Правое внешнеезеркало заднего вида для транспортных средств, движущихся по правой стороне, илевое внешнее зеркало заднего вида для транспортных средств, движущихся полевой стороне
16.5.3.2.1 В случаетранспортных средств категорий М1и N1 максимальная масса которых составляет 2 т,поле обзора должно быть таким, чтобы водитель мог видеть по крайней мере частьровной горизонтальной дороги шириной
16.5.3.2.2 В случаетранспортных средств, иных, чем предусмотрены в 16.5.3.2.1, поле обзора должнобыть таким, чтобы водитель могут видеть по крайней мере часть ровнойгоризонтальной дороги шириной
Кроме того, водительдолжен иметь возможность видеть дорогу по ширине
16.5.4«Широкоугольное» наружное зеркало заднего вида (класс IV)
Поле обзора должно бытьтаким, чтобы водитель мог видеть по крайней мере часть ровной горизонтальнойдороги шириной
Кроме того, водительдолжен иметь возможность видеть дорогу по ширине
16.5.5 Внешнее зеркало «боковогообзора» (класс V)
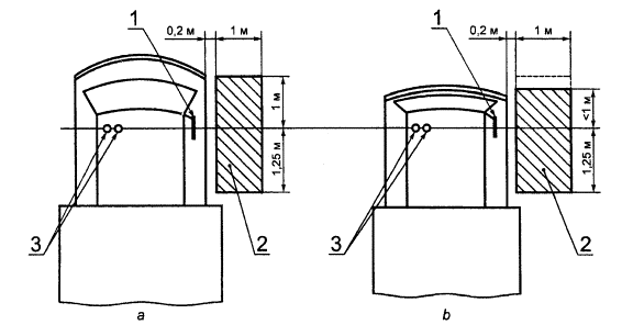
Поле обзора должно бытьтаким, чтобы водитель мог видеть сбоку от транспортного средства часть ровнойгоризонтальной дороги, ограниченную следующими вертикальными плоскостями (см. рисунки 5а и 5b приложения 6):
16.5.5.1 плоскостью,параллельной вертикальной продольной средней плоскости транспортного средства ипроходящей через точку, находящуюся на расстоянии
16.5.5.2 в поперечномнаправлении - параллельной плоскостью, проходящей на расстоянии
16.5.5.3 сзади -плоскостью, параллельной вертикальной плоскости, проходящей через окулярныеточки водителя и расположенной на расстоянии
16.5.5.4 спереди - плоскостью,параллельной вертикальной плоскости, проходящей через окулярные точки водителяи расположенной на расстоянии
16.5.6 Если зеркалазаднего вида состоят из нескольких отражающих поверхностей, имеющих разнуюстепень изгиба или образующих между собой угол, то необходимо, чтобы по крайнеймере одна отражающая поверхность обеспечивала такое поле обзора и имела такиеразмеры (см. 7.1.2),которые предписываются для того класса, к которому относятся данные зеркала.
16.5.7 Помехи
Не должны приниматься вовнимание попадающие в предписанное выше поле обзора, помехи, создаваемыекузовом и некоторыми его элементами, такими как ручки дверей, габаритные огни,указатели поворотов, оконечности заднего бампера и т. д., а также помехи,создаваемые элементами системы очистки светоотражающих поверхностей, если всовокупности эти помехи не превышают 10 предписываемого поля обзора.
16.5.7.1 При определениипомех подголовники должны устанавливаться в крайнее нижнее положение, насколькопозволяет система их регулировки, а солнцезащитные щитки должны быть повернутыназад.
16.5.8 Процедураиспытания
Поле обзора должноопределяться путем помещения в окулярных точках мощных источников света иизлучения света, отраженного на контрольном экране. Могут использоваться такжедругие аналогичные методы.
17.1 Любое изменение типатранспортного средства должно доводиться до сведения административной службы,которая провела официальное утверждение данного типа транспортного средства.Эта служба имеет право:
17.1.1 либо признать, чтовнесенные изменения не окажут значительного неблагоприятного воздействия и вовсех случаях это транспортное средство по-прежнему удовлетворяет предписаниям;
17.1.2 либо потребоватьот технической службы, на которую возложено проведение испытания, новыйпротокол.
17.2 Стороны Соглашения,применяющие настоящие Правила, уведомляются о подтверждении официальногоутверждения с указанием внесенных изменений или об отказе в выдаче официальногоутверждения в соответствии с процедурой, указанной в 15.3.
17.3 Стороны Соглашения
17.4 При распространении официальногоутверждения компетентный орган проставляет на каждом уведомлении о такомраспространении официального утверждения порядковый номер.
18.1 Любое транспортноесредство, официально утвержденное согласно настоящим Правилам, должно бытьизготовлено таким образом, чтобы оно соответствовало официально утвержденномутипу, удовлетворяя требованиям, изложенным в разделе 16.
18.2 Для проверкивыполнения требований 18.1 необходимо проводить соответствующий контроль запроизводством.
18.3 Владелецофициального утверждения должен, в частности:
18.3.1 обеспечитьпринятие мер для эффективного контроля за качеством транспортных средств повсем аспектам, регламентируемым предписаниями раздела 16;
18.3.2 обеспечить, чтобыкаждый тип транспортного средства подвергался контролю в отношении количества итипа зеркал заднего вида и предписываемых для их точной установки расстояний, атакже контролировать, чтобы все производимые транспортные средстваудовлетворяли тем спецификациям, которые распространяются на транспортныесредства, представляемые для официального утверждения;
18.3.3 обеспечитьпринятие всех необходимых мер для восстановления соответствия производства,если контроль, осуществленный согласно 18.3.2, свидетельствует о несоответствииодного или нескольких транспортных средств предписаниям раздела 16.
18.4. Компетентный орган,выдавший официальное утверждение, может в любое время проверить соответствиеприменяемых методов контроля в отношении каждой произведенной единицытранспортного средства. Он может также подвергнуть любому контролю серийновыпускаемые транспортные средства, основываясь на предписаниях раздела 16.
18.5 Если в ходеконтроля, проводимого согласно 18.4, получены отрицательные результаты,компетентный орган должен обеспечить принятие всех необходимых мер длявосстановления соответствия производства в возможно кратчайшие сроки.
19.1 Официальноеутверждение, выданное для какого-либо транспортного средства на основаниинастоящих Правил, может быть отменено ввиду несоблюдения условия, указанного в18.1, или если данное транспортное средство на выдержало проверочных испытаний,предусмотренных в 18.2.
19.2 В случае, если однаиз Сторон Соглашения, применяющая настоящие Правила, отменяет официальноеутверждение, которое она ранее выдала, она должна как можно скорееинформировать об этом другие Договаривающиеся стороны, применяющие настоящиеПравила, посредством копии регистрационной карточки официального утверждения, вконце которой крупным шрифтом делают отметку «ОФИЦИАЛЬНОЕ УТВЕРЖДЕНИЕ ОТМЕНЕНО»и проставляют подпись и дату.
Еслипредприятие-изготовитель, получившее официальное утверждение, окончательнопрекращает производство типа транспортного средства, официально утвержденного всоответствии с настоящими Правилами, оно уведомляет об этом орган,предоставивший ему официальное утверждение. После такого уведомления данныйорган информирует об этом другие Стороны Соглашения, применяющие настоящиеПравила, посредством копии регистрационной карточки официального утверждения,на которой внизу крупным шрифтом делают отметку «ПРОИЗВОДСТВО ПРЕКРАЩЕНО» ипроставляют подпись и дату.
21.1 Начиная софициальной даты вступления в силу поправок серии 01 к настоящим Правилам ниодна Договаривающаяся сторона, применяющая настоящие Правила, не может отказатьв просьбе об официальном утверждении на основании настоящих Правил с внесеннымив них поправками серии 01.
21.2 Начиная с 1 октября
21.3 Начиная с 1 октября
21.4 Начиная с 1 октября
21.5 Официальныеутверждения зеркал заднего вида классов I - III, предоставленные на основании настоящих Правил в ихпервоначальном варианте (серия 00) до вступления в силу поправок данной серии,остаются в силе.
21.6 Предписаниянастоящих Правил не запрещают предоставлять официальное утверждение типатранспортного средства в отношении установки зеркал заднего вида на основаниинастоящих Правил с внесенными в них поправками серии 01, если все или частьзеркал заднего вида классов I,II или III, которые на немустановлены, имеют знак официального утверждения, определенный в первоначальномварианте (серия 00) настоящих Правил.
СтороныСоглашения, применяющие настоящие Правила, должны сообщать СекретариатуОрганизации Объединенных Наций названия и адреса технических служб,уполномоченных проводить испытания для официального утверждения, иадминистративных органов, которые выдают официальные утверждения и которымдолжны направляться карточки официального утверждения, отказа в официальномутверждении, распространения или отмены официального утверждения, выданного вдругих странах.

направленное___________________________
название административного органа
касающееся 2) ОФИЦИАЛЬНОГОУТВЕРЖДЕНИЯ,
ОТКАЗАВ ОФИЦИАЛЬНОМ УТВЕРЖДЕНИИ,
РАСПРОСТРАНЕНИЯОФИЦИАЛЬНОГО УТВЕРЖДЕНИЯ,
ОТМЕНЫОФИЦИАЛЬНОГО УТВЕРЖДЕНИЯ,
ОКОНЧАТЕЛЬНОГОПРЕКРАЩЕНИЯ ПРОИЗВОДСТВА
типа зеркал заднего видана основании Правил № 46
| Официальное утверждение №_____________________ | Распространение официального |
утверждения№_________________
1. Зеркало заднего видакласса I, II, III, IV, V 2)
2. Краткое описание,содержащее, в частности, следующие указания:
2.1. способ проверкиотражающей поверхности_____________________________________
2.2. основные размерыотражающей поверхности___________________________________
2.3. радиус номинальногоизгиба отражающей поверхности__________________________
3. Фабричная или торговаямарка_________________________________________________
4.Предприятие-изготовитель и его адрес__________________________________________
5. В соответствующихслучаях фамилия и адрес представителя предприятия-изготовителя
________________________________________________________________________________
________________________________________________________________________________
6. Знак
,предусмотренный в 8.1.1 настоящих Правил:
да/нет 2).
7. Дата представления наофициальное утверждение_________________________________
8. Техническая служба,уполномоченная проводить испытания для официальногоутверждения_____________________________________________________________________
9. Дата протокола,выданного данной службой______________________________________
10. Номер протокола,выданного данной службой___________________________________
11. Официальноеутверждение предоставлено/в официальном утверждении отказано/официальноеутверждение распространено/официальное утверждение отменено 2)
12. Основание(я) дляраспространения официального утверждения (при наличии)________
________________________________________________________________________________
________________________________________________________________________________
13.Место_____________________________________________________________________
14.Дата______________________________________________________________________
15.Подпись___________________________________________________________________
16. К сообщениюприлагается перечень документов, представленных для официального утверждения ипереданных на хранение административному органу, выдавшему данное официальноеутверждение
1) Отличительный номер страны,которая предоставила /распространила/отказала/отменила официальное утверждение.
2) Ненужное вычеркнуть.

Направленное_________________________,
название административного органа
касающееся 2) ОФИЦИАЛЬНОГОУТВЕРЖДЕНИЯ,
ОТКАЗАВ ОФИЦИАЛЬНОМ УТВЕРЖДЕНИИ,
РАСПРОСТРАНЕНИЯОФИЦИАЛЬНОГО УТВЕРЖДЕНИЯ,
ОТМЕНЫОФИЦИАЛЬНОГО УТВЕРЖДЕНИЯ,
ОКОНЧАТЕЛЬНОГОПРЕКРАЩЕНИЯ ПРОИЗВОДСТВА
типа транспортногосредства в отношении установки зеркал заднего вида на основании Правил № 46
| Официальное утверждение №______________________ | Распространение официального |
утверждения№________________
1. Фабричная или торговаямарка_________________________________________________
2. Тип транспортного средства___________________________________________________
3. Категориятранспортного средства (М1, М2,М3, N1 ≤ 2 т, N1,N2N3) 2)
3.1. В случаетранспортных средств категории 3: транспортное средство-тягач дляприцепов/полуприцепов 2)
4. Предприятие-изготовительи его адрес _____________.____________________________
5. В соответствующихслучаях фамилия и адрес представителя предприятия-изготовителя
________________________________________________________________________________
________________________________________________________________________________
6. Фабричная или торговаямарка зеркал заднего вида и номер официального утверждения
________________________________________________________________________________
________________________________________________________________________________
7. Класс(ы) зеркалзаднего вида (1, II, III, IV, V) 2)
8. Отступление от Правил(допускается до 1 октября
9. Официальноеутверждение транспортного средства распространяется на следующий тип(ы) зеркалзаднего вида_________________________________________________________
10. Координаты точки R сиденьяводителя_________________________________________
11. Максимальная иминимальная ширина кузова, на основании которой официально утверждено данноезеркало заднего вида (в случае, если речь идет о транспортных средствах безкузова, упомянутых в 16.3.3 настоящихПравил)___________________________________
________________________________________________________________________________
________________________________________________________________________________
12. Дата представлениятранспортного средства на официальное утверждение___________
________________________________________________________________________________
________________________________________________________________________________
13. Техническая служба,уполномоченная проводить испытания для официального утверждения____________________________________________________________________
14. Дата протокола,выданного данной службой ____________________________________
15. Номер протокола,выданного данной службой___________________________________
16. Официальноеутверждение предоставлено/в официальном утверждении отказано/официальное утверждениераспространено/официальное утверждение отменено 2)
17. Основание(я) дляраспространения официального утверждения (при наличии)________
________________________________________________________________________________
________________________________________________________________________________
18. Место_____________________________________________________________________
19. Дата______________________________________________________________________
20. Подпись___________________________________________________________________
21. К сообщениюприлагается перечень документов, представленных для официального утверждения ипереданных на хранение административному органу, выдавшему данное официальноеутверждение.
1) Отличительный номер страны,которая предоставила /распространила/отказала/отменила официальное утверждение.
2) Ненужное вычеркнуть.
(см. 5.4 настоящих Правил)

Приведенныйзнак официального утверждения, проставленный на зеркале заднего вида,указывает, что это зеркало класса II официально утверждено в Нидерландах (Е4) в соответствии сположениями Правил № 46 под номером 012439. Две первые цифры номера указывают,что на момент предоставления официального утверждения Правила № 46 уже включалипоправки серии 01.
Примечание - Номер официальногоутверждения и дополнительный знак должны помещаться рядом с кругом и проставлятьсялибо над/под буквой Е, либо слева/справа от этой буквы. Цифры номераофициального утверждения должны быть расположены с той же стороны по отношениюк букве Е и ориентированы в том же направлении. Дополнительный символ долженбыть расположен с противоположной стороны от номера. Следует избегатьиспользования для номеров римских цифр, чтобы исключить совпадения с другимизнаками.
Образец А
(см. 15.4 настоящих Правил)

Приведенныйзнак официального утверждения, проставленный на транспортном средстве,указывает, что этот тип транспортного средства официально утвержден в Нидерландах(Е4) на основании Правил № 46 под номером 012439. Две первые цифры номерауказывают, что на момент предоставления официального утверждения Правила № 46уже включали поправки серии 01.
Образец В
(см. 15.5 настоящих Правил)

Приведенныйзнак официального утверждения, проставленный на транспортном средстве,указывает, что данный тип транспортного средства был официально утвержден вНидерландах (Е4) на основании Правил № 46 и № 33 1). Номераофициального утверждения указывают, что на момент выдачи соответствующихофициальных утверждений Правила № 46 уже включали поправки серии 01, а Правила№ 33 применялись в их первоначальном варианте.
1)Правила № 33 приведены в качестве примера
1 Определения
В настоящем стандарте применяют следующие термины:
1.1 стандартноеосветительное средство МКС А 1):
| λ |
| (λ) |
| 600 | 1,062 | 2 |
| 620 | 0,854 | 4 |
| 650 | 0,283 | 5 |
1.2 стандартныйисточник МКС А 1): Лампас вольфрамовой нитью в газовой атмосфере, работающая при цветовой температуре,близкой к Т68 = 2 855,6 К.
1.3 стандартныйколориметрический наблюдатель МКС (
(λ),
λ(),
(λ) (см. таблицу).
1.4 спектральные координаты цвета МКС 1): Координатыцвета в системе МКС (XYZ),монохроматические элементы равноэнергетического спектра.
1.5 дневное зрение 1): Зрение обычногоглаза, адаптировавшегося к уровням освещения по крайней мере в несколько канделна квадратный метр.
1) Определения взяты из Публикации МКС 50 (45)«Международный электротехнический словарь», группа 45 «Освещение».
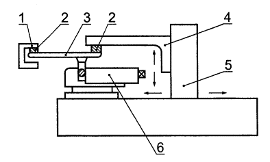
2 Оборудование
2.1 Общие положения
2.1.1 Оборудование должновключать источник света, подставку для образца, приемник с фотоэлементом ииндикатор (см. рисунок 1), а также средства,необходимые для устранения влияния постороннего света.
2.1.2 Для того чтобыоблегчить изменение коэффициента отражения неплоских (выпуклых) зеркал заднеговида, приемное устройство должно включать шар Ульбрихта (см. рисунок 2).
2.2 Спектральныехарактеристики источников света и приемного устройства
2.2.1 Источник светадолжен представлять собой стандартный источник МКС А, соединенный с оптическойсистемой, позволяющей получить пучок практически параллельных световых лучей.Для того чтобы поддерживать постоянное напряжение лампы в течение всего временифункционирования оборудования, рекомендуется предусмотреть стабилизаторнапряжения.
2.2.2 Приемное устройстводолжно состоять из фотоэлемента, спектральная характеристика которогопропорциональна функции дневной освещенности для стандартногоколориметрического наблюдателя МКС (
2.3 Геометрическиеусловия
2.3.1 Пучок падающихлучей должен образовывать с перпендикуляром к испытательной поверхности угол θ, равный преимущественно (0,44 ±0,9) рад [(25 ± 5)°]; однако этот угол не должен превышать верхнего пределадопуска (т.е. 0,53 рад, или 30°). Ось приемного устройства должна образовыватьугол θ, равный углу, образуемомупучком падающих лучей с этим перпендикуляром (см. рисунок 1). Диаметр падающегопучка лучей на испытательной поверхности должен составлять не менее
Отраженный пучок недолжен быть более широким, чем чувствительная поверхность фотоэлемента, недолжен покрывать менее 50 % этой поверхности и по возможности должен покрыватьту же часть поверхности, что и пучок, используемый для градуирования данногоприбора.
2.3.2 Если приемноеустройство включает шар Ульбрихта, его минимальный диаметр должен составлять
2.4 Электрическиехарактеристики комплекса фотоэлемент-индикатор
Мощность фотоэлемента,получаемая на индикаторе, должна представлять собой линейную функцию силы светасветочувствительной поверхности.
Для упрощения установкина ноль и регулировки градуирования должны быть предусмотрены соответствующиесредства (электрические, оптические или электрические и оптическиеодновременно). Эти средства не должны оказывать влияния на линейность илиспектральные характеристики приборов. Точность комплекса приемное устройство -индикатор должна находиться в пределах ± 2% полной шкалы или + 10% измеряемойвеличины в зависимости от того, какая величина является меньшей.
2.5 Штатив для образца
Механизм должен позволятьустанавливать образец таким образом, чтобы ось кронштейна источника и оськронштейна приемного устройства пересекались на уровне отражающей поверхности.Эта отражающая поверхность может находиться в пределах любой из плоскостейобразца зеркала или на одной их этих плоскостей в зависимости от того, идет лиречь о зеркале первой поверхности, второй поверхности или о призматическомзеркале типа «флип».
3 Процедура
3.1 Метод прямогоградуирования
3.1.1При прямом градуировании исходным используемым эталоном является воздух. Этотметод применяют для приборов, изготовленных таким образом, чтобы можно былопроизводить градуирование всей шкалы, ориентируя приемное устройствонепосредственно на ось источника света (см. рисунок 1).

1 - установка на ноль; 2 - штатив для закрепления образца; 3 - источник света иколлиматор; 4 - приемноеустройство с фотоэлементом в положении для измерения и «косвенного»градуирования; 5 - штанга приемного устройства в положении для прямогоградуирования; 6 - регулировкаградуирования; 7 - регулируемый индикатор
Рисунок 1 - Общая схема прибора дляизмерения отражающей способности двумя методами градуирования
3.1.2 Метод позволяет внекоторых случаях (например, для измерения поверхности со слабой отражающейспособностью) устанавливать точку промежуточного градуирования (между 0 или100% шкалы). В этом случае в оптическую траекторию необходимо поместить фильтрнейтральной плотности с известным коэффициентом пропускания и регулироватьсистему градуирования до тех пор, пока индикатор не покажет процент передачисоответствующей фильтру нейтральной плотности. Перед началом проведения замеровотражающей способности этот фильтр необходимо снять.
3.2 Метод косвенногоградуирования
Метод применяют кприборам, у которых источник света и принимающее устройство имеют установленнуюгеометрическую форму. Для использования метода необходим соответствующимобразом градуированный и технически исправный эталон отражения. Эталон долженпо возможности представлять собой плоское зеркало, коэффициент отражениякоторого как можно более близок к коэффициенту отражения испытуемых образцов.
3.3 Измерения наплоском зеркале заднего вида
Коэффициент отраженияобразцов плоского зеркала заднего вида может быть измерен при помощи приборов,действующих по принципу прямого или косвенного градуирования. Значениекоэффициента отражения считывается непосредственно со шкалы индикатора прибора.
3.4 Измерения нанеплоском (выпуклом) зеркале заднего вида
Измерения коэффициентаотражения неплоских (выпуклых) зеркал заднего вида требуют использованияприбора, в приемном устройстве которого имеется шар Ульбрихта (см. рисунок 2).Если прибор считывания с шара с эталонным зеркалом, имеющим коэффициентотражения Е, %, дает nе делений, тос неизвестным зеркалом число делений nх будетсоответствовать коэффициенту отражения X, %, получаемому по формуле
![]()

1 - источник света иколлиматор; 2 - регулируемыйиндикатор; 3 - регулировкаградуирования; 4 - установка наноль; 5 - фотоэлемент; 6 - штативдля закрепления образца
Рисунок 2 - Общая схема оборудованиядля измерения отражающей способности с использованием в приемном устройствешара Ульбрихта
Значения спектральныхкоординат света стандартного колориметрического наблюдателя МКС (
(Таблицапредставляет собой выдержку из Публикации МКС 50645 (
| λ, нм |
|
|
|
| 380 | 0,001 4 | 0,000 0 | 0,006 5 |
| 390 | 0,004 2 | 0,000 1 | 0,020 1 |
| 400 | 0,014 3 | 0,000 4 | 0,067 9 |
| 410 | 0,043 5 | 0,001 2 | 0,207 4 |
| 420 | 0,134 4 | 0,004 0 | 0,645 6 |
| 430 | 0,283 9 | 0,011 6 | 1,385 6 |
| 440 | 0,348 3 | 0,023 0 | 1,747 1 |
| 450 | 0,336 2 | 0,038 0 | 1,772 1 |
| 460 | 0,290 8 | 0,060 0 | 1,669 2 |
| 470 | 0,195 4 | 0,091 0 | 1,287 6 |
| 480 | 0,095 6 | 0,139 0 | 0,813 0 |
| 490 | 0,032 0 | 0,208 0 | 0,465 2 |
| 500 | 0,004 9 | 0,323 0 | 0,272 0 |
| 510 | 0,009 3 | 0,503 0 | 0,158 2 |
| 520 | 0,063 3 | 0,710 0 | 0,078 2 |
| 530 | 0,165 5 | 0,862 0 | 0,042 2 |
| 540 | 0,290 4 | 0,954 0 | 0,020 3 |
| 550 | 0,433 4 | 0,995 0 | 0,008 7 |
| 560 | 0,594 5 | 0,995 0 | 0,003 9 |
| 570 | 0,762 1 | 0,952 0 | 0,002 1 |
| 580 | 0,916 3 | 0,870 0 | 0,001 7 |
| 590 | 1,026 3 | 0,757 0 | 0,001 1 |
| 600 | 1,062 2 | 0,631 0 | 0,000 8 |
| 610 | 1,002 6 | 0,503 0 | 0,000 3 |
| 620 | 0,854 4 | 0,381 0 | 0,000 2 |
| 630 | 0,642 4 | 0,265 0 | 0,000 0 |
| 640 | 0,447 9 | 0,175 0 | 0,000 0 |
| 650 | 0,283 5 | 0,107 0 | 0,000 0 |
| 660 | 0,164 9 | 0,061 0 | 0,000 0 |
| 670 | 0,087 4 | 0,032 0 | 0,000 0 |
| 680 | 0,046 8 | 0,017 0 | 0,000 0 |
| 690 | 0,022 7 | 0,008 2 | 0,000 0 |
| 700 | 0,011 4 | 0,004 1 | 0,000 0 |
| 710 | 0,005 8 | 0,002 1 | 0,000 0 |
| 720 | 0,002 9 | 0,001 0 | 0,000 0 |
| 730 | 0,001 4 | 0,000 5 | 0,000 0 |
| 740 | 0,000 7 | 0,000 2 2) | 0,000 0 |
| 750 | 0,000 3 | 0,000 1 | 0,000 0 |
| 760 | 0 000 2 | 0,000 1 | 0 000 0 |
| 770 | 0,000 1 | 0,000 0 | 0,000 0 |
| 780 | 0,000 0 | 0,000 0 | 0,000 0 |
1) Сокращенная таблица.Значения величин
(λ) = v(λ)округленыдо четырех знаков после запятой.
2) Изменено в
Пояснительный чертеж

С - приемное устройство; D -диафрагма; Е- окно входа; F- окно измерения; L -линза; М- окно для предмета; S - источник света; (S)- светомерныйшар
I Внутреннеезеркало заднего вида (класс I)
(см. 16.5.2 настоящих Правил)

II Внешние зеркала заднего вида
(примеры транспортных средствдля правостороннего движения)
1 «Основные» внешние зеркалазаднего вида (классы IIи III)
(см. 16.5.3настоящих Правил)

1 - правое внешнее зеркалозаднего вида; 2 - левое внешнее зеркало заднего вида; 3 - окулярные точки водителя
Рисунок 2 - Транспортные средства категорийМ1 и N1 весом 2 т или менее

1 - окулярные точки водителя; 2 - правое внешнее зеркало заднеговида; 3 - левое внешнее зеркалозаднего вида
Рисунок 3 - Транспортные средства,помимо предусмотренных на рисунке 4
2 «Широкоугольные» зеркала заднеговида (класс IV)
(см. 16.5.4 настоящих Правил)

1- зеркалозаднего вида; 2 - окулярныеточки водителя
3 Внешнее зеркало боковогообзора (класс V)
(см. 16.5.5 настоящих Правил)

1 - зеркало бокового обзора; 2 - поле обзора на уровне дороги; 3 - окулярные точки
1 Измерения
1.1 Оборудование
Используют прибор,называемый «сферометром», показанный на рисунке 1.
1.2 Точки измерения
1.2.1 Измерение основныхрадиусов кривизны производят в трех точках, расположенных как можно ближе к1/3, 1/2 и 2/3 дуги отражающей поверхности, проходящей через центр зеркала ипараллельной сегменту b,или перпендикулярной ей дуги, проходящей через центр зеркала, еслипоследняя дуга длиннее.
1.2.2 Однако если размерызеркала не позволяют сделать замеры в направлениях, указанных в 1.2.1,технические службы, на которые возложено проведение испытаний, могут провестизамеры в этой точке в двух перпендикулярных направлениях, расположенных какможно ближе к направлениям, определенным выше.
2 Расчетрадиуса кривизны (r)
Радиус r, мм, рассчитывают поформуле
![]()
где rp1 - радиус кривизны первой, rp2 - второй и rp3- третьейточки измерения, соответственно.

1 - компаратор; 2 - подвижная точка
Рисунок 1
1 Цель
Описываемый в настоящемприложении порядок предназначен для определения положения точки Н и фактического угла наклона туловищадля одного или нескольких мест для сидения в автомобиле и проверки соотношениямежду измеренными параметрами и конструктивными спецификациями, указаннымипредприятием-изготовителем 1).
1) По усмотрению компетентного органа для любогосиденья, кроме передних сидений, для которого точка Н не может быть определена с помощью «объемного механизмаопределения точки Н» илисоответствующих процедур, в качестве контрольной точки может приниматься точка R,указаннаяпредприятием-изготовителем.
2 Определения
В настоящем приложениииспользуют следующие термины:
2.1 контрольныепараметры: Одна или несколько из следующих характеристик места для сидения:
2.1.1 точки H, R и их соотношение;
2.1.2 фактический иконструктивный углы наклона туловища и их соотношение.
2.2 объемный механизмопределения точки Н: Устройство,применяемое для определения точки H и фактического угланаклона туловища. Описание этого устройства содержится в дополнении1 к настоящему приложению.
2.3 точка Н: Центр вращения туловища и бедраобъемного механизма определения точки H, установленного насиденье транспортного средства в соответствии с предписаниями раздела 4.Точка Н располагается в серединецентральной линии устройства, проходящей между визирными метками точки Н с обеих сторон механизма определенияточки Н. Теоретическая точка Н соответствует (допуски см. 3.2.2)точке R. Послеопределения точки Н в соответствии спорядком, описанным в разделе 4, считают,что эта точка является фиксированной по отношению к подушке сиденья иперемещается вместе с ней при регулировке сиденья.
2.4 точка R, или контрольная точка места для сидения: Условнаяточка, указываемая предприятием-изготовителем для каждого места для сидения иустанавливаемая относительно трехмерной системы координат.
2.5 линия туловища: Центральнаялиния штыря объемного механизма определения точки Н, когда штырь находится в крайнем заднем положении.
2.6 фактический уголнаклона туловища: Угол, измеряемый между вертикальной линией, проходящейчерез точку Н, и линией туловищапосредством заднего кругового сектора на объемном механизме определения точки Н. Теоретически фактический угол наклонатуловища соответствует конструктивному углу наклона туловища (допуски см. 3.2.2).
2.7 конструктивныйугол наклона туловища: Угол, измеряемый между вертикальной линией,проходящей через точку R,и линией туловища в положении, соответствующем конструктивному положениюспинки сиденья, указанному предприятием-изготовителем транспортного средства.
2.8 центральнаяплоскость водителя или пассажира (C/L0):
Средняя плоскостьобъемного механизма определения точки Н,точно расположенная на каждом указанном месте для сидения; она представленакоординатой точки Н относительно оси Y. На отдельных сиденьяхцентральная плоскость сиденья совпадает с центральной плоскостью водителя илипассажира. На других сиденьях центральная плоскость водителя или пассажираопределяется предприятием-изготовителем.
2.9 трехмерная системакоординат: Система, описанная в дополнении 2 к настоящемуприложению.
2.10 исходные точкиотсчета: Физические точки (отверстия, плоскости, метки и углубления) накузове транспортного средства, указанные предприятием-изготовителем.
2.11 положение для измерения на транспортном средстве: Положениетранспортного средства, определенное координатами исходных точек отсчета втрехмерной системе координат;
3 Предписания
3.1 Представлениеданных
Для каждого места длясиденья, контрольные параметры которого будут использованы для проверкисоответствия положениям настоящих Правил, представляют все или соответствующуювыборку следующих данных в том виде, как это указано в дополнении 3 кнастоящему приложению:
3.1.1 координаты точки R относительнотрехмерной системы координат;
3.1.2 конструктивный уголнаклона туловища;
3.1.3 все указания,необходимые для регулировки сиденья (если сиденье регулируемое), и установкиего в положение для измерения, указанное ниже в 4.3.
3.2 Соотношениеполученных данных и конструктивных спецификаций
3.2.1 Координаты точки Н и величина фактического угла наклонатуловища, установленные согласно порядку, указанному в разделе 4, сравнивают соответственно скоординатами точки R и величиной конструктивного угла наклона туловища,указанными предприятием-изготовителем.
3.2.2 Относительноеположение точек R, Ни соотношение между конструктивным углом наклона туловища и фактическим угломнаклона туловища считают удовлетворительными для рассматриваемого места длясидения, если точка Н, определеннаяее координатами, находится в пределах квадрата, горизонтальные и вертикальныестороны которого, равные
3.2.3 В случаеудовлетворения этих условий точку R и конструктивный угол наклонатуловища используют для проверки соответствия положениям настоящих Правил.
3.2.4 Если точка Н или фактический угол наклона туловищане соответствуют предписаниям 3.2.2, точку Ни фактический угол наклона туловища определяют еще два раза (всего три раза).Если результаты двух из этих трех измерений удовлетворяют требованиям,применяют положения 3.2.3.
3.2.5 Если результаты поменьшей мере двух из трех измерений, определенные в 3.2.4, не удовлетворяютпредписаниям 3.2.2 или проверка невозможна в связи с тем, чтопредприятие-изготовитель транспортного средства не представил информации,касающейся положения точки R или конструктивного угла наклона туловища, можетиспользоваться барицентр трех полученных точек или средние значения трехизмеренных углов, которые будут считаться приемлемыми во всех случаях, когда внастоящих Правилах упоминается точка R или конструктивный угол наклонатуловища.
4 Порядок определенияточки Н и фактического угла наклона туловища
4.1 Испытуемоетранспортное средство должно быть выдержано при температуре (20 + 10) °С повыбору предприятия-изготовителя, для того чтобы температура материала, изкоторого изготовлены сиденья, достигла комнатной. Если испытуемое сиденьеникогда не использовалось, на него необходимо поместить дважды в течение 1 минчеловека или устройство весом от 70 до
4.2 Транспортное средстводолжно занять положение для измерения, определенное в 2.11.
4.3 Если сиденье являетсярегулируемым, его сначала устанавливают в крайнее заднее нормальное приуправлении или использовании положение, предусмотренноепредприятием-изготовителем транспортного средства, за счет одной лишьпродольной регулировки сиденья, и без перемещения сиденья, предусмотренного дляцелей, иных, чем нормальное управление или использование. В случае наличиядругих способов регулировки сиденья (вертикальной, угла наклона спинки и т.д.), оно затем должно приводиться в положение, определенноепредприятием-изготовителем транспортного средства. Для откидных сидений жесткаяфиксация сиденья в вертикальном положении должна соответствовать нормальномуположению при управлении транспортным средством, указанномупредприятием-изготовителем.
4.4 Поверхность места длясиденья, с которой соприкасается объемный механизм определения точки Н, покрывают хлопчатобумажной тканьюдостаточного размера и соответствующей текстуры, определяемой как гладкаяхлопчатобумажная ткань, имеющая 18,9 ниток на 1 см2 и весящая 0,228кг/м2, или как вязаная или нетканая материя, имеющая аналогичныехарактеристики.
Если испытание проводятна сиденье вне транспортного средства, то пол, на который устанавливаютсиденье, должен иметь те же основные характеристики 1) что и полтранспортного средства, в котором будет установлено такое сиденье.
1) Угол наклона, разница ввысоте крепления сиденья, текстура поверхности и т.д.
4.5 Помещают основание испинку объемного механизма определения точки Н таким образом, чтобы центральная плоскость водителя или пассажира(C/L0) совпадала с центральнойплоскостью механизма. По просьбе предприятия-изготовителя механизм может бытьпередвинут внутрь относительно C/L0, если оннаходится снаружи и кромка сиденья не позволяет произвести его выравнивание.
4.6 Прикрепляют ступни иголени к основанию корпуса либо отдельно, либо посредством шарнирногоТ-образного соединения. Линия, проходящая через визирные метки определенияточки Н, должна быть параллельнойгрунту и перпендикулярной продольной центральной плоскости сиденья.
4.7 Располагают ступни иноги объемного механизма определения точки Нследующим образом:
4.7.1 Сиденья водителя ипассажира - рядом с водителем.
4.7.1.1 Ступни и ногиперемещают вперед таким образом, чтобы ступни заняли естественное положение вслучае необходимости между рабочими педалями. Левую ступню по возможностиустанавливают таким образом, чтобы она находилась приблизительно на таком жерасстоянии с левой стороны от центральной плоскости механизма определения точкиН, на каком находится правая ступня справой стороны. С помощью уровня проверки поперечной ориентации устройства егоприводят в горизонтальное положение за счет регулировки в случае необходимостиоснования корпуса либо за счет перемещения ступней и ног назад. Линия,проходящая через визирные метки точки Н,должна быть перпендикулярной продольной центральной плоскости сиденья.
4.7.1.2 Если левая ногане может удерживаться параллельно правой ноге, а левая ступня не может бытьустановлена на элементах конструкции транспортного средства, необходимопереместить левую ступню таким образом, чтобы установить ее на опору.Горизонтальность определяют визирными метками.
4.7.2 Задниевнешние сиденья
Что касается задних илиприставных сидений, то ноги необходимо располагать так, как предписываетсяпредприятием-изготовителем. Если при этом ступни опираются на части пола,которые находятся на различных уровнях, то та ступня, которая перваяприкоснулась к переднему сиденью, служит в качестве исходной, а другая ступнярасполагается таким образом, чтобы обеспечить горизонтальное положениеустройства, проверяемое с помощью уровня поперечной ориентации основаниякорпуса.
4.7.3 Другиесиденья
Следует придерживатьсяобщего порядка, указанного в 4.7.1, за исключением порядка установки ступней,который определяется предприятием-изготовителем транспортного средства.
4.8 Размещают грузы наголенях и бедрах и устанавливают объемный механизм определения точки Н в горизонтальное положение.
4.9 Наклоняют заднюючасть основания туловища вперед до остановки и отводят объемный механизмопределения точки Н от спинки сиденьяс помощью коленного шарнира. Вновь устанавливают механизм на прежнее место насиденье посредством одного из нижеследующих способов.
4.9.1 Если объемный механизмопределения точки Н скользит назад,применяют следующую процедуру: дают механизму возможность скользить назад дотех пор, пока не отпадет необходимость в использовании передней ограничительнойгоризонтальной нагрузки на коленный Т-образный шарнир, т.е. до тех пор, показадняя часть механизма не соприкоснется со спинкой сиденья. В случаенеобходимости следует изменить положение голени и ступни.
4.9.2 Если объемныймеханизм определения точки Н нескользит назад, используют следующую процедуру: отодвинуть механизм назад засчет использования горизонтальной задней нагрузки, прилагаемой к коленномуТ-образному шарниру, до тех пор, пока задняя часть механизма не войдет всоприкосновение со спинкой сиденья (см. рисунок 2дополнения 1 к настоящему приложению).
4.10 Прикладываютнагрузку (100±10) Н к задней части и основанию механизма определения точки Н на пересечении углового квадрантабедра и кожуха коленного Т-образного шарнира. Это усилие должно быть все времянаправлено вдоль линии, проходящей через вышеуказанное пересечение до точки,находящейся чуть выше кожуха кронштейна бедра (см. рисунок 2 дополнения1 к настоящему приложению). После этого осторожно возвращают назадспинку механизма до соприкосновения со спинкой сиденья. Оставшуюся процедурунеобходимо проводить с осторожностью, для того чтобы не допуститьсоскальзывания механизма вперед.
4.11 Размещают грузы на правойи левой частях основания туловища и затем попеременно восемь грузов на спине.Горизонтальное положение объемного механизма определения точки Н проверяют с помощью уровня.
4.12 Наклоняют спинкуобъемного механизма определения точки Нвперед, чтобы устранить давление на спинку сиденья. Производят три полных циклабокового качания механизма на дуге 10° (5° в каждую сторону от вертикальнойцентральной плоскости), для того чтобы выявить и устранить возможные точкитрения между механизмом и сиденьем.
В ходе раскачиванияколенный Т-образный шарнир механизма может отклоняться от установленногогоризонтального и вертикального направления. Поэтому во время раскачиваниямеханизма Т-образный шарнир должен удерживаться соответствующей поперечнойсилой. При удерживании шарнира и раскачивании механизма необходимо проявлятьосторожность, чтобы не допустить появления непредусмотренных внешнихвертикальных или продольных нагрузок.
При этом не следуетудерживать ступни механизма или ограничивать их перемещение. Если ступниизменят свое положение, они должны оставаться некоторое время в новомположении.
Осторожно возвращаютназад спинку механизма до соприкосновения со спинкой сиденья и выводят обауровня в нулевое положение. В случае перемещения ступней во время раскачиваниямеханизма их следует вновь установить следующим образом.
Попеременно приподнимаюткаждую ступню с пола на минимальную величину, необходимую для того, чтобыпредотвратить ее дополнительное перемещение. При этом необходимо удерживатьступни таким образом, чтобы они могли вращаться; применение каких-либопродольных или поперечных сил исключается. Когда каждая ступня опятьустанавливается в свое нижнее положение, пятка должна войти в соприкосновение ссоответствующим элементом конструкции.
Выводят поперечный уровеньв нулевое положение; в случае необходимости прикладывают поперечную нагрузку кверхней части спинки механизма; величина нагрузки должна быть достаточной дляустановки в горизонтальное положение спинки объемного механизма на сиденье.
4.13 Придерживаютколенный Т-образный шарнир для того, чтобы не допустить соскальзываниямеханизма определения точки Н впередна подушку сиденья, и затем:
а) возвращают назад спинку механизма до соприкосновения со спинкойсиденья;
b)попеременно применяют и убирают горизонтальную нагрузку, действующую в заднемнаправлении, не превышающую 25 Н, к штанге угла наклона спинки на высотеприблизительно центра крепления грузов к спине, пока круговой сектор бедра непокажет, что после устранения действия нагрузки достигнуто устойчивоеположение. Необходимо обеспечить, чтобы на механизм не действовали какие-либовнешние силы, направленные вниз или вбок. В случае необходимости повторнойориентации механизма в горизонтальном направлении наклоняют спинку механизмавперед, вновь поворачивают его в горизонтальное положение и повторяютпроцедуру, указанную в 4.12.
4.14 Производят всеизмерения:
4.14.1 координаты точки Н измеряют относительно трехмернойсистемы координат;
4.14.2 фактический уголнаклона туловища определяют на круговом секторе наклона спинки объемногомеханизма определения точки Н, причемштырь должен находиться в крайнем заднем положении.
4.15 В случае повторнойустановки объемного механизма определения точки Н сиденье должно быть свободным от любых нагрузок в течение неменее 30 мин до начала установки. Механизм не следует оставлять на сиденьесверх того времени, которое необходимо для проведения данного испытания.
4.16 Если сиденья,находящиеся в одном и том же ряду, могут рассматриваться как одинаковые (многоместноесиденье, идентичные сиденья и т.п.), следует определять только одну точку Н и один фактический угол наклона спинкисиденья для каждого ряда, помещая объемный механизм определения точки Н, описанный в дополнении 1 кнастоящему приложению, в месте, которое можно рассматривать как типичное дляданного ряда сидений. Этим местом являются:
4.16.1 в переднем ряду -место водителя;
4.16.2в заднем ряду или рядах - одно из крайних мест.
1 Спинка и основание
Спинка и основаниеизготовлены из арматурного пластика и металла; они моделируют туловище и бедрачеловека и крепятся друг к другу механически в точке Н. На штырь, укрепленный в точке Н, устанавливают круговой сектор для измерения фактического угланаклона спинки. Регулируемый шарнир бедра, соединяемый с основанием туловища,определяет центральную линию бедра и служит исходной линией для круговогосектора наклона бедра.
2 Элементы туловища иног
Элементы, моделирующиеступни и голени, соединяют с основанием туловища с помощью коленного шарнира,который является продольным продолжением регулируемого кронштейна бедра. Дляизмерения угла сгиба колена элементы голени и лодыжки оборудованы круговымисекторами. Элементы, моделирующие ступни, имеют градуировку для определенияугла наклона ступни. Ориентацию устройства обеспечивают за счет использованиядвух уровней. Грузы, размещаемые на туловище, устанавливают в соответствующихцентрах тяжести и обеспечивают давление на подушку сиденья, равное оказываемомупассажиром-мужчиной весом
1) За подробной информацией оконструктивных особенностях объемного механизма определения точки Н следуетобращаться по адресу: Society of Automotive Engineers (SAE),
Механизм соответствуеттребованиям, установленным в ИСО 6549-80.

1 - спинка; 2 - кронштейн спинных грузов; 3 - уровень угла наклона спинки; 4 - круговой сектор наклона бедра; 5- основание; 6 - кронштейн набедренныхгрузов; 7- Т-образный коленный шарнир; 8- штырь; 9 - круговойсектор наклона спинки; 10 -визирные метки точки Н; 11 - ось вращения точки Н; 12 - поперечный уровень; 13- кронштейн бедра; 14 - круговой сектор сгибаколена; 15 - круговой секторсгиба ступни
Рисунок 1 - Обозначение элементовобъемного механизма определения точки Н

1 - спинные грузы; 2 - седалищные грузы; 3 - набедренные грузы; 4 - ножные грузы; 5 - направление иточка приложения нагрузки
Рисунок 2 - Размеры элементов иобъемного механизма определения точки Н и распределения грузов
1 Трехмерная системакоординат определяется тремя ортогональными плоскостями, установленнымипредприятием-изготовителем транспортного средства (см. рисунок)*).
2 Положение для измеренияна транспортном средстве устанавливают за счет помещения данного транспортногосредства на поддерживающую поверхность таким образом, чтобы координаты нулевых точекотсчета соответствовали величинам, указанным предприятием-изготовителем.
3 Координаты точек R и Н устанавливают относительно нулевых точек отсчета,определенных предприятием-изготовителем транспортного средства.
*) Система координатсоответствует требованиям ИСО 4130-78.

Рисунок - Трехмерная системакоординат
1 Кодирование исходныхданных
Исходные данныеперечисляют последовательно по каждому месту для сидения. Места для сиденияопределяют двузначным кодом. Первый знак представляет собой арабскую цифру иобозначает ряд мест, причем отсчет ведут спереди назад. Вторым знаком являетсязаглавная буква, которая обозначает расположение места для сидения в ряду,причем отсчет ведут в направлении движения транспортного средства вперед; приэтом используют следующие буквы:
L - левая; С- центральная; R - правая.
2 Описание положениядля измерения на транспортном средстве
2.1 Координаты нулевыхточек отсчета:
X_________________________
Y_________________________
Z_________________________
3 Перечень исходныхданных
3.1 Место длясидения__________________________________________________________
3.1.1 Координаты точки R.
X_________________________
Y_________________________
Z_________________________
3.1.2 Конструктивный уголнаклона туловища______________________________________
3.1.3 Данные орегулировке сиденья1): горизонтальная, вертикальная, угловая, уголнаклона туловища
Примечание - Перечислить исходныеданные для других мест для сидения в пунктах 3.2, 3.3 и т.д.
1)Ненужное вычеркнуть. 36
1 Определения
В соответствии с настоящим приложением под типом системысмещения подразумевают такое соотношение осей, точек вращения и другихмеханизмов, которые обеспечивают смещение зеркала в нужном направлении в случаеудара.
2 Испытания
Зеркала заднего видаподвергают следующим испытаниям.
2.1 Отражающаяповерхность (все классы)
2.1.1 Проверканоминального радиуса кривизны - в соответствии с предписаниями раздела 2приложения 7 к настоящим Правилам.
2.1.2 Измерениеотклонений между радиусами кривизны - в соответствии с предписаниями 7.2.2настоящих Правил.
2.2 Внутренние зеркалазаднего вида (класс I)
Испытание на изгибзащитного корпуса, установленного на стержне, - в соответствии с предписаниями 8.3 настоящихПравил.
2.3 Внешние зеркала заднеговида (классы II - IV),за исключением зеркал, у которых ни одна из частей не располагается на высотеменее
Испытание на поведениепри ударе - в соответствии с предписаниями 8.2 настоящих Правил.
3 Частота и результатыиспытаний
3.1 Измерениеноминального радиуса кривизны и отклонений между радиусами кривизны
3.1.1 Периодичностьизмерения
Раз в квартал для каждогономера официального утверждения и каждого отдельного значения номинальногорадиуса кривизны.
3.1.2 Результаты
Все результаты измеренийдолжны регистрироваться. Предельные значения отклонений, предусмотренные в 7.2.2настоящих Правил, должны быть соблюдены.
3.2 Испытание на изгибзащитного корпуса, установленного на стержне
3.2.1 Частота
Раз в месяц для каждогономера официального утверждения.
3.2.2 Результаты
Все результаты должнырегистрироваться. Предписания 8.4 настоящих Правил должны быть соблюдены.
3.3 Испытание наповедение при ударе
3.3.1 Периодичностьизмерения
Раз в квартал для каждогономера официального утверждения, каждой системы смещения и конфигурацииоснования.
3.3.2 Результаты
Все результаты должнырегистрироваться. Предписания 8.4 настоящих Правил должны быть соблюдены.
3.4 Выборка образцов
Подвергаемые испытаниямобразцы должны отбираться с учетом объема производства каждого типа зеркалзаднего вида.
Ключевые слова: механические транспортные средства, зеркала заднеговида, установка, спецификации, отражающая способность