Настоящий стандарт распространяется на транспортные средства, предназначенные для перевозки грузов.
Стандарт не распространяется на сельскохозяйственные тракторы и машины.
| Обозначение: | ГОСТ Р 41.29-99* |
| Название рус.: | Единообразные предписания, касающиеся официального утверждения транспортных средств в отношении защиты лиц, находящихся в кабине грузового транспортного средства |
| Статус: | действующий |
| Дата актуализации текста: | 01.10.2008 |
| Дата добавления в базу: | 01.02.2009 |
| Дата введения в действие: | 01.07.2000 |
| Разработан: | ВНИИНМАШ |
| Утвержден: | Госстандарт России (26.05.1999) |
| Опубликован: | Издательство стандартов № 2000<br>Издательство стандартов № 2002 |
ГОСТ Р 41.29-99
(Правила ЕЭК ООН № 29)
ГОСУДАРСТВЕННЫЙ СТАНДАРТРОССИЙСКОЙ ФЕДЕРАЦИИ
ЕДИНООБРАЗНЫЕПРЕДПИСАНИЯ, КАСАЮЩИЕСЯ ОФИЦИАЛЬНОГО УТВЕРЖДЕНИЯ ТРАНСПОРТНЫХ СРЕДСТВ ВОТНОШЕНИИ ЗАЩИТЫ ЛИЦ, НАХОДЯЩИХСЯ В КАБИНЕ ГРУЗОВОГО ТРАНСПОРТНОГО СРЕДСТВА
ГОССТАНДАРТ РОССИИ
Москва
СОДЕРЖАНИЕ
1. РАЗРАБОТАН Всероссийскимнаучно-исследовательским институтом стандартизации и сертификации вмашиностроении (ВНИИНМАШ) на основе Правил ЕЭК ООН № 29, принятых Рабочейгруппой по конструкции транспортных средств КВТ ЕЭК ООН
ВНЕСЕНГосстандартом России
2. ПРИНЯТ ИВВЕДЕН В ДЕЙСТВИЕ Постановлением Госстандарта России от 26 мая
3. Настоящийстандарт представляет собой идентичный текст Правил ЕЭК ООН № 29, Пересмотр 1(документ E/ECE/324-E/ECE/TRANS/505/Rev.1/Add.28/Rev.1, дата вступления в силу 11.09.92)«Единообразные предписания, касающиеся официального утверждения транспортныхсредств в отношении защиты лиц, находящихся в кабине грузового транспортногосредства»
4. ВВЕДЕНВПЕРВЫЕ
5. ИЗДАНИЕ(февраль
ГОСУДАРСТВЕННЫЙ СТАНДАРТРОССИЙСКОЙ ФЕДЕРАЦИИ
| ЕДИНООБРАЗНЫЕ ПРЕДПИСАНИЯ, КАСАЮЩИЕСЯ ОФИЦИАЛЬНОГО УТВЕРЖДЕНИЯ ТРАНСПОРТНЫХ СРЕДСТВ В ОТНОШЕНИИ ЗАЩИТЫ ЛИЦ, НАХОДЯЩИХСЯ В КАБИНЕ ГРУЗОВОГО ТРАНСПОРТНОГО СРЕДСТВА Uniform provisions concerning the approval of vehicles with regard to the protection of the occupants of the cab of a commercial vehicle |
Дата введения 2000-07-01
Настоящий стандарт вводитв действие Правила ЕЭК ООН № 29 (далее - Правила)
Настоящий стандартраспространяется на транспортные средства, предназначенные для перевозкигрузов.
Стандарт нераспространяется на сельскохозяйственные тракторы и машины.
В настоящем стандартеприменяют следующие термины с соответствующими определениями:
2.1. официальноеутверждение транспортного средства: Официальное утверждение на основании настоящихПравил типа транспортного средства в отношении защиты лиц, находящихся в кабинегрузового транспортного средства, в случае лобового удара или опрокидывания, атакже в случае перемещения груза.
2.2. типтранспортного средства: Категория механических транспортных средств, неимеющих между собой существенных различий; в частности, эти различия могуткасаться:
2.2.1. размеров, формы иматериала элементов кабины транспортного средства или
2.2.2. крепления кабины краме.
2.3. поперечнаяплоскость: Вертикальная плоскость, перпендикулярная к среднему продольномусечению транспортного средства.
2.4. продольная плоскость: Плоскость, параллельнаясреднему продольному сечению транспортного средства.
3.1. Заявка на официальноеутверждение типа транспортного средства в отношении защиты лиц, находящихся вкабине грузового транспортного средства, представляетсяпредприятием-изготовителем транспортного средства или его надлежащим образомуполномоченным представителем.
3.2. К заявке прилагают втрех экземплярах чертежи транспортного средства с указанием размещения икрепления кабины на транспортном средстве и достаточно подробные чертежиконструкции кабины.
4.1. Если типтранспортного средства, представленного на официальное утверждение всоответствии с настоящими Правилами, удовлетворяет предписаниям раздела 5настоящих Правил, то данный тип транспортного средства считается официальноутвержденным.
4.2. Каждому официальноутвержденному типу транспортного средства присваивается номер официальногоутверждения. Первые две цифры этого номера (в настоящее время 02,соответствующие поправкам серии 02, вступившим в силу 1 августа
(Измененная редакция,Изм. № 1)
4.3.Стороны Соглашения
4.4. Накаждом транспортном средстве, соответствующем типу транспортного средства,официально утвержденному на основании настоящих Правил, проставляют на видном илегко доступном месте, указанном в карточке официального утверждения,международный знак официального утверждения, состоящий из:
4.4.1. круга, в которомпроставлена буква Е, за которой следует отличительный номер страны,предоставившей официальное утверждение 1);
4.4.2. номера настоящихПравил, проставленного справа от круга, предусмотренного в 4.4.1; и
4.4.3. дополнительногообозначения, отделенного от номера настоящих Правил вертикальной чертой исостоящего из буквы С, если кабина удовлетворяет требованиям, предъявляемым прииспытании С.
1) 1 - Германия, 2 - Франция,3 - Италия, 4 - Нидерланды, 5 - Швеция, 6 - Бельгия, 7 - Венгрия, 8 - ЧешскаяРеспублика, 9 - Испания, 10 - Югославия, 11 - Соединенное Королевство, 12 -Австрия, 13 - Люксембург, 14 - Швейцария, 15 - не присвоен, 16 - Норвегия, 17 -Финляндия, 18 - Дания, 19 - Румыния, 20 - Польша, 21 - Португалия, 22 -Российская Федерация, 23 - Греция, 24 - Ирландия, 25 - Хорватия, 26 - Словения,27 - Словакия, 28 - Беларусь, 29 - Эстония, 30 - не присвоен, 31 - Босния иГерцеговина, 32 - Латвия, 33-36 - не присвоены, 37 - Турция, 38-39 - неприсвоены и 40 - бывшая югославская Республика Македония, 41 - не присвоен, 42- Европейское сообщество (официальные утверждения предоставляются егогосударствами-членами с использованием его соответствующего символа ЕЭК) и 43 -Япония. Последующие порядковые номера присваиваются другим странам вхронологическом порядке ратификации ими Соглашения о принятии единообразныхтехнических предписаний для колесных транспортных средств, предметовоборудования и частей, которые могут быть установлены и (или) использованы наколесных транспортных средствах, и об условиях взаимного признания официальныхутверждений, выдаваемых на основе этих предписаний, или в порядке ихприсоединения к этому Соглашению. Присвоенные им таким образом номера сообщаютсяГенеральным секретарем Организации Объединенных Наций Сторонам Соглашения.
4.5. Еслитранспортное средство соответствует типу транспортного средства, официальноутвержденному на основании других приложенных к Соглашению
4.6. Знак официальногоутверждения должен быть четким и нестираемым.
4.7. Знак официальногоутверждения помещают рядом с прикрепленной предприятием-изготовителемтабличкой, на которой приведены характеристики транспортного средства, илинаносят на эту табличку.
4.8. В приложении 2к настоящим Правилам приведены в качестве примера схемы знаков официальногоутверждения.
5.1. Кабина должна бытьсконструирована и укреплена на транспортном средстве таким образом, чтобы вслучае дорожно-транспортного происшествия максимально устранить опасностьранения находящихся в ней лиц.
5.2. По выборупредприятия-изготовителя она подвергается либо всем испытаниям, описанным в приложении 3к настоящим Правилам, либо только испытаниямА и В. Однако тип транспортногосредства, который официально утвержден в соответствии с Правилами ЕЭК ООН № 33,может рассматриваться как удовлетворяющий требованиям испытания на удар спереди(испытание А). Для этой цели используют,по выбору предприятия-изготовителя, одну, две или три кабины.
5.3. Остаточноепространство, которое должно оставаться после проведения испытания илииспытаний
5.3.1. После проведениякаждого из испытаний, упомянутых в 5.2, в кабине транспортного средства должнооставаться остаточное пространство, в котором может поместиться на сиденье,установленном в среднем положении, не приходя в соприкосновение с жесткозакрепленными частями, манекен, описание которого приводится в дополнении2 к приложению 3. Для облегчения установки манекена допускаетсяпомещать его по частям и собирать в кабине. Для этого сиденье максимальнооткидывают назад, манекен полностью собирают и устанавливают таким образом,чтобы его точка Н совпадала с точкой R. Затем сиденье устанавливают всреднее положение для проверки остаточного пространства.
5.3.2. Наличие определенноготаким образом пространства проверяют в отношении каждого сиденья,предусмотренного предприятием-изготовителем.
5.4. Прочие условия
5.4.1. В ходе испытаний вдеталях крепления кабины к раме могут наблюдаться деформации или изломы, однакокабина должна оставаться прикрепленной к раме.
5.4.2. В ходе испытанийни одна дверь не должна открываться, но после испытаний открытия дверей нетребуется.
5.5. Испытания В и Сдопускается не проводить, если предприятие-изготовитель на основе расчетовпрочности элементов кабины или с помощью каких-либо других средств сможетдоказать, что крыша или задняя стенка не подвергнутся опасной для лиц,находящихся в кабине, деформации (проникновение в остаточное пространство),если они окажутся в условиях испытаний Ви С.
6.1. Любое изменение типатранспортного средства доводят до сведения административного органа, которыйпредставил официальное утверждение данному типу транспортного средства. Этоторган может:
6.1.1. либо прийти кзаключению, что внесенные изменения не будут иметь значительного отрицательноговлияния и что в любом случае это транспортное средство по-прежнемуудовлетворяет предписаниям;
6.1.2. либо потребоватьнового протокола испытания технической службы, уполномоченной проводитьиспытания.
6.2. Подтверждениеофициального утверждения или отказ в официальном утверждении с указаниемизменений направляется Сторонам Соглашения
6.3. Компетентный орган,распространивший официальное утверждение, присваивает такому распространениюсоответствующий серийный номер и уведомляет об этом другие Стороны Соглашения
Проверка соответствияпроизводства должна соответствовать процедурам, изложенным в дополнении 2 кСоглашению (E/ECE/324-E/ECE/TRANS/505/Rev.2), с учетом следующихтребований:
(Введен дополнительно,Изм. № 1).
7.1. Каждое транспортноесредство, имеющее знак официального утверждения на основании настоящихПредписаний, должно соответствовать официально утвержденному типу транспортногосредства в отношении деталей, которые могут оказать влияние на характеристикикабины.
7.2. Для проверкисоответствия 7.1 проводят выборочные проверки на транспортных средствахсерийного производства, имеющих знак официального утверждения на основаниинастоящих Правил.
7.3. Как правило, этипроверки ограничиваются измерением размеров; однако в случае необходимоститранспортные средства подвергают испытаниям, описанным в приложении 3к настоящим Правилам.
8.1. Официальноеутверждение типа транспортного средства, представленное на основании настоящихПравил, может быть отменено, если не соблюдается требование, изложенное в 7.1,или если кабина не выдержала проверок, предусмотренных в 7.2 и 7.3.
8.2. Если какая-либосторона Соглашения
Если владелецофициального утверждения полностью прекращает производство типа транспортногосредства, официально утвержденного на основании настоящих Правил, он сообщаетоб этом компетентному органу, предоставившему официальное утверждение. Пополучении соответствующего сообщения этот компетентный орган уведомляет об этомдругие Стороны Соглашения
10.1. Начиная софициальной даты вступления в силу поправок серии 02, ни одна изДоговаривающихся сторон, применяющих настоящие Правила, не должна отказывать впредоставлении официальных утверждений ЕЭК на основании настоящих Правил свнесенными в них поправками серии 02.
10.2. Начиная с 1 октября
10.3. Начиная с 1 октября
Раздел 10 (Введендополнительно, Изм. № 1)
Стороны Соглашения
[Максимальный формат А4 (210 х

направленное _______________________________,
наименование административного органа,
касающееся 2) ОФИЦИАЛЬНОГО УТВЕРЖДЕНИЯ,
РАСПРОСТРАНЕНИЯОФИЦИАЛЬНОГО УТВЕРЖДЕНИЯ,
ОТКАЗАВ ОФИЦИАЛЬНОМ УТВЕРЖДЕНИИ,
ОТМЕНЫОФИЦИАЛЬНОГО УТВЕРЖДЕНИЯ,
ОКОНЧАТЕЛЬНОГОПРЕКРАЩЕНИЯ ПРОИЗВОДСТВА
типа транспортного средства в отношении защиты лиц,находящихся в кабине грузового транспортного средства, на основании Правил ЕЭКООН № 29
Официальное утверждение№_________________ Распространение №_________________
1. Фабричная или торговаямарка транспортного средства____________________________
2. Тип транспортногосредства___________________________________________________
3. Предприятие-изготовительи его адрес__________________________________________
4. В соответствующихслучаях фамилия и адрес представителя предприятия-изготовителя
________________________________________________________________________________
________________________________________________________________________________
5. Краткое описаниеконструкции и крепления кабины ______________________________
________________________________________________________________________________
6. Транспортное средствопредставлено на официальное утверждение (дата)____________
7. Техническая служба,уполномоченная проводить испытания для официальногоутверждения_____________________________________________________________________
8. Дата протоколаиспытания, выданного этой службой______________________________
9. Номер протоколаиспытания, выданного этой службой_____________________________
10. Выдержанные кабинойиспытания: А/В/С 2)
11. Официальноеутверждение предоставлено/официальное утверждение распространено/в официальномутверждении отказано/официальное утверждение отменено 2)
12. Место проставления натранспортном средстве знака официальногоутверждения_____________________________________________________________________
13.Место_____________________________________________________________________
14.Дата______________________________________________________________________
15.Подпись___________________________________________________________________
К настоящемусообщению прилагается перечень документов, сданных на хранениеадминистративному органу, предоставившему официальное утверждение, которые могутбыть получены при представлении соответствующей просьбы.
1) Отличительный номер страны,которая предоставила/распространила/отказала/отменила официальное утверждение(см. положения об официальном утверждении в настоящих Правилах).
2) Ненужное вычеркнуть.
Образец А
(См. 4.4 настоящих Правил)

Приведенныйвыше знак официального утверждения, проставленный на транспортном средстве, указывает,что данный тип транспортного средства официально утвержден в Нидерландах (Е 4)в отношении защиты лиц, находящихся в кабине грузового транспортного средства,под номером 022439 и что кабина транспортного средства соответствуетпредписаниям испытания С. Первые две цифры номера официального утвержденияуказывают, что в момент предоставления официального утверждения Правила ЕЭК ООН№ 29 уже включали поправки серии 02.
Образец В
(См. 4.5 настоящих Правил)

Приведенный выше знакофициального утверждения, проставленный на транспортном средстве, указывает,что данный тип транспортного средства официально утвержден в Нидерландах (Е 4)на основании Правил ЕЭК ООН № 29 и Правил ЕЭК ООН № 24 1) (впоследних Правилах скорректированный коэффициент поглощения составляет
ПРИЛОЖЕНИЕ 2 (Измененнаяредакция, Изм. № 1).
1) Вторые Правила приведенытолько в качестве примера.
1. Двери
До проведения испытанийдвери кабины должны быть закрыты, но не заперты.
2. Двигатель
В ходе испытания Аустанавливают двигатель или макет, который по массе, размерам и способу монтажаэквивалентен аналогичным характеристикам двигателя.
3. Крепление кабины
При проведении испытанияА кабину устанавливают на транспортном средстве. При проведении испытаний В и Скабину устанавливают по выбору изготовителя либо на транспортном средстве, либона отдельной раме. Транспортное средство или раму крепят согласно предписаниям дополнения1 к настоящему приложению.
4.Испытание на удар спереди (испытание А)
4.1. Описание маятника
4.1.1. Маятник долженбыть изготовлен из стали; его масса (1500 ± 250) кг должна быть равномерно распределена.Ударная поверхность маятника должна быть прямоугольной и плоской; ее ширина -2500, а высота -
4.1.2. Конструкциямаятникового комплекта должна быть жесткой. Маятник свободно подвешивают припомощи двух стержней, жестко прикрепленных к маятнику и удаленных друг от другане менее чем на
4.1.3. Маятник помещаюттаким образом, чтобы в вертикальном положении:
4.1.3.1. его фронтальнаясторона соприкасалась с наиболее выдвинутой вперед частью транспортногосредства;
4.1.3.2. его центртяжести находился на расстоянии
мм под точкой R сиденья водителя и ни в коем случае не более
(Измененная редакция, №1)
4.1.3.3. его центртяжести находился в среднем продольном сечении транспортного средства.
4.1.4. Маятник долженнаносить удар по кабине в направлении спереди назад. Направление удара должнобыть горизонтальным и параллельным среднему продольному сечению транспортногосредства. Энергия удара должна составлять 3000 кгс.м для транспортныхсредств с максимальной разрешенной массой до
5.Прочность крыши (испытание В)
Крыша кабины должнавыдерживать статическую нагрузку, соответствующую максимальной разрешеннойнагрузке на переднюю (передние) ось (оси) транспортного средства, максимальноезначение которой равно 10 т. Эта нагрузка должна равномерно распределяться повсем несущим элементам конструкции крыши кабины или отделения водителя припомощи жесткой опоры соответствующей формы.
6.Прочность задней стенки (испытание С)
Задняя стенка кабиныдолжна выдерживать статическую нагрузку 200 кгс на тонну разрешенной полезнойнагрузки. Эту нагрузку прилагают через жесткую плиту, перпендикулярную ксредней продольной оси транспортного средства, покрывающую, по крайней мере,всю заднюю поверхность кабины под лонжеронами, и перемещающуюся параллельноэтой оси.
1. Лобовой удар
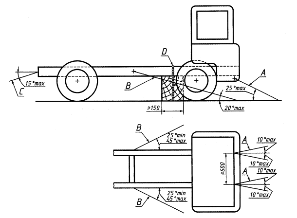
Испытание А проводят накабине, установленной на транспортном средстве следующим образом (см. рисунок1).
Испытаниена удар спереди

Рисунок 1 - Кабина, установленная натранспортном средстве
1.1. Крепежные тросыили цепи
Каждая цепь или крепежныйтрос должны быть стальными и выдерживать растяжение не менее 10 т.
1.2. Закрепление рамы
Лонжероны рамы устанавливаютна деревянных опорах по всей их ширине и по длине, равной не менее
1.3. Продольноекрепление
Обратное движение рамыограничивают при помощи цепей или тросов А, закрепленных в переднейчасти рамы симметрично продольной оси, причем расстояние между точкамикрепления должно быть не менее
1.4. Боковое крепление
Боковое движениеограничивают при помощи цепей или тросов В, прикрепленных к рамесимметрично ее продольной оси. Точки крепления на раме должны находиться нарасстоянии не более 5 и не менее
1.5. Нагрузка на цепиили тросы и заднее крепление
Прежде всего цепи илитрос С подвергают воздействию нагрузки, равной примерно 100 кгс. Затемнатягивают четыре цепи или тросы А и В и прилагают к цепи илитросу С растягивающую нагрузку, равную не менее 1000 кгс. Угол,образуемый этой цепью или тросом С с горизонтальной плоскостью, недолжен превышать 15°. В точке D между рамой и грунтом прилагаютвертикальную удерживающую нагрузку, равную не менее 50 кгс.
1.6. Эквивалентнаяустановка
По просьбепредприятия-изготовителя испытание допускается проводить на кабине,установленной на специальной раме, однако должно быть доказано, что этаустановка воспроизводит условия монтажа кабины на транспортном средстве.
2. Прочность крыши
2.1. Кабина,установленная на транспортном средстве
Необходимо принимать мерыпо предотвращению заметных перемещений транспортного средства в ходе испытания.С этой целью включают ручной тормоз, одну из скоростей, а под передние колесаподкладывают клинья. Деформацию различных элементов подвески (рессор, шин ит.д.) исключают за счет установки жестких опор.
2.2. Кабина,установленная на специальной раме
Необходимо принимать мерыпо предотвращению заметных перемещений рамы в ходе испытания.
3. Прочность заднейстенки
3.1. Кабина,установленная на транспортном средстве
Необходимо принимать мерыпо предотвращению заметных перемещений транспортного средства в ходе испытания.С этой целью включают ручной тормоз, одну из скоростей, а под передние колесаподкладывают клинья.
3.2. Кабина,установленная на специальной раме
Необходимо принимать мерыпо предотвращению заметных перемещений рамы в ходе испытания.

Материал Полистирол, плотность 0,0169 г/см3
Масса
Размеры, см АА - ширина головы 15,3
АВ -общая высота головы и шеи 24,4
D -расстояние от макушки головы до плечевого сустава 35,9
Е -толщина икры 10,6
F - высота от сиденья до верха плеча 62,0
J - высота подлокотника 21,0
М -расстояние от коленного сустава до пола 54,6
О -толщина туловища 23,0
Р - расстояниемежду спинкой сиденья и коленом 59,5
R - расстояниеот локтя до концов пальцев 49,0
S - длинаступни 26,6
Т -высота головы 21,1
U -высота от сиденья до макушки головы 90,0
V -ширина плеч 45,3
W - ширина ступни 7,7
a - расстояние между суставами бедра 17,2
b - ширина туловища 30,5
с -высота головы от подбородка 22,1
d -толщина предплечий 9,4
е - расстояние между вертикальной осьютуловища и затылком 10,2
f - расстояние между плечевымсуставом и локтевым суставом 28,3
g -высота от пола до коленного сустава 50,5
h- ширина бедра 16,5
i - расстояние от пола до коленей (всидячем положении) 56,5
j -расстояние от макушки головы до точки H 81,9
k -расстояние между тазобедренным суставом и коленным суставом 42,6
m -расстояние от пола до лодыжки 8,9
1. Цель
Описываемая в настоящемприложении процедура предназначена для определения положения точки Н и фактического угла наклона туловищадля одного или нескольких мест для сидения в автомобиле и для проверкисоотношения между измеренными параметрами и конструктивными спецификациями,указанными предприятием-изготовителем 1).
1) В отношении любых мест длясидения, за исключением передних сидений, для которых точка Н не может определяться посредствомприменения объемного механизма определения точки Н или соответствующих методов, в качестве контрольной точкидопускается применять, по усмотрению компетентного органа, точку R,указаннуюпредприятием-изготовителем.
2. Термины иопределения
В настоящем приложении применяют следующие термины ссоответствующими определениями:
2.1. контрольныепараметры: Одна или несколько из следующих характеристик места для сидения:
2.1.1. точка H и точка R и их соотношение;
2.1.2. фактический уголнаклона туловища и конструктивный угол наклона туловища и их соотношение.
2.2. объемный механизм определения точки (механизм 3-D H): Устройство, применяемое для определения точки H и фактического угла наклона туловища. Описание этогоустройства содержится в дополнении 1 к настоящемуприложению.
2.3. точка H. Центр вращениятуловища и бедра механизма 3-D H, установленного насиденье транспортного средства в соответствии с предписаниями раздела 4настоящего приложения. Точка Нрасполагается в середине центральной линии устройства, проходящей междувизирными метками точки Н с обеихсторон механизма 3-D Н. Теоретическиточка Н соответствует (допуски см. 3.2.2)точке R. Послеопределения точки Н в соответствии спорядком, описанным в разделе 4, считается, что эта точкаявляется фиксированной по отношению к подушке сиденья и перемещается вместе сней при регулировке сиденья.
2.4. точка R иликонтрольная точка места для сидения: Условная точка, указываемаяпредприятием-изготовителем для каждого места для сидения и устанавливаемаяотносительно трехмерной системы координат.
2.5. линия туловища: Центральнаялиния штыря механизма 3-D Н, когдаштырь находится в крайнем заднем положении.
2.6. фактический уголнаклона туловища: Угол, измеряемый между вертикальной линией, проходящейчерез точку Н, и линией туловищапосредством кругового сектора механизма 3-D Н.Теоретически фактический угол наклона туловища соответствует конструктивномууглу наклона туловища (допуски см. 3.2.2).
2.7. конструктивныйугол наклона туловища: Угол, измеряемый между вертикальной линией,проходящей через точку R,и линией туловища в положении, соответствующем конструктивному положениюспинки сиденья, указанному предприятием-изготовителем транспортного средства.
2.8. центральнаяплоскость водителя или пассажира (C/LO):Средняяплоскость механизма 3-D Н,расположенного на каждом указанном месте для сидения; представлена координатойточки Н относительно оси Y. На индивидуальныхсиденьях центральная плоскость сиденья совпадает с центральной плоскостьюводителя или пассажира. На других сиденьях центральную плоскость водителя илипассажира определяет предприятие-изготовитель.
2.9. трехмернаясистема координат: Система, описанная в дополнении 2 кнастоящему приложению.
2.10. исходные точкиотсчета: Физические точки (отверстия, плоскости, метки и углубления) накузове транспортного средства, указанные предприятием-изготовителем.
2.11.положение для измерения на транспортном средстве: Положениетранспортного средства, определенное координатами исходных точек отсчета втрехмерной системе координат.
3. Предписания
3.1. Представлениеданных
Для каждого места длясидения, контрольные параметры которого используются для проверки соответствияположениям настоящих Правил, представляют все или соответствующую выборку изследующих данных в том виде, как это указано в дополнении 3 к настоящемуприложению:
3.1.1. координаты точки R втрехмерной системе координат;
3.1.2. конструктивныйугол наклона туловища;
3.1.3. указания,необходимые для регулирования сиденья (если сиденье регулируемое) и установкиего в положение для измерения, определенное в 4.3.
3.2. Соотношениеполученных данных и конструктивных спецификаций
3.2.1. Координаты точки Н и фактический угол наклона туловища,установленные в соответствии с порядком, указанным в разделе 4, сравниваютсоответственно с координатами точки R и конструктивным углом наклонатуловища, указанным предприятием-изготовителем.
3.2.2.Относительное положение точки R и точки Н и соотношение между конструктивным углом наклона туловища ифактическим углом наклона туловища считают удовлетворительным длярассматриваемого места для сидения, если точка Н, определенная ее координатами, находится в пределах квадрата,горизонтальные и вертикальные стороны которого, равные
3.2.3. В случаеудовлетворения этих условий точку R и конструктивный угол наклонатуловища используют для проверки соответствия положениям настоящих Правил.
3.2.4. Если точка Н или фактический угол наклона туловищане соответствуют требованиям 3.2.2, то точку Н и фактический угол наклона туловища определяют еще два раза(всего три раза). Если результаты двух из этих трех измерений удовлетворяюттребованиям, то применяют положения 3.2.3.
3.2.5. Если результаты поменьшей мере двух из трех измерений, определенных в 3.2.4, не удовлетворяюттребованиям 3.2.2 или если проверка невозможна в связи с тем, чтопредприятие-изготовитель транспортного средства не представил данных,касающихся положения точки R или конструктивного угла наклона туловища, допускаетсяиспользовать центроид трех полученных точек или средние значения трех измеренийуглов, которые будут считаться приемлемыми во всех случаях, когда в настоящихПравилах упоминается точка R или конструктивный угол наклона туловища.
4. Порядок определения точки Н и фактического угла наклона туловища
4.1. Испытываемоетранспортное средство выдерживают при температуре (20±10)°С по выборупредприятия-изготовителя для того, чтобы температура материала, из которогоизготовлены сиденья, достигла комнатной. Если испытываемое сиденье никогда неиспользовалось, то на него помещают дважды в течение 1 мин человека илиустройство массой от 70 до
4.2. Транспортноесредство должно занять положение для измерения, определенное в 2.11.
4.3.Если сиденье регулируемое, то его устанавливают сначала в крайнее заднее(нормальное при управлении или использовании) положение, предусмотренноепредприятием-изготовителем транспортного средства, за счет одной лишьпродольной регулировки сиденья, и без его перемещения, предусмотренного дляцелей, иных, чем нормальное управление или использование. При наличии другихспособов регулировки (вертикальной, угла наклона спинки и т.д.) сиденьеприводят в положение, определенное предприятием-изготовителем транспортногосредства. Для откидных сидений жесткая фиксация сиденья в вертикальномположении должна соответствовать нормальному положению при управлении,указанному предприятием-изготовителем.
4.4. Поверхность местадля сиденья, с которой соприкасается механизм 3-D Н, покрывают муслиновой хлопчатобумажной тканью достаточногоразмера и соответствующей текстуры, определяемой как гладкая хлопчатобумажнаяткань, имеющая 18,9 нитей на
1) Угол наклона, разница ввысоте крепления сиденья, текстура поверхности и т.д.
4.5. Помещают основание испинку механизма 3-D Н таким образом,чтобы центральная плоскость водителя или пассажира (C/LO) совпадала с центральной плоскостью механизма 3-D Н. По просьбе предприятия-изготовителямеханизм 3-D Н допускаетсяпередвигать внутрь относительно C/LO, если он находится снаружии кромка сиденья не позволяет произвести его выравнивание.
4.6. Прикрепляют ступни иголени механизма к основанию корпуса либо отдельно, либо посредством шарнирногосоединения Т. Линия, проходящая через визирные метки определения точки Н, должна быть параллельной грунту иперпендикулярной к продольной центральной плоскости сиденья.
4.7. Располагают ступни иноги механизма 3-D Н следующимобразом:
4.7.1. Сиденья водителя ипассажира рядом с водителем
4.7.1.1. Ступни и ногиперемещают вперед таким образом, чтобы ступни заняли естественное положение вслучае необходимости между рабочими педалями. Левая ступня по возможностиустанавливается таким образом, чтобы она находилась приблизительно на таком жерасстоянии с левой стороны от центральной плоскости механизма 3-D Н, на каком находится правая ступня справой стороны. С помощью уровня проверки поперечной ориентации устройствоприводят в горизонтальное положение регулировкой, в случае необходимости,основания корпуса либо перемещением ступней и ног назад. Линия, проходящаячерез визирные метки точки Н, должнабыть перпендикулярной к продольной центральной плоскости сиденья.
4.7.1.2. Если левая ногане может удержаться параллельно правой ноге, а левая ступня не может бытьустановлена на элементах конструкции транспортного средства, то необходимопереместить левую ступню таким образом, чтобы установить ее на опору.Горизонтальность определяют по визирным меткам.
4.7.2. Задние внешниесиденья
Что касается задних илиприставных сидений, то ноги манекена располагают так, как предписываетпредприятие-изготовитель. Если при этом ступни опираются на части пола, которыенаходятся на различных уровнях, то та ступня, которая первая прикоснулась кпереднему сиденью, служит в качестве исходной, а другую ступню располагаюттаким образом, чтобы обеспечить горизонтальное положение устройства, проверяемоес помощью уровня поперечной ориентации основания корпуса.
4.7.3. Другие сиденья
Придерживаются общегопорядка, указанного в 4.7.1, за исключением порядка установки ступней, которыйопределяет предприятие-изготовитель транспортного средства.
4.8. Размещают грузы наголенях и бедрах и устанавливают механизм 3-D Н в горизонтальное положение.
4.9. Наклоняют заднюючасть основания туловища вперед до остановки и отводят механизм 3-D Н от спинки сиденья с помощью коленногошарнира Т. Вновь устанавливают механизм на прежнее место на сиденьеодним из следующих способов:
4.9.1. Если механизм 3-D Н скользит назад, поступают следующимобразом: дают механизму 3-D Нвозможность скользить назад до тех пор, пока не отпадет необходимость виспользовании передней ограничительной горизонтальной нагрузки на коленныйшарнир Т, т.е. до тех пор, пока задняя часть механизма не соприкоснетсясо спинкой сиденья. В случае необходимости изменяют положение голени и ступни.
4.9.2. Если механизм 3-D Н скользит назад, поступают следующим образом:отодвигают механизм 3-D Н назад засчет использования горизонтальной задней нагрузки, прилагаемой к коленномушарниру Т, до тех пор, пока задняячасть механизма не войдет в соприкосновение со спинкой сиденья (см. рисунок 2 дополнения 1к настоящему приложению).
4.10. Прикладываютнагрузку (100±10) Н к задней части и основанию механизма 3-D Н на пересечении кругового сектора бедраи кожуха коленного шарнира Т. Это усилие должно быть все времянаправлено вдоль линии, проходящей через вышеуказанное пересечение до точки,находящейся чуть выше кожуха кронштейна бедра (см. рисунок 2дополнения 1 к настоящему приложению). После этого осторожновозвращают назад спинку механизма до соприкосновения со спинкой сиденья.Оставшуюся процедуру необходимо проводить с осторожностью, для того чтобы недопустить соскальзывания механизма 3-D Нвперед.
4.11. Размещают грузы направой и левой частях основания туловища и затем попеременно восемь грузов наспине. Горизонтальное положение механизма 3-D Н проверяют уровнем.
4.12. Наклоняют спинкумеханизма 3-D Н вперед, чтобыустранить давление на спинку сиденья. Проводят три полных цикла боковогокачания механизма 3-D Н по дуге в 10°(5 в каждую сторону от вертикальной центральной плоскости), для того чтобывыявить и устранить возможные точки трения между механизмом 3-D Н и сиденьем.
В ходе раскачиванияколенный шарнир Т механизма 3-D Нможет отклоняться от установленного горизонтального и вертикальногонаправления. Поэтому во время раскачивания механизма шарнир Т должен удерживаться соответствующейпоперечной силой. При удерживании шарнира Т и раскачивании механизма 3-DН необходимо проявлять осторожность,чтобы не допустить появления непредусмотренных внешних вертикальных илипродольных нагрузок.
При этом не следуетудерживать ступни механизма 3-D Н илиограничивать их перемещение. Если ступни изменят свое положение, они должныоставаться на некоторое время в новом положении.
Осторожно возвращаютназад спинку механизма до соприкосновения со спинкой сиденья и выводят обауровня в нулевое положение. В случае перемещения ступней во время раскачиваниямеханизма 3-D Н их следует вновьустановить следующим образом:
Попеременно приподнимаюткаждую ступню с пола на минимальную величину, необходимую для того, чтобыпредотвратить ее дополнительное перемещение. При этом удерживают ступни такимобразом, чтобы они могли вращаться; применение каких-либо продольных илипоперечных сил исключается. Когда каждая ступня опять устанавливается в своенижнее положение, пятка должна войти в соприкосновение с соответствующимэлементом конструкции.
Выводят поперечныйуровень в нулевое положение; в случае необходимости прикладывают поперечнуюнагрузку к верхней части спинки механизма; нагрузка должна быть достаточной дляустановки в горизонтальное положение спинки механизма 3-D Н на сиденье.
4.13. Придерживаютколенный шарнир Т для того, чтобы недопустить соскальзывания механизма 3-D Нвперед на подушку сиденья, и затем:
a) возвращают назад спинку механизма до соприкосновения со спинкойсиденья;
b) попеременно прилагают и снимают горизонтальную нагрузку, действующуюв заднем направлении и не превышающую 25 Н, к штанге угла наклона спинки навысоте приблизительно центра крепления грузов к спинке, пока круговой секторбедра не покажет, что после устранения действия нагрузки достигнуто устойчивоеположение. Защищают механизм 3-D Н отвоздействия каких-либо внешних сил, направленных вниз или вбок. В случаенеобходимой повторной ориентации механизма 3-D Н в горизонтальном направлении наклоняют спинку механизма вперед,вновь проверяют его горизонтальное положение и повторяют процедуру, указанную в4.12.
4.14. Производятизмерения:
4.14.1. Координаты точки Н измеряют в трехмерной системекоординат.
4.14.2. Фактический уголнаклона туловища определяют по круговому сектору наклона спинки механизма 3-D Н, причем штырь должен находиться вкрайнем заднем положении.
4.15. В случае повторнойустановки механизма 3-D Н сиденьедолжно быть свободным от любых нагрузок в течение не менее 30 мин до началаустановки. Механизм 3-D Н не следуетоставлять на сиденье сверх времени, необходимого для проведения данногоиспытания.
4.16. Если сиденья,находящиеся в одном и том же ряду, могут рассматриваться как одинаковые(многоместное сиденье, идентичные сиденья и т.п.), то определяют только однуточку Н и один фактический уголнаклона спинки сиденья для каждого ряда, помещая механизм 3-D Н, описанный в дополнении 1 к настоящемуприложению, в месте, которое можно рассматривать как типичное для данного рядасидений. Этим местом является:
4.16.1. в переднем ряду -место водителя;
4.16.2. в заднем ряду илирядах - одно из крайних мест.
1. Спинка и основание
Спинку и основаниеизготовляют из арматурного пластика и металла; они моделируют туловище и бедрачеловека и крепятся друг к другу механически в точке Н. На штырь, укрепленный в точке Н, устанавливается круговой сектор для измерения фактического угланаклона спинки. Регулируемый шарнир бедра, соединяемый с основанием туловища,определяет центральную линию бедра и служит исходной линией для круговогосектора наклона бедра.
1) Механизм соответствуеттребованиям ИСО 6549-80.
2. Элементы туловища и ног
Элементы,моделирующие ступни и голени, соединяются с основанием туловища с помощьюколенного шарнира Т, который является продольным продолжениемрегулируемого кронштейна бедра. Для измерения угла сгиба колена элементы голении лодыжки оборудованы круговыми секторами. Элементы, моделирующие ступни, имеютградуировку для определения угла наклона ступни. Ориентация устройстваобеспечивается за счет использования двух уровней. Грузы, размещаемые натуловище, устанавливают в соответствующих центрах тяжести и обеспечиваютдавление на подушку сиденья, равное тому, которое оказываетсяпассажиром-мужчиной массой

1 - спинка; 2- кронштейнспинных грузов; 3 - уровеньугла наклона спинки; 4- круговойсектор наклона бедра; 5- основание; 6-кронштейн набедренных грузов; 7- коленный шарнир Т; 8 - штырь; 9 - круговой сектор наклона спинки; 10 - визирные метки точки Н; 11 - ось вращения точки Н; 12 - поперечный уровень; 13 - кронштейн бедра; 14 - круговой сектор сгиба колена; 15 - круговой сектор сгиба ступни
Рисунок 1 - Обозначение элементовмеханизма 3-D Н

1 - спинные грузы; 2 - седалищные грузы; 3 - набедренные грузы; 4 - ножные грузы; 5 - направление и точкаприложения нагрузки
Рисунок 2 - Размеры элементовмеханизма 3-D Н и распределение грузов
1. Трехмерная системакоординат определяется тремя ортогональными плоскостями, установленнымипредприятием-изготовителем транспортного средства (см. рисунок 1) 1).
2. Положение дляизмерения на транспортном средстве устанавливают помещением данноготранспортного средства на опорную поверхность таким образом, чтобы координатыисходных точек отсчета соответствовали значениям, указаннымпредприятием-изготовителем.
3.Координаты точек R и Н устанавливают относительно исходных точекотсчета, определенных предприятием-изготовителем транспортного средства.
1) Система координатсоответствует требованиям ИСО 4130-78.

Рисунок 1 - Трехмерная системакоординат
1. Кодирование исходныхданных
Исходные данныеперечисляют последовательно по каждому месту для сидения. Места для сиденияопределяют двузначным кодом. Первый знак представляет собой арабскую цифру иобозначает ряд мест; отсчет мест ведется спереди назад. Вторым знаком являетсязаглавная буква, которая обозначает расположение места для сидения в ряду,обращенном в направлении движения транспортного средства вперед; при этомиспользуют буквы:
L = левое;
С = центральное;
R = правое.
2. Определение положениятранспортного средства, установленного для измерения
2.1. Координаты исходныхточек отсчета
X____________________________
Y____________________________
Z____________________________
3. Перечень исходныхданных
3.1. Место длясидения__________________
3.1.1. Координаты точки R
X___________________________
Y___________________________
Z___________________________
3.1.2. Конструктивныйугол наклона туловища__________
3.1.3. Положение длярегулировки сиденья 1)
горизонтальное______________
вертикальное________________
угловое_____________________
угол наклонатуловища________
1) Ненужное вычеркнуть.
Примечание - Перечислить исходныеданные для других мест для сидения в 3.2, 3.3 и т.д.
Ключевые слова: крепление кабины грузового транспортного средства,манекен, испытание на удар