Настоящие Правила применяются в отношении электромагнитной совместимости транспортных средств категорий L, М, N и О, представленных предприятием-изготовителем транспортных средств, и в отношении элементов отдельных электрических/электронных технических блоков, предназначенных для установки на транспортных средствах.
| Обозначение: | ГОСТ Р 41.10-99* |
| Название рус.: | Единообразные предписания, касающиеся официального утверждения транспортных средств в отношении электромагнитной совместимости |
| Статус: | действующий |
| Дата актуализации текста: | 01.10.2008 |
| Дата добавления в базу: | 01.02.2009 |
| Дата введения в действие: | 01.07.2000 |
| Разработан: | ВНИИНМАШ |
| Утвержден: | Госстандарт России (26.05.1999) |
| Опубликован: | Издательство стандартов № 2000<br>Издательство стандартов № 2002 |
ГОСТ Р 41.10-99
(Правила ЕЭК ООН № 10)
государственный стандартроссийской федерации
единообразныепредписания, касающиеся официального утверждения транспортных средств вотношении электромагнитной совместимости
ГОССТАНДАРТ РОССИИ
Москва
Предисловие
1 РАЗРАБОТАН Всероссийскимнаучно-исследовательским институтом стандартизации и сертификации вмашиностроении (ВНИИНМАШ) на основе Правил ЕЭК ООН № 10, принятых Рабочейгруппой по конструкции транспортных средств КВТ ЕЭК ООН
ВНЕСЕН Госстандартом России
2 ПРИНЯТ И ВВЕДЕН В ДЕЙСТВИЕ Постановлением ГосстандартаРоссии от 26 мая
3 Настоящий стандарт представляетсобой идентичный текст Правил ЕЭК ООН № 10 с поправками серии 02 (с 03.09.97),Пересмотр 2 (документ E/ECE/324-E/ECE/TRANS/505/Add.9/Rev.2, дата вступления в силу 03.09.97)«Единообразные предписания, касающиеся официального утверждения транспортныхсредств в отношении электромагнитной совместимости» и включает в себя
Дополнение 1 к поправкам серии 02 - E/ECE/324-E/ECE/TRANS/505/Add.9/Rev.2/Amend.l
4 ВВЕДЕН ВПЕРВЫЕ
5 ИЗДАНИЕ (март
| государственный стандарт российской федерации |
| ЕДИНООБРАЗНЫЕ ПРЕДПИСАНИЯ, КАСАЮЩИЕСЯ ОФИЦИАЛЬНОГО УТВЕРЖДЕНИЯ ТРАНСПОРТНЫХ СРЕДСТВ В ОТНОШЕНИИ ЭЛЕКТРОМАГНИТНОЙ СОВМЕСТИМОСТИ Uniform provisions concerning the approval of vehicles with regard to electromagnetic compatibility |
Дата введения 2000-07-01
Настоящий стандарт вводит в действие Правила ЕЭК ООН № 10(далее - Правила).
Настоящие Правилаприменяются в отношении электромагнитной совместимости транспортных средствкатегорий L, М, N и О (далее -транспортные средства), представленных предприятием-изготовителем транспортныхсредств, и в отношении элементов отдельных электрических/электронныхтехнических блоков, предназначенных для установки на транспортных средствах.
(Измененнаяредакция, Изм. № 1)1).
1) Дополнение1 к поправкам серии 02 - E/ECE/324-E/ECE/TRANS/505/Add.9/Rev.2/Amend.l (здесь идалее).
В настоящихПравилах применяются следующие термины с соответствующими определениями:
2.1 электромагнитнаясовместимость: Способность транспортного средства или элемента (элементов)либо отдельного (отдельных) электрического (электрических)/электронного(электронных) технического (технических) блока (блоков) удовлетворительнофункционировать в электромагнитной среде, не создавая недопустимыхэлектромагнитных помех для какого бы то ни было объекта, находящегося в этойсреде.
2.2электромагнитные помехи: Любоеэлектромагнитное явление, которое может оказывать негативное влияние нафункционирование транспортного средства или элемента (элементов), либоотдельного (отдельных) электрического (электрических)/электронного(электронных) технического (технических) блока (блоков).
Электромагнитныепомехи могут представлять собой электромагнитный шум или изменения в самойсреде распространения.
2.3 устойчивостьк воздействию электромагнитных помех: Способность транспортного средстваили элемента (элементов), либо отдельного (отдельных) технического(технических) блока (блоков) функционировать без ухудшения показателейэффективности при наличии конкретных электромагнитных помех.
2.4 электромагнитнаясреда: Совокупность электромагнитных явлений, присутствующих в данномместе,
2.5 контрольныйпредел: Номинальный уровень, который служит эталоном для предельныхзначений в контексте официального утверждения типа и обеспечения соответствияпроизводства.
2.6 контрольнаяантенна для диапазона частот 20 -80 МГц: Укороченный резонансныйсимметричный вибратор, настроенный на частоту 80 МГц, а для диапазона частотсвыше 80 МГц - полуволновой резонансный симметричный вибратор, настроенный начастоту измерения.
(Измененнаяредакция, Изм. № 1)
2.7 широкополосные электромагнитные помехи: Электромагнитные помехи, диапазон которыхшире полосы пропускания используемого приемного устройства.
2.8 узкополосныеэлектромагнитные помехи: Электромагнитные помехи, диапазон которых ужеполосы пропускания используемого приемного устройства.
2.9 электрическая/электроннаясистема: Электрическое и/или электронное устройство или комплект устройствс любой соответствующей электропроводкой, которые являются частью транспортногосредства, но подлежат официальному утверждению отдельно от транспортногосредства. (Транспортное средство официально утверждается как единое целое, см. 3.1 настоящих Правил).
2.10 электрический/электронныйсборочный узел (ЭСУ): Электрическое и/или электронное устройство иликомплект устройств, которые должны вместе с любой соответствующейэлектропроводкой составлять часть транспортного средства и которые выполняютодну или несколько специальных функций. ЭСУ может быть официально утвержден попросьбе предприятия-изготовителя либо в качестве «элемента», либо в качестве«отдельного технического блока (ОТБ)».
2.11 типтранспортного средства: В контексте электромагнитной совместимости этотранспортные средства, не имеющие между собой существенных различий по такимаспектам, как:
2.11.1 общий размери форма моторного отсека;
2.11.2 общеерасположение электрических и/или электронных элементов и общая схема проводки;
2.11.3 исходный материал,из которого изготовлен кузов или корпус (где это применимо) транспортногосредства (например, корпус кузова из стали, алюминия или стекловолокна).Наличие панелей, выполненных из иного материала, не предполагает изменения типатранспортного средства, если исходный материал, из которого изготовлен кузов,остается неизменным. Однако такие отклонения должны быть указаны в сообщении.
2.12 тип ЭСУ: В контексте электромагнитнойсовместимости это ЭСУ, которые не различаются между собой по таким важным аспектам,как:
2.12.1 функция,выполняемая ЭСУ;
2.12.2 общеерасположение электрических и/или электронных элементов.
3.1 Официальное утверждение типатранспортного средства
3.1.1 Заявка наофициальное утверждение типа транспортного средства в отношении егоэлектромагнитной совместимости подается предприятием-изготовителемтранспортного средства.
3.1.2 Образецинформационного документа приведен в приложении 2А.
3.1.3 Предприятие-изготовитель транспортногосредства составляет перечень, в котором указываются все планируемые комбинациисоответствующих электрических/электронных систем или ЭСУ транспортногосредства, типы кузова (где это применимо), варианты материалов, из которыхизготовляется кузов (где это применимо), общие схемы проводки, вариантыдвигателя, варианты с левосторонним/правосторонним рулевым управлением иварианты колесной базы. Соответствующими электрическими/электронными системамиили ЭСУ транспортного средства являются те системы или узлы, которые могутпроизводить значительные широкополосные или узкополосные помехи и/или которыесвязаны с непосредственным управлением транспортным средством водителем (см.пункт 6.4.2.3настоящих Правил).
3.1.4 По взаимномусогласованию между предприятием-изготовителем и компетентным органом из этогоперечня выбирается транспортное средство, которое является репрезентативным длятипа, подлежащего официальному утверждению. Выбор транспортного средствапроизводится с учетом электрических/электронных систем, предлагаемыхпредприятием-изготовителем. Из этого перечня может выбираться одно илинесколько транспортных средств, если по взаимному согласованию междупредприятием-изготовителем и компетентным органом признается, что используютсяразличные электрические/электронные системы, которые могут оказать значительноевлияние на электромагнитную совместимость транспортного средства по сравнению спервым репрезентативным транспортным средством.
3.1.5 Выбортранспортного(ых) средства (средств) в соответствии с 3.1.4 ограничивается темикомбинациями (транспортное средство/электрическая/электронная система), которыепредназначены для реального производства.
3.1.6 В дополнение кзаявке предприятие-изготовитель может представить протокол о проведенныхиспытаниях. Любые такие представленные данные могут быть использованыкомпетентным органом, ответственным за официальное утверждение, для составлениякарточки сообщения об официальном утверждении типа.
3.1.7 Еслитехническая служба, ответственная за проведение испытания для официальногоутверждения типа, проводит испытание сама, то предоставляется транспортноесредство, являющееся репрезентативным для типа, подлежащего официальномуутверждению, в соответствии с 3.1.4.
3.2 Официальное утверждениетипа ЭСУ
3.2.1 Заявка наофициальное утверждение типа ЭСУ в отношении его электромагнитной совместимостиподается предприятием-изготовителем транспортного средства илипредприятием-изготовителем ЭСУ.
3.2.2 Образецинформационного документа приведен в приложении 2В.
3.2.3 В дополнение кзаявке предприятие-изготовитель может представить протокол о проведенныхиспытаниях. Любые такие представленные данные могут быть использованыкомпетентным органом, ответственным за официальное утверждение, для целисоставления сообщения об официальном утверждении типа.
3.2.4 Еслитехническая служба, ответственная за проведение испытания для официальногоутверждения типа, проводит испытание сама, то предоставляется образец системыЭСУ, являющийся репрезентативным для типа, подлежащего официальномуутверждению. Делается это, при необходимости, после обсуждения спредприятием-изготовителем таких вопросов, как возможные варианты компоновки,количество элементов и количество датчиков. Техническая служба может выбратьдополнительный образец, если она сочтет это необходимым.
3.2.5 На образце(образцах) должна быть проставлена четкая и нестираемая маркировка с указаниемфирменного названия или торговой марки предприятия-изготовителя и обозначения типа.
3.2.6 Где этоприменимо, должны быть оговорены любые ограничения по эксплуатации. Любые такиеограничения должны быть указаны в приложениях 2В и/или 3В.
4.1 Процедуры официальногоутверждения типа
4.1.1 Официальноеутверждение типа транспортного средства
По усмотрениюпредприятия-изготовителя транспортного средства могут использоваться указанныениже альтернативные процедуры для официального утверждения типа транспортного средства.
4.1.1.1 Официальноеутверждение оборудованного транспортного средства
Оборудованноетранспортное средство может быть непосредственно официально утверждено по типуна основе выполнения предписаний, изложенных в разделе 6 настоящий Правил. Еслипредприятие-изготовитель транспортного средства выбирает эту процедуру, тоотдельного испытания электрических/электронных систем или ЭСУ не требуется.
4.1.1.2 Официальноеутверждение типа транспортного средства посредством испытания отдельных ЭСУ
Предприятие-изготовительтранспортного средства может получить официальное утверждение для транспортногосредства, если оно продемонстрирует компетентному органу, ответственному заофициальное утверждение, что все соответствующие (см. 3.1.3 настоящих Правил) электрические/электронные системы илиЭСУ были официально утверждены в соответствии с настоящими Правилами и былиустановлены с соблюдением всех оговоренных в них условий.
4.1.1.3 Предприятие-изготовительможет, если оно того пожелает, получить официальное утверждение для целейнастоящих Правил, если транспортное средство не имеет оборудования типа,подлежащего испытаниям на устойчивость к воздействию помех или на предметсоздания помех. На транспортном средстве не должно быть систем, указанных в3.1.3 (устойчивость к воздействию помех), и оборудования искрового зажигания.Такие официальные утверждения не требуют проведения испытаний.
4.1.2 Официальноеутверждение типа ЭСУ
Официальноеутверждение типа может быть предоставлено для ЭСУ, подлежащего установке либона любом типе транспортных средств, либо на конкретном типе или типахтранспортных средств в соответствии с заявкой предприятия-изготовителя. ДляЭСУ, связанных с непосредственным управлением транспортными средствами,официальные утверждения типа будут предоставляться, как правило, посогласованию с предприятием-изготовителем транспортного средства.
4.2Предоставление официального утверждения типа
4.2.1 Транспортноесредство
4.2.1.1 Официальноеутверждение типа предоставляется в том случае, если репрезентативноетранспортное средство отвечает требованиям раздела 6 настоящих Правил.
4.2.1.2 Образецкарточки сообщения об официальном утверждении типа приведен в приложении 3А.
4.2.2 ЭСУ
4.2.2.1 Официальноеутверждение типа предоставляется в том случае, если репрезентативная(репрезентативные) система (системы) ЭСУ соответствует (соответствуют)требованиям раздела 6настоящих Правил.
4.2.2.2 Образецкарточки сообщения об официальном утверждении типа приведен в приложении 3В.
4.2.3 Для целейсоставления карточек сообщений, упомянутых в 4.2.1.2 или 4.2.2.2, компетентныйорган Договаривающейся стороны, предоставляющий официальное утверждение, можетиспользовать отчет, подготовленный или одобренный либо признанной лабораторией,либо в соответствии с положениями настоящих Правил.
4.3 СтороныСоглашения, применяющие настоящие Правила, уведомляются об официальномутверждении или об отказе в официальном утверждении типа транспортного средстваили ЭСУ посредством карточки, соответствующей образцу, приведенному вприложении 3А или 3В настоящих Правил, к которойприлагаются фотографии и/или схемы либо чертежи в надлежащем масштабе,представленные подателем заявки в формате, не превышающем А4 (210х297 мм), илисложенные до этих размеров.
5.1 Каждомуофициально утвержденному типу транспортного средства или ЭСУ присваиваетсяномер официального утверждения, первые две цифры которого (в настоящее время02) указывают на серию поправок, включающую самые последние важнейшиетехнические изменения, внесенные в Правила к моменту предоставленияофициального утверждения. Одна и та же Договаривающаяся сторона не можетприсвоить этот номер официального утверждения другому типу транспортногосредства или ЭСУ.
5.2 Наличие маркировки
5.2.1 Транспортноесредство
Знак официальногоутверждения, описанный в 5.3, проставляется на каждом транспортном средстве,соответствующем типу, официально утвержденному на основании настоящих Правил.
5.2.2 Сборочный узел
Знак официальногоутверждения, описанный в 5.3, проставляется на каждом ЭСУ, соответствующемтипу, официально утвержденному на основании настоящих Правил.
Дляэлектрических/электронных систем, встроенных в транспортные средства, которыеофициально утверждены как единое целое, никакой маркировки не требуется.
5.3 На каждомтранспортном средстве, соответствующем типу, официально утвержденному наосновании настоящих Правил, должен проставляться на видном и легкодоступномместе, указанном в карточке сообщения об официальном утверждении, международныйзнак официального утверждения. Этот знак состоит из:
5.3.1 круга, вкотором проставлена буква «Е», за которой следует отличительный номер страны,предоставившей официальное утверждение 1);
(Измененнаяредакция, Изм. № 1).
5.3.2 номеранастоящих Правил, буквы «R»,тире и номера официального утверждения, проставленных справа от круга,указанного в пункте 5.3.1.
5.4 Пример знакаофициального утверждения типа приведен в приложении 1 настоящих Правил.
5.5 Маркировка,проставляемая на ЭСУ в соответствии с 5.3, может быть невидимой, когда ЭСУустановлен на транспортном средстве.
1) 1 - Германия, 2 - Франция, 3 - Италия, 4 -Нидерланды, 5 - Швеция, 6 - Бельгия, 7 - Венгрия, 8 - Чешская Республика, 9 -Испания, 10 - Югославия, 11 - Соединенное Королевство, 12 - Австрия, 13 -Люксембург, 14 - Швейцария, 15 - не присвоен, 16 - Норвегия, 17 - Финляндия, 18- Дания, 19 - Румыния, 20 - Польша, 21 - Португалия, 22 - Российская Федерация,23 - Греция, 24 - не присвоен, 25 - Хорватия, 26 - Словения, 27 - Словакия, 28- Беларусь, 29 - Эстония, 30 - не присвоен, 31 - Босния и Герцеговина, 32 -Латвия, 33 - не присвоен, 34 - Болгария, 35 -36 - не присвоены, 37 - Турция, 38-39 - не присвоены, 40 - бывшая югославская Республика Македония, 41 - неприсвоен, 42 - Европейское сообщество (официальные утверждения предоставляются егогосударствами-членами с использованием его соответствующего символа ЕЭК) и 43 -Япония. Последующие порядковые номера присваиваются другим странам вхронологическом порядке ратификации ими Соглашения о принятии единообразныхтехнических предписаний для колесных транспортных средств, предметовоборудования и частей, которые могут быть установлены и (или) использованы наколесных транспортных средствах, и об условиях взаимного признания официальныхутверждений, выдаваемых на основе этих предписаний, или в порядке ихприсоединения к этому Соглашению. Присвоенные им, таким образом, номерасообщаются Генеральным секретарем Организации Объединенных НацийДоговаривающимся сторонам Соглашения.
6.1 Общиетехнические требования
6.1.1 Транспортноесредство [и его электрическая (электрические)/электронная (электронные) система(системы) или ЭСУ] должно быть спроектировано и оборудовано таким образом,чтобы при нормальных условиях эксплуатации транспортное средствосоответствовало предписаниям настоящих Правил.
6.2 Технические требования, касающиесяширокополосных электромагнитных помех, производимых транспортными средствами,оснащенными искровым зажиганием
6.2.1 Методизмерения
Измерениеэлектромагнитных помех, производимых транспортным средством, являющимсярепрезентативным для своего типа, осуществляется в соответствии с методом,описанным в приложении 4, налюбом из двух оговоренных расстояний расположения антенны. Расстояниевыбирается предприятием-изготовителем транспортного средства.
6.2.2Контрольный предел для широкополосных электромагнитных помех, производимыхтранспортным средством.
6.2.2.1Если измерения проводятся всоответствии с методом, описанным в приложении 4, при расстоянии междутранспортным средством и антенной (10,0±0,2) м, то контрольный предел излученияв полосе частот от 30 до 75 МГц составляет 34 дБ мкВ/м (50 мкВ/м); в пол осечастот от 75 до 400 МГц он логарифмически (линейно) увеличивается от 34 до 45дБ мкВ/м (50-180 мкВ/м) (как показано в дополнении 1 к настоящим Правилам), а в полосечастот от 400 до 1 000 МГц он остается постоянным на уровне 45 дБ мкВ/м (180мкВ/м).
6.2.2.2Если измерения проводятся в соответствиис методом, описанным в приложении 4, при расстоянии между транспортнымсредством и антенной (3,0±0,05) м, то контрольный предел излучения в полосечастот от 30 до 75 МГц составляет 44 дБ мкВ/м (160 мкВ/м); в полосе частот от75 до 400 МГц он логарифмически (линейно) увеличивается от 44 до 55 дБ мкВ/м(160-562 мкВ/м) (как показано в дополнении 2 к настоящим Правилам), а в полосе частот от400 до 1000 МГц он остается постоянным на уровне 55 дБ мкВ/м (562 мкВ/м).
6.2.2.3 Натранспортном средстве, представленном для официального утверждения, измеренныезначения, выраженные в дБ мкВ/м (мкВ/м), должны быть по меньшей мере на 2,0 дБ(20%) ниже контрольного предела.
6.3 Техническиетребования, касающиеся узкополосных электромагнитных помех, производимых .транспортными средствами*
6.3.1 Методизмерения
Измерениеэлектромагнитных помех, производимых транспортным средством типа,представленного для официального утверждения, осуществляется в соответствии сметодом, описанным в приложении 5,на любом из двух оговоренных расстояний расположения антенны.
Расстояниевыбирается предприятием-изготовителем транспортного средства.
6.3.2 Контрольный предел для узкополосныхэлектромагнитных помех, производимых транспортным средством
6.3.2.1Если измерения проводятся всоответствии с методом, описанным в приложении 5, при расстоянии между транспортным средствоми антенной (10,0±0,2) м, то контрольный предел излучения в полосе частот от 30до 75 МГц составляет 24 дБ мкВ/м (16 мкВ/м); в полосе частот от 75 до 400 МГцон логарифмически (линейно) увеличивается от 24 до 35 дБ мкВ/м (16-56 мкВ/м)(как показано в дополнении 3 к настоящим Правилам), а в полосе частот от400 до 1000 МГц он остается постоянным на уровне 35 дБ мкВ/м (56 мкВ/м).
6.3.2.2Если измерения проводятся всоответствии с методом, описанным в приложении 5, при расстоянии междутранспортным средством и антенной (3,0±0,05) м, то контрольный предел излученияв полосе частот от 30 до 75 МГц составляет 34 дБ мкВ/м (50 мкВ/м); в полосечастот от 75 до 400 МГц он логарифмически (линейно) увеличивается от 34 до 45дБ мкВ/м (50-180 мкВ/м) (как показано в дополнении 4 кнастоящим Правилам), а в полосе частот от 400 до 1 000 МГц он остаетсяпостоянным на уровне 45 дБ мкВ/м (180 мкВ/м).
6.3.2.3 Натранспортном средстве, представленном для официального утверждения, измеренныезначения, выраженные в дБ мкВ/м (мкВ/м), должны быть по меньшей мере на 2,0 дБ(20 %) ниже контрольного предела.
6.3.2.4Независимо от пределов,определенных в 6.3.2.1, 6.3.2.2 и 6.3.2.3 настоящих Правил, если напервоначальном этапе, описанном в 1.3 приложения 5, сила сигнала, измеренная нарадиоантенне транспортного средства, составляет менее 20 дБ мкВ (10 мкВ) вполосе частот от 88 до 108 МГц, то считается, что транспортное средствосоответствует пределам для узкополосных электромагнитных помех и дальнейшихиспытаний не требуется.
*Дата введения 01.01.2005 г.
6.4 Технические требования, касающиесяустойчивости транспортных средств к воздействию электромагнитного излучения*
6.4.1 Метод испытания
Испытание транспортногосредства, представленного для официального утверждения, на устойчивость квоздействию электромагнитного излучения проводится в соответствии с методом,описанным в приложении 6.
6.4.2 Контрольные пределы для устойчивоститранспортного средства
6.4.2.1 Если испытания проводятся в соответствии сметодом, описанным в приложении 6, то среднее квадратическое значениеконтрольного предела напряженности поля составляет 24 В/м на 90 % полосы частотот 20 до 1 000 МГц и 20 В/м во всей полосе частот от 20 до 1 000 МГц.
6.4.2.2 Считается,что транспортное средство, являющееся репрезентативным для своего типа,соответствует требованиям в отношении устойчивости, если в ходе испытаний,проводимых в соответствии с приложением 6, и при напряженности поля, которая выраженав В/м и которая на 25 % превышает контрольный уровень, водитель или другиеучастники дорожного движения не замечают никакого аномального изменения вскорости вращения ведущих колес транспортного средства, никакого ухудшенияэффективности функционирования, которое создавало бы неудобства для другихучастников дорожного движения, и никакого ухудшения в непосредственномуправлении транспортным средством.
6.4.2.3 Непосредственное управление транспортнымсредством осуществляется, например, при помощи рулевого управления, торможенияили изменения числа оборотов двигателя.
* - Дата введения 01.01.2005г.
6.5 Технические требования, касающиеся широкополосныхэлектромагнитных помех, производимых ЭСУ*
6.5.1 Методизмерения
Измерениеэлектромагнитного излучения, генерируемого ЭСУ, являющимся репрезентативным длясвоего типа, должно осуществляться в соответствии с методом, описанным вприложении 7.
6.5.2 Широкополосныйконтрольный предел для ЭСУ
6.5.2.1Если измерения проводятся всоответствии с методом, описанным в приложении 7, то контрольный предел излучения в полосечастот от 30 до 75 МГц логарифмически (линейно) уменьшается от 64 до 54 дБмкВ/м (1 600 -500 мкВ/м); в полосе частот от 75 до 400 МГц он логарифмически(линейно) увеличивается от 54 до 65 дБ мкВ/м (500-1 800 мкВ/м) (как показано вдополнении 5к настоящим Правилам), а в полосе частот от 400 до 1 000 МГц он остаетсяпостоянным на уровне 65 дБ мкВ/м (1800 мкВ/м).
6.5.2.2 На ЭСУ,являющемся репрезентативным для своего типа, измеренные значения, выраженные в дБмкВ/м (мкВ/м), должны быть по меньшей мере на 2,0 дБ (20%) ниже контрольногопредела.
*Дата введения 01.01.2005 г.
6.6 Технические требования, касающиеся узкополосных электромагнитныхпомех, производимых ЭСУ*
6.6.1 Метод измерения
Измерениеэлектромагнитных помех, производимых ЭСУ, являющимся репрезентативным длясвоего типа, должно осуществляться в соответствии с методом, описанным вприложении 8.
6.6.2 Контрольные пределы для узкополосныхэлектромагнитных помех, производимых ЭСУ
6.6.2.1Если измерения проводятся всоответствии с методом, описанным в приложении 8,то контрольный предел излучения в полосе частот от 30 до 75 МГц логарифмически(линейно) уменьшается от 54 до 44 дБ мкВ/м (500 -160 мкВ/м); в полосе частот от75 до 400 МГц он логарифмически (линейно) увеличивается от 44 до 55 дБ мкВ/м(160 -560 мкВ/м) (как показано в дополнении 6 к настоящим Правилам), а в полосечастот от 400 до 1 000 МГц он остается постоянным на уровне 55 дБ мкВ/м (560мкВ/м).
6.6.2.2 На ЭСУ,являющемся репрезентативным для своего типа, измеренные значения, выраженные вдБ мкВ/м (мкВ/м), должны быть по меньшей мере на 2,0 дБ (20 %) нижеконтрольного предела.
* Датавведения 01.01.2005 г.
6.7 Технические требования, касающиеся устойчивости ЭСУ к воздействиюэлектромагнитного излучения*
6.7.1 Метод(ы)испытания
Испытание ЭСУ,представленного для официального утверждения, на устойчивость к воздействиюэлектромагнитного излучения должно проводиться в соответствии с методом(методами), выбранным (выбранными) из числа описанных в приложении 9.
6.7.2 Контрольные пределы для устойчивости ЭСУ
6.7.2.1Если испытания проводятся всоответствии с методами, описанными в приложении 9,то контрольные уровни составляют 48 В/м для метода испытания в150-миллиметровой полосковой системе, 12 В/м - для метода испытания в800-миллиметровой полосковой системе, 60 В/м - для метода испытания в камереПЭК**, 48 мА - для метода испытания путем непосредственной инжекции тока (НИТ)и 24 В/м - для метода испытания в условиях свободного поля.
6.7.2.2 Принапряженности поля или напряжении тока, выраженных в соответствующих единицахлинейных измерений, на 25 % выше контрольного предела на ЭСУ, являющемсярепрезентативным для своего типа, не должно наблюдаться каких-либо сбоев,способных вызывать какое-либо ухудшение эффективности функционирования, котороемогло бы создать неудобства для других участников дорожного движения, иликакое-либо ухудшение в непосредственном управлении транспортным средством,оснащенным данной системой.
*Дата введения 01.01.2005 г.
**Поперечные электромагнитные колебания.
6.8 Исключения (поправки серии 02)
6.8.1 Еслитранспортное средство или электрическая/электронная система, либо ЭСУ не имеетэлектронного генератора с рабочей частотой, превышающей 9 кГц, то считается,что оно соответствует положениям 6.3.2 или 6.6.2 настоящих Правил и приложений 5 и 8.
6.8.2 Длятранспортных средств, не имеющих электрических/электронных систем или ЭСУ,связанных с непосредственным управлением транспортным средством, испытаний наустойчивость не требуется и считается, что они соответствуют положениям 6.4 настоящих Правил иприложения 6.
6.8.3 Для ЭСУ, функциикоторых не имеют существенно важного значения для непосредственного управлениятранспортным средством, испытания на устойчивость не проводят и считают, чтоони соответствуют положениям 6.7настоящих Правил и приложения 9.
6.8.4Электростатический разряд
В случаетранспортных средств, оснащенных шинами, комплекс кузова и шасси транспортного средстваможет рассматриваться как электрически изолированная структура. Существенныеэлектростатические силы в отношении среды, окружающей транспортное средство,возникают лишь в тот момент, когда водитель или пассажир входит в транспортноесредство или выходит из него. Поскольку в такие моменты транспортное средствонаходится в неподвижном состоянии, никакого испытания для официальногоутверждения на предмет электростатистического разряда не требуется.
6.8.5 Передающиесяпереходные процессы
Поскольку в обычныхусловиях дорожной эксплуатации к транспортным средствам не подводят внешниеэлектрические соединения, то никаких передающихся переходных процессов,способных воздействовать на внешнюю среду, не генерируется. Ответственность заобеспечение того, чтобы оборудование могло выдерживать передающиеся переходныепроцессы в транспортном средстве, например те, которые связаны с подачей илиотключением нагрузки и взаимодействием между системами, возлагается напредприятие-изготовитель. Считается, что никакого испытания для официальногоутверждения на предмет передающихся переходных процессов не требуется.
7.1 Еслипредприятие-изготовитель транспортного средства получил официальное утверждениетипа для оснащенного транспортного средства и желает установить дополнительнуюили альтернативную электрическую/электронную систему или ЭСУ, в отношениикоторой/которого уже получено официальное утверждение на основании настоящихПравил и которая/который будет установлена/установлен в соответствии со всемиизложенными в них условиями, то официальное утверждение транспортного средстваможет быть распространено без проведения дополнительных испытаний. Для целей соответствияпроизводства дополнительная или альтернативная электрическая/электроннаясистема или ЭСУ считается частью транспортного средства.
7.2 В тех случаях,когда в отношении дополнительной (дополнительных) или альтернативной(альтернативных) части (частей) не было получено официального утверждения наосновании настоящих Правил и испытание считается необходимым, транспортноесредство в целом считается соответствующим установленным требованиям, еслиможно продемонстрировать, что новая (новые) или измененная (измененные) часть(части) отвечает (отвечают) соответствующим предписаниям раздела 6, или если в ходесопоставительного испытания можно продемонстрировать, что новая часть вряд лиокажет негативное влияние на соответствие типа транспортного средства.
7.3Дополнительная установка предприятием-изготовителем транспортного средства наофициально утвержденном транспортном средстве стандартного оборудованиябытового или профессионального назначения, за исключением оборудования мобильнойсвязи, которое соответствует другим правилам и установка, замена или снятиекоторого осуществляется согласно рекомендациям предприятий-изготовителейоборудования и транспортных средств, не влечет за собой отмену официальногоутверждения транспортного средства. Это не препятствуетпредприятиям-изготовителям транспортных средств устанавливать оборудованиесвязи в соответствии с надлежащими инструкциями по установке, составленнымипредприятием-изготовителем транспортного средства и/или предприятием (предприятиями)-изготовителем(изготовителями) такого оборудования связи. Предприятие-изготовительтранспортного средства представляет (по требованию компетентного органа,ответственного за проведение испытаний) доказательства того, что такиепередающие устройства не оказывают негативного влияния на эффективностьфункционирования транспортного средства. В качестве такого доказательства можетвыступать заявление о том, что уровни мощности и схема установки являютсятакими, что уровни устойчивости к воздействию, оговоренные в настоящихПравилах, обеспечивают достаточную защиту при осуществлении изолированнойпередачи, то есть за исключением передачи, осуществляемой в комплексе сиспытаниями, оговоренными в разделе 6. Настоящие Правила не санкционируютиспользования передающего устройства связи, когда применяются другие требованияв отношении такого оборудования или его использования.
Процедурыобеспечения соответствия производства должны соответствовать процедурам,оговоренным в дополнении 2 к Соглашению (E/ECE/324-E/ECE/TRANS/505/Rev.2), с учетом нижеследующих требований.
8.1 Транспортныесредства или элементы либо ЭСУ, официально утвержденные на основании настоящихПравил, изготавливаются таким образом, чтобы они соответствовали официальноутвержденному типу с учетом требований, изложенных в разделе 6.
8.2 Соответствиепроизводства транспортного средства или элемента, либо отдельного техническогоблока проверяется на основе данных, содержащихся в карточке (карточках)сообщения об официальном утверждении типа, приведенной (приведенных) вприложении 3А и/или 3В настоящих Правил.
8.3 Есликомпетентный орган не удовлетворен процедурой проверки, выполненнойпредприятием-изготовителем, то проверку проводят по 8.3.1 и 8.3.2.
8.3.1 При проведениипроверки соответствия транспортного средства, элемента либо ЭСУ серийногопроизводства считается, что производство соответствует требованиям настоящихПравил в отношении широкополосных электромагнитных помех и узкополосныхэлектромагнитных помех, если измеренные уровни не превышают более чем на 2 дБ(25%) соответствующие контрольные пределы, предписанные в 6.2.2.1, 6.2.2.2, 6.3.2.1 и 6.3.2.2.
8.3.2 При проведениипроверки соответствия транспортного средства, элемента или ЭСУ серийногопроизводства считается, что производство соответствует требованиям настоящихПравил в отношении устойчивости к воздействию электромагнитного излучения, еслиЭСУ транспортного средства не оказывает никакого негативного влияния нанепосредственное управление транспортным средством, которое могло бы бытьзамечено водителем или другими участниками дорожного движения, когдатранспортное средство находится в состоянии, определенном в разделе 4приложения 6,и подвергается воздействию поля, напряженность которого, выраженная в В/м,составляет до 80% контрольных пределов, предписанных в 6.4.2.1.
9.1 Официальноеутверждение, предоставленное в отношении транспортного средства, элемента илиотдельного технического блока на основании настоящих Правил, может бытьотменено, если не соблюдаются требования, изложенные в разделе 6, или если выбранныетранспортные средства не проходят испытания, предусмотренные в разделе 6.
9.2 Если какая-либоСторона Соглашения, применяющая настоящие Правила, отменяет предоставленное еюранее официальное утверждение, она незамедлительно уведомляет об этом другиеДоговаривающиеся стороны, применяющие настоящие Правила, посредством карточкисообщения, соответствующей образцу, приведенному в приложениях 3А и 3В настоящих Правил.
Если владелецофициального утверждения полностью прекращает производство определенного типатранспортного средства или ЭСУ, официально утвержденного на основании настоящихПравил, он сообщает об этом компетентному органу, предоставившему официальноеутверждение, который в свою очередь сообщает об этом другим Сторонам Соглашения1958 года, применяющим настоящие Правила, посредством карточки сообщения,соответствующей образцу, приведенному в приложениях 3А и 3В настоящих Правил.
11.1 Внесениекаких-либо изменений в данный тип транспортного средства или ЭСУ доводится досведения административного органа, который предоставил официальное утверждениедля этого типа транспортного средства. Этот орган может:
11.1.1 прийти кзаключению, что внесенные изменения вряд ли оказывают значительное негативноевлияние и что в любом случае это транспортное средство или ЭСУ по-прежнемусоответствует предписаниям или
11.1.2 потребоватьновый протокол испытания от технической службы, ответственной за проведениеиспытаний.
11.2 Подтверждениеофициального утверждения или отказ в официальном утверждении направляетсявместе с перечнем изменений Сторонам Соглашения, применяющим настоящие Правила,в соответствии с процедурой, указанной в разделе 4.
11.3 Компетентныйорган, распространивший официальное утверждение, присваивает распространениюсерийный номер и уведомляет об этом другие Стороны Соглашения 1958 года,применяющие настоящие Правила, посредством карточки сообщения, соответствующейобразцам, приведенным в приложениях 3А и 3В настоящих Правил.
12.1 Начиная софициальной даты вступления в силу поправок серии 02 ни одна изДоговаривающихся сторон, применяющих настоящие Правила, не должна отказывать впредоставлении официальных утверждений на основании настоящих Правил свнесенными в них поправками серии 02.
12.2 Начиная с 1января
Для транспортныхсредств категории L положениянастоящего пункта применяют с 17 июня
12.3 Пункт 12.2 неприменяется в случае типов транспортных средств, официально утвержденных на основанииПравил № 24 до 1 января 1996 года, либо, где это применимо, в случаепоследующих распространений этих официальных утверждений.
Для транспортныхсредств категории L положения приложений 6 и 9 применяют с 18 августа
12.4 Начиная с 1октября 2002 года Договаривающиеся стороны, применяющие настоящие Правила,могут отказывать в признании официальных утверждений, которые не былипредоставлены в соответствии с положениями поправок серии 02 к настоящимПравилам.
Для транспортныхсредств категории L положениянастоящего пункта применяют с 18 августа
12.5 Вне зависимостиот пунктов 12.2 и 12.4 Договаривающиеся стороны, применяющие настоящие Правила,продолжают предоставлять официальные утверждения в соответствии с поправкамисерии 01 к настоящим Правилам:
12.5.1b отношениидеталей, предназначенных для использования на типах транспортных средств,которые были официально утверждены до указанных в пункте 12.2 дат на основанииПравил № 10 либо Правил № 24, и, где это применимо, последующие распространенияэтих официальных утверждений;
12.5.2 в отношениитранспортных средств категории L до даты вступления в силу дополнения 1 кпоправкам серии 02 к Правилам № 10, содержащим конкретные предписания для этихтранспортных средств.
12.2 -12.5 (Измененнаяредакция, Изм. № 1).
Стороны Соглашения 1958года, применяющие настоящие Правила, сообщают Секретариату ОрганизацииОбъединенных Наций наименования и адреса технических служб, уполномоченныхпроводить испытания для официального утверждения, а также административныхорганов, которые предоставляют официальные утверждения и которым следуетнаправлять выдаваемые в других странах регистрационные карточки официальногоутверждения, распространения официального утверждения, отказа в официальномутверждении или отмены официального утверждения.
Контрольныепределы для широкополосных электромагнитных помех, производимых транспортнымсредством
Расстояние между антенной и транспортным средством:

Частотыв мегагерцах - логарифмическая шкала (см. 6.2.2.1)
Контрольныепределы для широкополосных электромагнитных помех, производимых транспортнымсредством
Расстояние между антенной и транспортным средством:

Частоты в мегагерцах - логарифмическая шкала (см. 6.2.2.2)
Контрольныепределы для узкополосных электромагнитных помех, производимых транспортнымсредством
Расстояние между антенной и транспортным средством:

Частотыв мегагерцах - логарифмическая шкала (см. 6.3.2.1)
Контрольныепределы для узкополосных электромагнитных помех, производимых транспортнымсредством
Расстояние между антенной и транспортным средством:

Частотыв мегагерцах - логарифмическая шкала (см. 6.3.2.2)
ДОПОЛНЕНИЕ 5
(обязательное)
Контрольныепределы для широкополосных электромагнитных помех, производимыхэлектрическим/электронным сборочным узлом

Частотыв мегагерцах - логарифмическая шкала (см. 6.5.2.1)
Контрольныепределы для узкополосных электромагнитных помех, производимыхэлектрическим/электронным сборочным узлом

Частотыв мегагерцах - логарифмическая шкала (см. 6.6.2.1)
ОбразецА
(См. пункт 5.2 настоящих Правил)

а=минимум
Приведенный выше знак официального утверждения,проставленный на транспортном средстве или ЭСУ, указывает, что данный типтранспортного средства официально утвержден в Нидерландах (Е 4) в отношенииэлектромагнитной совместимости под номером 022439. Первые две цифры номераофициального утверждения указывают на то, что официальное утверждение былопредоставлено в соответствии с требованиями Правил № 10 с внесенными в нихпоправками серии 02.
ОбразецВ
(см. пункт 5.2 настоящих Правил)

а=минимум
Приведенный выше знак официального утверждения,проставленный на транспортном средстве или ЭСУ, указывает, что данный типтранспортного средства официально утвержден в Нидерландах (Е 4) в отношенииэлектромагнитной совместимости на основании Правил № 10 и 33 1).Номера официального утверждения указывают, что на момент предоставлениясоответствующих официальных утверждений Правила № 10 включали поправки серии02, а Правила № 33 были в их первоначальном виде.
1) Второй номер приведен в качестве примера.
Указанная нижеинформация, где это применимо, представляется в трех экземплярах и включаетоглавление.
Любые чертежипредставляются в надлежащем масштабе и в достаточно подробном виде на бумагеформатом А4 или на листах, сложенных до формата А4.
Фотографии, если ониимеются, должны быть достаточно четкими.
Если системы, элементы или отдельные технические блоки оснащеныустройствами электронного управления, то представляется информация об ихфункционировании.
ОБЩИЕ СВЕДЕНИЯ
1 Марка (фирменное название предприятия-изготовителя):
2 Тип и общее коммерческое описание (общие коммерческие описания):
3 Средства идентификации типа, если они указаны на транспортномсредстве (b):
4 Местоположение такой надписи:
5 Категория транспортного средства (с):
6 Наименование и адрес предприятия-изготовителя:
7 Адрес(а) сборочного (сборочных) предприятия (предприятий
ОБЩИЕХАРАКТЕРИСТИКИ КОНСТРУКЦИИ ТРАНСПОРТНОГО СРЕДСТВА
8 Фотография(фотографии) и/или чертеж(и) репрезентативного транспортного средства:
9 Место и схема расположения двигателя:
СИЛОВАЯ УСТАНОВКА (q)
10 Предприятие-изготовитель:
11 Код двигателя, присвоенный предприятием-изготовителем(проставленный на двигателе; или другие средства идентификации):
12 Принцип работы: принудительное зажигание/воспламенение отсжатия, четырехтактный/двухтактный 1)
13 Число и расположение цилиндров:
14 Максимальная полезная мощность (т) кВт при мин -1
15 Подача топлива
16 Через карбюратор(ы): да/нет 1)
17 Числокарбюраторов:
18 Посредствомвпрыска топлива (только в случае воспламенения от сжатия): да/нет1)
19 Описание системы:
20 Посредствомвпрыска топлива (только в случае принудительного зажигания): да/нет1)
21 Описание системы:
22 Электрическая система
23 Номинальноенапряжение: В, положительное/отрицательное заземление1)
24 Генератор
25 Тип:
26 Номинальнаямощность: В-А
27 Зажигание
28 Тип(ы):
29 Принцип работы:
30 Электромотор
31 Тип (обмотка,возбуждение)
32 Максимальнаямощность в час: кВт
1)Ненужное зачеркнуть
ТРАНСМИССИЯ (v)
33 Тип(механическая, гидравлическая, электрическая и т. д.):
34 Краткое описаниеэлектрических/электронных элементов (если они имеются):
ПОДВЕСКА
35 Краткое описаниеэлектрических/электронных элементов (если они имеются):
РУЛЕВОЕ УПРАВЛЕНИЕ
36 Тип рулевойпередачи (указать для передней и задней осей, где это применимо):
37 Передача наколеса (включая немеханические средства; указать для передней и задней осей,где это применимо):
38 Краткое описаниеэлектрических/электронных элементов (если таковые имеются):
39 Диапазон и методрегулирования, если таковое возможно, рулевого управления:
ТОРМОЗА
40 Длятранспортных средств с антиблокировочными системами - описание функционированиясистемы (в том числе любых электронных частей), блок-схема электрической цепи,схема гидравлической или пневматической системы:
КУЗОВ
41 Тип кузова:
42 Ветровое стекло и другие стекла
43 Краткое описаниеэлектрических/электронных элементов (если таковые имеются) механизмастеклоподъемника:
44 Стеклоочиститель (стеклоочистители)
45 Подробноетехническое описание (включая фотографии или чертежи):
46 Обогрев и обдув стекол
47 Подробноетехническое описание (включая фотографии или чертежи):
48 Зеркала заднего вида (информация по каждомузеркалу)
49 Краткое описаниеэлектронных элементов (если таковые имеются) системы регулирования:
50 Сиденья
51 Характеристики:описание и чертежи.
52 системырегулирования
53 системоткидывания и фиксации:
54 Ремни безопасности и/или другиеудерживающие системы
55 Краткое описаниеэлектрических/электронных элементов (если таковые имеются):
56 Подавление радиопомех
57 Описание ичертежи/фотографии форм и составляющих материалов части кузова, образующеймоторный отсек, и ближайшей к нему части пассажирского салона:
58 Чертежи илифотографии, показывающие расположение металлических элементов, находящихся вмоторном отсеке (например, нагревательных устройств, запасного колеса,воздушного фильтра, механизма рулевого управления и т. д.):
59 Схема и чертежоборудования подавления радиопомех:
60 Подробные данныео номинальных значениях сопротивлений по постоянному току и - в случаерезистивных проводов зажигания - об их удельном сопротивлении на один метрдлины:
ПРИБОРЫ ОСВЕЩЕНИЯ ИСВЕТОВОЙ СИГНАЛИЗАЦИИ
61 Краткое описаниеэлектрических/электронных элементов, помимо ламп (если они имеются):
ПРОЧЕЕ
62 Устройства для предотвращениянесанкционированного использования транспортного средства
63 Техническоеописание устройства:
64 Краткое описаниеэлектрических/электронных элементов (если они имеются):
Описание транспортного средства, выбранногов качестве репрезентативного для данного типа
Тип кузова:
Левостороннее илиправостороннее управление:
Колесная база:
Имеющиеся элементыдополнительной комплектации:
Соответствующий(соответствующие) протокол(ы) испытаний, представленный (представленные) предприятием-изготовителемили одобренными/аккредитованными лабораториями для цели составления карточкисообщения об официальном утверждении типа.
Указанная нижеинформация, где это применимо, представляется в трех экземплярах и включаетоглавление.
Любые чертежипредставляются в надлежащем масштабе и в достаточно подробном виде на бумагеформатом А4 или на листах, сложенных до формата А4.
Фотографии, если ониимеются, должны быть достаточно четкими.
Если системы,элементы или отдельные технические блоки оснащены устройствами электронногоуправления, то представляется информация об их функционировании.
1 Марка (фирменноеназвание предприятия-изготовителя):
2 Тип и общеекоммерческое описание (общие коммерческие описания):
3 Наименование иадрес предприятия-изготовителя:
4 В случае элементови отдельных технических блоков - место и способ проставления знака официальногоутверждения:
5) предприятия(предприятий):
6 Данный ЭСУ долженбыть официально утвержден в качестве составляющего элемента/отдельноготехнического блока1)
7 Любые ограниченияв отношении эксплуатации и условия установки:
ОписаниеЭСУ, выбранного в качестве репрезентативного для данного типа:
Соответствующий(соответствующие) протокол(ы) испытаний, представленный (представленные)предприятием-изготовителем или одобренными/признанными лабораториями для целисоставления карточки сообщения об официальном утверждении типа.
1) Ненужное зачеркнуть.
СООБЩЕНИЕ,
[Максимальный формат: А4 (210x297 мм)]
направленное:_____________________________
наименование административного органа

Касающееся 2):
ОФИЦИАЛЬНОГО УТВЕРЖДЕНИЯ
РАСПРОСТРАНЕНИЯОФИЦИАЛЬНОГО УТВЕРЖДЕНИЯ
ОТКАЗА В ОФИЦИАЛЬНОМУТВЕРЖДЕНИИ
ОТМЕНЫ ОФИЦИАЛЬНОГОУТВЕРЖДЕНИЯ
ОКОНЧАТЕЛЬНОГО ПРЕКРАЩЕНИЯ ПРОИЗВОДСТВА
типа транспортногосредства/элемента/отдельного технического блокад на основании Правил № 10. Официальноеутверждение №.__________ Распространение №.______
1 Марка (фирменноенаименование предприятия-изготовителя):
2 Тип и общее(общие) коммерческое (коммерческие) описание (описания):
3 Средстваидентификации типа, если они указаны на транспортном средстве/элементе/отдельномтехническом блоке2):
3.1 Местоположениетакой надписи:
4 Категориятранспортного средства:
5 Наименование иадрес предприятия-изготовителя:
6 В случае элементови отдельных технических блоков - место и способ проставления знака официальногоутверждения:
7 Адрес(а)сборочного (сборочных) предприятия (предприятий):
8 Дополнительнаяинформация (где это применимо): см. дополнение, приведенное ниже
9 Техническаяслужба, ответственная за проведение испытаний:
10 Дата утвержденияпротокола испытания:
11 Номер протоколаиспытания:
12 Примечания (еслиони имеются): см. дополнение, приведенное ниже
13 Место:
14 Дата:
15 Подпись:
16 К настоящемусообщению прилагается указатель информационной документации, которая была сданакомпетентному органу, ответственному за официальное утверждение, и котораяможет быть получена по соответствующей просьбе.
1) Отличительный номер страны, котораяпредоставила/распространила/отменила официальное утверждение, отказала вофициальном утверждении (см. положения настоящих Правил об официальномутверждении).
2) Ненужное зачеркнуть.
Дополнениек карточке сообщения об официальном утверждении типа №___ касающейсяофициального утверждения типа транспортного средства на основании Правил № 10:
1 Дополнительнаяинформация
2 Специальныеустройства для цели приложения 4 настоящих Правил (где это применимо)(например____):
3 Номинальноенапряжение электрической системы:____ В, положительное/отрицательное заземление1)
4 Тип кузова:
5 Переченьэлектронных систем, установленных на транспортном (транспортных) средстве(средствах), подвергнутом (подвергнутых) испытаниям, включая предметы, неуказанные в информационном документе:
6Одобренная/аккредитованная лаборатория (для цели настоящих Правил),ответственная за проведение испытаний:
7Примечания:_____(например, пригодно для транспортных средств как слевосторонним, так и с правосторонним управлением)
1) Ненужное зачеркнуть.
СООБЩЕНИЕ,
[Максимальный формат: А4 (210×297 мм)]
направленное:_____________________________
наименование административного органа

Касающееся 1):
ОФИЦИАЛЬНОГОУТВЕРЖДЕНИЯ
РАСПРОСТРАНЕНИЯОФИЦИАЛЬНОГО УТВЕРЖДЕНИЯ
ОТКАЗА В ОФИЦИАЛЬНОМУТВЕРЖДЕНИИ
ОТМЕНЫ ОФИЦИАЛЬНОГОУТВЕРЖДЕНИЯ
ОКОНЧАТЕЛЬНОГО ПРЕКРАЩЕНИЯ ПРОИЗВОДСТВА
типа транспортногосредства/элемента/отдельного технического блокад на основании Правил № 10.Официальное утверждение №.__________ Распространение №.______
1 Марка (фирменноенаименование предприятия-изготовителя):
2 Тип и общее(общие) коммерческое (коммерческие) описание (описания):
3 Средстваидентификации типа, если они указаны на транспортномсредстве/элементе/отдельном техническом блоке2):
3.1 Местоположениетакой надписи:
4 Категориятранспортного средства:
5 Наименование иадрес предприятия-изготовителя:
6 В случае элементови отдельных технических блоков - место и способ проставления знака официальногоутверждения:
7 Адрес(а)сборочного (сборочных) предприятия (предприятий):
8 Дополнительнаяинформация (где это применимо): см. дополнение, приведенное ниже
9 Техническаяслужба, ответственная за проведение испытаний:
10 Дата утвержденияпротокола испытания:
11 Номер протоколаиспытания:
12 Примечания (еслиони имеются): см. дополнение, приведенное ниже
13 Место:
14 Дата:
15 Подпись:
16 К настоящемусообщению прилагается указатель информационной документации, которая была сданакомпетентному органу, ответственному за официальное утверждение, и котораяможет быть получена по соответствующей просьбе.
1) Отличительный номер страны, котораяпредоставила/распространила/отменила официальное утверждение, отказала вофициальном утверждении (см. положения настоящих Правил об официальномутверждении).
2) Ненужное зачеркнуть.
Дополнение к карточке сообщения об официальном утверждениитипа №.___, касающейся официального утверждения типаэлектрического/электронного сборочного узла на основании Правил № 10:
1 Дополнительная информация:
1.1 Номинальноенапряжение электрической системы:____ В, положительное/ отрицательное заземление1)
1.2 Данный ЭСУ можетиспользоваться на любом типе транспортных средств со следующими ограничениями:
1.2.1 Условияустановки, если они имеются:
1.3 Данный ЭСУ можетиспользоваться только на следующих типах транспортных средств:
1.3.1 Условия установки,если они имеются:
1.4 Использованный(использованные) конкретный (конкретные) метод(ы) испытания и охваченныедиапазоны частот для определения устойчивости к воздействию помех: (просьбаточно указать использованный метод из числа приведенных в приложении 9)
1.5Одобренная/аккредитованная лаборатория (для цели настоящих Правил),ответственная за проведение испытаний:
2 Примечания:
1) Ненужное зачеркнуть.
1 ОБЩИЕ ПОЛОЖЕНИЯ
1.1 Метод испытания,описанный в настоящем приложении, применяется только к транспортным средствам.
1.2 Измерительные приборы
Измерительное оборудованиедолжно соответствовать требованиям, изложенным в публикации № 16-1 (
Для измеренияширокополосных электромагнитных помех, как это предусмотрено в настоящемприложении, должен использоваться квазипиковый детектор; в случае использованияпикового детектора должен применяться надлежащий поправочный коэффициент взависимости от частоты импульсов новообразования.
1.3 Метод испытания
Данное испытаниепредназначено для измерения широкополосных излучений, генерируемых системамиискрового зажигания.
Допускаются дваальтернативных расстояния установки контрольной антенны:
2 ВЫРАЖЕНИЕРЕЗУЛЬТАТОВ
Результаты измеренийдолжны выражаться в дБ мкВ/м (мкВ/м) для полосы частот шириной 120 кГц. Еслифактическая ширина полосы частот F(выраженная в кГц) измерительного прибора отличается от 120 кГц, то полученныепоказания в мкВ/м необходимо привести к ширине полосы 120 кГц, умножив их накоэффициент 120/B.
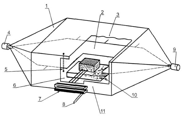
3 МЕСТО ПРОВЕДЕНИЯИЗМЕРЕНИЙ
3.1 Для проведенияиспытаний выбирается горизонтальная свободная площадка, не имеющаяповерхностей, отражающих электромагнитные волны, в пределах круга минимальнымрадиусом
Для транспортныхсредств категории L в качестве испытательной площадки может бытьиспользована любая площадка, соответствующая условиям, указанным на рисунке 2 в дополнении 1 кнастоящему приложению.
3.2 Измерительныйкомплекс, испытательный бокс или транспортное средство, в котором расположенизмерительный комплекс, могут находиться на испытательной площадке, но лишь впределах разрешенной зоны, показанной на рисунке 1 в дополнении 1 к настоящему приложению. Еслииспытательная площадка соответствует условиям, указанным на рисунке 2 в дополнении 1 к настоящемуприложению, то измерительное оборудование должно находиться за пределамиучастка, обозначенного на рисунке 2.
В зоне испытанийдопускается установка других измерительных антенн на расстоянии не менее
3.3 Испытания могутпроводиться в закрытых помещениях, если можно продемонстрировать соответствиемежду результатами, полученными в закрытом помещении, и результатами,полученными на открытой площадке. Закрытые помещения для испытаний могут несоответствовать требованиям в отношении размеров, которые приведены на рисунках1 и 2 в дополнении 1 к настоящему приложению, за исключением требований,касающихся расстояния от антенны до транспортного средства и высоты антенны. Нетребуется также проводить до и после испытания проверки уровней внешнихизлучений, указанных в 3.4 настоящего приложения.
3.1-3.3 (Измененная редакция, Изм. № 1).
3.4 Внешние условия
Для обеспечениятого, чтобы никакой посторонний шум или сигнал достаточной амплитуды неоказывал существенного влияния на измерения, до и после основного испытанияпроводят измерения в отношении внешних условий. Если при проведении измеренийфонового уровня транспортное средство находится на площадке, то нужнообеспечить, чтобы никакие излучения от транспортного средства не оказывализначительного влияния на измерения фонового уровня, например посредствомудаления транспортного средства из зоны испытания, удаления ключа замказажигания или отключения аккумуляторной батареи. При обоих измерениях уровеньпостороннего шума или сигнала должен быть по меньшей мере на 10 дБ нижеконтрольных пределов, указанных в 6.2.2.1 или 6.2.2.2 настоящих Правил, за исключением техслучаев, когда речь идет о преднамеренных внешних узкополосных передачах.
4 СОСТОЯНИЕТРАНСПОРТНОГО СРЕДСТВА ВО ВРЕМЯ ИСПЫТАНИЙ
4.1 Двигатель
Работающий двигательдолжен иметь нормальную рабочую температуру, а рычаг переключения передачдолжен находиться в нейтральном положении. Если по причине практическогохарактера достичь этого невозможно, то предприятие-изготовитель и компетентныйорган, ответственный за проведение испытаний, могут взаимно согласоватьальтернативные условия.
Необходимо позаботиться о том, чтобы механизм изменения режима работыдвигателя не оказывал влияния на уровень электромагнитных излучений. В ходекаждого измерения двигатель должен работать в следующих режимах:
| Тип двигателя | Метод измерения | |
| Квазипиковое значение | Пиковое значение | |
| Искровое зажигание | Число оборотов двигателя | Число оборотов двигателя |
| Один цилиндр | 2 500 мин-1 ± 10% | 2500 мин-1 ± 10% |
| Более одного цилиндра | 1 500 мин-1 ± 10 % | 1 500 мин-1 ± 10% |
4.2 Испытания транспортногосредства не должны проводиться под дождем или при других осадках и в течение 10мин после прекращения таких осадков.
5 ТИП, ПОЛОЖЕНИЕ ИОРИЕНТАЦИЯ АНТЕННЫ
5.1 Тип антенны
Допускаетсяиспользование любой антенны, если она может быть стандартизована в соответствиис требованиями, предъявляемыми к контрольной антенне. Для калибровки антенныможет использоваться метод, описанный в публикации МСКРП № 12, издание 3,дополнение А.
5.2 Высота и расстояние измерения
5.2.1 Высота
5.2.1.1 Испытание нарасстоянии
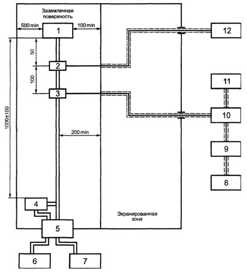
Фазовый центрантенны находится на высоте (3,00 ± 0,05) м над поверхностью, на которойрасполагается транспортное средство.
5.2.1.2 Испытание нарасстоянии
Фазовый центрантенны находится на высоте (1,80 ± 0,05) м над поверхностью, на которойрасполагается транспортное средство.
5.2.1.3 Ни одна изчастей каких-либо принимающих элементов антенны не должна находиться нарасстоянии менее
5.2.2 Расстояниеизмерения
5.2.2.1 Испытание нарасстоянии
Горизонтальноерасстояние от конца или другой соответствующей точки антенны, определенной входе процедуры стандартизации, описанной в 5.1 настоящего приложения, довнешней поверхности кузова транспортного средства должно составлять (10,0 ±0,2) м.
5.2.2.2 Испытание нарасстоянии
Горизонтальноерасстояние от конца или другой соответствующей точки антенны, определенной входе процедуры стандартизации, описанной в 5.1 настоящего приложения, довнешней поверхности кузова транспортного средства должно составлять (3,00 ±0,05) м.
5.2.2.3 Еслииспытание проводится в закрытом помещении для целей электромагнитногоэкранирования на радиочастотах, то принимающие элементы антенны должнынаходиться на расстоянии не менее
5.3 Расположениеантенны по отношению к транспортному средству
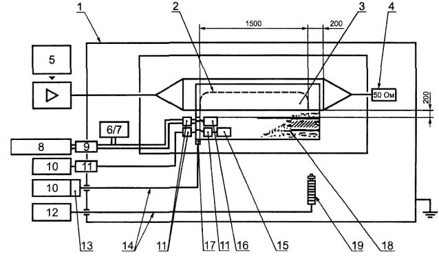
Антеннаустанавливается последовательно слева и справа от транспортного средства,причем она должна располагаться параллельно плоскости продольной симметриитранспортного средства и находиться на линии, проходящей через серединудвигателя (см. рисунки 3 и4в дополнении 1 к настоящему приложению).
(Измененная редакция, Изм. № 1).
5.4 Положение антенны
В каждой точкеизмерения показания должны сниматься как при горизонтальной, так и вертикальнойполяризации антенны (см. рисунок 2 в дополнении 1 к настоящему приложению).
5.5 Показания приборов
Максимальное изчетырех показаний, снятых в соответствии с 5.3 и 5.4 настоящего приложения накаждой фиксированной частоте, должно учитываться в качестве основногопоказания.
6 ЧАСТОТЫ
6.1 Измерения
Измерения должныпроводиться в диапазоне частот от 30 до 1000 МГц. Для подтверждения того, чтотранспортное средство отвечает требованиям настоящего приложения компетентныйорган, ответственный за проведение испытаний, должен проверить до 13 частот вэтом диапазоне, например: 45, 65, 90, 120, 150, 190, 230, 280, 380, 450, 600,750, 900 МГц. Если в ходе испытания предел превышается, то должно бытьпроведено расследование, чтобы убедиться, что это связано с помехами,производимыми транспортным средством, а не с фоновым излучением.
6.1.1 Пределыприменяются по всему диапазону частот от 30 МГц до 1 000 МГц.
6.1.2 Изменениямогут производиться при помощи либо квазипиковых, либо пиковых детекторов. В 6.2 и 6.5 настоящих Правил приведены пределы для квазипиковыхдетекторов. Если используется пиковый детектор, то для полосы шириной 1 МГцдобавляют 38 дБ, а для полосы шириной 1 кГц вычитают 22 дБ.
6.2 Допускаемые отклонения
| Фиксированная частота, МГц | Допускаемое отклонение, МГц |
| 45, 65, 90, 120, 150, 190 и 230 | ±5 |
| 280, 380, 450, 600, 750 и 900 | +20 |
Допускаемые отклоненияприменяются к указанным частотам и предназначены для учета возможного влияниясигналов, передаваемых на номинальных фиксированных частотах или на близких кним частотах во время измерения.
ПРИЛОЖЕНИЕ 4. Дополнение 1
(обязательное)

Рисунок 1 - Площадка для испытаний транспортного средства. Горизонтальная площадка, не имеющая поверхностей,отражающих электромагнитные волны
Границыповерхности имеют форму эллипса

Рисунок 2 -Свободная горизонтальная поверхность, не отражающая электромагнитных волн. Определениеграниц поверхности, обозначенной эллипсом
Симметричнаяантенна в положении для измерения вертикальной составляющей излучения

Симметричнаяантенна в положении для измерения горизонтальной составляющей излучения

Рисунок 3 -Расположение антенн по отношению к транспортному средству
Дипольнаяантенна в положении для измерения вертикальной составляющей излучения

Дипольнаяантенна в положении для измерения горизонтальной составляющей излучения

Рисунок 4 - Положение антенны поотношению к транспортному средству
1 ОБЩИЕ ПОЛОЖЕНИЯ
1 Метод испытания, описанный в настоящем приложении,применяется только к транспортным средствам.
1.2 Измерительныеприборы
Измерительное оборудование должно соответствоватьтребованиям, изложенным в публикации № 16-1 (
Для измерения узкополосных электромагнитных помех,приведенных в настоящем приложении, должен использоваться детектор среднихзначений или пиковый детектор.
1.3 Метод испытания
Данное испытание предназначено для измерения узкополосныхэлектромагнитных помех, которые могли бы производиться, например,микропроцессорной системой или другим источником узкополосных излучений. Преждевсего, проводится измерение уровней излучения в полосе частот ЧМ-радиовещания(88-108 МГц) на радиоантенне транспортного средства при помощи прибора,описанного выше в 1.2. Если уровень, указанный в 6.3.2.4 настоящих Правил, непревышается, то транспортное средство признается соответствующим пределу дляэлектромагнитных помех, предписанному настоящим приложением, и полномасштабноеиспытание может не проводиться.
В рамках процедуры полномасштабного испытания допускаютсядва альтернативных расстояния для измерения на антенне:
2 ВЫРАЖЕНИЕ РЕЗУЛЬТАТОВ
Результаты измерений должны выражаться в дБ мкВ/м (мкВ/м).
3 МЕСТО ПРОВЕДЕНИЯ ИЗМЕРЕНИЙ
Для проведения испытаний выбирается горизонтальная свободнаяплощадка, не имеющая поверхностей, отражающих электромагнитные волны, в пределахкруга минимальным радиусом
(Измененная редакция,Изм. № 1).
3.1 Измерительный комплекс, испытательный бокс илитранспортное средство, в котором расположен измерительный комплекс, могутнаходиться на испытательной площадке, но лишь в пределах разрешенной зоны,показанной на рисунках 1 и 2 в дополнении 1 к приложению 4.
В зоне испытаний допускается установка других измерительныхантенн на расстоянии не менее
3.2 Испытания могут проводиться в закрытых помещениях, еслиможно продемонстрировать соответствие между результатами, полученными взакрытом помещении, и результатами, полученными на открытой площадке. Закрытыепомещения для испытаний могут не соответствовать требованиям в отношенииразмеров, которые приведены на рисунках 1 и 2 в дополнении 1 к приложению 4, заисключением требований, касающихся расстояния от антенны до транспортногосредства и высоты антенны. Не требуется также проводить до или после испытанияпроверки уровней внешних излучений, указанных в 3.3 настоящего приложения.
3.1, 3 2 (Измененнаяредакция, Изм. № 1).
3.3 Внешние условия
Для обеспечения того, чтобы никакой посторонний шум илисигнал достаточной амплитуды не оказывал существенного влияния на измерения, дои после основного испытания должны проводиться измерения в отношении внешнихусловий. При проведении измерений фонового уровня нужно обеспечить, чтобыникакие излучения от транспортного средства не оказывали значительного влиянияна измерения фонового уровня, например посредством удаления транспортногосредства из зоны испытания, удаления ключа замка зажигания или отключенияаккумуляторной батареи. При обоих измерениях уровень постороннего шума илисигнала должен быть по меньшей мере на 10 дБ ниже контрольных пределов,указанных в 6.3.2.1 или 6.3.2.2настоящих Правил, за исключением тех случаев, когда речь идет о преднамеренныхвнешних узкополосных передачах.
4 СОСТОЯНИЕТРАНСПОРТНОГО СРЕДСТВА ВО ВРЕМЯ ИСПЫТАНИЙ
4.1 Все электронныесистемы транспортного средства должны находиться в нормальном рабочем режиме,транспортное средство должно находиться в неподвижном состоянии.
4.2 Зажигание должнобыть включено, двигатель должен быть выключен.
4.3 Испытаниятранспортного средства не должны проводиться под дождем или при других осадкахи в течение 10 мин после прекращения таких осадков.
5 ТИП, ПОЛОЖЕНИЕ ИОРИЕНТАЦИЯ АНТЕННЫ
5.1 Тип антенны
Допускаетсяиспользование любой антенны, если она может быть стандартизована в соответствиис требованиями, предъявляемыми к контрольной антенне. Для калибровки антенныможет использоваться метод, описанный в публикации МСКРП № 12, издание 3,дополнение А.
5.2 Высота и расстояние измерения
5.2.1 Высота
5.2.1.1 Испытание нарасстоянии
Фазовый центрантенны находится на высоте (3,00 ± 0,05) м над поверхностью, на которойрасполагается транспортное средство.
5.2.1.2 Испытание нарасстоянии
Фазовый центрантенны находится на высоте (1,80 ± 0,05) м над поверхностью, на которойрасполагается транспортное средство.
5.2.1.3 Ни одна изчастей каких-либо принимающих элементов антенны не должна находиться нарасстоянии менее
5.2.2 Расстояниеизмерения
5.2.2.1 Испытание нарасстоянии
Горизонтальноерасстояние от конца или другой соответствующей точки антенны, определенной входе процедуры стандартизации, описанной в 5.1 настоящего приложения, довнешней поверхности кузова транспортного средства должно составлять (10,0 ±0,2) м.
5.2.2.2 Испытание нарасстоянии
Горизонтальноерасстояние от конца или другой соответствующей точки антенны, определенной в ходепроцедуры стандартизации, описанной в 5.1 настоящего приложения, до внешнейповерхности кузова транспортного средства должно составлять (3,00 ± 0,05) м.
5.2.2.3 Еслииспытание проводится в закрытом помещении для целей электромагнитногоэкранирования на радиочастотах, то принимающие элементы антенны должнынаходиться на расстоянии не менее
5.3 Расположение антенны по отношению к транспортному средству
Антеннаустанавливается последовательно слева и справа от транспортного средства,причем она должна располагаться параллельно плоскости продольной симметриитранспортного средства и находиться на линии, проходящей через серединудвигателя (см. рисунки 3 и 4 вдополнении 1 к приложению 4).
5.4 Положение антенны
В каждой точкеизмерения показания должны сниматься как при горизонтальной, так и вертикальнойполяризации антенны (см. рисунки 3 и 4 в дополнении 1 к приложению 4).
5.3, 5.4 (Измененнаяредакция, Изм. № 1).
5.5 Показания приборов
Максимальноеиз четырех показаний, снятых в соответствии с 5.3 и 5.4 настоящего приложенияна каждой фиксированной частоте, должно учитываться в качестве основногопоказания.
6 ЧАСТОТЫ
6.1 Измерения
Измерения должныпроводиться в диапазоне частот от 30 до 1000 МГц. Этот диапазон должен быть разделенна 13 полос. В каждой полосе может быть проверена одна фиксированная частотадля подтверждения того, что требуемые пределы соблюдены. Для подтверждениятого, что транспортное средство отвечает требованиям настоящего приложения,компетентный орган, ответственный за проведение испытаний, должен провестииспытания на одной такой частоте в каждой из следующих 13 полос: 30-50, 50-75,75-100, 100-130, 130-165, 165-200, 200-250, 250-320, 320-400, 400-520, 520-660,660-820, 820-1000 МГц.
Если в ходе испытания предел превышается, то должно быть проведенорасследование, чтобы убедиться, что это связано с помехами, производимымитранспортным средством, а не с фоновым излучением.
1 ОБЩИЕ ПОЛОЖЕНИЯ
1.1 Метод испытания,описанный в настоящем приложении, применяется только к транспортным средствам.
1.2 Метод испытания
Данное испытаниепредназначено для того, чтобы продемонстрировать устойчивость показателейэффективности непосредственного управления транспортным средством. Транспортноесредство подвергается воздействию электромагнитных полей, как это описано внастоящем приложении. В ходе испытаний должно осуществляться наблюдение заповедением транспортного средства.
2 ВЫРАЖЕНИЕРЕЗУЛЬТАТОВ
Для целей испытания,описанного в настоящем приложении, показатели напряженности поля должнывыражаться в В/м.
3 МЕСТО ПРОВЕДЕНИЯИЗМЕРЕНИЙ
Испытательнаяустановка должна быть в состоянии создавать электромагнитные поля надлежащейнапряженности в диапазонах частот, определенных в настоящем приложении.Испытательная установка должна отвечать национальным юридическим требованиям вотношении излучения электромагнитных сигналов.
Для обеспечениядостоверности результатов испытаний должны быть приняты меры к тому, чтобысоздаваемые поля не оказывали влияния на оборудование контроля и наблюдения.
4 СОСТОЯНИЕТРАНСПОРТНОГО СРЕДСТВА ВО ВРЕМЯ ИСПЫТАНИЙ
4.1 Транспортноесредство должно находиться в порожнем состоянии, за исключением наличиянеобходимого оборудования для проведения испытаний.
4.1.1 Как правило,двигатель должен обеспечивать вращение ведущих колес с постоянной скоростью
(Измененная редакция, Изм. № 1).
4.1.2 Фары должны излучать ближний свет.
4.1.3 Должны быть включены левый и правый указателиповорота, если они установлены.
(Измененная редакция, Изм. № 1).
4.1.4 Все другиесистемы, связанные с управлением транспортным средством, должны быть в томсостоянии, в каком они находятся при нормальной эксплуатации транспортногосредства.
4.1.5 Транспортноесредство не должно иметь электрических соединений с испытательной площадкой, ине должно быть никаких соединений между транспортным средством и каким-нибудь оборудованием,за исключением тех, которые требуются в соответствии с 4.1.1 или 4.2 настоящегоприложения. Соприкосновение шин с поверхностью испытательной площадки не должнорассматриваться в качестве электрического соединения.
4.2 Если имеютсяэлектрические/электронные системы, являющиеся неотъемлемой частью оборудованиянепосредственного управления транспортным средством, которые не будутфункционировать в условиях, описанных в 4.1 настоящего приложения, топредприятие-изготовитель может представить компетентному органу, ответственномуза проведение испытаний, сообщение или дополнительные подтверждающие материалыо том, что электрические/электронные системы транспортного средства отвечаюттребованиям настоящих Правил. Такие подтверждающие материалы должны прилагатьсяк документации, касающейся официального утверждения типа.
4.3 Приосуществлении наблюдения за транспортным средством должно использоваться толькотакое оборудование, которое не производит помех. Чтобы определить, выполняютсяли требования настоящего приложения, осуществляют наблюдение за внешнимсостоянием транспортного средства и за пассажирским салоном [например,посредством использования видеокамер(ы)].
4.4 Как правило,транспортное средство должно быть обращено передней частью к стационарнойантенне. Однако если электронные блоки управления и соответствующаяэлектропроводка располагаются в основном в задней части транспортного средства,то во время испытания транспортное средство, как правило, должно быть обращенопередней частью от антенны. В случае длинномерных транспортных средств (то естьза исключением легковых автомобилей и легких автофургонов), в которыхэлектронные блоки управления и соответствующая проводка в основномрасполагаются ближе к середине транспортного средства, контрольная точка (см. 5.4 настоящегоприложения) должна быть установлена либо по правой, либо по левой сторонетранспортного средства. Эта контрольная точка должна находиться в центрепродольной оси транспортного средства или в какой-либо точке на одной из сторонтранспортного средства, выбранной предприятием-изготовителем совместно скомпетентным органом после изучения схем расположения электрических систем илюбой проводки.
Такое испытаниепроводится лишь в том случае, если это позволяют геометрические размерыиспытательной камеры. Место расположения антенны должно быть указано впротоколе испытания.
5 ТИП, ПОЛОЖЕНИЕ И ОРИЕНТАЦИЯ ПРИБОРА,СОЗДАЮЩЕГО ПОЛЕ
5.1 Тип прибора, создающегополе
5.1.1 Тип(ы)прибора, создающего поле, выбирается (выбираются) таким образом, чтобы вконтрольной точке (см. 5.4 настоящего приложения) достигалась желаемаянапряженность поля на надлежащих частотах.
5.1.2 Прибор(ы),генерирующий (генерирующие) поле, может (могут) представлять собой одну илинесколько антенн или проводную систему передачи (ПСП).
5.1.3 Конструкция и ориентация любого прибора,создающего поле, должны обеспечивать горизонтальную или вертикальнуюполяризацию создаваемого поля в полосе частот от 20 до 1000 МГц.
5.2 Высота и расстояние измерения
5.2.1 Высота
5.2.1.1 Фазовыйцентр любой антенны должен находиться на высоте не менее
5.2.1.2 Ни одна изчастей каких-либо излучающих элементов антенны не должна находиться нарасстоянии менее
5.2.2 Расстояниеизмерения
5.2.2.1 Максимальноеприближение к реальным условиям эксплуатации может быть достигнуто за счетустановки прибора, создающего поле, как можно дальше от транспортного средства.Это расстояние обычно составляет от 1 до
5.2.2.2 Еслииспытание проводится в закрытом помещении, то излучающие элементы прибора,создающего поле, должны находиться на расстоянии не менее
5.3 Расположение антенны по отношению к транспортному средству
5.3.1 Излучающиеэлементы прибора, создающего поле, должны находиться на расстоянии не менее
5.3.2 Прибор,создающий поле, должен находиться на осевой линии транспортного средства(плоскость продольной симметрии).
5.3.3 Ни одна изчастей ПСП, за исключением поверхности, на которой располагается транспортноесредство, не должна находиться на расстоянии менее
5.3.4 Любой прибор,создающий поле и устанавливаемый над транспортным средством, должен охватыватьпо центру по меньшей мере 75 % длины транспортного средства.
5.4 Контрольная точка
5.4.1 Для целейнастоящего приложения контрольной точкой является точка, в которой определяетсянапряженность поля и которая находится:
5.4.1.1 нарасстоянии не менее
5.4.1.2 на осевойлинии транспортного средства (плоскость продольной симметрии);
5.4.1.3 на высоте(1,0±0,05) м над поверхностью, на которой располагается транспортное средство,или (2,0±0,05) м, если минимальная высота крыши любого транспортного средстваданной модели превышает
5.4.1.4 либо(1,0±0,2) м внутри транспортного средства - измерение проводят от точкипересечения плоскостей ветрового стекла и капота двигателя транспортногосредства (точка С в дополнении 1к настоящему приложению), либо (0,2±0,02) м от осевой линии передней оситранспортного средства - измерение проводят в направлении к центрутранспортного средства (точка D в дополнении 2 кнастоящему приложению) - в зависимости от того, какая из точек находится ближек антенне, либо на расстоянии (1,0±0,2) м за вертикальной осевой линиейпереднего колеса транспортного средства (точка С, указанная в дополнении3 к настоящему приложению) для трехколесных транспортныхсредств, либо на расстоянии (0,2±0,02) м за вертикальной осевой линиейпереднего колеса транспортного средства (точка D, указанная в дополнении 4 к настоящему приложению)для двухколесных транспортных средств.
5.5 Если принимаетсярешение подвергнуть воздействию излучения заднюю часть транспортного средства,то контрольная точка должна устанавливаться, как указано в 5.4 настоящегоприложения. Затем транспортное средство устанавливают в положение, при которомего передняя часть обращена от антенны, и располагают, таким образом, как еслибы оно было развернуто в горизонтальной плоскости на 180° вокруг егоцентральной точки, то есть так, чтобы расстояние от антенны до ближайшей частинаружной поверхности корпуса транспортного средства оставалось неизменным. Этопоказано в дополнениях 5 и 6 к настоящему приложению с учетомсоответствующей категории транспортного средства.
5.4.1.4, 5.5 (Измененная редакция, Изм. № 1).
6 ТРЕБОВАНИЯ ВОТНОШЕНИИ ИСПЫТАНИЙ
6.1 Диапазон частот,продолжительность, поляризация
Транспортноесредство подвергается воздействию электромагнитного излучения в диапазонечастот от 20 до 1000 МГц.
6.1.1 Для подтверждения того, что транспортноесредство отвечает требованиям настоящего приложения, транспортное средствоподвергается испытанию с использованием до 14 фиксированных частот в рамкахданного диапазона, например: 27, 45, 65, 90, 120, 150, 190, 230, 280, 380, 450,600, 750 и 900 МГц.
Должно приниматьсяво внимание время реагирования испытываемого оборудования; продолжительностьиспытания должна быть достаточной для того, чтобы испытываемое оборудованиемогло реагировать при нормальных условиях. В любом случае она должна составлятьне менее 2 с.
6.1.2 На каждойчастоте должен использоваться единственный тип поляризации - см. 5.1.3 настоящегоприложения.
6.1.3 Все другиепараметры испытания должны соответствовать параметрам, определенным в настоящемприложении.
6.1.4 Еслитранспортное средство не выдерживает испытание, определенное в 6.1.1 настоящегоприложения, то необходимо удостовериться в том, что несоответствия имели местов адекватных условиях испытания при отсутствии неконтролируемых полей.
7 СОЗДАНИЕТРЕБУЕМОЙ НАПРЯЖЕННОСТИ ПОЛЯ
7.1 Методология испытания
7.1.1 Для получениянапряженности поля, необходимой для проведения испытания, используется «методзамены».
7.1.2 Этапкалибровки
Для созданиятребуемой напряженности поля в контрольной точке на прибор, создающий поле,подается определенный уровень мощности на каждой испытательной частоте (как этоопределено в разделе 5 настоящегоприложения) при отсутствии транспортного средства в зоне испытания; уровеньподводимой мощности или другой параметр, непосредственно связанный с подводимоймощностью и необходимый для определения характеристик поля, измеряется, ирезультаты фиксируются. Частоты испытания должны находиться в пределах от 20 до1000 МГц. Калибровку проводят начиная с частоты 20 МГц с интервалами междучастотами не более 2 % и завершают на частоте 1000 МГц. Полученные результатыиспользуют в ходе испытании для официального утверждения типа, если только измененияв средствах или оборудовании не потребуют повторения этой процедуры.
7.1.3 Этап испытания
После этоготранспортное средство загоняется на испытательную площадку и устанавливается всоответствии с требованиями раздела 5 настоящего приложения. Затем на прибор,создающий поле, подается требуемая подводимая мощность, определенная в 7.1.2 всоответствии с 6.1.1настоящего приложения.
7.1.4 Какойбы параметр ни был избран в соответствии с 7.1.2 с целью определения характеристикполя, в ходе испытания для установления напряженности поля должениспользоваться тот же параметр.
7.1.5 Оборудованиедля создания поля и порядок его расположения, используемые в ходе испытания,должны отвечать тем же требованиям, какие применяются в ходе операций,описанных в 7.1.2.
7.1.6 Прибор дляизмерения напряженности поля
Для определениянапряженности поля на этапе калибровки должен использоваться надлежащийкомпактный измеритель напряженности поля.
7.1.7 На этапекалибровки фазовый центр измерителя напряженности поля должен находиться вконтрольной точке.
7.1.8 Если вкачестве измерителя напряженности поля используется откалиброванная принимающаяантенна, то показания снимаются в трех взаимно перпендикулярных направлениях.За значение напряженности поля принимается изотропное эквивалентное значениепоказаний.
7.1.9 С учетомразличий в геометрических формах транспортных средств для заданнойиспытательной площадки, возможно, потребуется определение, нескольких положенийантенны или контрольных точек.
7.2 Контур напряженности поля
7.2.1 На этапекалибровки (до установки транспортного средства в зоне испытаний) напряженностьполя по меньшей мере на 80 % калибровочных частот должна составлять не менее 50% номинальной напряженности поля в следующих точках:
i) длявсех приборов, создающих поле: (0,5±0,05) м с обеих сторон от контрольной точкина линии, проходящей через контрольную точку на высоте контрольной точки, атакже перпендикулярно плоскости продольной симметрии транспортного средства;
ii) вслучае ПСП: (1,50±0,05) м на линии, проходящей через контрольную точку навысоте контрольной точки и вдоль оси продольной симметрии.
7.3 Камерный резонанс
Если условия,описанные в 7.2.1 выше, не выполняются, испытания не должны проводиться начастотах камерного резонанса.
7.4 Характеристики генерируемого испытательного сигнала
7.4.1 Максимальныйразмах огибающей.
Максимальный размахогибающей испытательного сигнала должен быть равен максимальному размахуогибающей немодулированной гармонической волны, среднее квадратическое значениекоторой, выраженное в В/м, определено в 6.4.2 настоящих Правил (см. дополнение 7 к настоящемуприложению).
(Измененная редакция, Изм. № 1).
7.4.2 Форма волныиспытательного сигнала
Испытательный сигналдолжен представлять собой радиочастотную гармоническую волну,амплитудно-модулированную в гармонической волне частотой 1 кГц при глубинемодуляции т, равной 0,8±0,04.
7.4.3 Глубинамодуляции
Глубина модуляции т определяется следующим образом:
![]()
ПРИЛОЖЕНИЕ 6. Дополнение 1
(обязательное)

ПРИЛОЖЕНИЕ 6. Дополнение2
(обязательное)

ПРИЛОЖЕНИЕ 6. Дополнение3
(обязательное)

ПРИЛОЖЕНИЕ 6. Дополнение4
(обязательное)

ПРИЛОЖЕНИЕ 6. Дополнение 5
(обязательное)
| Этап 1 Установить контрольную точку | Этап 2 Развернуть транспортное средство на 180° |
|
| |
ПРИЛОЖЕНИЕ6. Дополнение 6
(обязательное)
| Первый этап: Определить исходную точку | Второй этап: Повернуть транспортное средство вокруг своей оси |
| Задняя часть | Передняя часть |
|
| |
ПРИЛОЖЕНИЕ 6. Дополнение 7
(обязательное)
Характеристики генерируемого сигнала
|
| |
| Немодулированная гармоническая волна, среднее квадратическое значение которой определено в 6.4.2 настоящих Правил | Испытательный сигнал - на 80 % амплитудно-модулированная гармоническая волна; максимальный размах огибающей равен максимальному размаху немодулированной гармонической волны, среднее квадратическое значение которой определено в 6.4.2 настоящих Правил |
1 ОБЩИЕ ПОЛОЖЕНИЯ
1.1 Метод испытания,описанный в настоящем приложении, применяется к ЭСУ, которые могут впоследствииустанавливаться на транспортных средствах, соответствующих приложению 4:
1.2 Измерительныеприборы
Измерительноеоборудование должно соответствовать требованиям, изложенным в публикации № 16-1(1993 год) Международного специального комитета по радиопомехам (МСКРП).
Для измеренияширокополосных электромагнитных помех, как это предусмотрено в настоящемприложении, должен использоваться квазипиковый детектор; в случае использованияпикового детектора должен применяться надлежащий поправочный коэффициент взависимости от частоты импульсов помех.
1.3 Метод испытания
Данное испытаниепредназначено для измерения широкополосных электромагнитных помех, производимыхЭСУ.
2 ВЫРАЖЕНИЕ РЕЗУЛЬТАТОВ
Результаты измеренийдолжны выражаться в дБ мкВ/м (мкВ/м) для полосы частот шириной 120 кГц. Еслифактическая ширина полосы частот В (выраженная в кГц) измерительногоприбора отличается от 120 кГц, то полученные показания в мкВ/м необходимопривести к ширине полосы 120 кГц, умножив их на коэффициент 120/В.
3 МЕСТО ПРОВЕДЕНИЯ ИЗМЕРЕНИЙ
3.1 Испытательнаяплощадка должна соответствовать требованиям, изложенным в публикации № 16Международного специального комитета по радиопомехам (МСКРП) (см. дополнение 1 к настоящему приложению).
3.2Измерительный комплекс, испытательный бокс или транспортное средство, в которомрасположен измерительный комплекс, могут находиться на испытательной площадке,но лишь в пределах разрешенной зоны, показанной в дополнении 1 к настоящемуприложению.
3.3 Испытания могутпроводиться в закрытых помещениях, если можно продемонстрировать соответствиемежду результатами, полученными в закрытом помещении, и результатами,полученными на одобренной открытой площадке. Закрытые помещения для испытаниймогут не соответствовать требованиям в отношении размеров, которые приведены вдополнении 1 к настоящему приложению, за исключением требований, касающихсярасстояния от антенны до испытываемого ЭСУ и высоты антенны (см. рисунки 1 и 2 в дополнении 2 к настоящему приложению).
3.4 Внешние условия
Для обеспечениятого, чтобы никакой посторонний шум или сигнал достаточной амплитуды неоказывал существенного влияния на измерения, до и после основного испытанияпроводят измерения в отношении внешних условий. При обоих этих измеренияхуровень постороннего шума или сигнала должен быть по меньшей мере на 10 дБ нижеконтрольных пределов, указанных в 6.5.2.1 настоящих Правил, за исключением техслучаев, когда речь идет о преднамеренных внешних узкополосных передачах.
4 СОСТОЯНИЕ ЭСУ ВО ВРЕМЯ ИСПЫТАНИЙ
4.1 Испытываемый ЭСУдолжен находиться в нормальном рабочем режиме.
4.2 Измерения наиспытываемом ЭСУ не должны проводиться под дождем или при других осадках и втечение 10 мин после прекращения дождя или других осадков.
4.3 Условияиспытания
4.3.1 Испытываемый ЭСУ и его электропроводка должнырасполагаться на опорах на высоте (50 + 5) мм над столом, изготовленным издерева или эквивалентного материала, не проводящего электрический ток. Однакоесли какая-либо часть испытываемого ЭСУ должна иметь электрическое соединение сметаллическим кузовом транспортного средства, то эта часть устанавливается назаземленной поверхности и должна иметь электрическое соединение с этойзаземленной поверхностью. Заземленная поверхность должна представлять собойметаллический лист минимальной толщиной
Заземленнаяповерхность должна быть соединена с защитным проводом системы заземления.Заземленная поверхность должна быть расположена на высоте (1,0 ± 0,1) м надполом испытательной площадки и должна быть параллельной ему.
4.3.2 ИспытываемыйЭСУ должен быть установлен и соединен в соответствии с его эксплуатационнымитребованиями. Проводка электропитания располагается вдоль ближайшего к антеннекрая заземленной поверхности/стола и на расстоянии
4.3.3 ИспытываемыйЭСУ соединяется с системой заземления в соответствии с инструкциями поустановке, определенными предприятием-изготовителем; дополнительные заземленияне допускаются.
4.3.4 Минимальноерасстояние между испытываемым ЭСУ и всеми другими проводящими структурами, какнапример стенки экранированной зоны (за исключением заземленнойповерхности/стола, находящихся ниже испытываемого объекта), должно составлять
4.4 Питание подаетсяна испытываемый ЭСУ через эквивалентную схему (ЭС) 5 мкГн/50 Ом, которая должнаиметь электрическое соединение с заземленной поверхностью. Напряжениеэлектропитания должно поддерживаться в пределах ±10 % номинального рабочегонапряжения системы. Любые пульсации напряжения должны составлять менее 1,5 % отноминального рабочего напряжения системы, измеренного на контрольном выходе ЭС.
4.5 Еслииспытываемый ЭСУ состоит более чем из одного блока, то в идеале соединяющиекабели должны представлять собой электропроводку, предназначенную дляиспользования на транспортном средстве. Если ее нет, то длина соединения междуосновным блоком и ЭС должна составлять (1500 ± 75) мм.
Все кабели в пучкедолжны иметь соединения, максимально приближенные к тем, которые имеются вреальных условиях; в оптимальном варианте они должны быть соединены систочниками нагрузки и выключателями, используемыми в условиях практическойэксплуатации.
Если для обеспечениянадлежащего функционирования испытываемого ЭСУ требуется дополнительноеоборудование, то предусматривается соответствующая компенсация с учетом еговлияния на уровень измеряемых помех.
5 ТИП, ПОЛОЖЕНИЕ И ОРИЕНТАЦИЯ АНТЕННЫ
5 1 Тип антенны
Допускаетсяиспользование любой линейно-поляризованной антенны, если она может быть стандартизованав соответствии с требованиями, предъявляемыми к контрольной антенне.
5.2 Высота ирасстояние измерения
5.2.1 Высота
Фазовый центрантенны находится на высоте (150 ± 10) мм над заземленной поверхностью.
(Измененнаяредакция, Изм. № 1).
5.2.2 Расстояниеизмерения
Горизонтальноерасстояние от фазового центра или другой надлежащей точки антенны до краязаземленной поверхности должно составлять (1,00 ± 0,05) м. Ни одна из частейантенны не должна находиться на расстоянии менее
Антенна должнарасполагаться параллельно плоскости, перпендикулярной заземленной поверхности ипроходящей через край заземленной поверхности, вдоль которого проходит основнаячасть проводки.
5.2.3 Если испытаниепроводится в закрытом помещении для целей электромагнитного экранирования нарадиочастотах, то принимающие элементы антенны должны находиться на расстояниине менее
5.3 Ориентация иполяризация антенны
Показания в точкеизмерения должны сниматься как при вертикальной, так и горизонтальнойполяризации антенны.
5.4 Показанияприборов
Максимальное из двухпоказаний, снятых (в соответствии с 5.3 настоящего приложения) на каждойфиксированной частоте, должно учитываться в качестве основного показания
6 ЧАСТОТЫ
6.1 Измерения следует проводить в диапазонечастот от 30 до 1000 МГц. Считается, что ЭСУ соответствует требуемым пределамво всем диапазоне частот, если он соответствует им на следующих 13 частотахэтого диапазона, например: 45, 65, 90, 120, 150, 190, 230, 280, 380, 450, 600,750, 900 МГц. Если в ходе испытания предел превышается, то должно бытьпроведено расследование, с тем чтобы убедиться, что помехи вызваны ЭСУ, а нефоновым излучением.
6.1.1 Пределыприменяются по всему диапазону частот от 30 до 1000 МГц.
6.1.2 Измерениямогут проводиться либо при помощи квазипиковых, либо при помощи пиковыхдетекторов. В 6.2и 6.5 настоящихПравил приведены пределы для квазипиковых детекторов. Если используется пиковыйдетектор, то для полосы шириной 1 МГц добавляют 38 дБ, а для полосы шириной 1кГц отнимают 22 дБ.
6.2 Допускаемыеотклонения
| Фиксированная частота, МГц | Допускаемое отклонение, МГц |
| 45, 65, 90, 120, 150, 190 и 230 | ±5 |
| 280, 380, 450, 600, 750 и 900 | ±20 |
Допускаемые отклонения применяются к указанным частотам и предназначеныдля учета возможного влияния сигналов, передаваемых на номинальныхфиксированных частотах или на близких к ним частотах во время измерения.
ПРИЛОЖЕНИЕ 7. Дополнение1
(обязательное)
Площадка для испытанийэлектрического/электронного сборочного узла
Горизонтальная площадка, не имеющая поверхностей, отражающихэлектромагнитные волны.

ПРИЛОЖЕНИЕ 7. Дополнение2
(обязательное)
Рисунок 1 -Электромагнитные излучения, генерируемые ЭСУ. Испытательная камера. Общий вид сверху

Рисунок 2 -Электромагнитные излучения, генерируемые ЭСУ. Испытательная камера. Вид вплоскости продольной симметрии.
Размеры в миллиметрах
1 ОБЩИЕ ПОЛОЖЕНИЯ
1.1 Метод испытания,описанный в настоящем приложении, применяется к ЭСУ.
1.2 Измерительныеприборы
Измерительное оборудованиедолжно соответствовать требованиям, изложенным в публикации № 16-1 (
Для измеренияузкополосных электромагнитных помех для целей настоящего приложения должениспользоваться детектор средних значений или пиковый детектор.
1.3 Метод испытания
Данное испытаниепредназначено для измерения узкополосных электромагнитных помех, которые моглибы производиться, например, микропроцессорной системой.
В качестве короткого(2-3 минуты) первоначального этапа при выборе поляризации антенны разрешаетсяпроводить сканирование диапазона частот, указанного в 6.1.настоящего приложения, при помощи спектроанализатора в целях выявления и/илилокализации пиковых излучений. Это может помочь в выборе частот для проведенияиспытаний (см. раздел 6настоящего приложения).
2 ВЫРАЖЕНИЕ РЕЗУЛЬТАТОВ
Результаты измеренийдолжны выражаться в дБ мкВ/м (мкВ/м).
3 МЕСТО ПРОВЕДЕНИЯ ИЗМЕРЕНИЙ
3.1 Испытательнаяплощадка должна соответствовать требованиям, изложенным в публикации № 16-1 (
3.2Измерительный комплекс, испытательный бокс или транспортное средство, в которомрасположен измерительный комплекс, должны находиться за пределами зоны,показанной в дополнении 1 к приложению 7.
3.3 Испытания могутпроводиться в закрытых помещениях, если можно продемонстрировать соответствиемежду результатами, полученными в закрытом помещении, и результатами,полученными на открытой площадке. Закрытые помещения для испытаний могут несоответствовать требованиям в отношении размеров, которые приведены вдополнении 1 к приложению 7, за исключением требований, касающихся расстоянияот антенны до испытываемого ЭСУ и высоты антенны (см. рисунки 1 и 2 в дополнении 2 к приложению 7).
3.4 Внешние условия
Для обеспечениятого, чтобы никакой посторонний шум или сигнал достаточной амплитуды неоказывал существенного влияния на измерения, до и после основного испытанияпроводят измерения в отношении внешних условий. При обоих этих измеренияхуровень постороннего шума или сигнала должен быть по меньшей мере на 10 дБ нижеконтрольных пределов, указанных в 6.6.2.1 настоящих Правил, за исключением техслучаев, когда речь идет о преднамеренных внешних узкополосных передачах.
4 СОСТОЯНИЕ ЭСУ ВО ВРЕМЯ ИСПЫТАНИЙ
4.1 Испытываемый ЭСУдолжен находиться в нормальном рабочем режиме.
4.2 Измерения наиспытываемом ЭСУ не должны проводиться под дождем или при других осадках и втечение 10 мин после прекращения дождя или других осадков.
4.3 Условияиспытания
4.3.1 ИспытываемыйЭСУ и его электропроводка должны располагаться на опорах на высоте (50±5) ммнад столом, изготовленным из дерева или эквивалентного материала, непроводящего электрический ток. Однако если какая-либо часть испытываемого ЭСУдолжна иметь электрическое соединение с металлическим кузовом транспортногосредства, то эта часть должна быть установлена на заземленной поверхности идолжна иметь электрическое соединение с этой заземленной поверхностью.Заземленная поверхность должна представлять собой металлический листминимальной толщиной
4.3.2 ИспытываемыйЭСУ должен быть установлен и соединен в соответствии с его эксплуатационнымитребованиями. Проводка электропитания располагается вдоль ближайшего к антеннекрая заземленной поверхности/стола в пределах
4.3.3 ИспытываемыйЭСУ соединяется с системой заземления в соответствии с инструкциями поустановке, определенными предприятием-изготовителем; дополнительные заземленияне допускаются.
4.3.4 Минимальноерасстояние между испытываемым ЭСУ и всеми другими проводящими структурами, какнапример стенки экранированной зоны (за исключением заземленнойповерхности/стола, находящихся ниже испытываемого объекта), должно составлять
4.4 Питание подаетсяна испытываемый ЭСУ через эквивалентную схему электропитания (ЭС) (5 мкГн/50Ом), которая должна иметь электрическое соединение с заземленной поверхностью.Напряжение электропитания должно поддерживаться в пределах ±10 % номинальногорабочего напряжения системы. Любые пульсации напряжения должны составлять менее1,5 % номинального рабочего напряжения системы, измеренного на контрольномвыходе ЭС.
4.5 Еслииспытываемый ЭСУ состоит более чем из одного блока, то в идеале соединяющиекабели должны представлять собой электропроводку, предназначенную дляиспользования на транспортном средстве. Если электропроводки нет, то длинасоединения между электронным блоком управления и ЭС должна составлять (1500±75)мм. Все кабели в пучке должны иметь соединения, максимально приближенные к тем,которые имеются в реальных условиях; в оптимальном варианте они должны бытьсоединены с источниками нагрузки и выключателями, используемыми вусловиях практической эксплуатации. Если для обеспечения надлежащегофункционирования испытываемой системы требуется дополнительное оборудование, топредусматривается соответствующая компенсация с учетом его влияния на уровеньизмеряемых излучений.
5 ТИП, ПОЛОЖЕНИЕ И ОРИЕНТАЦИЯ АНТЕННЫ
5.1 Тип антенны
Допускаетсяиспользование любой линейно-поляризованной антенны, если она может бытьстандартизована в соответствии с требованиями, предъявляемыми к контрольнойантенне.
5.2 Высота и расстояниеизмерения
5.2.1 Высота
Фазовый центрантенны находится на высоте (150±10) мм над заземленной поверхностью.
5.2.2 Расстояниеизмерения
Горизонтальноерасстояние от фазового центра или соответственно конца антенны до краязаземленной поверхности должно составлять (1,00±0,05) м. Ни одна из частейантенны не должна находиться на расстоянии менее
5.2.3 Если испытаниепроводится в закрытом помещении для целей электромагнитного экранирования нарадиочастотах, то принимающие элементы антенны должны находиться на расстояниине менее
5.3 Ориентация иполяризация антенны
Показания в точкеизмерения следует снимать как при вертикальной, так и при горизонтальнойполяризации антенны.
5.4 Показанияприборов
Максимальноезначение одного из двух показаний, снятых (в соответствии с 5.3) на каждойфиксированной частоте, должно учитываться в качестве основного показания.
6 ЧАСТОТЫ
6.1 Измерения
Измерения следуетпроводить в диапазоне частот от 30 до 1000 МГц. Этот диапазон должен бытьразделен на 13 полос. В каждой полосе может быть проверена одна фиксированнаячастота для подтверждения того, что требуемые пределы соблюдены. Дляподтверждения того, что испытываемый ЭСУ отвечает требованиям настоящегоприложения, компетентный орган, ответственный за проведение испытаний, долженпровести испытания на одной такой частоте в каждой из следующих 13 полос:30-50, 50-75, 75-100, 100-130, 130-165, 165-200, 200-250, 250-320, 320-400,400-520, 520-660, 660-820, 820-1000 МГц.
Если в ходеиспытания предел превышается, то должно быть проведено расследование, с темчтобы убедиться, что это связано с помехами, производимыми испытываемым ЭСУ, ане с фоновым излучением.
6.2 Если в ходепервоначального этапа, который может быть проведен в соответствии с положениями1.3 настоящегоприложения, уровень производимых узкополосных помех в рамках любой из полос,указанных в 6.1, составляет по меньшей мере на 10 дБ ниже контрольного предела,то считается, что ЭСУ соответствует требованиям настоящего приложения вотношении данной полосы частот.
1 ОБЩИЕ ПОЛОЖЕНИЯ
1.1 Методыиспытания, описанные в настоящем приложении, применяются к ЭСУ.
1.2 Методыиспытания
1.2.1 ЭСУ могутсоответствовать требованиям любого сочетания указанных ниже методов испытанияпо усмотрению предприятия-изготовителя при условии, что при этом обеспечиваетсяохват всего диапазона частот, указанного в 5.1 настоящего приложения:
1.2.1.1 испытание вполосковой системе - см. дополнение 1 к настоящему приложению;
1.2.1.2 испытаниепутем непосредственной инжекции тока - см. дополнение 2 к настоящему приложению;
1.2.1.3 испытание вкамере ПЭК - см. дополнение 3 к настоящему приложению;
1.2.1.4 испытание вусловиях свободного поля - см. дополнение 4 к настоящемуприложению.
1.2.2 Поскольку входе этих испытаний создаются электромагнитные поля, все испытания следуетпроводить в экранированной зоне.
2 ВЫРАЖЕНИЕ РЕЗУЛЬТАТОВ
Для целей испытаний,описанных в настоящем приложении, значения напряженности поля должны выражатьсяв В/м, а сила инжекционного тока должна выражаться в миллиамперах.
3 МЕСТО ПРОВЕДЕНИЯ ИЗМЕРЕНИЙ
3.1 Испытательнаяустановка должна быть в состоянии генерировать требуемые испытательные сигналы вдиапазонах частот, определенных в настоящем приложении. Испытательная установкадолжна отвечать (национальным) юридическим требованиям в отношении излученияэлектромагнитных сигналов.
3.2 Измерительноеоборудование должно располагаться за пределами камеры.
4 СОСТОЯНИЕ ЭСУ ВО ВРЕМЯ ИСПЫТАНИЙ
4.1Испытываемый ЭСУ должен находиться в нормальном рабочем режиме. Он должен бытьрасположен таким образом, как это определено в настоящем приложении, еслитолько для отдельных методов испытания не предусмотрены иные схемырасположения.
4.2 Питание подаетсяна испытываемый ЭСУ через эквивалентную схему электропитания (ЭС) (5 мкГн/50Ом), которая должна быть заземлена. Напряжение электропитания должноподдерживаться в пределах ±10 % номинального рабочего напряжения системы. Любыепульсации напряжения должны составлять менее 1,5 % номинального рабочегонапряжения системы, измеренного на контрольном выходе ЭС.
4.3 На этапекалибровки должно присутствовать все дополнительное оборудование, требующеесядля обеспечения функционирования испытываемого ЭСУ. В ходе калибровкидополнительное оборудование должно находиться на расстоянии не менее
4.4 Для обеспечениядостоверности результатов измерения оборудование, генерирующее испытательныйсигнал, и порядок его расположения должны отвечать тем же требованиям, какиеприменяются на каждом соответствующем этапе калибровки (см. 7.2, 7.3.2.3, 8.4, 9.2 и 10.2 настоящегоприложения).
4.5 Если испытываемый ЭСУ состоит более чем из одного блока,то в оптимальном варианте должна использоваться электропроводка транспортного средства.Если электропроводки нет, то длина соединения между электронным блокомуправления и ЭС должна составлять (1500±75) мм. Все кабели в пучке должны иметьсоединения, максимально приближенные к тем, которые имеются в реальныхусловиях; в оптимальном варианте они должны быть соединены с источникаминагрузки и выключателями, используемыми в условиях практической эксплуатации.
5 ДИАПАЗОН ЧАСТОТ, ПРОДОЛЖИТЕЛЬНОСТЬ
5.1 Измерения следуетпроводить в диапазоне частот от 20 до 1000 МГц.
5.2 Для подтверждения того, что ЭСУ отвечает требованиямнастоящего приложения, испытания следует проводить с использованием до 14фиксированных частот в рамках данного диапазона, например: 27, 45, 65, 90, 120,150, 190, 230, 280, 380, 450, 600, 750, 900 МГц.
Следует принимать во внимание время реагированияиспытываемого оборудования; продолжительность испытания должна быть достаточнойдля того, чтобы испытываемое оборудование могло реагировать при нормальныхусловиях. В любом случае продолжительность должна составлять не менее 2 с.
6 ХАРАКТЕРИСТИКИ ГЕНЕРИРУЕМОГО ИСПЫТАТЕЛЬНОГО СИГНАЛА
6.1 Максимальный размах огибающей
Максимальный размахогибающей испытательного сигнала должен быть равен максимальному размахуогибающей немодулированной гармонической волны, среднее квадратическое значениекоторой определено в 6.7.2настоящих Правил (см. дополнение 4 к приложению 6).
6.2 Форма волныиспытательного сигнала
Испытательный сигналдолжен представлять собой радиочастотную гармоническую волну, амплитудномодулированную в гармонической волне частотой 1 кГц при глубине модуляции т,равной 0,8 ± 0,04.
6.3 Глубинамодуляции
Глубину модуляции топределяют следующим образом:
![]()
7 ИСПЫТАНИЕ В ПОЛОСКОВОЙСИСТЕМЕ
7.1 Метод испытания
Данный методпредполагает проведение испытаний по воздействию полей определеннойнапряженности на проводку, соединяющую элементы ЭСУ.
7.2 Измерение напряженности поля в полосковойсистеме
На каждой выбираемойиспытательной частоте на полосковую систему подают определенный уровеньмощности для создания требуемой напряженности поля в зоне испытания приотсутствии испытываемого ЭСУ; этот уровень подводимой мощности или другойпараметр, непосредственно связанный с подводимой мощностью и необходимый дляопределения характеристик поля, измеряют, и результаты фиксируют.
Эти результатыиспользуют в ходе испытаний для целей официального утверждения типа, если толькоизменения в средствах или оборудовании не потребуют повторения этой процедуры.
В ходе этойпроцедуры датчик измерителя напряженности поля должен располагаться подтокопроводящим проводником, по центру в продольном, вертикальном и поперечномнаправлениях. Электронный блок измерителя должен находиться как можно дальше отпродольной оси полосковой системы.
7.3 Установкаиспытываемого ЭСУ
7.3.1 Испытание в150-миллиметровой полосковой системе
Данный методиспытания позволяет генерировать однородные поля между токопроводящимпроводником (полосковая линия сопротивлением 50 Ом) и заземленной поверхностью(проводящая поверхность испытательного стола), между которыми может бытьрасположена часть электропроводки. Электронный (электронные) блок (и)управления испытываемого ЭСУ устанавливается (устанавливаются) на заземленнойповерхности, но вне полосковой системы, причем один из его (их) краев долженбыть параллельным токопроводящему проводнику полосковой системы. Он долженнаходиться на расстоянии (200±10) мм от линии на заземленной поверхности,расположенной непосредственно под краем токопроводящего проводника. Расстояниемежду любым краем токопроводящего проводника и любым периферийным устройством,используемым для измерения, должно составлять не менее
7.3.1.1 Минимальная длина электропроводки, которая должна включатьпроводку электропитания электронного блока управления и должна быть расположенапод полосковой линией, составляет
7.3.1.2 В противном случае полная длина развернутой проводки,включая длину наиболее длинного ответвления, должна составлять
7.3.2 Испытание в 800-миллиметровой полосковой системе
7.3.2.1 Метод испытания
Полосковая системапредставляет собой две параллельные металлические пластины, находящиеся нарасстоянии
Этот метод можетиспользоваться для испытания укомплектованных электронных систем, в том числедатчиков и выключателей, а также блоков управления и электропроводки. Методпригоден для приборов, максимальный размер которых составляет менее 1/3расстояния между пластинами.
7.3.2.2 Расположениеполосковой системы
Полосковая системадолжна быть установлена в экранированном помещении (для предотвращенияраспространения излучений) и расположена на расстоянии не менее
7.3.2.3 Калибровка полосковой системы
Измерительнапряженности поля должен быть расположен в пределах центральной третипространства между пластинами, испытываемая система должна отсутствовать.Сопутствующее измерительное оборудование должно располагаться за пределамиэкранированного помещения.
На каждой выбираемойиспытательной частоте на полосковую систему подается определенный уровеньмощности для создания требуемой напряженности поля в точке расположенияизмерителя. Этот уровень подводимой мощности или другой параметр,непосредственно связанный с подводимой мощностью и необходимый для определенияхарактеристик поля, используется в ходе испытаний для целей официальногоутверждения типа, если только изменения в средствах или оборудовании не потребуютповторения этой процедуры.
7.3.2.4 Установкаиспытываемого ЭСУ
Основной блокуправления должен быть расположен в пределах центральной трети пространствамежду пластинами. Он должен быть установлен на опоре, изготовленной изнепроводящего материала.
7.3.2.5 Основнойпучок проводов и кабели соединения с датчиками/выключателями
Основной пучокпроводов и любые кабели соединения с датчиками/выключателями должны подниматьсявертикально от блока управления до верхней заземленной поверхности (этопозволяет максимально повысить степень взаимодействия с электромагнитнымполем). Затем они должны проходить по нижней части этой поверхности до одногоиз ее свободных краев, где они должны огибать ее и проходить по внешней частизаземленной поверхности до точек соединения с входом полосковой системы. Затемкабели должны проходить до сопутствующего оборудования, которое должнорасполагаться в зоне за пределами влияния электромагнитного поля, например наполу экранированного помещения на расстоянии не менее
8 ИСПЫТАНИЕ НА УСТОЙЧИВОСТЬ ЭСУ В УСЛОВИЯХ СВОБОДНОГО ПОЛЯ
8.1 Метод испытания
Данный методиспытания позволяет испытывать электрические/электронные системы транспортногосредства путем воздействия на ЭСУ электромагнитным излучением, генерированнымантенной.
8.2 Описаниеиспытательного стенда
Испытание следуетпроводить на стенде внутри полуэкранированной камеры, экранированная частькоторой доходит до верхней поверхности стенда.
8.2.1 Заземленная поверхность
8.2.1.1 Дляиспытания на устойчивость в условиях свободного поля испытываемый ЭСУ и егоэлектропроводка должны располагаться на опорах на высоте (50±5) мм над столом,изготовленным из дерева или эквивалентного материала, не проводящегоэлектрический ток. Однако если какая-либо часть испытываемого ЭСУ должна иметьэлектрическое соединение с металлическим кузовом транспортного средства, то этачасть устанавливается на заземленной поверхности и имеет электрическоесоединение с этой заземленной поверхностью. Заземленная поверхность должна представлятьсобой металлический лист минимальной толщиной
8.2.1.2 ИспытываемыйЭСУ должен быть установлен и соединен в соответствии с его эксплуатационнымитребованиями. Проводка электропитания располагается вдоль ближайшего к антеннекрая заземленной поверхности/стола и в пределах
8.2.1.3 ИспытываемыйЭСУ должен быть соединен с системой заземления в соответствии с инструкциями поустановке, определенными предприятием-изготовителем; никакие дополнительныезаземления не допускаются.
8.2.1.4 Минимальноерасстояние между испытываемым ЭСУ и всеми другими проводящими структурами, какнапример стенки экранированной зоны (за исключением заземленнойповерхности/стола, находящихся ниже испытываемого объекта), должно составлять
8.2.1.5 Площадьлюбой заземленной поверхности должна составлять не менее
8.2.2 Установкаиспытываемого ЭСУ
В случаекрупногабаритного оборудования, устанавливаемого на металлическом испытательномстенде, испытательный стенд рассматривается для целей испытания в качествечасти заземленной поверхности и должен иметь соответствующие соединения.Наружные поверхности испытываемого образца должны находиться на расстоянии неменее
8.3 Тип, расположение и ориентация прибора,создающего поле
8.3.1 Тип прибора,создающего поле
8.3.1.1 Тип(ы)прибора, создающего поле, выбирается (выбираются) таким образом, чтобы вконтрольной точке (см. 8.3.4настоящего приложения) достигалась желаемая напряженность поля на надлежащихчастотах.
8.3.1.2 Прибор(ы), создающий(создающие) поле, может (могут) представлять собой одну или несколько антеннили пластинчатую антенну.
8.3.1.3 Конструкцияи ориентация любого прибора, создающего поле, должны обеспечиватьгоризонтальную или вертикальную поляризацию создаваемого поля в полосе от 20 до1000 МГц.
8.3.2 Высота ирасстояние измерения
8.3.2.1 Высота
Фазовый центр любойантенны должен находиться на высоте (150±10) мм над заземленной поверхностью,на которой располагается испытываемый ЭСУ. Ни одна из частей каких-либо излучающихэлементов антенны не должна находиться на расстоянии менее
8.3.2.2 Расстояниеизмерения
8.3.2.2.1Максимальное приближение к реальным условиям эксплуатации может быть достигнутоза счет установки прибора, создающего поле, как можно дальше от ЭСУ. Эторасстояние обычно составляет от 1 до
8.3.2.2.2 Еслииспытание проводится в закрытом помещении, то излучающие элементы антенныдолжны находиться на расстоянии не менее
8.3.3 Расположениеантенны по отношению к испытываемому ЭСУ
8.3.3.1 Излучающиеэлементы прибора, создающего поле, должны находиться на расстоянии не менее
8.3.3.2 Фазовый центр прибора, создающего поле,должен находиться в плоскости, которая:
i)является перпендикулярной заземленной поверхности;
ii)проходит через край заземленной поверхности и среднюю точку основной частиэлектропроводки и
iii) являетсяперпендикулярной краю заземленной поверхности и основной части электропроводки.Прибор, создающий поле, должен быть расположен параллельно этой плоскости (см.рисунки 1 и 2 в дополнении 4 к настоящемуприложению).
8.3.3.3 Любой прибор, создающий поле, которыйустанавливается над заземленной поверхностью или испытываемым ЭСУ, долженрасполагаться над испытываемым ЭСУ.
8.3.4 Контрольная точка
Для целей настоящегоприложения контрольной точкой является точка, в которой определяетсянапряженность поля и которая находится:
8.3.4.1 нарасстоянии не менее
8.3.4.2 в плоскости,которая
i)является перпендикулярной заземленной поверхности;
ii)является перпендикулярной краю заземленной поверхности, вдоль которого проходитосновная часть электропроводки;
iii) проходит через крайзаземленной поверхности и среднюю точку основной части электропроводки;
iv)проходит через среднюю точку основной части электропроводки, проходящей вдольближайшего к антенне края заземленной поверхности;
8.3.4.3 на высоте(150±10) мм над заземленной поверхностью.
8.4 Создание требуемой напряженности поля.Методология испытания
8.4.1 Дляустановления напряженности поля, необходимой для проведения испытания,используется «метод замены».
8.4.2 Метод замены:калибровка
Для созданиятребуемой напряженности поля в контрольной точке (определенной в 8.3.4настоящего приложения) на прибор, создающий поле, подается определенный уровеньмощности на каждой выбираемой испытательной частоте при отсутствии испытываемогоЭСУ в зоне испытания; этот уровень подводимой мощности или другой параметр,непосредственно связанный с подводимой мощностью, необходимой для определенияхарактеристик поля, измеряется, а результаты фиксируются. Эти результатыиспользуются в ходе испытаний для официального утверждения типа, если толькоизменения в средствах или оборудовании не потребуют повторения этой процедуры.
8.4.3 В ходекалибровки дополнительное оборудование должно находиться на расстоянии не менее
8.4.4 Прибор дляизмерения напряженности поля
Для определениянапряженности поля на этапе калибровки в рамках метода замены должениспользоваться надлежащий компактный измеритель напряженности поля.
8.4.5 Фазовый центризмерителя напряженности поля должен находиться в контрольной точке.
8.4.6 После этогоиспытываемый ЭСУ, который может включать дополнительную заземленнуюповерхность, помещается на испытательную площадку и устанавливается всоответствии с требованиями 8.3 настоящегоприложения. Если используется вторая заземленная поверхность, то она должнанаходиться в пределах
8.4.7 Какой быпараметр ни был избран в соответствии с 8.4.2 настоящего приложения с цельюопределения характеристик поля, в ходе испытания для установления напряженностиполя должен использоваться тот же параметр.
8.5 Контурнапряженности поля
8.5.1 На этапекалибровки в рамках метода замены (до установления испытываемого ЭСУ в зонеиспытания) напряженность поля должна составлять не менее 50 % номинальнойнапряженности поля на расстоянии (0,5±0,05)м с обеих сторон от контрольнойточки на линии, параллельной ближайшему к антенне краю заземленной поверхностии проходящей через контрольную точку.
9 ИСПЫТАНИЕ В КАМЕРЕ ПЭК
9.1 Метод испытания
В камере ПЭК (поперечные электромагнитныеколебания) создаются однородные поля между внутренним проводником (переборка) икорпусом (заземленная поверхность). Эта камера используется для испытания ЭСУ(см. рисунок 1в дополнении 3 к настоящему приложению).
9.2 Измерение напряженности поля в камере ПЭК
9.2.1 Напряженностьэлектрического поля в камере ПЭК определяют по формуле
![]()
где Е- электрическоеполе, В/м;
Р- мощность, подаваемая в камеру, Вт;
Z-сопротивление камеры, равное 50 Ом;
d -расстояние между верхней стенкой и пластиной (перегородкой), м.
9.2.2 В иных случаяхв верхней половине камеры ПЭК устанавливают надлежащий датчик напряженностиполя. В этой части камеры ПЭК, электронный (электронные) блок (блоки)управления оказывает (оказывают) лишь незначительное влияние на напряженностьполя. Напряженность поля определяется выходным сигналом этого датчика.
9.3 Размеры камерыПЭК
Для поддержания однородностиполя в камере ПЭК и обеспечения достоверности результатов измерения размериспытываемого объекта не должен превышать одной трети внутренней высоты камеры.
Рекомендуемыеразмеры камеры ПЭК приведены на рисунках 2 и 3 в дополнении 3 к настоящемуприложению.
9.4 Провода подачиэлектропитания, передачи сигналов и обеспечения контроля
Камера ПЭК должнабыть оснащена коммутационной панелью с коаксиальными гнездами, которая должнаиметь как можно более короткое штепсельное соединение (с надлежащим количествомконтактных штырей). Провода подачи электропитания и передачи сигналов, идущиеот штепсельного соединения в стенке камеры, должны быть напрямую соединены сиспытываемым объектом.
Внешние элементы,как например датчики и элементы подачи электропитания и обеспечения контроля,могут быть соединены:
i) сэкранированным периферийным устройством;
ii) странспортным средством, расположенным поблизости от камеры ПЭК
или
iii) непосредственно сэкранированной коммутационной панелью.
Если транспортноесредство или периферийное устройство находится вне данного или смежногоэкранированного помещения, то для соединения камеры ПЭК с периферийнымустройством или транспортным средством должны использоваться экранированные кабели.
10 ИСПЫТАНИЕ ПУТЕМ НЕПОСРЕДСТВЕННОЙ ИНЖЕКЦИИ ТОКА
10.1 Метод испытания
Данные методпредполагает проведение испытаний на устойчивость к воздействию излучений путемнепосредственного индуцирования токов в электропроводке при помощи инжекторатока. Инжектор тока представляет собой соединительный зажим, через которыйпроходят кабели испытываемого ЭСУ. Испытания на устойчивость к воздействиюизлучений могут проводиться с изменением частоты индуцируемых сигналов.
Испытываемый ЭСУможет устанавливаться на заземленной поверхности, как оговорено в 8.2.1 настоящегоприложения, или на транспортном средстве в соответствии со спецификациямитранспортного средства.
10.2 Калибровка инжектора тока до начала испытаний
Инжектор токаустанавливают в калибровочном крепежном устройстве. При сканированиииспытательного диапазона частот должен контролироваться уровень мощности,требуемый для достижения параметров тока, оговоренных в 6.7.2.1 настоящих Правил.Этот метод используется для калибровки системы непосредственной инжекции токана предмет подводимой мощности в зависимости от требуемого уровня тока на этапедо проведения испытаний, именно эта подводимая мощность должна подаваться на инжектортока после его соединения с испытываемым ЭСУ при помощи кабелей,использовавшихся в ходе калибровки. Следует отметить, что контролируемаямощность, подаваемая на инжектор тока, представляет собой подводимую мощность.
10.3 Установкаиспытываемого ЭСУ
В случае ЭСУ,установленного на заземленной поверхности, как это оговорено в 8.2.1, всекабели электропроводки должны иметь соединения, максимально приближенные к тем,которые имеются в реальных условиях. В оптимальном варианте они должны бытьсоединены с источниками нагрузки и выключателями, используемыми вусловиях практической эксплуатации. Как в случае ЭСУ, устанавливаемых натранспортном средстве, так и в случае ЭСУ, устанавливаемых на заземленнойповерхности, инжектор тока устанавливается на всех проводах электропроводки, накаждом соединении на расстоянии (150±10) мм от каждого соединения электронногоблока управления (ЭБУ), приборных модулей или активных датчиков, как этопоказано на рисунке 1в дополнении 2.
10.4 Провода подачиэлектропитания, передачи сигналов и обеспечения контроля
В случае,если испытываемый ЭСУ устанавливается на заземленной поверхности, как этооговорено в 8.2.1 настоящего приложения, электропроводка должна быть соединенамежду эквивалентной схемой (ЭС) и основным электронным блоком управления. Этаэлектропроводка должна проходить параллельно краю заземленной поверхности нарасстоянии не менее
Расстояние между ЭБУи ЭС должно составлять (1,0±0,1) м или должно быть равным длине, если онаизвестна, электропроводки между ЭБУ и аккумулятором на транспортном средстве, взависимости от того, какое из расстояний является меньшим. Если используетсяэлектропроводка транспортного средства, то любые ответвления, имеющиеся наданной длине, должны быть размещены вдоль заземленной поверхности, ноперпендикулярно краю заземленной поверхности. В иных случаях другие провода,имеющиеся на этой длине, должны расходиться на уровне ЭС.
ПРИЛОЖЕНИЕ 9. Дополнение 1
(обязательное)
Размеры в миллиметрах

1 - испытательнаякамера; 2 - проводка; 3 - испытываемый объект; 4 -выходное сопротивление; 5 - генератор частоты; 6/7- резервныйаккумулятор; 8-источник питания; 9- фильтр; 10- периферийноеустройство; 11 - фильтр; 12 - периферийный блок видеосистемы; 13- оптоэлектрический преобразователь; 14 - оптические линии связи; 15- неэкранированное периферийное устройство; 16 - экранированноепериферийное устройство; 17- оптоэлектрический преобразователь; 18 - изолирующаяопора; 19 - видеокамера
Рисунок 1 - Испытание в 150-миллиметровой полосковой системе
Размеры в миллиметрах

1 -испытываемый объект; 2 - проводка; 3 - периферийное устройство; 4- выходное сопротивление; 5 - изолирующая опора
Рисунок 2 - Испытание в 150-миллиметровой полосковой системе
Размеры в миллиметрах

Подача питания вполосковую систему
1 -заземленная поверхность; 2 - основной пучок и кабели соединения сдатчиками/выключателями; 3 -деревянный каркас; 4 - токопроводящаяпластина; 5 - изолятор; 6- испытываемый объект
Рисунок 3 -Испытания в 800-миллиметровой полосковой системе

Рисунок 4 - Размеры для 800-миллиметровойполосковой системы
ПРИЛОЖЕНИЕ 9. Дополнение 2
(обязательное)
Размеры в миллиметрах

1 - ЭСУ; 2- измеритель ВЧ тока (факультативно); 3 - инжектор ВЧ тока; 4 - эквивалентнаясхема; 5 - фильтрующая сеть экранированной камеры; 6-источник питания; 7 - блоквзаимодействия с ЭСУ: имитационная и контрольная системы; 8 - генераторВЧ сигналов; 9- широкополосный усилитель; 10- направленныйответвитель (ВЧ, 50 Ом); 11- ВЧ или эквивалентная измерительная система;12- спектроанализатор или эквивалентное устройство (факультативно)
Рисунок 1 - Измерительная установка дляиспытания путем непосредственной инжекции тока
ПРИЛОЖЕНИЕ 9. Дополнение 3
(обязательное)

1 - внешнийпроводник (экран); 2 - внутренний проводник (перегородка); 3 - изолятор;4 - ввод; 5 - изолятор; 6 - дверь;7 - коммутационная панель; 8 - подача питания к испытываемому объекту; 9- выходное сопротивление 50 Ом; 10- изоляция; 11 - испытываемый объект (максимальная высота - однатреть расстояния между полом камеры и переборкой)
Рисунок 1 - Испытание в камере ПЭК

Вертикальное сечение
Обозначение:
* - диэлектрические стержни
Рисунок 2 - Схема прямоугольной камеры ПЭК
Размеры камеры ПЭК в зависимостиот верхних пределов частоты должны соответствовать приведенным в таблице.
| Верхняя частота, МГц | Отношение размеров камеры: | Отношение размеров камеры: | Разделяющее расстояние b, см | Переборка S, см |
| W/b | L/W | |||
| 200 | 1,69 | 0,66 | 56 | 70 |
| 200 | 1,00 | 1,00 | 60 | 50 |
ПРИЛОЖЕНИЕ 9. Дополнение 4
(обязательное)
Рисунок 1 -Испытание на устойчивость ЭСУ в условиях свободного поля. Испытательная камера.Общий вид сверху
Размеры вмиллиметрах

Рисунок 2 - Испытание наустойчивость ЭСУ в условиях свободного поля. Испытательная камера. Вид вплоскости продольной симметрии
Ключевые слова: транспортные средства, совместимость электромагнитная,электронный сборочный узел