Стандарт устанавливает методику выполнения измерений колебательной мощности, излучаемой механизмами, установками, оборудованием, трубопроводами в виброизоляторы, расположенные между машиной и присоединительными опорными конструкциями, и через виброизоляторы в фундаменты, при стационарном случайном вибрационном процессе. В настоящем стандарте использован косвенный метод определения колебательной мощности, излучаемой машиной по результатам обработки определенных электрических сигналов, поступающих с электрических преобразователей (датчиков), фиксирующих скорость (или ускорение) вибрации на входе и выходе виброизоляторов машины, а также информация о входных и передаточных механических сопротивлениях виброизоляторов. Стандарт устанавливает методику измерений шести составляющих колебательной мощности, излучаемой машиной в виде трех линейных (поступательных) и трех поворотных составляющих вибрации.
| Обозначение: | ГОСТ Р 8.653-2009 |
| Название рус.: | Государственная система обеспечения единства измерений. Колебательная мощность, излучаемая машинами в присоединенные опорные конструкции. Часть 2. Методика выполнения косвенных измерений |
| Статус: | действует |
| Дата актуализации текста: | 05.05.2017 |
| Дата добавления в базу: | 01.09.2013 |
| Дата введения в действие: | 01.01.2010 |
| Утвержден: | 20.07.2009 Федеральное агентство по техническому регулированию и метрологии (255-ст) |
| Опубликован: | Стандартинформ (2009 г. ) |
| Ссылки для скачивания: |
ФЕДЕРАЛЬНОЕ АГЕНТСТВО
ПО ТЕХНИЧЕСКОМУ РЕГУЛИРОВАНИЮ И МЕТРОЛОГИИ
|
|
НАЦИОНАЛЬНЫЙ |
ГОСТ
Р |
Государственная система обеспечения
единства измерений
КОЛЕБАТЕЛЬНАЯ МОЩНОСТЬ, ИЗЛУЧАЕМАЯ
МАШИНАМИ В ПРИСОЕДИНЕННЫЕ ОПОРНЫЕ
КОНСТРУКЦИИ
Часть 2
Методика выполнения косвенных измерений
|
|
Москва Стандартинформ 2009 |
Предисловие
Цели и принципы стандартизации в Российской Федерации установлены Федеральным законом от 27 декабря 2002 г. № 184-ФЗ «О техническом регулировании», а правила применения национальных стандартов Российской Федерации - ГОСТ Р 1.0-2004 «Стандартизация в Российской Федерации. Основные положения»
Сведения о стандарте
1 РАЗРАБОТАН Федеральным государственным унитарным предприятием «Всероссийский научно-исследовательский институт метрологии им. Д.И. Менделеева» (ФГУП «ВНИИМ им. Д.И. Менделеева») Федерального агентства по техническому регулированию и метрологии и Федеральным государственным унитарным предприятием Государственным научным центром Российской Федерации «Центральный научно-исследовательский институт им. академика А.Н. Крылова» (ФГУП «ЦНИИ им. академика А.Н. Крылова»)
2 ВНЕСЕН Управлением метрологии Федерального агентства по техническому регулированию и метрологии
3 УТВЕРЖДЕН И ВВЕДЕН В ДЕЙСТВИЕ Приказом Федерального агентства по техническому регулированию и метрологии от 20 июля 2009 г. № 255-ст
4 ВВЕДЕН ВПЕРВЫЕ
Информация об изменениях к настоящему стандарту публикуется в ежегодно издаваемом информационном указателе «Национальные стандарты», а текст изменений и поправок - в ежемесячно издаваемых информационных указателях «Национальные стандарты». В случае пересмотра (замены) или отмены настоящего стандарта соответствующее уведомление будет опубликовано в ежемесячно издаваемом информационном указателе «Национальные стандарты». Соответствующая информация, уведомление и тексты размещаются также в информационной системе общего пользования - на официальном сайте Федерального агентства по техническому регулированию и метрологии в сети Интернет
СОДЕРЖАНИЕ
ГОСТ Р 8.653-2009
НАЦИОНАЛЬНЫЙ СТАНДАРТ РОССИЙСКОЙ ФЕДЕРАЦИИ
Государственная система обеспечения единства измерений
КОЛЕБАТЕЛЬНАЯ МОЩНОСТЬ, ИЗЛУЧАЕМАЯ МАШИНАМИ
В ПРИСОЕДИНЕННЫЕ ОПОРНЫЕ КОНСТРУКЦИИ
Часть 2
Методика выполнения косвенных измерений
State system for ensuring the uniformity of measurements.
Mechanical vibration and shock. Measurement of vibration power flow from machines into connected support structures.
Part 2. Indirect method
Дата введения - 2010-01-01
1.1 Настоящий стандарт устанавливает методику выполнения измерений (далее - методика измерений) колебательной мощности, излучаемой механизмами, установками, оборудованием, трубопроводами (далее - машина) в виброизоляторы, расположенные между машиной и присоединенными опорными конструкциями (далее - фундамент), и через виброизоляторы в фундамент, при стационарном случайном вибрационном процессе.
1.2 В настоящем стандарте использован косвенный метод определения колебательной мощности, излучаемой машиной, по результатам обработки электрических сигналов, поступающих с электромеханических преобразователей (датчиков), фиксирующих скорость (или ускорение) вибрации на входе и выходе виброизоляторов машины, а также на основе информации о входных и передаточных механических сопротивлениях виброизоляторов.
1.3 Настоящий стандарт устанавливает методику измерений шести составляющих колебательной мощности, излучаемой машиной в виде трех линейных (поступательных) и трех поворотных составляющих вибрации.
1.4 Методика измерений с помощью косвенного метода, установленная настоящим стандартом, предусматривает:
- работу машины в стационарном режиме;
- установку датчиков вибрации на входе и выходе виброизоляторов, соединяющих машину с фундаментом;
- измерение действительной и мнимой частей взаимных спектров вибрации на входе и выходе виброизоляторов.
Результаты измерений излучаемой колебательной мощности могут быть использованы в целях:
а) определения и сравнения виброактивности машин различных принципов действия, типов, масс и габаритных размеров в конкретных условиях эксплуатации;
б) разработки технических требований к допустимой вибрации машин;
в) разработки предложений по контролю вибрации машин и условий проведения этого контроля;
г) решения задач виброакустической диагностики машин и их виброакустической защиты;
д) разработки мероприятий по уменьшению виброактивности машин и повышению эффективности виброакустической защиты машин.
В настоящем стандарте использованы нормативные ссылки на следующие стандарты:
ГОСТ 12.2.007.0-75 Система стандартов безопасности труда. Изделия электротехнические. Общие требования безопасности
ГОСТ ИСО 5348-2002 Вибрация и удар. Механическое крепление акселерометров
ГОСТ 16819-71 Приборы виброизмерительные. Термины и определения
ГОСТ 24346-80 Вибрация. Термины и определения
ГОСТ 24347-80 Вибрация. Обозначения и единицы величин
Примечание - При пользовании настоящим стандартом целесообразно проверить действие ссылочных стандартов в информационной системе общего пользования - на официальном сайте Федерального агентства по техническому регулированию и метрологии в сети Интернет или по ежегодно издаваемому информационному указателю «Национальные стандарты», который опубликован по состоянию на 1 января текущего года, и по соответствующим ежемесячно издаваемым информационным указателям, опубликованным в текущем году. Если ссылочный стандарт заменен (изменен), то при пользовании настоящим стандартом следует руководствоваться заменяющим (измененным) стандартом. Если ссылочный стандарт отменен без замены, то положение, в котором дана ссылка на него, применяется в части, не затрагивающей эту ссылку.
В настоящем стандарте применены термины по ГОСТ 16819, ГОСТ 24346, 24347, рекомендациям по метрологии [1], а также следующие термины с соответствующими определениями и обозначениями:
3.1 косвенный метод: Метод измерения колебательной мощности, излучаемой машиной, по результатам измерений взаимных спектров вибрации на входе и выходе виброизоляторов и на основе информации о механических сопротивлениях виброизоляторов машины.
3.2 виброизолятор: Устройство, одной из функций которого является уменьшение передачи колебаний в определенном диапазоне частот.
3.3 линейность: Свойство виброизолятора, проявляющееся в случае, когда его динамическое поведение удовлетворяет принципу суперпозиции.
3.4 вектор скорости вибрации
: Вектор,
содержащий шесть составляющих скорости вибрации (три линейные и три
поворотные), направленных вдоль координатных осей x, y и z.
3.5 линейные составляющие
скорости вибрации
: Линейные
(поступательные) составляющие (i = 1, 2, 3) скорости вибрации, направленные вдоль координатных осей x, y и z соответственно.
3.6 поворотные составляющие
скорости вибрации φ, Ψ, Θ, (
): Поворотные
составляющие (i = 4, 5, 6) скорости
вибрации, направленные вдоль координатных осей x, y и z соответственно.
3.7 составляющие ускорения
вибрации
: Линейные (i = 1, 2, 3) и поворотные (i = 4, 5, 6) составляющие ускорения вибрации,
направленные вдоль координатных осей x, y и z соответственно.
3.8 вектор силы F: Вектор возмущающей силы, содержащий шесть составляющих (три линейные силы и три момента силы), направленных вдоль координатных осей x, y и z соответственно.
3.9 линейные составляющие силы Fi: Линейные составляющие возмущающей силы (i = 1, 2, 3), направленные вдоль координатных осей х, у и z соответственно.
3.10 составляющие момента силы
: Составляющие момента возмущающей силы (i = 4, 5, 6), направленные вдоль координатных осей x, y и z соответственно.
3.11 вектор силы, приложенной к n-му виброизолятору Fn: Вектор возмущающей силы, приложенной к n-му виброизолятору (матрица - столбец), содержащий шесть составляющих (три линейные силы и три момента силы), направленных вдоль координатных осей x, y и z соответственно.
3.12 составляющие силы,
приложенной к n-му виброизолятору
: Составляющие
возмущающей силы (i = 1, 2, 3, 4, 5, 6), приложенной к n-му виброизолятору.
3.13 вектор скорости вибрации n-го виброизолятора
: Вектор скорости вибрации n-го виброизолятора (матрица - столбец), содержащий шесть составляющих
(три линейные и три поворотные), направленных вдоль координатных осей x, y и z.
3.14 составляющие скорости
вибрации в точке
: Составляющие (i = 1, 2, 3, 4, 5, 6)
скорости вибрации в месте крепления n-го виброизолятора.
3.15 составляющие ускорения вибрации в точке
: Составляющие (i = 1, 2, 3, 4, 5, 6) ускорения вибрации в месте
крепления n-го виброизолятора.
3.16 составляющие скорости
вибрации машины и фундамента
и
: Составляющие
скорости вибрации машины и фундамента в месте крепления n-го виброизолятора.
3.17 составляющие ускорения
вибрации машины и фундамента
и
: Составляющие
ускорения вибрации машины и фундамента в месте крепления n-го виброизолятора.
3.18 составляющие силы,
приложенной к n-му виброизолятору со стороны машины
:
Составляющие возмущающей силы (i = 1, 2, 3, 4, 5, 6), приложенной со
стороны машины к n-му
виброизолятору.
3.19 составляющие силы,
приложенной к фундаменту
: Составляющие
возмущающей
силы (i
= 1, 2, 3, 4, 5, 6), приложенной к фундаменту через n-й виброизолятор.
3.20 матрица механических сопротивлений виброизолятора [Z]: Матрица частотно-зависимых комплексных механических сопротивлений виброизолятора.
3.21 матрица входных и выходных механических сопротивлений виброизолятора [Zвх] и [Zвых]: Матрица входных и выходных частотно-зависимых комплексных механических сопротивлений виброизолятора.
3.22 матрица передаточных
механических сопротивлений виброизолятора
: Матрица
передаточных частотно-зависимых комплексных механических сопротивлений
виброизолятора.
3.23 входное механическое сопротивление виброизолятора Zвхij: Частотно-зависимое комплексное отношение силы, приложенной ко входу отдельного виброизолятора в i-м направлении, к j-й составляющей скорости вибрации на входе виброизолятора при условии, что остальные пять составляющих вибрации на входе виброизолятора и шесть составляющих вибрации на его выходе блокированы, т.е. равны нулю.
3.24 выходное механическое сопротивление виброизолятора Zвыхij: Частотно-зависимое комплексное отношение силы, приложенной к выходу отдельного виброизолятора в i-м направлении, к j-й составляющей скорости вибрации на выходе виброизолятора при условии, что остальные шесть составляющих вибрации на входе виброизолятора и пять составляющих вибрации на его выходе блокированы, т.е. равны нулю.
3.25 передаточное механическое сопротивление виброизолятора Zпередij; (Zвх, выхij; Zвых, вхij): Частотно-зависимое комплексное отношение силы, приложенной к блокированному выходу (входу) отдельного виброизолятора в i-м направлении, к j-й составляющей скорости вибрации на входе (выходе) виброизолятора при условии, что остальные пять составляющих вибрации на входе (выходе) виброизолятора равны нулю.
3.26 излучаемая колебательная мощность Р: Скалярное произведение вектора силы и вектора скорости вибрации.
3.27 составляющие излучаемой колебательной мощности Рi: Составляющие колебательной мощности, излучаемые в виде i-й составляющей скорости вибрации.
3.28 колебательная мощность,
излучаемая машиной в n-й виброизолятор
: Скалярное произведение векторов силы, приложенной
со стороны машины к n-му виброизолятору, и скорости вибрации в месте крепления n-го виброизолятора к машине.
3.29 колебательная мощность, излучаемая
машиной в фундамент через n-й виброизолятор
: Скалярное
произведение векторов силы, приложенной к фундаменту через n-й виброизолятор, и скорости вибрации фундамента в
месте крепления n-го виброизолятора к
фундаменту.
3.30 взаимный спектр ReG(A, В) и ImG(A, В): Действительная и мнимая части взаимного спектра вибрационных процессов A(t) и B(t).
3.31 уровень колебательной мощности Lp, дБ: Десятичный логарифм отношения значения измеренной колебательной мощности к значению колебательной мощности 10-12 Вт, соответствующему ее нулевому уровню.
![]()
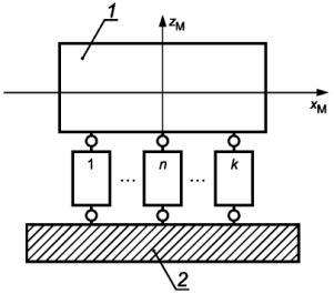
4.1.1 На рисунке 1 приведены аналитическая модель машины, установленной на виброизоляторы, и система координат, связанная с машиной.
На рисунке 2 приведены система координат на входе и выходе виброизолятора, а также обозначения составляющих силы и скорости вибрации.
1 - машина; 2- фундамент
Рисунок 1 -Аналитическая модель машины, установленной на виброизоляторы
1 - виброизолятор
Рисунок 2 - Система координат на входе и выходе виброизолятора и обозначения составляющих силы и скорости
Плоскости систем координат машины и виброизоляторов zMхM и xz; zMyM и zy; xMyM и xy являются параллельными, соответственно. Координатные оси zM и z; xM и х; уM и y также взаимопараллельны.
4.1.2 Колебательную мощность, излучаемую машиной в n-й виброизолятор (или через него в фундамент), определяют как среднее в бесконечном промежутке времени скалярного произведения векторов силы, действующей на n-й виброизолятор (или через виброизолятор на фундамент), и скорости вибрации на входе n-го виброизолятора в месте соединения с машиной (или на выходе в месте соединения n-го виброизолятора с фундаментом):
где Δt = t2 - t1 - интервал времени, в течение которого выполняется усреднение.
4.1.3 Колебательная мощность, излучаемая в n-й виброизолятор (или через него в фундамент), равна сумме мощностей, излучаемых в виде шести составляющих вибрации входного (или выходного) сечения n-го виброизолятора:
|
|
(2) |
4.1.4 Колебательную мощность P, излучаемую машиной во все виброизоляторы (или через все виброизоляторы в фундамент), определяют как сумму мощностей, излучаемых в отдельные виброизоляторы (или через отдельные виброизоляторы):
4.1.5 Составляющую колебательной мощности, излучаемой машиной через все виброизоляторы в виде i-й составляющей вибрации, определяют по формуле
4.1.6 В частотной области колебательная мощность,
излучаемая в n-й виброизолятор
и через n-й виброизолятор в фундамент
, равна действительной части взаимного спектра
стационарных случайных процессов сил
,
и скоростей
,
. В случае
использования при
проведении измерений колебательной мощности многоканального
анализатора, работающего по алгоритму быстрого преобразования Фурье (БПФ)
стационарных случайных процессов, колебательные мощности
,
, излучаемые через n-й виброизолятор в полосе частот
с центральной
частотой
, определяют по формулам:
|
|
(6) |
|
|
где
и
- комплексно-сопряженные
спектральные характеристики скоростей вибрации машины и фундамента в месте
крепления n-го
виброизолятора.
4.1.7 Соотношения
между силами, действующими на виброизолятор
и на фундамент
, скоростями вибрации машины
и фундамента
описываются
следующими уравнениями:
|
|
|
|
|
(7) |
Использование этих соотношений позволяет реализовать косвенный метод измерения колебательной мощности, излучаемой в виброизоляторы и через виброизоляторы в фундамент.
4.1.8 При реализации косвенного метода определения колебательной мощности, излучаемой машиной, следует использовать информацию о спектрах механических сопротивлений виброизоляторов и скоростях вибрации машины при полосе частотного анализа Δw, в которой механические сопротивления виброизоляторов возможно рассматривать как комплексные величины. Для выполнения этого условия добротность анализирующего фильтра Q должна быть больше добротности резонансов колебательной системы «машина - система виброизоляции - фундамент». Это условие выполняется при использовании информации о спектрах механических сопротивлений виброизоляторов и скоростях вибрации машины при полосах частотного анализа 1/9-, 1/12- или 1/24-октавы.
4.1.9 Колебательные мощности, излучаемые машиной в виброизоляторы и в фундамент, определяют косвенным методом по результатам измерения скорости вибрации по формулам:
4.1.10 Колебательные мощности, излучаемые машиной в виброизоляторы и в фундамент, определяют косвенным методом по результатам измерения ускорения вибрации по формулам:
|
(10) |
|
|
(11) |
4.1.11 В случае если оператор владеет информацией только об элементах матрицы механических сопротивлений виброизоляторов «сила - линейные составляющие вибрации», настоящая методика устанавливает метод измерения трех составляющих колебательных мощностей, излучаемых в виде трех линейных составляющих вибрации. В этом случае индексы i, j в формулах (1) - (11) имеют значения только 1, 2, 3.
Примечание - Общая матрица механических сопротивлений виброизоляторов 12×12 приведена на рисунке А.1 (приложение А). На рисунке А.2 (приложение А) приведена матрица механических сопротивлений 6×6, включающая в себя механические сопротивления между линейными силами и линейными скоростями вибрации.
На рисунке Б.1 (приложение Б) приведена обобщенная схема осесимметричных виброизоляторов. Этот тип виброизоляторов наиболее распространен на практике. На рисунке Б.2 (приложение Б) приведена матрица механических сопротивлений 6×6, включающая в себя механические сопротивления между линейными силами и линейными скоростями вибрации одиночного осесимметричного виброизолятора.
4.1.12 Для осесимметричных виброизоляторов и виброизоляторов, симметричных относительно плоскостей zx и zy, колебательную мощность, излучаемую машиной в n-й виброизолятор и через него в фундамент в виде линейных составляющих вибрации (i = 1, 2, 3), определяют по формулам:
|
(12) |
|
|
(13) |
В случае измерения ускорения вибрации колебательную мощность определяют по формулам:
|
(14) |
|
|
(15) |
Примечание - Входное сопротивление виброизоляторов, как правило, больше передаточного сопротивления или равно ему, за исключением металлических пружинных виброизоляторов без средств демпфирования на резонансных частотах.
4.1.13 В случае если
уменьшение вибрации при ее распространении от машины через n-й виброизолятор к фундаменту значительно
(например, более 10 дБ), колебательную мощность
определяют по
формулам:
|
(16) |
|
|
(17) |
4.1.14 При наличии результатов измерений колебательной мощности, излучаемой машиной через ограниченное число виброизоляторов l, колебательную мощность Pi (w, Δw), излучаемую через все виброизоляторы, определяют по данным измерений через ограниченное число виброизоляторов l по формуле
4.1.15 Спектр колебательной мощности, излучаемой машиной в присоединенные конструкции, при узкой полосе Δw частотного анализа измеряют в следующем порядке:
- поочередно измеряют действительную и мнимую части взаимного спектра составляющих скорости (или ускорения) вибрации на входе и выходе виброизоляторов;
- определяют суммы спектров колебательных мощностей, излучаемых в виде каждой из трехлинейных и трех поворотных составляющих вибрации через все виброизоляторы, связывающие машину с присоединенными конструкциями;
- определяют спектр полной колебательной мощности, излучаемой машиной через все виброизоляторы в виде трех линейных и трех поворотных составляющих вибрации.
4.2.1 Колебательную мощность, излучаемую в полосе частот (например, в 1/3-октавной), определяют по формуле
где
N - число спектральных значений мощности
измеренной в узкой
полосе частот
в 1/3-октавной полосе
частот.
4.2.2 При наличии в
1/3-октавной полосе частот узкополосных составляющих, имеющих положительные
значения, и составляющих, имеющих отрицательные значения, определяют отдельно
положительное
и отрицательное
значения
колебательной мощности, излучаемой в фундамент в
1/3-октавной полосе частот, по формулам:
где
- число положительных
спектральных составляющих мощности
измеряемой в
узкой полосе частот
в 1/3-октавной полосе
частот;
где
N - число отрицательных спектральных составляющих мощности
измеряемой в узкой полосе
частот
в 1/3-октавной полосе
частот.
Пределы относительной доверительной погрешности измерений колебательной мощности, излучаемой машиной в виброизоляторы или в фундамент через виброизоляторы в виде i-й составляющей вибрации, составляют 25 % при доверительной вероятности P = 0,95.
6.1 При выполнении измерений применяют средства измерений и другие технические средства, приведенные в таблице 1.
Таблица 1 - Применяемые средства измерений и технические средства
|
Наименование средства измерений и другого технического средства |
Метрологические характеристики средства измерений |
|
1 Датчик вибрации |
Диапазон частот измерений вибрации от 2 Гц до 10 кГц; |
|
амплитудный диапазон определяется предельными значениями измеряемых вибраций; |
|
|
пределы допускаемой относительной погрешности ± 7 % |
|
|
2 Анализатор спектра |
Диапазон изменения значений анализируемых сигналов от -5 В до +5 В; |
|
диапазон изменения частот анализируемых сигналов от 0 Гц до 20 кГц; |
|
|
сдвиг фаз между каналами не более 0,1°; |
|
|
пределы допускаемой относительной погрешности ± 1 % |
|
|
3 Усилитель заряда |
Частотный диапазон от 0,3 до 100 кГц; |
|
коэффициент усиления от -20 до +60 дБ; |
|
|
пределы допускаемой относительной погрешности ± 1 % |
6.2 Метрологические характеристики средств измерений (включая и фазочастотные) определяют в исследуемых диапазонах частот и амплитуд до их установки на место эксплуатации.
7.1 При проведении измерений необходимо соблюдать требования ГОСТ 12.2.007.0.
7.2 При подготовке и проведении измерений необходимо соблюдать требования [2] и [3].
7.3 Средства измерений и технические средства, а также вспомогательное оборудование должны иметь защитное заземление. Не допускается использовать в качестве заземления корпус (коробку) силовых электрических и осветительных щитов и арматуру центрального отопления.
7.1.4 Установку средств измерений проводят при выключенном напряжении питания.
К выполнению измерений колебательной мощности, излучаемой машинами в фундамент, допускают лиц:
- имеющих высшее техническое или среднее техническое образование;
- изучивших настоящую методику измерений, руководства по эксплуатации применяемых средств измерений и технических средств;
- знающих правила обработки результатов испытаний;
- имеющих опыт проведения виброакустических испытаний и работы со средствами измерений параметров вибрации не менее одного года.
|
температура окружающего воздуха |
от 15 °С до 30 °С; |
|
относительная влажность |
от 45 % до 75 %; |
|
атмосферное давление |
от 84 до 106 кПа. |
9.2 При изменении условий измерений, указанных в 9.1, следует учитывать дополнительные погрешности от влияющих факторов, определенные по паспортным данным на средство измерений или техническое средство.
10.1.1 Места установки средств измерений должны быть очищены от загрязнений, ржавчины и других мешающих факторов.
10.1.2 Применяемые средства измерений по амплитудному и частотному диапазонам должны соответствовать решаемой измерительной задаче.
10.1.3 Суммарная масса устанавливаемых датчиков вибрации должна быть не менее чем в десять раз меньше массы испытуемой машины, излучающей колебательную мощность в виброизоляцию или фундамент.
10.2.1 Для получения точных результатов определения суммарной колебательной мощности измеряют колебательную мощность, излучаемую через все виброизоляторы, связывающие машину с фундаментом. Если это невозможно, ограниченное число виброизоляторов для контроля потока колебательной мощности выбирают в следующем порядке.
10.2.2 Измеряют во
время работы машины значение составляющих вибрации вдоль осей x, y и z -
в местах крепления
машины ко всем k виброизоляторам или уровни этих составляющих вибрации
дБ. При наличии исходной информации в единицах абсолютных
величин определяют уровни среднеквадратичной вибрации по всем точкам измерений
по формуле
|
|
(22) |
а при наличии исходной информации в единицах относительных величин (дБ) - по формуле
|
|
(23) |
где
- значение ускорения,
соответствующее нулевому уровню ускорения вибрации.
10.2.3 Выбирают виброизоляторы, через которые предполагается осуществлять измерение колебательной мощности. В это число следует включить угловые виброизоляторы и произвольные виброизоляторы с каждой из протяженных сторон машины, расположенные на расстоянии не более 1 м друг от друга.
10.2.4 Определяют
уровни
, дБ, среднеквадратичной вибрации по выбранным l точкам измерения (при наличии исходной информации в единицах абсолютных
величин) по формуле
|
|
(24) |
или по формуле (при наличии исходной информации в единицах относительных величин, дБ)
|
|
(25) |
Абсолютная разность между уровнями среднеквадратичной вибрации для k и l виброизоляторов должна быть не более 3 дБ
|
|
(26) |
Если неравенство не соблюдается, то число выбранных виброизоляторов следует увеличить.
10.3.1 Крепление датчиков вибрации (датчиков скорости или ускорения) проводят в соответствии с рекомендациями ГОСТ ИСО 5348.
10.3.2 Для определения шести составляющих колебательной мощности, излучаемой машиной в виброизоляторы и фундамент, на машину и фундамент устанавливают датчики вибрации, как показано на рисунках 3 и 4.
10.3.3 Если оператор владеет информацией только об ограниченном числе механических сопротивлений виброизолятора из общей матрицы, то при измерении излучаемой колебательной мощности по формулам (8), (9) и (12), (13) число членов в формулах и измеряемых составляющих колебательной мощности ограничивают числом известных коэффициентов матрицы механических сопротивлений виброизолятора.
Рисунок 3 - Схема расположения датчиков вибрации на машине и фундаменте в местах крепления виброизоляторов к машине и фундаменту с использованием болтовых соединений
10.3.4 В случае если виброизолятор имеет одно болтовое соединение с машиной и одно болтовое соединение с фундаментом, измерение линейных составляющих скорости (или ускорения) вибрации машины и фундамента выполняют при расположении датчиков вибрации на головке болта по схеме, приведенной на рисунке 3 (см. 1м, 2м, 3м, 1ф, 2ф, 3ф на рисунке 3).
Поворотные составляющие скорости вибрации измеряют с помощью датчиков 4м, 4¢м, 5м, 5¢м, 6м, 6¢м, 4ф, 4¢ф, 5ф, 5¢ф, 6ф, 6¢ф, схема расположения которых приведена на рисунке 3. Поворотные составляющие ускорения вибрации определяют по формулам:
Чувствительность пары датчиков вибрации к поворотным колебаниям
|
|
(28) |
где
- чувствительность
одного из датчиков вибрации; l
- расстояние между соответствующими датчиками.
Примечание - При наличии информации только о матрице механических сопротивлений виброизолятора 6×6 по отношению к линейным силам поворотные составляющие вибрации машины не измеряют.
10.3.5 В случае применения протяженного виброизолятора, имеющего несколько болтовых соединений с машиной и фундаментом, датчики вибрации устанавливают на лапе машины и полке фундамента или на фланцах соединения виброизолятора с машиной и фундаментом по схеме, представленной на рисунке 4.
В случае если виброизолятор имеет протяженные размеры вдоль оси машины, датчики вибрации 2 и 5 устанавливают на крайние болтовые соединения виброизолятора.
Рисунок 4 - Схема расположения датчиков вибрации при установке машины на протяженный виброизолятор
10.3.5.1 Линейные составляющие скорости вибрации могут быть измерены двумя способами.
Первый способ - с использованием двух датчиков вибрации для определения каждой линейной составляющей вибрации по формулам:
|
|
(29) |
|
|
Второй способ - с использованием одного трехкомпонентного датчика вибрации. Трехкомпонентный датчик вибрации монтируют на головке болта в центре протяженного виброизолятора по схеме, приведенной на рисунке 3 (см. расположение датчиков 1м, 2м, 3м, 1ф, 2ф, 3ф).
10.3.5.2 Поворотные составляющие ускорения вибрации машины и фундамента определяют по формуле (27).
10.4.1 Предельную верхнюю частоту при измерении линейных составляющих вибрации с использованием датчиков вибрации, установленных на головки болтов, которая должна быть значительно меньше резонансной частоты рабочей части болта, Гц, определяют по формуле
|
|
(30) |
где hл - толщина лапы машины, м.
10.4.2 Предельную
верхнюю частоту при измерении линейных и поворотных составляющих вибрации с
использованием двух датчиков вибрации, расположенных на расстоянии
(на машине) и
(на фундаменте),
Гц, определяют по формуле
где
li - наибольшее из
и
, м.
10.5.1 Типовая схема тракта для измерения взаимных спектров вибрации приведена на рисунке 5.
1 - датчик ускорения; 2 - предварительный усилитель (усилитель заряда); 3 - сумматор
Рисунок 5 - Схема типичного измерительного тракта для определения взаимного спектра составляющих вибрации машины и фундамента с помощью датчиков ускорения вибрации
10.5.2 Полосу спектрального анализа выбирают в соответствии с 4.1.8.
10.5.3 Перед выполнением измерений излучаемой колебательной мощности проводят контроль идентичности фазовых характеристик каналов тракта измерения скорости вибрации до и после виброизолятора. Полученные данные вводят в программу компьютера для учета неидентичности фазовых характеристик каналов скорости при обработке результатов измерений.
10.5.4 При измерении вибрации и взаимных спектров вибрации машины и фундамента в районе n-го виброизолятора электрические сигналы с двух датчиков вибрации, образующих пару, складывают для нахождения линейных составляющих вибрации и вычитают для нахождения поворотных составляющих вибрации машины и фундамента.
Перед сложением и вычитанием сигналов необходимо скорректировать возможную разницу между чувствительностями и фазовыми характеристиками датчиков вибрации, аналоговых устройств и анализаторов БПФ. Вычитание следует заменить сложением и, наоборот, сложение - вычитанием в том случае, если один из датчиков вибрации, составляющих пару, установлен встречно.
10.6.1 Для определения числа
выборок анализатора nd, участвующих в усреднении измерений взаимного
спектра вибрации, устанавливают процесс усреднения анализатора при числе
независимых выборок n = 100. Проводят не менее 10 измерений взаимных спектров вибрации А на
частотах 10, 100 и 1000 Гц. Вычисляют среднее значение амплитуды взаимного
спектра вибрации (автоспектра
) и результаты вносят в таблицу 2.
Таблица 2 - Среднее значение амплитуды взаимного спектра
|
Частота f, Гц |
|||
|
f1 = 10 |
f2 = 100 |
f3 = fmax |
|
|
А1 |
|
|
|
|
… |
|
|
|
|
А10 |
|
|
|
|
|
|
|
|
Для частот f1, f2 и f3 определяют среднеквадратичные отклонения
При обработке результатов измерений выбирают наибольшее значение Sf max из трех измерений взаимного спектра Sfi.
Определяют минимально необходимое число выборок nd, устанавливаемых в анализаторе при проведении измерений
|
|
(33) |
где
- назначенная случайная
относительная среднеквадратичная погрешность измерения колебательной мощности
(взаимных спектров);
Kз = 2 - коэффициент запаса, учитывающий погрешность определения Sf max при ограниченном числе наблюдений n = 10.
11.1 Анализируют матрицу механических сопротивлений виброизоляторов, расположенных под машиной. Определяют объем имеющейся информации о коэффициентах матрицы сопротивлений. Вводят в компьютер массив данных о спектре комплексных входных и передаточных сопротивлений виброизоляторов при полосе частотного анализа Δw, выбранной в соответствии с 4.1.8.
11.2 Число контролируемых виброизоляторов выбирают в соответствии с 10.2 при работающей машине.
11.3 Располагают датчики вибрации в соответствии с 10.3 и рисунками 3 и 4.
11.4 Определяют граничную частоту измерений вибрации fmax по формулам (31) и (32).
11.5 Измерения проводят с использованием измерительного тракта, схема которого представлена на рисунке 5, в следующем порядке.
11.5.1 Устанавливают на анализаторе в режиме «измерение взаимного спектра» частотный диапазон от 0 до fmax и полосу частотного анализа Δw, выбранную в соответствии с 4.1.8.
11.5.2 Для выполнения измерений вибрации на работающей машине:
- на первый и второй каналы анализатора подключают через предварительные усилители датчики ускорения, установленные на входе и выходе виброизоляторов;
- устанавливают в каналах анализатора чувствительности датчиков ускорения, умноженные на коэффициенты передачи предварительных усилителей (соотношение сигнал/шум в каналах должно быть не менее 14 дБ);
- устанавливают диапазон частот измерения на анализаторе;
- устанавливают число выборок nd;
- приводят в действие процесс усреднения выборок анализатора и получают результат измерения взаимного спектра.
11.6 Поочередно на всех контролируемых виброизоляторах и для всех выбранных для контроля составляющих вибрации измеряют взаимные спектры при полосе частотного анализа Δw и вводят массивы взаимных спектров в компьютер.
12.1.1 Порядок обработки результатов измерений колебательной мощности, излучаемой в виброизоляторы в виде всех шести (или любых из шести) составляющих вибрации
12.1.1.1 Вычисляют колебательную
мощность
излучаемую машиной в n-й виброизолятор в виде i-й составляющей
вибрации в узкой полосе частот, по формуле (8)
или (10).
12.1.1.2 Используя результаты
определения
вычисляют
колебательную мощность
излучаемую
машиной в 1/3-октавной полосе частот, по формуле (19).
12.1.1.3 Определяют колебательную
мощность
излучаемую во все
виброизоляторы в
виде i-й составляющей вибрации, по формуле (5).
12.1.1.4 Вычисляют суммарную
колебательную мощность
излучаемую машиной в
виде всех шести (или любых из шести) составляющих вибрации, по формуле (4).
12.1.2 Порядок обработки результатов измерений колебательной мощности, излучаемой в фундамент в виде всех шести (или любых из шести) составляющих вибрации
12.1.2.1 Вычисляют колебательную
мощность
излучаемую
машиной в фундамент через n-й виброизолятор в виде i-й составляющей вибрации в узкой полосе частот, по формуле (9) или (11).
12.1.2.2 Используя результаты
определения
вычисляют
положительное и отрицательное значения колебательной мощности
излучаемой машиной в
третьоктавной полосе частот в фундамент, по формулам (20) и (21).
12.1.2.3 Определяют положительное
и отрицательное значения колебательной мощности
излучаемой машиной
через все виброизоляторы в фундамент в виде i-й составляющей
вибрации, по формуле (5).
12.1.2.4 Вычисляют значения
положительной и отрицательной суммарной колебательной мощности
излучаемой машиной в
виде всех шести (или любых из шести) составляющих вибрации, по формуле (4).
12.2.1 Порядок обработки результатов измерений колебательной мощности, излучаемой в виброизоляторы в виде трех линейных составляющих вибрации, при установке машины на осесимметричные или прямоугольные виброизоляторы
12.2.1.1 Вычисляют колебательную
мощность
излучаемую машиной в n-й виброизолятор в виде i-й линейной
составляющей вибрации в узкой полосе частот, по формуле (12) или (14).
При перепаде вибрации на виброизоляторе более 10 - 15 дБ допускается вычислять
по формуле (16) или
(17).
12.2.1.2 Используя результаты
определения
вычисляют
колебательную мощность
излучаемую
машиной в третьоктавной полосе частот, по формуле (19).
12.2.1.3 Определяют колебательную
мощность
излучаемую во все
виброизоляторы в
виде i-й линейной составляющей вибрации, по
формуле (5).
12.2.1.4 Вычисляют суммарную
колебательную мощность
излучаемую машиной в
виде трех линейных составляющих вибрации, по формуле (4).
12.2.2 Порядок обработки результатов измерений колебательной мощности, излучаемой в фундамент в виде трех линейных составляющих вибрации, при установке машины на осесимметричные или прямоугольные виброизоляторы
12.2.2.1 Вычисляют колебательную
мощность
излучаемую
машиной через n-й виброизолятор в фундамент в виде i-й составляющей вибрации в узкой полосе частот, по формуле (13) или (15).
12.2.2.2 Используя результаты
определения
вычисляют
положительное и отрицательное значения колебательной мощности
излучаемой
машиной в 1/3-октавной полосе частот в фундамент в виде i-й линейной составляющей вибрации, по
формулам (20) и (21).
12.2.2.3 Определяют положительное
и отрицательное значения колебательной мощности
излучаемой во все
виброизоляторы в виде i-й линейной составляющей вибрации, по формуле (5).
12.2.2.4 Вычисляют положительное
и отрицательное значения суммарной колебательной мощности
излучаемой машиной в
виде всех линейных составляющих вибрации, по формуле (4).
12.3 В случае если вибрацию машины измеряют при ограниченном числе виброизоляторов, то полную колебательную мощность определяют по формуле (18).
12.4 Полученные положительное и отрицательное значения колебательных мощностей представляют на бланке, приведенном на рисунке 6.
Рисунок 6 - Бланк представления характеристик колебательных мощностей
12.5 Расчет погрешности измерений колебательной мощности рекомендуется проводить в соответствии с приложением В.
(справочное)
Матрицы механических сопротивлений виброизоляторов
Рисунок А.1 - Матрица механических сопротивлений одиночного виброизолятора
Рисунок А.2 - Матрица механических сопротивлений одиночного виброизолятора только для линейных составляющих колебаний
(справочное)
Осесимметричные виброизоляторы и виброизоляторы, симметричные относительно плоскостей zx или zy
Рисунок Б.1 - Обобщенная схема осесимметричных виброизоляторов и виброизоляторов, симметричных относительно плоскостей zx и zy
Рисунок Б.2 - Матрица механических сопротивлений одиночного осесимметричного виброизолятора или виброизоляторов, симметричных относительно плоскостей zx и zy для линейных составляющих колебаний
(рекомендуемое)
Определение погрешности измерений колебательной мощности, излучаемой машинами в присоединенные опорные конструкции
Порядок определения погрешности измерения колебательной мощности, излучаемой машинами в присоединенные опорные конструкции, рассмотрен на примере измерения колебательной мощности, излучаемой машиной в систему «виброизолятор - фундамент» в виде линейных (поступательных) составляющих вибрации, для случая установки машины на осесимметричные виброизоляторы, матрица механических сопротивлений которых приведена в приложении Б.
Мощность, излучаемую машиной в виде линейной (например, в виде вертикальной) составляющей вибрации, определяют по формуле (12)
|
|
(В.1) |
Поскольку вибрация
машины значительно превышает вибрацию фундамента, т.е. значение
значительно больше
значения
а входное
сопротивление виброизолятора больше (или равно) передаточного сопротивления, то
погрешность измерения излучаемой мощности
практически определяется погрешностью
измерений скорости вибрации машины в месте крепления n-го виброизолятора
и входного
сопротивления виброизолятора ![]()
Расчет погрешности измерений колебательной мощности, излучаемой машинами в систему «виброизолятор - фундамент», для осесимметричных виброизоляторов проводят в следующем порядке.
В.1 Определяют значения границ неисключенных систематических составляющих погрешности измерений скорости или ускорения вибрации и сопротивления виброизоляторов. Этими неисключенными систематическими составляющими погрешности являются:
- погрешность датчика вибрации (доверительные границы погрешностей ± ΔА);
- погрешности предварительных усилителей в канале измерений вибрации (доверительные границы погрешностей ± ΔУ);
- погрешность анализатора спектральных характеристик (доверительные границы погрешности ± ΔАС, определяют по паспортным данным);
- погрешность определения модуля входного сопротивления виброизолятора (доверительные границы погрешности ± Δ[Z] определяют по паспортным данным или экспериментальным данным).
В.2 Определяют значения границ неисключенной систематической составляющей погрешности измерений реальной части сопротивления виброизолятора, вызванной фазовой неидентичностью каналов измерения скоростей вибрации и сил при измерении реальной части сопротивления виброизолятора.
Границы неисключенной систематической составляющей погрешности определяют по формуле
|
|
(В.2) |
где
- угол сдвига
фаз между скоростью вибрации и силой на входе виброизолятора;
- угол сдвига фаз
между каналами силы и скорости, вызванный их фазовой неидентичностью.
На практике при возбуждении колебаний виброизоляторов
максимальный угол сдвига фаз между силой и скоростью колебаний составляет 87°.
Зависимость максимальной погрешности
от угла сдвига фаз
между измерительными каналами силы и скорости при
приведена на рисунке В.1.
Рисунок В.1
-Зависимость максимальной погрешности
от угла сдвига фаз между измерительными каналами
силы и скорости при ![]()
В.3 Определяют границы неисключенной систематической погрешности измерений колебательной мощности линейной составляющей вибрации при доверительной вероятности 0,95.
|
|
(В.3) |
где

Коэффициент влияния
принимают равным 1
(см. раздел 4).
В.4 Перечень и значения составляющих погрешностей, необходимых для расчета предельной относительной погрешности измерения колебательной мощности, приведены в таблице В.1.
Таблица В.1
|
Обозначение составляющей погрешности |
Значение составляющей погрешности* |
|
|
1 Доверительные границы погрешности датчика вибрации |
± ΔА |
± 7 % |
|
2 Доверительные границы погрешности предварительного усилителя |
± ΔУ |
± 1 % |
|
3 Доверительные границы погрешности анализатора спектра |
± ΔАС |
± 1 % |
|
4 Доверительные границы погрешности определения модуля входного сопротивления виброизолятора |
± Δ[Z] |
± 19 % |
|
5 Доверительные границы погрешности, вызванной фазовой неидентичностью каналов силы и скорости колебаний |
|
± 6,6 % |
|
6 Среднеквадратичное отклонение результатов измерений взаимных спектров |
|
2 % |
|
* Значения погрешностей приведены для условий измерений, указанных в разделе 9. |
||
В.5 Пример расчета неисключенной систематической составляющей погрешности
Границы неисключенной систематической погрешности колебательной мощности при доверительной вероятности 0,95
![]()
где 
![]()
В соответствии с 10.7.4
назначенная случайная относительная среднеквадратичная погрешность измерения
мощности ![]()
Соотношение систематической и случайной погрешностей
![]()
В этом случае за погрешность результата косвенного измерения принимают неисключенную систематическую составляющую погрешности измерения.
Поэтому значение предельной относительной погрешности измерения колебательной мощности
![]()
|
РМГ 29-99 |
Государственная система обеспечения единства измерений. Метрология. Основные термины и определения |
|
|
Правила технической эксплуатации электроустановок потребителей. Утверждены Приказом Минэнерго РФ от 13.01.2003 № 6 |
||
|
Межотраслевые правила по охране труда (правила безопасности) при эксплуатации электроустановок. Утверждены Минтруда РФ 18 февраля 2003 г. и Минэнерго РФ 20 февраля 2003 г. |
||
Ключевые слова: колебательная мощность, вибрация, скорость вибрации, ускорение вибрации, датчик вибрации, вектор силы, момент силы, матрица механических сопротивлений, спектральная характеристика, виброизолятор, фундамент, опорная конструкция, погрешность