Меню
Навигация
Novatika
Первая линия

ГОСТ 26128-84* «Пленки полимерные. Методы определения сопротивления раздиру»

Стандарт распространяется на полимерные пленки и пленочные материалы толщиной до 1 мм и устанавливает два метода определения сопротивления раздиру (А и Б).
Стандарт не распространяется на пленки, изготовленные из армированных материалов, или имеющие неровную поверхность.

Обозначение: ГОСТ 26128-84*
Название рус.: Пленки полимерные. Методы определения сопротивления раздиру
Статус: действующий (Введен впервые.)
Дата актуализации текста: 01.10.2008
Дата добавления в базу: 01.02.2009
Дата введения в действие: 01.01.1985
Разработан: Министерство химической промышленности СССР
Утвержден: Госстандарт СССР (26.03.1984)
Опубликован: Издательство стандартов № 1984<br>ИПК Издательство стандартов № 2003

ГОСТ 26128-84

МЕЖГОСУДАРСТВЕННЫЙ СТАНДАРТ

ПЛЕНКИПОЛИМЕРНЫЕ

МЕТОДЫОПРЕДЕЛЕНИЯ СОПРОТИВЛЕНИЯ РАЗДИРУ

ИПК ИЗДАТЕЛЬСТВОСТАНДАРТОВ

Москва

МЕЖГОСУДАРСТВЕННЫЙ СТАНДАРТ

ПЛЕНКИ ПОЛИМЕРНЫЕ

Методы определения сопротивления раздиру

Polymer films. Methods of tear resistance
determination

ГОСТ
26128-84

Дата введения 01.01.85

Настоящийстандарт распространяется на полимерные пленки и пленочные материалы толщиной до1 мм и устанавливает два метода определения сопротивления раздиру (А и Б).

Методызаключаются в растяжении испытуемого образца с концентратором напряжения спостоянной скоростью деформирования и определения сопротивления раздиру какотношение нагрузки к первоначальной толщине образца.

Метод Апредусматривает испытание образца, концентратор напряжения которого создаетсянадрезом.

Метод Бпредусматривает испытание образца, концентратор напряжения которого создаетсяего формой.

Метод Апредназначен для испытания пленок с относительным удлинением при разрыве более100 %, метод Б - для остальных видов полимерных пленок.

Настоящийстандарт не распространяется на пленки, изготовленные из армированныхматериалов, или имеющие неровную поверхность.

(Измененная редакция,Изм. № 1).

1. ОТБОР ОБРАЗЦОВ

1.1. Дляопределения сопротивления раздиру применяют следующие образцы:

для метода А -образец с надрезом типа I;

для метода Б -образец с концентратором напряжения под углом 90° типа II.

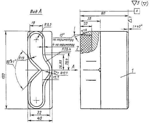
Форма и размеры образцовуказаны на черт. 1. Предельныеотклонения по длине и ширине образца и длине надреза ± 1 мм.

Черт. 1

(Измененнаяредакция, Изм. № 1).

1.2. Типобразцов, методы их отбора и испытания должны быть указаны внормативно-технической документации на конкретную продукцию.

1.3. Длявырезания образцов используют бритвенное лезвие или другое режущееприспособление. Рекомендуемое режущее приспособление для образца типа II приведено в приложении.

Образцы вырезаюттак, чтобы края вершины надреза были ровными, гладкими, без зазубрин и другихвидимых дефектов. Для проверки качества краев надреза рекомендуетсяпользоваться лупой с кратностью увеличения не менее 8.

(Измененнаяредакция, Изм. № 1).

1.4. Количествообразцов для испытания и направление их вырезания должны быть указаны внормативно-технической документации на конкретную продукцию, но не менее пяти вкаждом выбранном направлении.

1.5. Образцы кондиционируют по ГОСТ 12423 не менее 16 ч при температуре (23 ± 2) °С, относительнойвлажности (50 ± 5) %, если в нормативно-технической документации на конкретнуюпродукцию нет других указаний.

2. АППАРАТУРА

2.1. Испытаниепроводят на разрывной или универсальной испытательной машине, которая должнаобеспечивать: непрерывное измерение нагрузки с погрешностью не более 1 % отизмеряемой величины, фиксацию максимального значения нагрузки, захваты машины -надежное без выскальзывания закрепление образцов. Рекомендуется применятьмашину, снабженную прибором для автоматической записи нагрузки.

2.2. Приборы для измерения толщины образцов выбирают в зависимостиот толщины пленки по ГОСТ 17035.

3. ПРОВЕДЕНИЕ ИСПЫТАНИЯ

3.1. Передиспытанием измеряют толщину образцов.

Для образца типаI толщину измеряют в трех равноотстоящихточках между вершиной надреза и концом зоны испытания образца и вычисляютсреднее значение. Для образца типа II толщинуизмеряют в одной точке зоны концентратора напряжения.

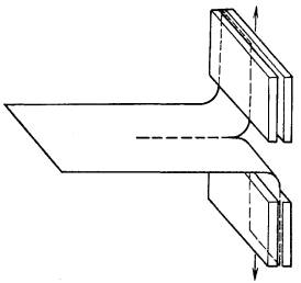
3.2.Устанавливают расстояние между зажимами 75 мм для образца типа I и 50 мм для образца типа II и закрепляют образцы. Для образцов типа I наибольшая ось должна совпадать с центрами зажимов (черт. ), для образцов типа II линия раздира должна быть перпендикулярна линии центразажимов.

(Измененнаяредакция, Изм. № 1).

3.3. Испытаниепроводят при температуре (23 ± 2) °С и относительной влажности (50 ± 5) %, еслив нормативно-технической документации на конкретную продукцию нет другихуказаний.

Способ фиксацииобразца типа I

Черт. 1а

3.4. Испытание проводятпри скорости раздвижения зажимов (200 ± 20) мм/мин для образцов типа I и (50 ± 5) мм/мин для образцов типа II.

3.5. Зонаиспытания образца типа I не менее 50 ммот вершины надреза. Нагрузку раздира в этом случае определяют через каждые 5 ммзоны испытания образца или 10 мм перемещения подвижного захвата разрывноймашины и вычисляют среднее арифметическое десяти показаний. При длине зоныиспытания менее 50 мм допускается проводить испытания на образцах шириной 80мм.

Образцы типа II испытывают до полного разрыва.

(Измененнаяредакция, Изм. № 1).

3.6. Результатыиспытания образцов, раздир которых произошел не по линии надреза, не учитывают,и испытание повторяют на новых образцах. Если при повторном испытании раздирснова происходит не по линии надреза, то результаты испытаний считаютокончательными, а в протоколе испытания делают отметку о направлении раздира.

4. ОБРАБОТКА РЕЗУЛЬТАТОВ

4.1.Сопротивление раздиру (sразд) в Н/ммвычисляют по формуле

где F - нагрузка раздира образца, Н;

d - первоначальнаятолщина образца, мм.

4.2. Диаграмма«нагрузка-деформация», вычерчиваемая самописцем разрывной машины (немаятникового типа), имеет различную форму в зависимости от природы испытуемогоматериала.

Пренебрегают нагрузкамираздира на первых 20 мм и последних 5 мм длины неразрезанной части образца иопределяют приблизительную среднюю нагрузку при раздире на остальных 50 ммдлины неразрезанной части образца. Если эта часть кривой, представляетволнистое плато, проводят среднюю линию, параллельную оси абсцисс, черезволнистую кривую (черт. 2).

Нагрузку,соответствующую этой линии, записывают как нагрузку раздира образца.

Черт. 2

Черт. 3

(Измененнаяредакция, Изм. № 1).

4.3. Дляобразцов, результаты испытаний которых не дают волнообразного графика (черт. 3), за нагрузку раздира принимаютмаксимальную нагрузку за весь период испытания.

4.4. За окончательный результат испытания принимают среднееарифметическое сопротивление раздиру испытанных образцов. Результат округляют сточностью до второго десятичного знака.

Стандартноеотклонение вычисляют по ГОСТ 14359с точностью, предусмотренной для вычисления среднего арифметического значения.

4.5. Результатыиспытаний записывают в протокол, который должен содержать следующие данные:

наименованиепредприятия-изготовителя, номер и дату изготовления партии;

наименование имарку испытуемого материала;

число образцов,взятых для испытания;

толщинуиспытуемых образцов;

метод испытанияА или Б;

тип и маркуиспытательной машины и скорость испытания;

направлениевырезания образца;

условия кондиционирования,температуру и влажность воздуха в помещении, где проводилось испытание;

отдельноезначение определяемого показателя каждого образца и среднее арифметическоезначение;

стандартноеотклонение (если предусмотрено в нормативно-технической документации наконкретную продукцию);

дату испытания иобозначение настоящего стандарта.

4.4, 4.5. (Измененнаяредакция, Изм. № 1).

ПРИЛОЖЕНИЕ

Справочное

Приспособлениедля вырезания образцов типа II (черт. 2) состоит из корпуса 1 и резиновой вставки 2.

Вырезаниеобразцов производят данным приспособлением при помощи гидравлического илиручного пресса.

Черт. 2*

ПРИЛОЖЕНИЕ. (Измененная редакция, Изм. № 1).

* Чертеж 1. (Исключен,Изм. № 1).

ИНФОРМАЦИОННЫЕ ДАННЫЕ

1. РАЗРАБОТАН ИВНЕСЕН Министерством химической промышленности СССР

2. УТВЕРЖДЕН ИВВЕДЕН В ДЕЙСТВИЕ Постановлением Государственного комитета СССР по стандартамот 26.03.84 № 979

3. ВВЕДЕНВПЕРВЫЕ

4. Стандартполностью соответствует международному стандарту ИСО 6383-1-83 в части метода А

5. ССЫЛОЧНЫЕНОРМАТИВНО-ТЕХНИЧЕСКИЕ ДОКУМЕНТЫ

Обозначение НТД, на который дана ссылка

Номер пункта

ГОСТ 12423-66

1.5

ГОСТ 14359-69

4.4

ГОСТ 17035-86

2.2

6. Ограничениесрока действия снято по протоколу № 7-95 Межгосударственного совета по стандартизации,метрологии и сертификации (ИУС 11-95)

7. ИЗДАНИЕ(август 2003 г.) с Изменением № 1, утвержденным в июне 1989 г. (ИУС 8-89)

СОДЕРЖАНИЕ