Стандарт устанавливает метод определения цвета твердых нефтяных парафинов на колориметре КНС-2. Сущность метода заключается в визуальном сравнении цвета определенного объема расплавленного парафина с цветом стандартных светофильтров цветовой шкалы колориметра КНС-2.
| Обозначение: | ГОСТ 25337-82* |
| Название рус.: | Парафины нефтяные. Метод определения цвета на колориметре КНС-2 |
| Статус: | действующий |
| Дата актуализации текста: | 01.10.2008 |
| Дата добавления в базу: | 01.02.2009 |
| Дата введения в действие: | 01.07.1983 |
| Разработан: | Министерство нефтеперерабатывающей и нефтехимической промышленности СССР |
| Утвержден: | Госстандарт СССР (16.07.1982) |
| Опубликован: | Издательство стандартов № 1982<br>ИПК Издательство стандартов № 1998 |

ГОСУДАРСТВЕННЫЙ СТАНДАРТСОЮЗА ССР
ПАРАФИНЫ НЕФТЯНЫЕ
МЕТОД ОПРЕДЕЛЕНИЯ ЦВЕТАНА КОЛОРИМЕТРЕ КНС-2
ГОСТ 25337-82
Москва
ГОСУДАРСТВЕННЫЙСТАНДАРТ СОЮЗА ССР
| ПАРАФИНЫ НЕФТЯНЫЕ Метод определения цвета на колориметре КНС-2 Petroleum paraffins. | ГОСТ |
Дата введения 01.07.83
Настоящий стандартустанавливает метод определения цвета твердых нефтяных парафинов на колориметреКНС-2.
Сущность метода заключается ввизуальном сравнении цвета определенного объема расплавленного парафина сцветом стандартных светофильтров цветовой шкалы колориметра КНС-2.
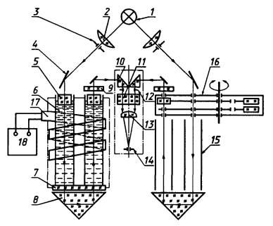
Колориметр типа КНС-2 (черт. 1, 2).Значения координат цветности шкалы приведены в приложении.
Оптическая схема колориметраКНС-2
1 - осветитель; 2 - конденсатор; 3 - переменная диафрагма; 4- зеркало; 5, 7 - защитное стекло; 6 - кювета; 8, 10 -призма; 9 - матовое стекло; 11 - светофильтр дневного света; 12- диафрагма; 13 - окуляр; 14 - выходной зрачок; 15 -эталонный канал; 16 - блок барабанов со светофильтрами; 17- нагревателькюветы; 18 - блок питания
Черт.1
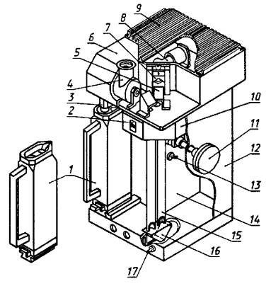
Общий вид колориметра КНС-2
1 - кювета; 2 - визирное окно; 3 - каретка; 4 -окуляр; 5 - зеркало; 6, 12 - кожух; 7 - диафрагма; 8 -осветитель; 9 - крышка; 10 - блок светофильтров; 11 -рукоятка; 13, 17 - тумблер; 14 - корпус; 15 - эталонныйканал; 16 - призма
Черт. 2
Стакан номинальнойвместимостью не менее 250 см3 в любом исполнении по ГОСТ 25336или стакан 3 (4, 5) по ГОСТ 9147.
Термометры по нормативнойдокументации.
Нефрас-С50/170 по ГОСТ 8505.
Любой бесцветный бензин илибензиновые алкилатные фракции (для мойки кюветы).
Вода дистиллированная с рН5,4 - 6,6.
Спирт этиловыйректификованный технический по ГОСТ 18300.
Бумага фильтровальнаялабораторная марок ФНБ или ФНС по ГОСТ 12026.
(Измененная редакция, Изм. №2).
2.1. Проверяют чистотуоптических стекол прибора и кюветы. При необходимости кювету промывают бензиноми сушат струей чистого сухого воздуха. Оптические стекла промывают спиртом ипротирают чистой, неворсистой салфеткой.
2.2. Чистую сухую кюветуустанавливают в прибор. Включают колориметр в электросеть, при этом включаютсязеленая и красная индикаторные лампочки. Зеленая индикаторная лампочкасигнализирует о включении прибора в электрическую сеть, красная - о включениикюветы на термостатирование. При достижении рабочей температурыкюветы красная лампочка автоматически отключается. Периодическое включение ивыключение красной лампочки сигнализирует о поддержании в кювете температуры(75±5) °С.
2.3. Пробу парафина вколичестве 130 - 140 г (для одного определения) помещают в химический стакан ирасплавляют в термостате или масляной бане при (90±5) °С. Периодически пробупарафина перемешивают термометром или стеклянной палочкой до полногорасплавления. Если расплавленная проба парафина мутная или содержитмеханические примеси, мешающие определению цвета, ее фильтруют черезфильтровальную бумагу. Допускается фильтровать парафин под вакуумом.Температура пробы парафина перед заливом в кювету колориметра должна быть (75±2) °С.
3.1. После прогрева кюветыее быстро выдвигают из гнезда колориметра, заливают в кювету расплавленныйпарафин до верхнего среза выемки расширенной части кюветы и устанавливаюткювету в рабочее положение. Нажатием на рычаг каретки опускают ее в нижнееположение так, чтобы защитное стекло было погружено в испытуемый продукт. Последостижения в кювете рабочей температуры (красная лампочка отключена) приступаютк определению цвета.
3.2. С помощью рукояткивращают барабан со светофильтрами и, наблюдая в окуляр, вводят в эталонныйканал поочередно светофильтры (начиная с нулевого) до тех пор, пока цветовыеполя испытуемого парафина и светофильтра совпадут или пока цвет испытуемогопарафина будет находиться между цветовыми оттенками двух близлежащихсветофильтров. Проводят два последовательных определения.
4.1. Цвет парафина выражаютв условных единицах (условных марках), соответствующих номеру светофильтрацветовой шкалы колориметра КНС-2 (приложение).
4.2. Если парафин имеетпромежуточный цвет двух светофильтров, за результат испытания принимают цвет посветофильтру с более интенсивной окраской. Если проба парафина былапрофильтрована, в документе о качестве необходимо записать: «Пробапрофильтрована через фильтровальную бумагу».
4.3, 4.3.1, 4.4, 4.4.1(Исключены, Изм. № 1).
5.1. Сходимость
Два результата испытания,полученные одним исполнителем, признаются достоверными (с 95 %-нойдоверительной вероятностью), если расхождение между ними не превышает однуусловную единицу цветовой шкалы колориметра КНС-2.
5.2. Воспроизводимость
Два результата испытаний,полученные в двух разных лабораториях, признаются достоверными (с 95 %-ной доверительнойвероятностью), если расхождение между ними не превышает двух условных единиццветовой шкалы колориметра КНС-2.
Раздел 5. (Введендополнительно, Изм. № 1).
| Номер светофильтра | Координаты цветности | Коэффициент пропускания (интегральный) | |
| красный | зеленый | ||
| 1 | 0,317±0,002 | 0,328±0,003 | 91,4±3,0 |
| 2 | 0,323±0,002 | 0,338±0,003 | 90,7±3,0 |
| 3 | 0,329±0,003 | 0,348±0,004 | 90,1±3,0 |
| 4 | 0,337±0,003 | 0,361±0,005 | 89,5±3,0 |
| 5 | 0,345±0,003 | 0,372±0,006 | 88,7±3,0 |
| 6 | 0,360±0,003 | 0,396±0,007 | 87,2±3,5 |
| 7 | 0,385±0,006 | 0,417±0,006 | 81,8±3,0 |
| 8 | 0,415±0,006 | 0,440±0,008 | 70,7±3,0 |
| 9 | 0,435±0,006 | 0,451±0,006 | 64,1±3,0 |
| 10 | 0,463±0,006 | 0,462±0,006 | 54,3±3,0 |
| 11 | 0,500±0,006 | 0,464±0,006 | 40,7±4,0 |
| 12 | 0,520±0,008 | 0,451±0,005 | 30,6±4,0 |
| 13 | 0,548±0,006 | 0,439±0,005 | 22,3±3,5 |
| 14 | 0,564±0,006 | 0,428±0,005 | 17,8±3,5 |
| 15 | 0,586±0,006 | 0,410±0,005 | 12,1±3,5 |
| 16 | 0,603±0,006 | 0,395±0,006 | 8,4±2,2 |
ИНФОРМАЦИОННЫЕ ДАННЫЕ
1. РАЗРАБОТАН И ВНЕСЕНМинистерством нефтеперерабатывающей и нефтехимической промышленности
РАЗРАБОТЧИКИ
А. Н. Переверзев, Р. А. Мартиросов, Г. И. Успенский,В. П. Гладышев, Л. П. Переверзева, Н. Ф. Ковалева, B.C. Иванов, А. Г. Муравьев, П. А. Меньков,В. Н. Логинов
2. УТВЕРЖДЕН И ВВЕДЕН ВДЕЙСТВИЕ Постановлением Государственного комитета СССР по стандартам от16.07.82 № 2702
Изменение № 2 принятоМежгосударственным Советом по стандартизации, метрологии и сертификации(протокол № 7 от 26.04.95)
Запринятие проголосовали:
| Наименование государства | Наименование национального органа по стандартизации |
| Республика Белоруссия | Госстандарт Белоруссии |
| Российская Федерация | Госстандарт России |
| Республика Узбекистан | Узгосстандарт |
| Украина | Госстандарт Украины |
3. ССЫЛОЧНЫЕНОРМАТИВНО-ТЕХНИЧЕСКИЕ ДОКУМЕНТЫ
| Обозначение НТД, на который дана ссылка | Номер пункта |
| ГОСТ 8505-80 | |
| ГОСТ 9147-80 | |
| ГОСТ 12026-76 | |
| ГОСТ 18300-87 | |
| ГОСТ 25336-82 |
4. Ограничение срокадействия снято по протоколу Межгосударственного Совета по стандартизации,метрологии и сертификации (ИУС 2-93)
5. ПЕРЕИЗДАНИЕ (март 1998 г.)с Изменениями № 1, 2, утвержденными в октябре 1987 г., августе 1995 г. (ИУС1-88, 11-95)
СОДЕРЖАНИЕ
| 1. Аппаратура, реактивы и материалы.. 1 5. Точность метода испытаний. 3 Приложение Значения координат цветности и коэффициентов пропускания. 3 |