Меню по разделу
+
Стандарт распространяется на тройниковые проходные соединения трубопроводов с шаровым ниппелем с углом конуса тройника 24°.
| Обозначение: | ГОСТ 24492-80* |
| Название рус.: | Соединения трубопроводов с шаровым ниппелем тройниковые проходные. Конструкция |
| Статус: | действующий Переиздание (май 1991 г ) |
| Заменяет собой: | ГОСТ 22878-77 ГОСТ 20975-75 |
| Дата актуализации текста: | 01.10.2008 |
| Дата добавления в базу: | 01.02.2009 |
| Дата введения в действие: | 01.01.1982 |
| Разработан: | Госстандарт СССР |
| Утвержден: | Госстандарт СССР (30.12.1980) |
| Опубликован: | Издательство стандартов № 1980<br>Издательство стандартов № 1984<br>Издательство стандартов № 1992 |
ГОСУДАРСТВЕННЫЙ СТАНДАРТ СОЮЗА ССР
СОЕДИНЕНИЯ ТРУБОПРОВОДОВ
С ШАРОВЫМ НИППЕЛЕМ
конструкция
ГОСТ 24492-80
ГОССТАНДАРТ РОССИИ
Москва
ГОСУДАРСТВЕННЫЙСТАНДАРТ СОЮЗА ССР
| СОЕДИНЕНИЯ ТРУБОПРОВОДОВ С ШАРОВЫМ Конструкция Tree passage connections with ball nipple. | ГОСТ |
Срок действияс 01.01.1982
до 01.01.2000
1.1. Настоящий стандартраспространяется на тройниковые проходные соединения трубопроводов с шаровымниппелем с углом конуса тройника 24°.
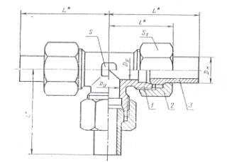
2.Конструкция и основные размеры соединений трубопроводов должны соответствоватьуказанным на чертеже и в таблице.

______________________________
* Размер для справок
1 – тройник по ГОСТ21862-78; 2 – накидная гайка по ГОСТ23353-78; 3 – шаровой ниппель по ГОСТ23355-78
Размеры, мм
| Группа | Наружный диаметр трубы DН | Условные проход DУ | L | l | Размеры «под ключ» | Масса 1000 шт., кг, не более | |
| S | S1 | ||||||
| 1 | 4 | 2,5 | 40 | 21 | 7 | 10 | 32 |
| 5 | 3,0 | 9 | 12 | 41 | |||
| 2 | 6 | 4,0 | 46 | 28 | 12 | 14 | 73 |
| 8 | 6,0 | 50 | 30 | 17 | 114 | ||
| 10 | 8,0 | 53 | 31 | 14 | 19 | 145 | |
| 12 | 10,0 | 57 | 33 | 17 | 22 | 207 | |
| 15 | 12,0 | 63 | 37 | 19 | 27 | 337 | |
| (16) | 24 | 30 | 405 | ||||
| 18 | 15,0 | 67 | 41 | 32 | 456 | ||
| 22 | 20,0 | 71 | 47 | 27 | 36 | 613 | |
| 28 | 25,0 | 76 | 51 | 36 | 41 | 883 | |
| (34) | 32,0 | 85 | 59 | 41 | 50 | 1227 | |
| 35 | 1206 | ||||||
| 42 | 40,0 | 91 | 65 | 50 | 60 | 1997 | |
| 3 | 6 | 3,0 | 50 | 32 | 12 | 17 | 121 |
| 8 | 4,0 | 53 | 33 | 14 | 19 | 155 | |
| 10 | 5,0 | 56 | 35 | 17 | 22 | 230 | |
| 12 | 6,0 | 62 | 39 | 24 | 288 | ||
| 14 | 8,0 | 65 | 41 | 19 | 27 | 415 | |
| 16 | 10,0 | 68 | 44 | 24 | 30 | 475 | |
| 20 | 12,0 | 74 | 51 | 27 | 36 | 745 | |
| 25 | 15,0 | 80 | 56 | 36 | 46 | 1352 | |
| 30 | 20,0 | 87 | 64 | 41 | 50 | 1839 | |
| 38 | 25,0 | 97 | 75 | 50 | 60 | 2842 | |
Примечание. Размеры, приведенные в скобках,непредпочтительны.
Примерусловного обозначения соединения группы 1 с DН =5 мм:
Соединение 1-5ГОСТ 24492-80
1,2. (Измененная редакция, Изм. № 1).
3.Условные давления для каждой группы соединений приведены в рекомендуемомприложении 1 к ГОСТ22525-77.
4.Технические требования, правила приемки, методы испытаний, маркировка,упаковка, транспортирование и хранение – по ГОСТ15763-91.
ИНФОРМАЦИОННЫЕ ДАННЫЕ
1.РАЗРАБОТАН И ВНЕСЕН Государственным комитетом СССР по стандартам.
Б. В.Максимовский; Г.В. Поляков, канд. техн. наук С.А. Суховодова.
2.УТВЕРЖДЕН И ВВЕДЕН В ДЕЙСТВИЕ Постановлением Государственного комитета СССР постандартам от 30.12.80 № 6079.
3. Срокпроверки – 1998 г.
4.ВЗАМЕН ГОСТ 20975-75; ГОСТ 22878-77.
5.ССЫЛОЧНЫЕ НОРМАТИВНО-ТЕХНИЧЕСКИЕ ДОКУМЕНТЫ
| Обозначение НТД, на который дана ссылка | Номер пункта |
| ГОСТ 15763-91 | |
| ГОСТ 21862-78 | |
| ГОСТ 22525-77 | |
| ГОСТ 23353-78 | |
| ГОСТ 23355-78 |
6.Проверен в 1989 г. Срок действия продлен до 01.01.2000 ПостановлениемГосстандарта СССР от 25.10.89 № 3180.
7.Переиздание (май 1991 г.) с Изменением № 1, утвержденным в октябре 1989 г. (ИУС2-90).


