Настоящий стандарт распространяется на ввертные соединения трубопроводов с шаровым ниппелем с углом конуса штуцера 24°.
| Обозначение: | ГОСТ 24488-80* |
| Название рус.: | Соединения трубопроводов с шаровым ниппелем ввертные. Конструкция |
| Статус: | действующий |
| Заменяет собой: | ГОСТ 22874-77 ГОСТ 20971-75 |
| Дата актуализации текста: | 01.10.2008 |
| Дата добавления в базу: | 01.02.2009 |
| Дата введения в действие: | 01.01.1982 |
| Разработан: | Госстандарт СССР |
| Утвержден: | Госстандарт СССР (30.12.1980) |
| Опубликован: | Издательство стандартов № 1980<br>Издательство стандартов № 1984<br>Издательство стандартов № 1992 |
ГОСУДАРСТВЕННЫЙ СТАНДАРТ СОЮЗА ССР
СОЕДИНЕНИЯ ТРУБОПРОВОДОВ
С ШАРОВЫМ НИППЕЛЕМ
конструкция
ГОСТ 24488-80
ГОССТАНДАРТ РОССИИ
Москва
ГОСУДАРСТВЕННЫЙ СТАНДАРТСОЮЗА ССР
| СОЕДИНЕНИЯ ТРУБОПРОВОДОВ С ШАРОВЫМ Конструкция End tube connections with ball nipple. | ГОСТ |
Срок действия с 01.01.1982
до 01.01.2000
1. Настоящий стандартраспространяется на ввертные соединения трубопроводов с шаровым ниппелем суглом конуса штуцера 24°.
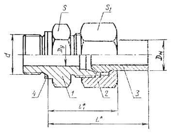
2. Конструкция и основныеразмеры соединений трубопровода должны соответствовать указанным на чертеже и втаблице
* Размеры для справок
1 - штуцер по ГОСТ 21858-78; 2 - накидная гайка по ГОСТ 23353-78 ; 3 - шаровой ниппель по ГОСТ 23355-78 ; 4 - прокладка по ГОСТ 23358-87
Размеры, мм
| Наружный диаметр трубы Dн | Условный проход Dу | Резьба d | L | l | Размеры «под ключ» | Масса 1000 шт., кг, не более | ||||
| метрическая | трубная | S для резьбы | S | |||||||
| метрической | трубной | |||||||||
| 1 | 4 | 2,5 | М8´1 | G 1/8 | 38 | 20 | 12 | 10 | 14 | |
| 2 | 5 | 3 | 12 | 18 | ||||||
| 6 | 4 | M10´1 | G 1/8 | 42 | 24 | 14 | 14 | 30 | ||
| 8 | 6 | М12´1,5 | G 1/4 | 46 | 26 | 17 | 19 | 17 | 49 | |
| 10 | 8 | М14´1,5 | 49 | 27 | 19 | 19 | 65 | |||
| 12 | 10 | М16´1,5 | G 3/8 | 52 | 28 | 22 | 22 | 90 | ||
| 15 | 12 | M18´1,5 | G 1/2 | 58 | 32 | 24 | 22 | 27 | 135 | |
| (16) | М22´1,5 | 56 | 30 | 27 | 30 | 170 | ||||
| 18 | 15 | 58 | 32 | 32 | 176 | |||||
| 22 | 20 | М27´2 | G 3/4 | 60 | 36 | 32 | 36 | 251 | ||
| 28 | 25 | М33´2 | G 1 | 63 | 38 | 41 | 41 | 358 | ||
| (34) | 32 | М42´2 | G 11/4 | 68 | 42 | 50 | 50 | 560 | ||
| 35 | 581 | |||||||||
| 42 | 40 | М48´2 | G 1 1/2 | 70 | 44 | 55 | 60 | 784 | ||
| 3 | 6 | 3 | M12´1,5 | G 1/4 | 47 | 29 | 17 | 19 | 17 | 57 |
| 8 | 4 | М14´1,5 | 51 | 31 | 19 | 19 | 76 | |||
| 10 | 5 | M16´1,5 | G 3/8 | 53 | 32 | 22 | 22 | 105 | ||
| 12 | 6 | M18´1,5 | 57 | 34 | 24 | 22 | 24 | 134 | ||
| 14 | 8 | M20´1,5 | G 1/2 | 62 | 38 | 27 | 27 | 192 | ||
| 16 | 10 | M22´1,5 | 30 | 208 | ||||||
| 20 | 12 | M27´2 | G 3/4 | 68 | 45 | 32 | 36 | 324 | ||
| 25 | 15 | M33´2 | G 1 | 74 | 49 | 41 | 46 | 579 | ||
| 30 | 20 | M42´2 | G 1 1/4 | 76 | 52 | 50 | 50 | 843 | ||
| 38 | 25 | M18´2 | G 1 1/2 | 82 | 60 | 55 | 60 | 1205 | ||
Примечания:
1. Размеры, приведенные в скобках, непредпочтительны.
2. При новом проектировании трубную резьбу применять не допускается.
3. Масса приведена для соединения с метрической резьбой и меднойпрокладкой.
Пример условногообозначения соединения группы 1с Dн= 5 мм с метрической резьбой ввертной частиМ8´1:
Соединение 1-5-М8´1 ГОСТ 24488-80
То же, с трубной резьбой ввертной части G 1/8:
Соединение 1-5-G 1/8 ГОСТ24488-80
1, 2. (Измененнаяредакция, Изм. № 1).
3. Условные давления для каждой группысоединений приведены в рекомендуемом приложении 1 к ГОСТ22525-77 .
4. Технические требования,правила приемки, методы испытаний, маркировка, упаковка, транспортирование ихранение - по ГОСТ15763-91.
ИНФОРМАЦИОННЫЕ ДАННЫЕ
1.РАЗРАБОТАН И ВНЕСЕН Государственным комитетом СССР по стандартам
РАЗРАБОТЧИКИ
Б.В. Максимовский; Г.В. Поляков, канд. техн. наук; С.А. Суховодова
2.УТВЕРЖДЕН И ВВЕДЕН В ДЕЙСТВИЕ Постановлением Государственного комитета СССР постандартам от 30.12.80 № 6078
3.Срок проверки - 1998 г.
4.ВЗАМЕН ГОСТ 20971-75; ГОСТ 22874-77
5. ССЫЛОЧНЫЕ НОРМАТИВНО-ТЕХНИЧЕСКИЕ ДОКУМЕНТЫ
| Номер пункта | |
| ГОСТ 15763-91 | |
| ГОСТ 21858-78 | |
| ГОСТ 22525-77 | |
| ГОСТ 23353-78 | |
| ГОСТ 23355-78 | |
| ГОСТ 23358-87 |
6.Проверен в 1989 г. Срок действия продлен до 01.01.2000 ПостановлениемГосстандарта СССР от 25.10.89 № 3180
7.Переиздание (май 1991 г.) с Изменением № 1, утвержденным в октябре 1989 г. (ИУС2-90)