Стандарт распространяется на теплоизоляционные минераловатные вертикально-слоистые маты, состоящие из полос, нарезанных из минераловатных плит и наклеенных на защитно-покровный материал в положении, прикотором слои минеральной ваты располагаются перпендикулярно защитно-покровному материалу.
| Обозначение: | ГОСТ 23307-78* |
| Название рус.: | Маты теплоизоляционные из минеральной ваты вертикально-слоистые. Технические условия |
| Статус: | действующий |
| Дата актуализации текста: | 01.10.2008 |
| Дата добавления в базу: | 01.02.2009 |
| Дата введения в действие: | 01.07.1979 |
| Разработан: | Министерство монтажных и специальных строительных работ СССР |
| Утвержден: | Госстрой СССР (09.10.1978) |
| Опубликован: | Издательство стандартов № 1991<br>Издательство стандартов № 1986<br>Издательство стандартов № 1978<br>ИПК Издательство стандартов № 2001 |

ГОСУДАРСТВЕННЫЙ СТАНДАРТ СОЮЗА ССР
МАТЫ ТЕПЛОИЗОЛЯЦИОННЫЕ
ИЗ МИНЕРАЛЬНОЙ ВАТЫ ВЕРТИКАЛЬНО-СЛОИСТЫЕ
ТЕХНИЧЕСКИЕУСЛОВИЯ
ГОСТ 23307-78
(СТ СЭВ5850-86)
КОМИТЕТСТАНДАРТИЗАЦИИ И МЕТРОЛОГИИ СССР
Москва
ГОСУДАРСТВЕННЫЙ СТАНДАРТ СОЮЗА ССР
| МАТЫ ТЕПЛОИЗОЛЯЦИОННЫЕ Технические условия Thermoinsulating mineral wool | ГОСТ (СТ СЭВ 5850-86) |
Дата введения с 01.07.79
Настоящий стандартраспространяется на теплоизоляционные минераловатные вертикально-слоистые маты,состоящие из полос, нарезанных из минераловатных плит и наклеенных назащитно-покровный материал в положении, при котором слои минеральной ватырасполагаются перпендикулярно защитно-покровному материалу.
Теплоизоляционныевертикально-слоистые маты предназначаются для тепловой изоляции трубопроводовдиаметром свыше 108 мм и аппаратов при температуре изолируемых поверхностей отминус 120 до плюс 300°С.
1.1. Маты в зависимости отплотности (объемной массы) подразделяются на марки 75 и 125.
(Измененная редакция, Изм. № 1).
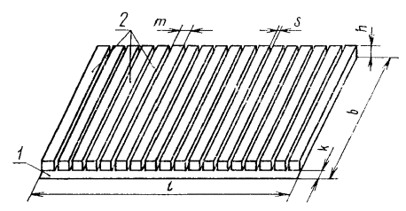
1.2. Размеры матов должнысоответствовать приведенным в табл. 1 и на чертеже.
1.3. Условное обозначениемата должно состоять из его сокращенного наименования, марки мата, маркипокровного материала, указанной в стандартах или технических условиях, размеровпо длине, ширине и толщине мата в миллиметрах, разделяемых точками, и номеранастоящего стандарта.
Примерусловного обозначения мата марки 75 на стеклорубероиде марки С-РК, длиной 3000 мм, шириной1000 мм и толщиной 60 мм:
МВС-75-С-РК-3000.1000.60ГОСТ 23307-78
| Наименование основных размеров | Номинальные размеры, мм |
| Длина l | 600-8000 |
| Ширина b | 750-1260 |
| Толщина h | 40-100 с интервалом 10 |
| Ширина минераловатной полосы m (равная толщине плит) для марок: |
|
| 75 | 60-100 с интервалом 10 |
| 125 | 50-80 с интервалом 10 |
| Ширина продольной кромки (разница между шириной покровного материала и длиной минераловатной полосы) к, не менее | От 40 до 50 |
(Измененнаяредакция, Изм. № 1, 2).

1 -покровный материал; 2 - минераловатные полосы.
2.1. Маты должныизготовляться в соответствии с требованиями настоящего стандарта потехнологическому регламенту, утвержденному в установленном порядке.
2.2. Для изготовления матовдолжны применяться плиты из минеральной ваты на синтетическом связующем марок75 и 125 по ГОСТ 9573-82.
(Измененная редакция, Изм. № 1).
2.3. В качествезащитно-покровных материалов должны применяться: рубероид по ГОСТ 10923-82, стеклорубероид по ГОСТ 15879-70, фольга алюминиевая дублированная,стеклопластик рулонный для теплоизоляции и фольгорубероид по техническимусловиям предприятия-изготовителя.
В качестве клеящего веществаприменяется битум марок БН70/30 и БН90/10 по ГОСТ 6617-76, полиэтиленовая пленка по ГОСТ 10354-82.
Примечание. Допускается по согласованию изготовителя спотребителем применять другие покровные и клеящие материалы.
2.4. Предельные отклоненияразмеров матов не должны превышать:
| по длине | + 3 %; -1 % |
| по ширине | ± 10 мм |
| по толщине | + 3; 0 мм (для 40, 50) |
|
| + 5; 0 мм (для 60, 70, 80, 90, 100). |
Разнотолщинность мата недолжна превышать 5 мм.
2.3; 2.4. (Измененная редакция, Изм. № 2).
2.5. Зазор междусоставляющими мат минераловатными полосами s не должен превышать 2 мм.
2.6. По физико-механическимпоказателям маты должны удовлетворять требованиям, указанным в табл. 2.
Таблица2
| Наименование показателя | Значение для матов марки | |
| 75 | 125 | |
| Плотность, кг/м3 | От 50 до 75 | Св. 75 до 125 |
| Сжимаемость под удельной нагрузкой 2000 Па (0,02 кгс/см2, %, не более | 3 | 2 |
| Теплопроводность, Вт/(м×К), не более, при температуре; |
|
|
| а) (298±5)К | 0,048 | 0,046 |
| б) (398±5)К | 0,083 | 0,081 |
2.7. Маты должны выдерживатьиспытание на прочность приклеивания минераловатных полос к покровномуматериалу, предусмотренное в п. 4.10.
2.6; 2.7. (Измененная редакция, Изм. № 2).
3.1. Приемку матов следуетпроводить в соответствии с требованиями ГОСТ 26281-84 и настоящего стандарта.
3.2. Объем партии матовустанавливают в количестве не более сменной выработки.
3.3. Размеры матов,разнотолщинность, зазор между минераловатными полосами, ширину продольнойкромки, плотность, сжимаемость, влажность, прочность приклеиванияминераловатных полос к покровному материалу каждого мата, включенного ввыборку, определяют для каждой партии.
Теплопроводность определяютодин раз в квартал и при каждом изменении сырья и технологии производства натрех матах, прошедших приемо-сдаточные испытания.
3.4. Партию матов, непринятую по результатам контроля размеров, разнотолщинности, зазора междуминераловатными полосами, ширины продольной кромки, прочности приклеивания,подвергают сплошному контролю по показателю, по которому не была принятапартия.
3.5. При забраковании партииматов по результатам определения теплопроводности проводят повторную проверку.При получении неудовлетворительных результатов повторной проверки поставкаматов потребителю должна быть прекращена. После устранения причин выпусканекачественных матов контролю подвергают каждую партию.
При полученииудовлетворительных результатов для трех последовательных партий допускаетсяпроводить периодический контроль по п. 3.3.
Разд. 3. (Измененная редакция, Изм. № 2).
4.1, 4.2. (Исключен, Изм.№ 1).
4.3. Длину, ширину и толщинуматов измеряют по ГОСТ 17177-87 намате, уложенном минераловатными полосами вверх. Толщину мата измеряют приудельной нагрузке 500 Па (0,005 кгс/см2). Величину зазоров междуминераловатными полосами определяют после каждой пятой полосы измеряемогоизделия.
(Измененная редакция, Изм. № 1, 2).
4.4. Разнотолщинностьопределяют по результатам измерения толщины матов по п. 4.3. Разнотолщинностьвычисляют как разность между наибольшим и наименьшим значениями толщины мата.
4.5. Ширину продольнойкромки измеряют с погрешностью до 1 мм в шести местах и вычисляют как среднееарифметическое произведенных замеров.
4.6. Плотность определяютбез учета покровного материала по ГОСТ17177-87.
(Измененная редакция, Изм. № 1, 2).
4.7. Сжимаемость матаопределяют по ГОСТ 17177-87.
Из каждого мата, попавшего ввыборку по п. 3.1, вырезают по два образцавместе с покровным материалом.
4.8. Теплопроводность матаопределяют по ГОСТ 7076-87. Изкаждого мата, отобранного по п. 3.3, вырезаютпо одному образцу без покровного материала.
4.9. Влажность матаопределяют по ГОСТ 17177-87.
Пробу для испытаниясоставляют из пяти точечных проб, взятых в четырех местах по диагонали нарасстоянии не менее 250 мм от углов и в центре каждого мата, попавшего ввыборку по п. 3.1.
4.10. Прочность приклеиванияминераловатных полос к покровному материалу определяют осмотром мата последвухкратного свертывания его в рулон и последующего развертывания на плоскойповерхности.
Мат считают выдержавшимиспытание, если после второго развертывания и поворота мата полосами вниз отпокровного материала не отделится полностью ни одна полоса.
4.7 - 4.10. (Измененная редакция, Изм. № 2).
5.1. Упаковку, маркировку,транспортирование и хранение матов производят в соответствии с требованиями ГОСТ 25880-83 и настоящегостандарта.
(Измененная редакция, Изм. № 2).
5.l a. Матыдолжны быть свернуты в рулоны. Масса рулона - не более 50 кг, диаметр рулона -не более 400 мм.
Маты длиной до 1500 мм могутпоставляться в развернутом виде стопами. Стопу обертывают полосой бумаги, конецполотна бумаги заклеивают. Масса стопы - не более 50 кг, высота стопы - неболее 500 мм.
Транспортные пакетыформируют в соответствии с правилами перевозки грузов, размеры пакетов исредства пакетирования - по ГОСТ24597-81.
(Введен дополнительно, Изм. № 2).
5.2. Допускаетсятранспортирование матов в открытых автомашинах на расстоянии до 200 км собязательным покрытием их брезентом или другим влагозащитным материалом.
Транспортирование матов пожелезной дороге осуществляют повагонными отправками.
Транспортную маркировкупроизводят с нанесением манипуляционного знака «Боится сырости» по ГОСТ 14192-77.
5.3. Высота штабеля прихранении не должна быть более 2 м.
5.4. Время выдержки матов наскладе перед отгрузкой потребителю должно быть не менее одних суток.
5.2 - 5.4. (Измененная редакция, Изм. № 1, 2).
6.1.Предприятие-изготовитель гарантирует соответствие матов требованиям настоящегостандарта при соблюдении условий транспортирования и хранения, установленныхнастоящим стандартом.
Гарантийный срок храненияматов - 6 мес с момента их изготовления.
Разд. 6. (Введен дополнительно, Изм. № 1).
1. РАЗРАБОТАН И ВНЕСЕН Министерством монтажных и специальныхстроительных работ СССР
РАЗРАБОТЧИКИ
Н. И. Мелентьев, канд. техн. наук (руководитель темы); Л. М. Шаронова; Л. Н. Пономарева; В. В. Еремеева; М. П. Кораблик
2. УТВЕРЖДЕН ИВВЕДЕН В ДЕЙСТВИЕ Постановлением Государственного комитета СССР по деламстроительства от 09.10.78 № 195.
3. Стандарт полностью соответствует СТ СЭВ 5850-86.
4. ССЫЛОЧНЫЕНОРМАТИВНО-ТЕХНИЧЕСКИЕ ДОКУМЕНТЫ
| Обозначение НТД, на который дана ссылка | Номер пункта |
| ГОСТ 6617-76 | 2.3 |
| ГОСТ 7076-87 | 4.8 |
| ГОСТ 9573-82 | 2.2 |
| ГОСТ 10354-82 | 2.3 |
| ГОСТ 10923-82 | 2.3 |
| ГОСТ 14192-77 | 5.2 |
| ГОСТ 15879-70 | 2.3 |
| ГОСТ 17177-87 | 4.3, 4.6, 4.7, 4.9 |
| ГОСТ 24597-81 | 5.1a |
| ГОСТ 25880-83 | 5.1 |
| ГОСТ 26281-84 | 3.1 |
5. Переиздание (август 1991 г.) с изменениями № 1, 2, утвержденными вфеврале 1985 г., июле 1988 г. (ИУС 7-85, 9-88)