Стандарт устанавливает метод оценки хладостойкости сталей сварных конструкций по реакции на ожог сварочной дугой.
| Обозначение: | ГОСТ 23240-78* |
| Название рус.: | Конструкции сварные. Метод оценки хладостойкости по реакции на ожог сварочной дугой |
| Статус: | действующий |
| Дата актуализации текста: | 01.10.2008 |
| Дата добавления в базу: | 01.02.2009 |
| Дата введения в действие: | 01.01.1980 |
| Утвержден: | Госстандарт СССР (09.08.1978) |
| Опубликован: | Издательство стандартов № 1980 |

ГОСУДАРСТВЕННЫЙ СТАНДАРТСОЮЗА ССР
КОНСТРУКЦИИ СВАРНЫЕ
МЕТОД ОЦЕНКИХЛАДОСТОЙКОСТИ
ПО РЕАКЦИИ НА ОЖОГ СВАРОЧНОЙ ДУГОЙ
ГОСТ 23240-78
ГОСУДАРСТВЕННЫЙ КОМИТЕТ СССР ПО СТАНДАРТАМ
Москва
ГОСУДАРСТВЕННЫЙ СТАНДАРТ СОЮЗА ССР
| КОНСТРУКЦИИ СВАРНЫЕ Метод оценки хладостойкости по реакции на ожог сварочной дугой Welding structure. Method of | ГОСТ |
ПостановлениемГосударственного комитета СССР по стандартам от 9 августа 1978 г. № ДНО срокдействия установлен
с 01.01. 1980 г.
до 01.01. 1985 г.
Настоящий стандарт устанавливает метод оценки хладостойкостисталей сварных конструкций по реакции на ожог сварочной дугой.
(Измененная редакция, изм.№ 1).
Сущность метода заключается в получении на поверхности образцамалопластичной линзы под действием дугового ожога и определении степени еевлияния на склонность стали к переходу в хрупкое состояние при ударном приложениинагрузки.
Стандарт применяется для научно-исследовательских иэкспериментальных работ.
1.1. Образцы с ожогом изготовляют двух типов:
I - изстали толщиной 10 мм и более;
II - изстали толщиной от 6 до 10 мм.
Размеры образцов I типа приведены на черт. 1, II типа - начерт. 2.
Линза ожога располагается в середине образца.
1.2. Количество образцов для испытания указывается внормативно-технической документации на металлопродукцию или на сварныеконструкции. При отсутствии таких указаний испытания проводят не менее чем на 3образцах при одной температуре.
1.3. Места вырезки заготовок для образцов и их ориентация поотношению к направлению прокатки должны приниматься в соответствии снормативно-технической документацией на металлопродукцию или сварнуюконструкцию.
Черт. 1
Черт. 2
1.4. При вырезке заготовок должны приниматься меры, предотвращающиевозможное изменение свойств металла вследствие нагрева или наклепа.
(Измененная редакция, изм.№ 1).
Установка для нанесения ожога на образец (см. рекомендуемое приложение) должна обеспечиватьстабильность процесса нанесения ожогов и достаточную воспроизводимость их;возможность регулирования времени существования возникшей сварочной дуги вмомент нанесения ожога на образец. Установка может быть выполнена в видеприставки к существующим источникам сварочного тока или в виде отдельногоагрегата с встречным источником питания, иметь амперметр для контроля величинытока короткого замыкания и вольтметр для контроля напряжения холостого хода.
3.1. Поверхность образца, предназначенная для нанесения ожога,должна быть шлифованной. На ней не допускается наличие следов коррозии иохлаждающих жидкостей после механической обработки.
3.2. Остальные грани образца допускается обрабатывать строжкойвдоль по длине образца, или фрезерованием без последующей шлифовки. Допускаетсяизготовлять образцы, у которых одна или две грани перпендикулярные поверхностис ожогом, имеют прокатную корку.
3.3. Перед испытанием образцов, имеющих две боковые грани спрокатной коркой, производится замер каждого испытуемого образца с погрешностьюне более ±0,1 мм.
3.4. Нанесение ожогов на образец производится электродом (безобмазки) диаметром 3 мм, изготовленным из сварочной проволоки марки Св-08А по ГОСТ2246-70. Проволока должна быть обезжирена и не должна иметь следовкоррозии. При определении чувствительности сталей к ожогу электродом дляконкретных условий сварки допускается наносить ожоги на образец электродами,изготовленными из сварочной проволоки других марок, которая применяется длясварки конкретных конструкций.
3.5. При смене электродов конец нового электрода затачивают наконус с углом в вершине 60-90° иперед нанесением ожогов на образцы оплавляют путем нанесения 4-5 пробныхожогов.
3.6. Для нанесения ожогов на образец используется постоянный токобратной полярности при токе короткого замыкания 250 А.
3.7. Диаметр линзы ожога должен быть 4±0,2 мм.
3.8. Клеймо должно наноситься на торце илина боковых сторонах образца, или на противоположной ожогу стороне, нарасстоянии не более чем 15 мм от конца, но не на опорной поверхности.
(Измененная редакция, изм.№ 1).
3.9. Плоскость, на которую укладываются образцы с ожогом приклеймении, должна иметь выемку, чтобы в момент клеймения образец опиралсятолько на концевые части, а средняя часть с линзой ожога находилась надвыемкой.
4.1. Испытание образцов с концентратом в виде ожога проводят по ГОСТ9454-78.
(Измененная редакция, изм.№ 1).
4.2. При испытании удар маятника наносится со стороны,противоположной линзе ожога.
4.3. Испытания проводятся при температурах, указанных внормативно-технической документации на металлопродукцию или сварныеконструкции. Если таких указаний нет, то испытания проводятся при нормальнойтемпературе и при температурах минус 20, минус 40, минус 70°С. Допускается испытания проводитьтолько при одной температуре для определения соответствии ранее установленнымнормам.
4.4. Работу ударом образца с ожогом (КО) определяют по шкалемаятникового копра.
п. 4.4. (Введен дополнительно, изм. № 1).
5.1. Ударную вязкость образцов с ожогом (КСО) Дж/см2(кгс/см2), вычисляют по формуле
,
где КО -работа удара, затраченная на излом образца, Дж (кгс×м);
S - площадьпоперечного сечения образца, определяемая в средней части его, без учетарельефа ожога до испытания, см2.
Вычисления КСО проводят с точностью до 1 Дж/см2 (кгс×м/см2).
(Измененная редакция, изм.№ 1).
5.2. Результаты испытаний образцов разного типа несопоставимы.
5.3. За критерий оценки критической температуры хрупкости (ТКР)принимается такой, который указан в нормативно-технической документации наметаллопродукцию или сварные конструкции. При отсутствии такого критерия закритическую температуру хрупкости следует принимать ту, при которой ударнаявязкость хотя бы одного образца равна или меньше 30 Дж/см2 (3 кгс×м/см2) дляобразцов I типа и, соответственно, 40 Дж/см2 (4 кгс×м/см2) дляобразцов II типа.
(Измененная редакция, изм.№ 1).
5.4. Результаты контроля заносят в протокол, в котором указываютпорядковый номер образцов, марку сварочной проволоки, температуру испытания,диаметр ожога, работу разрушения, ударную вязкость каждого образца.
Рекомендуемое
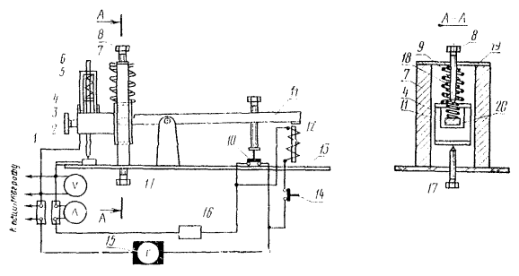
Установка (см. чертеж 3состоит из электродержателя специальной конструкции с приводом, зажимов дляплавкой вставки, контрольных приборов и методов питания сварочной дуги.
Электродержатель 4 движется в направляющих 7, укрепленных напанели 13 и соединенных вверху пластиной 19 с регулировочным винтом 8,ограничивающим подъем электрода 2, что обеспечивает необходимый зазор междуэлектродом и образцом 1.
Электродержатель с электродом приводится в движениеэлектромагнитом 12 при нажатии кнопки 14 через двухплечий рычаг 11, которыйодним концом входит в окно 20 и может перемещаться в нем по вертикали. Нарычаге устанавливается включатель 10 для замыкания сварочной цепи. В исходноеположение электродержатель и рычаг возвращаются пружинами 9 и 18. Пружина 9служит для перемещения электрода к образцу 1. Нижнее положение устанавливаетсявинтом 17. Усилие, с которым электрод прижимается к образцу, регулируетсяпружиной 5, вставленной в накидной хомутик 6. Винтом 3 закреплен электрод.
Плавкая вставка 16 обеспечивает размыкание сварочной цепи. Онавключается в сварочную цепь последовательно с источником питания 15 иэлектродом.
Применение плавкой вставки в качестве элемента, ограничивающеговеличину сварочного тока и время действия сварочной дуги, обеспечиваетполучение одинаковых ожогов. Плавкой вставкой может быть различная по сечению ихимическому составу проволока, обеспечивающая за время горения дуги 0,04 сполучение на образце ожога диаметром 4±0,2 мм.
Рекомендуется применять плавкую вставку из медной проволокидиаметром 0,4 мм.
Для определения времени горения сварочной дуги процесс нанесениядугового ожога записывается на осциллограмму.
СОДЕРЖАНИЕ