Стандарт распространяется на сжиженные углеводородные газы, предназначенные в качестве топлива для коммунально-бытового потребления и промышленных целей.
| Обозначение: | ГОСТ 20448-90* |
| Название рус.: | Газы углеводородные сжиженные топливные для коммунально-бытового потребления. Технические условия |
| Статус: | действующий |
| Заменяет собой: | ГОСТ 20448-75 ГОСТ 20448-80 ГОСТ 10196-62 «Газы углеводородные сжиженные топливные» |
| Дата актуализации текста: | 01.10.2008 |
| Дата добавления в базу: | 01.02.2009 |
| Дата введения в действие: | 01.01.1992 |
| Разработан: | Министерство химической и нефтеперерабатывающей промышленности СССР |
| Утвержден: | Госстандарт СССР (29.12.1990) |
| Опубликован: | Издательство стандартов № 1990<br>Издательство стандартов № 1995<br>ИПК Издательство стандартов № 2000<br>ИПК Издательство стандартов № 2004 |

ГОСУДАРСТВЕННЫЙ СТАНДАРТСОЮЗА ССР
ГАЗЫУГЛЕВОДОРОДНЫЕ СЖИЖЕННЫЕ
ТОПЛИВНЫЕ ДЛЯ КОММУНАЛЬНО-БЫТОВОГО
ПОТРЕБЛЕНИЯ
ТЕХНИЧЕСКИЕУСЛОВИЯ
ГОСТ 20448-90
ИЗДАТЕЛЬСТВОСТАНДАРТОВ
Москва
ГОСУДАРСТВЕННЫЙ СТАНДАРТ СОЮЗА ССР
| ГАЗЫ УГЛЕВОДОРОДНЫЕ СЖИЖЕННЫЕ Технические условия Liquefied hydrocarbon fuel gases for domestic use. Specifications | ГОСТ |
Срок действия с 01.01.92
до 01.01.97
Настоящий стандартраспространяется на сжиженные углеводородные газы, предназначенные в качестветоплива для коммунально-бытового потребления и промышленных целей.
Обязательные требования ккачеству продукции изложены в п. 1.3.1 (табл. 2, показатели 3, 4, 6), разделах2 и 3.
Поправка, ИУС 7-2001 г.
1.1. Углеводородныесжиженные газы должны изготовляться в соответствии с требованиями настоящегостандарта по технологическому регламенту, утвержденному в установленномпорядке.
1.2. Марки
1.2.1. В зависимости отсодержания основного компонента марки сжиженных газов приведены в табл. 1.
Таблица 1
| Наименование | Код ОКП | |
| ПТ СПБТ ВТ | Пропан технический Смесь пропана и бутана технических Бутан технический | 02 7236 0101 02 7236 0102 02 7236 0103 |
Применение различных мароксжиженных газов в зависимости от макроклиматических районов страны приведено вприложении.
1.3.1.По физико-химическим показателям сжиженные газы должны соответствоватьтребованиям и нормам, приведенным в табл. 2.
Таблица 2
| Норма для марки | Метод испытания | |||
| ПТ | СПБТ | БТ | ||
| 1. Массовая доля компонентов, % |
| По ГОСТ 10679 | ||
| сумма метана, этана и этилена | Не нормируется |
| ||
| сумма пропана и пропилена, не менее | 75 | Не нормируется |
| |
| сумма бутанов и бутиленов, не менее | Не нормируется | - | 60 |
|
| не более | 60 | - |
| |
| 2. Объемная доля жидкого остатка при 20 °С, %, не более | 0,7 | 1,6 | 1,8 | По п. 3.2 |
| 3. Давление насыщенных паров, избыточное, МПа, при температуре: |
|
|
| по ГОСТ 28656 * |
| плюс 45 °С, не более | 1,6 | 1,6 | 1,6 |
|
| минус 20 °С, не менее | 0,16 | - | - |
|
| 4. Массовая доля сероводорода и меркаптановой серы, %, не более | 0,013 | 0,013 | 0,013 | По ГОСТ 22985 |
| в том числе сероводорода, не более | 0,003 | 0,003 | 0,003 | По ГОСТ 22985 или ГОСТ 11382 |
| 5. Содержание свободной воды и щелочи | Отсутствие | По п. 3.2 | ||
| 6. Интенсивность запаха, баллы, не менее | 3 | 3 | 3 | По ГОСТ 22387.5 и п. 3.4 настоящего стандарта |
* На территории РФ также действует ГОСТ Р 50994-96.
Примечания:
1. Посогласованию изготовителя с потребителем допускается вырабатывать газ марки СПБТс массовой долей пропана и пропилена не менее 60 %.
2. При массовой доле меркаптановой серы в сжиженномгазе 0,002 % и более допускается не определять интенсивность запаха. Примассовой доле меркаптановой серы менее 0,002 % или интенсивности запаха менее 3баллов сжиженные газы должны быть одорированы по методике, утвержденной вустановленном порядке.
3. При выработкегаза марки ПТ из диэтанизированного сырья давление насыщенных паров притемпературе минус 20 °С допускается не менее 0,14 МПа.
(Измененная редакция, Изм. № 1, 2).
1.3.2. Требования безопасности
1.3.2.1. Сжиженныеуглеводородные газы пожаро- и взрывоопасны, малотоксичны, имеют специфическийхарактерный запах.
По степени воздействия на организмгазы относятся к веществам 4-го класса опасности по ГОСТ12.1.007.
1.3.2.2. Сжиженные газыобразуют с воздухом взрывоопасные смеси при концентрации паров пропана от 2,1до 9,5%, нормального бутана от 1,5 до 8,5 % (по объему) при давлении 98066 Па(1 атм) и температуре 15-20 °С.
1.3.2.3. Температурасамовоспламенения пропана в воздухе при давлении 0,1 МПа (760 мм рт. ст.)составляет 466 °С, нормального бутана 405 °С, изобутана - 462 °С.
1.3.2.4. Предельнодопустимая концентрация в воздухе рабочей зоны (в пересчете на углерод)предельных углеводородов (пропана, нормального бутана) 300 мг/м3,непредельных углеводородов (пропилен, бутилен) - 100 мг/м3.
1.3.2.5. Сжиженные газы,попадая на тела человека, вызывают обмораживание, напоминающее ожог.
Пары сжиженного газа могутскапливаться в низких и непроветриваемых местах.
Человек, находящийся ватмосфере с небольшим содержанием паров сжиженного газа в воздухе, испытываеткислородное голодание, а при значительных концентрациях в воздухе можетпогибнуть от удушья.
1.3.2.6. Сжиженныеуглеводородные газы действуют на организм наркотически.
Признаками наркотическогодействия являются недомогание и головокружение, затем наступает состояниеопьянения, сопровождаемое беспричинной веселостью, потерей сознания.
Пары сжиженныхуглеводородных газов быстро накапливаются в организме при вдыхании и столь жебыстро выводятся через легкие, в организме человека не кумулируются.
1.3.2.7. При высокихконцентрациях сжиженных углеводородных газов необходимо использовать шланговыеизолирующие противогазы с принудительной подачей чистого воздуха. При небольшихконцентрациях используют фильтрующие противогазы марки БКФ, коробка защитногоцвета.
1.3.2.8. В производственныхпомещениях должны соблюдаться требования санитарной гигиены по ГОСТ12.1.005. Все производственные помещения должны быть оборудованыприточно-вытяжной вентиляцией, обеспечивающей десятикратный воздухообмен в 1 чи чистоту воздуха рабочей зоны производственных помещений.
1.3.2.9. В помещенияхпроизводства, хранения и перекачивания сжиженных углеводородных газовзапрещается обращение с открытым огнем, искусственное освещение должно бытьвыполнено во взрывозащищенном исполнении, все работы следует проводитьинструментами, не дающими при ударе искру.
Защита оборудования отвторичных проявлений молний и статического электричества должна соответствоватьправилам защиты от статического электричества производств химической,нефтехимической и нефтеперерабатывающей промышленности.
1.3.2.10. При загоранииприменяют следующие средства пожаротушения: углекислотные огнетушители и пенныемарки ОХП-10, воду в виде компактных и распыленных струй в тонкораспыленномвиде, сухой песок, водяной пар, асбестовое полотно и др.
1.3.3. Требования охраны природы
1.3.3.2. В производственныхпомещениях и на открытых площадках должен быть периодический контрольсодержания углеводородов в воздухе рабочей зоны. Для анализа используютанализаторы типа УГ-2 или системы автоматической защиты и сигнализации типаАЗИЗ, «Логика» и аналогичные приборы.
1.3.3.3. Промышленные стокинеобходимо анализировать на содержание в них нефтепродуктов в соответствии сметодическим руководством по анализу сточных вод нефтеперерабатывающих инефтехимических заводов, утвержденным в установленном порядке.
1.4.1.Маркировка сжиженных газов - по ГОСТ 1510 с указанием манипуляционного знака «Беречь от солнечных лучей» по ГОСТ 14192 и знака опасности по ГОСТ19433, класс 2, подкласс 2.3.
(Измененная редакция, Изм. № 1, 2).
1.4.2.Сигнальные цвета и знаки безопасности должны применяться в соответствии с ГОСТ12.4.026.
(Измененная редакция, Изм. № 1).
2.1. Сжиженные газыпринимают партиями. За партию принимают любое количество сжиженного газа,однородное по своим показателям качества и оформленное одним документом окачестве.
2.2.Объем выборки - по ГОСТ 14921.
2.3. При получении неудовлетворительныхрезультатов испытаний хотя бы по одному из показателей по нему проводятповторные испытания вновь отобранной пробы из удвоенной выборки, результатыкоторых распространяют на всю партию.
2.4. Давление насыщенныхпаров сжиженных газов при температуре минус 20 °С определяют только в зимнийпериод.
2.5. При разногласиях воценке качества сжиженных углеводородных газов между потребителем иизготовителем арбитражный анализ газа выполняют в лабораториях, аккредитованныхв установленном порядке.
(Введен дополнительно, Изм. № 1).
3.1.Пробы отбирают по ГОСТ 14921.
3.2. Определение жидкого остатка, свободной воды ищелочи
3.2.1. Аппаратура, материалы, реактивы
Отстойник вместимостью 100или 500 см3.
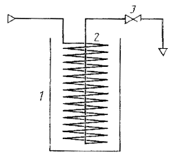
Устройство для охлаждения (чертеж).
Охлаждающий змеевикизготовляют из медной трубки длиной 6 м с наружным диаметром 6-8 мм, навитойвиток к витку в виде спирали с диаметром 60-90 мм.
Сосуд для охлаждения смеси степловой изоляцией, с размерами под охлаждающий змеевик (внутренний диаметр неменее 120 мм, высота не менее 220 мм).
Термометр типа ТН-8 по ГОСТ400.
Термометр ртутный стеклянныйс пределами градуировки от 0 до 100 °С и ценой деления шкалы 1 °С.
Баня водяная для отстойникас температурой (20±1) °С.
Штатив лабораторный для отстойника.
Проволока медная диаметром1,5-2 мм, длиной 200 или 450 мм (в соответствии с высотой отстойника на 100 ина 500 см3).
Гайка накидная к штуцерупробоотборника с уплотнительной прокладкой, снабженная металлической илипластиковой трубкой длиной 10-15 см и внутренним диаметром 1-8 мм, служащей дляналива сжиженного газа в отстойник.
Индикаторы тимоловый синийводорастворимый, ч. д. а., и фенолфталеин, раствор в этиловом спирте по ГОСТ18300 или по ГОСТ 17299, с массовой долей 1 %.
Вата гигроскопическая.
Вода дистиллированная.
Смесь охлаждающая, состоящаяиз крупнокристаллической поваренной соли и льда, или ацетона и твердогодиоксида углерода, или другие смеси, обеспечивающие требуемую температуру (доминус 45 °С).
Допускается применятьаппаратуру с аналогичными технологическими и метрологическими характеристиками,а также импортные реактивы квалификации не ниже указанных в стандарте.
3.2.2.Проведение испытания
3.2.2.1. На штуцер пробоотборникас испытуемым газом навинчивают накидную гайку с чистой сухой отводной трубкой.Открывая нижний вентиль (у пробоотборников типа ПГО-400 - впускной вентиль)вертикально расположенного пробоотборника, осторожно наливают сжиженный газчерез трубку в чистый, сухой отстойник. При наливе конец трубки удерживают подповерхностью заполняющей жидкости, отстойник наполняют до метки 100 см3.
Устройство для охлаждения сжиженного углеводородного газа

1 - сосуд для охлаждающей смеси; 2 - змеевик; 3 - игольчатый вентиль
3.2.2.3.После испарения основной массы при температуре окружающей среды и прекращения заметногоиспарения жидкости отстойник помещают в водяную баню с температурой (20±1)°С и выдерживают 20 мин приэтой температуре. После этого измеряют объем остатка с точностью до 0,1 см3.
3.2.2.4. Если объем жидкогоостатка превысит норму, то испытание повторяют из удвоенного количества вновьотобранной пробы.
При проведении повторных иарбитражных испытаний отстойник заполняют сжиженным газом через охлаждающийзмеевик. Змеевик устанавливают в сосуд для охлаждающей смеси, снабженныйтермометром, охлаждают до температуры на несколько градусов ниже температурыкипения основного компонента пробы и присоединяют к пробоотборнику илипробоотборной точке.
3.2.2.5. Открывая вентили напробоотборнике или пробоотборной точке и змеевике, промывают змеевик сжиженнымгазом. Затем отстойник наполняют пробой сжиженного газа, выходящей из змеевика,до метки 100 см3, не допуская выброса пробы из отстойника. Далееповторяют операцию испарения газа и измеряют количество жидкого остатка по пп. 3.2.2.2и 3.2.2.3.
3.2.2.6. Если при сжиженномгазе имеется свободная вода, то после испарения газа она остается на дне истенках отстойника. При затруднениях в визуальной идентификации свободной водыв жидком остатке ее наличие определяют с помощью водорастворимого индикатора.Для этого в отстойник вносят на кончике сухой стеклянной палочки или проволокинесколько кристаллов тимолового синего. В углеводородном жидком остаткетимоловый синий не растворяется и не окрашивается.
Окрашивание жидкостиуказывает на наличие воды. В щелочной среде тимоловый синий окрашивается всиний цвет.
Для определения наличиящелочи в жидком остатке допускается применять в качестве индикаторафенолфталеин. В отстойник добавляют 100 см3 дистиллированной воды,предварительно проверенной на нейтральность, и 2-3 капли фенолфталеина. Приотсутствии окраски раствора в розовый или красный цвет фиксируют отсутствиещелочи, при окраске раствора - фиксируют присутствие щелочи.
3.2.2.7. (Исключен. Изм. № 2).
3.2.3. Два результатаопределения, полученные одним исполнителем, признаются достоверными (с 95%-нойдоверительной вероятностью), если абсолютное расхождение между ними непревышает 0,1 %.
(Введен дополнительно, Изм. № 1).
3.3. (Исключен. Изм. № 2 ).
Пункты3.3.1. – 3.3.3 (Исключены. Изм. № 2 ).
4.1. Сжиженныеуглеводородные газы транспортируют железнодорожным, автомобильным и воднымтранспортом в соответствии с правилами перевозок опасных грузов, действующих насоответствующем виде транспорта, и правилами устройства и безопаснойэксплуатации сосудов, работающих под давлением, утвержденными в установленномпорядке.
(Измененная редакция, Изм. № 1).
4.2.Хранение сжиженных газов - по ГОСТ 1510 .
5.1. Изготовительгарантирует соответствие качества сжиженных газов требованиям настоящегостандарта при соблюдении условий транспортирования и хранения.
5.2. Гарантийный срок хранения- 3 месяца со дня отгрузки.
(Измененная редакция, Изм. № 1).
| Система газоснабжения | Применяемый сжиженный газ для макроклиматического района по ГОСТ 16350 | |||
| Умеренного | Холодного | |||
| Летний | Зимний | Летний | Зимний | |
| период | период | период | период | |
| Газобаллонная: с наружной установкой баллонов |
СПБТ |
ПТ |
СПБТ |
ПТ |
| с внутриквартирной установкой баллонов; портативные баллоны | СПБТ БТ | СПБТ БТ | СПБТ БТ | СПБТ БТ |
| Групповые установки: без испарителей |
СПБТ |
ПТ | ПТ СПБТ | ПТ |
| с испарителями | СПБТ БТ | ПТ СПБТ БТ | ПТ СПБТ | ПТ СПБТ |
Примечания:
1. Всерайоны, за исключением холодного и очень холодного:
летний период- с 1 апреля по 1 октября;
зимний период- с 1 октября по 1 апреля.
2. Холодныйрайон:
летний период- с 1 июня по 1 октября:
зимний период- с 1 октября по 1 июня.
3. Оченьхолодный район:
летний период- с 1 июня по 1 сентября;
зимний период - с 1 сентября по 1 июня.
ИНФОРМАЦИОННЫЕ ДАННЫЕ
1. РАЗРАБОТАНИ ВНЕСЕН Министерством химической и нефтеперерабатывающей промышленности СССР
РАЗРАБОТЧИКИ
А. М. Мазгаров, д-р техн. наук; А. П. Балахонов(руководитель темы); Н. В. Захарова,канд. хим. наук; Ф. А. Сатрутдинова; К. М. Амиров; Е. К.Чепегина
2. УТВЕРЖДЕН ИВВЕДЕН В ДЕЙСТВИЕ Постановлением Государственного комитета СССР по управлениюкачеством продукции и стандартам от 29.12.90 № 3605
3. ВВЕДЕН ВЗАМЕН ГОСТ 20448-80
4. ССЫЛОЧНЫЕНОРМАТИВНО-ТЕХНИЧЕСКИЕ ДОКУМЕНТЫ
| Обозначение НТД, на который дана ссылка | Номер пункта, подпункта, приложения |
| ГОСТ 12.1.005-88 | 1.3.3.8 |
| ГОСТ 12.1.007-76 | |
| ГОСТ 12.4.026-76 | |
| ГОСТ 400-80 | |
| ГОСТ 617-90 | |
| ГОСТ 1510-84 | |
| ГОСТ 5556-81 | |
| ГОСТ 10679-76 | |
| ГОСТ 11382-76 | |
| ГОСТ 14192-96 | |
| ГОСТ 14921-78 | |
| ГОСТ 15860-84 | |
| ГОСТ 16350-80 | |
| ГОСТ 17299-78 | |
| ГОСТ 18300-87 | |
| ГОСТ 19433-88 | |
| ГОСТ 22387.5-77 | |
| ГОСТ 29985-90 | |
| ГОСТ 28656-90 |
(Измененная редакция. Изм. № 2).
5. ПЕРЕИЗДАНИЕ. Октябрь 1994 г.
СОДЕРЖАНИЕ
| 4. Транспортирование и хранение. 6 Приложение Применение различных марок сжиженного газа для коммунально-бытового потребления. 6 |