Стандарт распространяется на резину с твердостью 30-85 единиц по Шору А и устанавливает методы определения теплообразования, остаточной деформации и усталостной выносливости при многократном сжатии на флексометре типа Гудрича (А, Б, В).
Сущность метода А заключается в многократном сжатии образца в заданных условиях до установления условного равновесия температуры, когда скорость ее возрастания не превышает 0,5 °С в минуту, и измерении температуры и остаточной деформации образца после «отдыха» в течение определенного времени.
Сущность метода Б заключается в многократном сжатии образца в заданных условиях в течение 25 мин, измерении температуры и остаточной деформации образца после «отдыха» в течение определенного времени.
Сущность метода В заключается в многократном сжатии образца до его разрушения.
Выбор метода определяется назначением резин.
| Обозначение: | ГОСТ 20418-75* |
| Название рус.: | Резина. Методы определения теплообразования, остаточной деформации и усталостной выносливости при многократном сжатии |
| Статус: | действующий |
| Дата актуализации текста: | 01.10.2008 |
| Дата добавления в базу: | 01.02.2009 |
| Дата введения в действие: | 01.01.1976 |
| Утвержден: | Госстандарт СССР (16.01.1975) |
| Опубликован: | Издательство стандартов № 1981 |

ГОСУДАРСТВЕННЫЙ СТАНДАРТ СОЮЗА ССР
РЕЗИНА
МЕТОДЫ ОПРЕДЕЛЕНИЯ ТЕПЛООБРАЗОВАНИЯ, ОСТАТОЧНОЙ
ДЕФОРМАЦИИ И УСТАЛОСТНОЙ ВЫНОСЛИВОСТИ
ПРИ МНОГОКРАТНОМ СЖАТИИ
ГОСТ 20418-75
(СТ СЭВ 1218-89)
ГОСУДАРСТВЕННЫЙ КОМИТЕТ СССР ПО СТАНДАРТАМ
МОСКВА
ГОСУДАРСТВЕННЫЙСТАНДАРТ СОЮЗА ССР
| РЕЗИНА Методы определения теплообразования, остаточной Rubber. Methods for the determination of heat generation | ГОСТ (СТ СЭВ 1218-89) |
ПостановлениемГосударственного комитета стандартов Совета Министров СССР от 16 января 1975 г.№ 77 срок действия установлен
с 01.01 1976 г.
Проверенв 1980 г. Срок действия продлен
до01.01 1986 г.
Несоблюдение стандартапреследуется по закону
Настоящий стандартраспространяется на резину с твердостью 30-85 единиц по Шору А и устанавливаетметоды определения теплообразования, остаточной деформации и усталостнойвыносливости при многократном сжатии на флексометре типа Гудрича (А, Б, В).
Сущность метода Азаключается в многократном сжатии образца в заданных условиях до установленияусловного равновесия температуры, когда скорость ее возрастания не превышает0,5 °С в минуту, и измерении температуры и остаточной деформации образца после«отдыха» в течение определенного времени.
Сущность метода Бзаключается в многократном сжатии образца в заданных условиях в течение 25 мин,измерении температуры и остаточной деформации образца после «отдыха» в течениеопределенного времени.
Сущность метода Взаключается в многократном сжатии образца до его разрушения.
Выбор метода определяетсяназначением резин.
Стандарт полностьюсоответствует СТ СЭВ 1218-78.
(Измененная редакция, Изм. №1).
1.1. Прибор для испытанийдолжен обеспечивать:
многократное сжатие образцас различными частотами до 30 Гц спогрешностью не более 1 % (допускается применять приборы с погрешностью не более5 %) и установку смещения подвижной площадки с допускаемым отклонением отзаданного значения не более ±0,1 мм;
статическую силу,обеспечивающую условное напряжение на образец от 0,6 до 2,0 МПа (от 6 до 20кгс/см2) с погрешностью не более 3 %;
измерение температуры наторцевой поверхности образца.
(Измененная редакция, Изм. №1, 2).
1.2. Для проведенияиспытаний при повышенных температурах прибор снабжают обогревательной камерой,которая должна обеспечивать температуру от 40 до 100 °С.
Допускается погрешностьизмерительного прибора ±1 °С.
(Измененная редакция, Изм. №1).
1.3. Приборы могут бытьснабжены непрерывной записью температуры образца в процессе испытания.
1.4. Описание одного извозможных вариантов прибора дано в приложении.
1.5. Толщиномер по ГОСТ11358-89 с нормированным усилием, ценой деления шкалы 0,01 мм и диаметроммерительной площадки 10 мм.
(Введен дополнительно, Изм.№ 2).
2.1. Образцы для испытания
2.1.1. Образцы для испытаниядолжны иметь форму цилиндра высотой (25,00 ± 0,25) мм и диаметром 17,80 ± 0,15 мм.
(Измененная редакция, Изм. №1, 2).
2.1.2. Образцы не должнысодержать посторонних включений, пор и других дефектов.
2.1.3. Образцы изготовляютвулканизацией в пресс-форме. Для обеспечения соответствующих размероврекомендуется применять пресс-форму, гнезда которой должны иметь диаметр (18,00± 0,05) мм и высоту (25,40 ± 0,05) мм.
Пресс-форма должна иметьотверстия в верхней и нижней поверхности, обеспечивающие выход резиновой смесив процессе вулканизации образцов.
Допускается вырезать образцыиз резиновой плиты или готовых изделий. Образцы вырезают из плиты с помощьюкруглого влажного вращающегося ножа внутренним диаметром (17,80 ± 0,03) мм. Длясохранения диаметра образца давление на нож должно быть минимальным.
Расстояние режущей грани ножаот кромки пластинки должно быть не менее 13 мм.
(Новая редакция, Изм. № 2).
2.1.4. Испытание образцовпроводят не ранее чем через 16 ч после вулканизации.
2.1.5. Для каждого метода испытанияколичество образцов должно быть не менее двух.
(Измененная редакция, Изм. №2).
3.1. Устанавливают заданноезначение смещения подвижной площадки. Рекомендуемый ряд смещений: (4,45 ±0,03); (5,71 ± 0,03); (6,35 ± 0,03) мм.
Допускаются смещения ряда:(4,5 ± 0,1) (5,7 ± 0,1); (6,3 ± 0,1) мм.
(Измененная редакция, Изм. №2).
3.2. Устанавливают нагрузкуна рычаг, обеспечивающую заданное условное напряжение на образец. Рекомендуемыйряд условных напряжений: (0,64 ± 0,02) МПа (6,4 ± 0,2) кгс/см2; (1,00 ± 0,03) МПа(10,0 ± 0,3) кгс/см2; (2,00 ± 0,06) МПа (20 ± 0,6) кгс/см2.
3.1, 3.2. (Измененнаяредакция, Изм. № 1).
3.3. Устанавливают частотудеформации 30 Гц. Допускается проводить испытания при частотах деформации ряда:25; 14,5; 17,3 Гц. При испытании образцов из готовых изделий частоту сжатиявыбирают исходя из температурных условий работы изделия.
(Новая редакция, Изм. № 2).
3.4. Температуру в камередоводят до заданной.
Рекомендуемые температурыиспытания, °С: 23 ± 2; 40 ± 1; 70 ± 1; 100 ± 1.
3.5. После окончания испытанияизмеряют высоту образца.
(Новая редакция, Изм. № 2).
3.6. (Исключен, Изм. №1).
3.7. Образцы помещают между верхнейподвижной и нижней неподвижной площадками, выдерживают при заданной температурев течение 30 мин, измеряют температуру на торцовой поверхности и задаютустановленную статическую нагрузку.
3.8. Во время испытанияобразец должен находиться в контакте с площадками. При появлении просвета междуобразцом и площадкой или перекоса образца испытание прекращают.
3.9. По методу А машинувключают и измеряют температуру на торцовой поверхности образца через 1, 2, 3,4, 5, 7, 9, 12, 15, 18, 21, 25 мин и далее, при необходимости через каждые 5мин до установления скорости возрастания температуры не более 0,5 °С в минуту,записывают конечную температуру, после этого испытание заканчивают.
Образец помещают натеплоизоляционную плиту и выдерживают при 23 ± 2 °С.
3.9.1. Измеряют высотуобразца через (1,0 ± 0,3) ч и после окончания испытаний.
(Новая редакция, Изм. № 2).
3.10. По методу Б машинувключают, проводят испытание в течение 25 мин ±5 с и измеряют температуру наторцовой поверхности образца. Образец помещают на теплоизоляционную плиту ивыдерживают при 23 ± 2 °С и в течение (1,0 ± 0,3) ч и измеряют высоту образца.
Для определения динамическойползучести измеряют высоту образца после 6 или 15 с и 25 мин ±5 с сжатия, невынимая его из прибора.
(Измененная редакция, Изм. №1, 2).
3.11. По методу В машинувключают и проводят испытание до разрушения, определяемого появлением трещин набоковой поверхности образца. В момент появления трещин измеряют температуруобразца и фиксируют число циклов.
4.1. Теплообразование резиныхарактеризуется увеличением температуры образца после многократного сжатия взаданных условиях.
4.2. Увеличение температурыобразца (Δts) °C по методу А вычисляют поформуле
Δts = ts- t0,
где ts- конечная температура образца после испытания, °С;
t0 - температура образца доиспытания, °С.
4.3. Увеличение температурыобразца (Δt25) °C по методу Б вычисляют поформуле
Δt25 = t25- t0,
где t25 - температура образца после25 мин ±5 с испытания, °С;
t0 - температура образца доиспытания, °С.
(Измененная редакция, Изм. №1).
4.4. Увеличение температурыобразца (ΔtN) °С по методу В вычисляютпо формуле
ΔtN = tN- t0,
где tN- температура образца в момент разрушения, °С;
t0 - температура образца доиспытания, °С.
4.5. Остаточную деформацию (et)в процентах по методам А и Б вычисляют по формуле
,
где h0 - высота образца доиспытания, мм;
h1 - высота образца,измеренная после испытания и отдыха при (23 ± 2) °С в течение (1,0 ± 0,3) ч.
(Измененная редакция, Изм. №2).
4.6. Усталостнаявыносливость характеризуется числом циклов до разрушения образца, определяемоепо показанию счетчика.
При отсутствии счетчикачисло циклов (N) вычисляют по формуле
N = v·t,
где v - число колебаний подвижнойплощадки в 1 мин;
t - время испытания, мин.
4.6а. Динамическуюползучесть (F25) в процентах вычисляют по формуле
,
где h0 - высота образца доиспытания, мм;
ht - высота образца после 6 или 15 с циклического сжатия, мм;
h25 - высота образца после 25мин циклического сжатия, мм.
(Введен дополнительно, Изм.№ 1).
(Измененная редакция, Изм. №2).
4.6б Термины, применяемые встандарте, и пояснения к ним, приведены в справочном приложении.
(Введен дополнительно, Изм.№ 2).
4.7. За результат испытанияпринимают среднее арифметическое из величин показателей не менее двух образцов.Если разность результатов двух отдельных определений прироста температуры исредним арифметическим превышает 15 %, испытывают новые образцы.
(Измененная редакция, Изм. №2).
4.8. Результаты испытанийзаписывают в протокол, который должен содержать следующие данные:
а) обозначение резины;
б) условия изготовления иподготовки образцов;
в) метод проведенияиспытания;
г) температуру испытания,силу;
д) силу, динамическоесмещение, частоту сжатия и продолжительность испытания;
е) результаты испытания;
ж) внешний вид образцовпосле испытания;
з) дату испытания.
Рекомендуемое

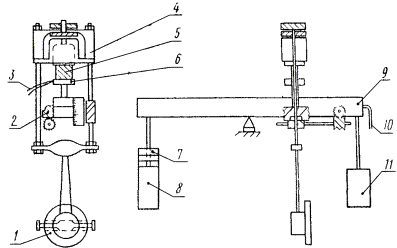
Коромысло 9 своейсерединой опирается на призму, установленную на плите чугунной станины. Поконцам коромысла подвешены постоянные грузы 8 и 11 массой 24 кг,увеличивающие момент инерции коромысла. На один из концов коромысла добавляютсясменные грузы 7, служащие для статического сжатия образца 5. Натой же плите с призмой находятся две стойки для крепления термокамеры иарретирующего устройства. Арретирующее устройство запирает коромысло приустановке образцов, а также удерживает его от качания при пуске. Коромыслоснабжено механизмом с микрометром 2 для поддержания его в равновесии.Для фиксации горизонтального положения коромысла риска на его торце должнасовпадать с указателем 10, укрепленного на станине.
Многократное сжатие образцаосуществляется верхней площадкой 4, которая может перемещаться вдольвертикальной оси. Верхняя площадка приводится в движение через ременнуюпередачу от электромотора. Установка хода эксцентрика проводится по шкале,расположенной на шайбе 1 эксцентрика, и нониусу.
В нижнюю площадку 6 вмонтированатермопара 3 для замера температуры на торце образца.
Поверхности площадок должныбыть покрыты материалом теплопроводностью не более 0,28 Вт/мК (0,24ккал/ч·м·°С).
(Измененная редакция, Изм. №1, 2).
Справочное
1. Увеличение температуры (Δts) - разность температур образца до ипосле циклического сжатия
2. Усталостная выносливость (N) - количество циклов сжатия, после которых образецразрушился
3. Динамическая ползучесть (F25) - изменение деформации образца за 25 мин в результатециклической деформации
4. Остаточная деформация (et) - относительное изменениеразмеров образца по истечении определенного времени после воздействияциклической деформации.
Приложение № 2(Введено дополнительно, Изм. № 2).
СОДЕРЖАНИЕ
| Приложение к ГОСТ 20418-75. Описание флексометра. 4 Приложение 2. Термины, применяемые в стандарте, и пояснения к ним.. 5 |