| Обозначение: | ГОСТ 19804.2-79* |
| Название рус.: | Сваи забивные железобетонные цельные сплошного квадратного сечения с поперечным армированием ствола с напрягаемой арматурой. Конструкция и размеры |
| Статус: | действующий |
| Дата актуализации текста: | 01.10.2008 |
| Дата добавления в базу: | 01.02.2009 |
| Дата введения в действие: | 01.01.1981 |
| Разработан: | Фундаментпроект |
| Утвержден: | Госстрой СССР (24.10.1979) |
| Опубликован: | Издательство стандартов № 1995 |

ГОСУДАРСТВЕННЫЙ СТАНДАРТ СОЮЗА ССР
СВАИ ЗАБИВНЫЕ ЖЕЛЕЗОБЕТОННЫЕ
СВАИ ЗАБИВНЫЕ ЖЕЛЕЗОБЕТОННЫЕЦЕЛЬНЫЕ
СПЛОШНОГО КВАДРАТНОГО СЕЧЕНИЯ С ПОПЕРЕЧНЫМ
АРМИРОВАНИЕМ СТВОЛА С НАПРЯГАЕМОЙ АРМАТУРОЙ
Конструкцияи размеры
ГОСТ19804.2-79*
ИЗДАТЕЛЬСТВО СТАНДАРТОВ
МОСКВА
ГОСУДАРСТВЕННЫЙ СТАНДАРТ СОЮЗА ССР
| СВАИ ЗАБИВНЫЕ ЖЕЛЕЗОБЕТОННЫЕ ЦЕЛЬНЫЕ Конструкция и размеры Prestressed reinforced-concrete driven square piles. | ГОСТ 19804.2-79* |
ПостановлениемГосударственного комитета СССР по делам строительства от 24 октября 1979 г. №208 срок введения установлен
с 01.01.81
* Переиздание (май 1995 г.) с Изменением № 1,утвержденным в июне 1983 г.; Пост. №54 от 31.03.83 (ИУС 9-83)
1. Настоящий стандартраспространяется на забивные железобетонные цельные сваи сплошного квадратногосечения с поперечным армированием ствола с напрягаемой арматурой иустанавливает конструкцию свай и арматурных изделий к ним.
2. Железобетонные сваисплошного квадратного сечения с напрягаемой продольной арматурой должныудовлетворять требованиям ГОСТ 19804-91 итребованиям настоящего стандарта.
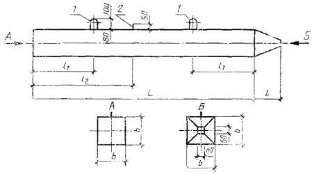
3. Форма, марки, номинальные размеры свай ипроектные марки бетона по прочности на сжатие должны соответствовать указаннымна черт. 1 и в табл. 1.
Сваи сплошного квадратногосечения с поперечным армированием ствола с напрягаемой продольной арматурой
1 - подъемные петли; 2 - штырь для фиксацииместа строповки при подъеме на копер
Черт. 1
Таблица 1
| Номинальные размеры, мм | Проектная марка бетона по прочности на сжатие | Объем бетона, м3 | Масса сваи, т | Расход стали на одну сваю, кг | |||||
| L | l | l1 | l2 | b | |||||
| СНпр3-30 | 3000 | 250 | 600 | - | 300 | М300 | 0,28 | 0,70 | 10,7 |
| СНпр3,5-30 | 3500 | 700 | 0,33 | 0,83 | 11,2 | ||||
| СНпр4-30 | 4000 | 800 | 0,37 | 0,93 | 11,8 | ||||
| СНпр4,5-30 | 4500 | 900 | 0,42 | 1,05 | 12,4 | ||||
| СНпр5-30 | 5000 | 1000 | 0,46 | 1,15 | 12,9 | ||||
| СНпр5,5-30 | 5500 | 1100 | 0,51 | 1,28 | 13,5 | ||||
| СНпр6-30 | 6000 | 1200 | 0,55 | 1,38 | 14,2 | ||||
| СНпр7-30 | 7000 | 1400 | 0,64 | 1,60 | 16,5 | ||||
| СНпр8-30 | 8000 | 1600 | 2400 | 0,73 | 1,83 | 17,6 | |||
| СН9-30 | 9000 | 1800 | 2600 | 0,82 | 2,05 | 36,0 24,6 | |||
| СНпр9-30 | |||||||||
| СН10-30 | 10000 | 2100 | 2900 | 0,91 | 2,28 | 39,6 27,0 | |||
| СНпр10-30 | |||||||||
| СН11-30 | 11000 | 2300 | 3200 | 1,00 | 2,50 | 42,7 28,8 33,0 | |||
| СНпр11-30 | |||||||||
| СНк11-30 | М350 | ||||||||
| СН12-30 | 12000 | 2500 | 3500 | М300 | 1,09 | 2,73 | 45,7 | ||
| СНпр12-30 | М350 | 38,1 | |||||||
| СНк12-30 | 35,2 | ||||||||
| СН13-30 | 13000 | 2700 | 3800 | М400 | 1,18 | 2,95 | 51,4 | ||
| СНпр13-30 | 43,2 | ||||||||
| СНк13-30 | 40,0 | ||||||||
| СН14-30 | 14000 | 2900 | 4100 | 1,27 | 3,18 | 55,6 | |||
| СНпр14-30 | 55,2 | ||||||||
| СНк14-30 | 43,3 | ||||||||
| СН15-30 | 15000 | 3100 | 4400 | 1,36 | 3,40 | 75,4 | |||
| СНпр15-30 | 68,2 | ||||||||
| СНк15-30 | 64,8 | ||||||||
| СНпр8-35 | 8000 | 300 | 1600 | 2400 | 350 | М300 | 1,00 | 2,50 | 20,0 |
| СНпр9-35 | 9000 | 1800 | 2600 | 1,12 | 2,80 | 27,1 | |||
| СН10-35 | 10000 | 2100 | 2900 | 1,24 | 3,10 | 42,6 | |||
| СНпр10-25 | 29,9 | ||||||||
| СНк10-35 | М350 | 33,8 | |||||||
| СН11-35 | 11000 | 2300 | 3200 | 350 | М300 | 1,37 | 3,43 | 45,6 | |
| CHпр11-35 | 31,6 | ||||||||
| СНк11-35 | М350 | 35,9 | |||||||
| CH12-35 | 12000 | 2500 | 3500 | М300 | 1,49 | 3,73 | 48,9 | ||
| СНпр12-35 | 41,2 | ||||||||
| СНк12-35 | М350 | 38,3 | |||||||
| СН13-35 | 13000 | 2700 | 3800 | М400 | 1,61 | 4,03 | 56,2 | ||
| СНпр13-35 | 48,0 | ||||||||
| СНк13-35 | 44,8 | ||||||||
| СН14-35 | 14000 | 2900 | 4100 | 1,73 | 4,33 | 75,2 | |||
| СНпр14-35 | 59,6 | ||||||||
| СНк14-35 | 47,4 | ||||||||
| СН15-35 | 15000 | 3100 | 4400 | 1,86 | 4,65 | 79,6 | |||
| СНпр15-35 | 72,4 | ||||||||
| СНк15-35 | 69,0 | ||||||||
| СН16-35 | 16000 | 3300 | 4700 | 1,98 | 4,95 | 105,0 | |||
| СНк16-35 | 99,0 | ||||||||
| СН17-35 | 17000 | 3500 | 5000 | 2,12 | 5,30 | 137,7 | |||
| СНк17-35 | 105,7 | ||||||||
| СН18-35 | 18000 | 3700 | 5300 | 2,23 | 5,58 | 144,9 | |||
| СНк18-35 | 133,9 | ||||||||
| СН19-35 | 19000 | 3900 | 5600 | 2,35 | 5,80 | 152,2 | |||
| СНк19-35 | 202,7 | ||||||||
| СН20-35 | 20000 | 4100 | 5900 | 2,47 | 6,18 | 193,5 | |||
| СНк20-35 | 212,5 | ||||||||
| СН13-40 | 13000 | 350 | 2700 | 3800 | 400 | 2,10 | 5,26 | 76,2 | |
| СНпр13-40 | 53,5 | ||||||||
| СНк13-40 | 50,3 | ||||||||
| СН14-40 | 14000 | 2900 | 4100 | 2,26 | 5,65 | 80,9 | |||
| СНпр14-40 | 65,3 | ||||||||
| СНк14-40 | 53,0 | ||||||||
| СН15-40 | 15000 | 3100 | 4400 | 2,42 | 6,05 | 105,2 | |||
| СНпр15-40 | 78,3 | ||||||||
| СНк15-40 | 74,8 | ||||||||
| СН16-40 | 16000 | 3300 | 4700 | 2,50 | 6,45 | 112,6 | |||
| СНк16-40 | 106,6 | ||||||||
| СН17-40 | 17000 | 3500 | 5000 | 2,74 | 6,85 | 144,2 | |||
| СНк17-40 | 112,2 | ||||||||
| СН18-40 | 18000 | 3700 | 5300 | 2,90 | 7,25 | 151,6 | |||
| СНк18-40 | 140,6 | ||||||||
| СН19-40 | 19000 | 3900 | 5600 | 3,06 | 7,65 | 194,1 | |||
| СНк19-40 | 212,3 | ||||||||
| СН20-40 | 20000 | 4100 | 5900 | 3,22 | 8,05 | 203,2 | |||
| СНк20-40 | 222,3 | ||||||||
Примечание. Расход стали на одну сваю приведен приусловии армирования проволокой класса B-I.
(Измененная редакция, Изм. №1).
4. Сваи длиной до 7 м включ.допускается изготовлять без фиксирующих штырей, при этом строповка свай приподъеме на копер должна осуществляться у верхней подъемной петли.
5. При соответствующемтехнико-экономическом обосновании для восприятия больших горизонтальных иливертикальных нагрузок допускается изготовлять сваи сечением 350´350 и 400´400 мм длиной, менееуказанной в табл. 1. При этом маркабетона свай по прочности на сжатие должна быть:
- для свай сечением 350´350 мм - М300 и М350 (приармировании свай арматурой из канатов);
- для свай сечением 400´400 мм - М400.
6. В качестве крупногозаполнителя для бетона свай должен применяться фракционированный щебень изестественного камня и гравия по ГОСТ 26633-91,при этом размер фракции должен быть не более 40 мм.
По согласованию с заказчикомдопускается применять в качестве крупного заполнителя гравий по ГОСТ 26633-91для свай длиной до 12 м включ.
Примечание. Возможность применения гравия в качествекрупного заполнителя указывается в заказной спецификации, устанавливаетсяпроектной организацией для условий погружения свай в пески средней плотности ирыхлые, супеси пластичные и текучие, суглинки и глины от текучих дотугопластичных, илы и торфы, и опирания свай на все виды грунтов, заисключением скальных и крупнообломочных.
7. В качестве продольнойнапрягаемой арматуры должна применяться:
а) высокопрочная арматурнаяпроволока периодического профиля класса Вр-II по ГОСТ7348-81;
б) горячекатаная арматурнаясталь классов A-IV и A-V по ГОСТ5781-82 и классов A-IV и A-V по ГОСТ 10884-81. Для свай длиной до 12 м включ.предпочтительно применять арматуру класса Ат-IVС.
в) арматурные канаты классаК-7 по ГОСТ 13840-68.
8. Натяжение арматурыклассов Вр-II и К-7 следует осуществлять механическим способом,натяжение арматуры классов A-IV, A-V, Ат-V, Ат-IVС - электротермическим (для свай длиной до 12 м включ.) илимеханическим способами. Допускается использовать электротермический способ длянатяжения проволочной арматуры класса Вр-II.
При натяженииэлектротермическим способом высокопрочной проволоки и термически упрочненнойстержневой арматуры дополнительно должны производиться контрольные испытанияарматуры на растяжение после электронагрева.
Образцы испытываются нарастяжение в соответствии с требованиями ГОСТ 10446-80.
Температура нагреванапрягаемой арматуры при электротермическом способе натяжения не должнапревышать величин, установленных нормативными документами по технологииизготовления предварительно напряженных конструкций.
9. Предельная величинапредварительного напряжения арматуры soпринята:
а) при механическом способенатяжения so= 0,95 RaII кгс/см2;
б) при электротермическомспособе натяжения
, кгс/см2,
где RaII - расчетное сопротивление арматуры растяжению для предельных состоянийвторой группы, кгс/см2;
l -длина натягиваемого стержня, м.
7-9. (Измененнаяредакция, Изм. № 1).
10. При количествепродольных проволок и канатов 8 и более расстояние между их осями должно бытьне более 15 мм для проволок и 50 мм для канатов.
11. Прочность бетона вмомент отпуска натяжения арматуры (передаточная прочность) должна быть не ниже:
200 кгс/см2 - припроектной марке бетона по прочности на сжатие М300;
300 кгс/см2 - припроектных марках бетона по прочности на сжатие М350 и М400.
12. После отпуска натяженияарматура должна быть срезана заподлицо с бетоном.
13. Для поперечногоармирования свай следует применять проволоку класса B-I или Вр-Iдиаметром 5 мм по ГОСТ6727-80.
Шаг спирали поперечнойарматуры по обоим концам сваи на длине 1 м должен быть равным 100 мм, в среднейчасти для свай длиной до 12 м включ. - 300 мм и для свай длиной 13 м и более -200 мм.
Поперечная арматура должнабыть привязана вязальной проволокой к продольной арматуре в каждом четвертомпересечении с тем, чтобы шаг спирали был зафиксирован.
14. Голова сваи должна бытьусилена сетками марок С30-С40.
15. Острие сваи должно бытьусилено приставным каркасом марок КО30-КО-40.
16. Расположение арматуры(продольной и поперечной, сеток головы свай, каркасов острия, петель и штырей)в сваях должно соответствовать указанному на черт.2.
17. Спецификация арматурныхизделий и выборка стали на сваю приведены в табл.2-5.
Черт. 2
18. Ведомость стержней,выборка стали и усилия натяжения продольной арматуры должны соответствовать табл. 6-8.
13-18. (Измененнаяредакция, Изм. № 1).
19. Допускаются диаметры иклассы продольной арматуры свай в соответствии с приложением 1.
20. Ведомость стержней ивыборка стали на спираль и сетки головы, каркаса острия, петли и штырьприведена в табл. 9-11.
(Измененная редакция, Изм. №1).
21. Сетки, петли и каркасострия должны быть привязаны к продольной арматуре вязальной проволокой. Штырьустанавливается после формования бетона.
22. (Исключен, Изм. № 1).
23. Сваи с продольнойарматурой, предусмотренной настоящим стандартом, должны быть испытаны натрещиностойкость путем укладки их на две опоры, расположенные по схеме,указанной на черт. 3.
Черт. 3
Таблица 2
Спецификация арматурныхизделий на сваю
| Продольная арматура, кол., диаметр, мм, класс | Спираль (1 шт.) | Сетки головы (10 шт.) | Петли (2 шт.) | Штырь (1 шт.) | Каркас острия (1 шт.) | |
| СНпр3-30 СНпр3,5-30 СНпр4-30 СНпр4,5-30 СНпр5-30 СНпр5,5-30 СНпр6-30 СНпр7-30 СНпр8-30 | 4Æ5ВрII | Сп3-30 Сп3,5-30 Сп4-30 Сп4,5-30 Сп5-30 Сп5,5-30 Сп6-30 Сп7-30 Сп8-30 | С30 | П3 | - | КО30 |
| П4 | Ш1 | |||||
| СНпр9-30 СН9-30 | 8Æ5ВрII 4Æ10AIV | Сп9-30 | С30 | П4 | Ш1 | КО30 |
| СНпр10-30 СН10-30 | 8Æ5ВрII 4Æ10AIV | Сп10-30 | С30 | П5 | Ш1 | КО30 |
| СНпр11-30 СН11-30 СНк11-30 | 8Æ5ВрII 4Æ10AIV 4Æ9К7 | Сп11-30 | С30 | П5 | Ш1 | КО30 |
| СНпр12-30 СН12-30 СНк12-30 | 12Æ5ВрII 4Æ10AV 4Æ9К7 | Сп12-30 | С30 | П5 | Ш1 | КО30 |
| СНпр13-30 СН13-30 СНк13-30 | 12Æ5ВрII 4Æ10AV 4Æ9К7 | Сп13-30 | С30 | П5 | Ш1 | КО30 |
| СНпр14-30 СН14-30 СНк14-30 | 16Æ5ВрII 4Æ10AV 4ÆК7 | Сп14-30 | С30 | П6 | Ш1 | КО30 |
| СНпр15-30 СН15-30 СНк15-30 | 20Æ5ВрII 4Æ12AV 4Æ12К7 | Сп15-30 | С30 | П6 | Ш1 | КО30 |
| СНпр8-35 СНпр9-35 | 4Æ5ВрII 8Æ5ВрII | Сп8-35 Сп9-35 | С35 | П7 | Ш1 | КО35 |
| СНпр10-35 СН10-35 СНк10-35 | 8Æ5ВрII 4Æ10AIV 4Æ9К7 | Сп10-35 | С35 | П8 | ||
| СHпр11-35 СН11-35 СНк11-35 | 8Æ5ВрII 4Æ10AIV 4Æ9К7 | Сп11-35 | С35 | П8 | Ш1 | КО35 |
| СНпр12-35 СН12-35 СНк12-35 | 12Æ5ВрII 4Æ10AV 4Æ9К7 | Сп12-35 | С35 | П8 | Ш1 | КО35 |
| СНпр13-35 СН13-35 СНк13-35 | 12Æ5ВрII 4Æ10AV 4Æ9К7 | Сп13-35 | С35 | П9 | Ш1 | КО35 |
| СНпр14-35 СН14-35 СНк14-35 | 16Æ5ВрII 4Æ12AV 4Æ9К7 | Сп14-35 | С35 | П9 | Ш1 | КО35 |
| СНпр15-35 СН15-35 СНк15-35 | 20Æ5ВрII 4Æ12AV 4Æ12К7 | Сп15-35 | С35 | П9 | Ш1 | КО35 |
| СН16-35 СНк16-35 | 4Æ14AV 4Æ15К7 | Сп16-35 | С35 | П9 | Ш1 | КО35 |
| СН17-35 СНк17-35 | 4Æ16AV 4Æ15К7 | Сп17-35 | С35 | П10 | Ш1 | КО35 |
| СН18-35 СНк18-35 | 4Æ16AV 8Æ12К7 | Сп18-35 | С35 | П10 | Ш1 | КО35 |
| СН19-35 СНк19-35 | 4Æ16AV 8Æ15К7 | Сп19-35 | С35 | П10 | Ш1 | КО35 |
| СН20-35 СНк20-35 | 4Æ18AV 8Æ15К7 | Сп20-35 | С35 | П10 | Ш1 | КО35 |
| СНпр13-40 СН13-40 СНк13-40 | 12Æ5ВрII 4Æ12AIV 4Æ9К7 | Сп13-40 | С40 | П11 | Ш1 | КО40 |
| СНпр14-40 СН14-40 СНк14-40 | 16Æ5ВрII 4Æ12AV 4Æ9К7 | Сп14-40 | С40 | П11 | Ш1 | КО40 |
| СНпр15-40 СН15-40 СНк15-40 | 20Æ5ВрII 4Æ14AIV 4Æ12К7 | Сп15-40 | С40 | П11 | Ш1 | КО40 |
| СН16-40 СНк16-40 | 4Æ14AV 4Æ15К7 | Сп16-40 | С40 | П12 | Ш1 | КО40 |
| СН17-40 СНк17-40 | 4Æ16AV 4Æ15К7 | Сп17-40 | С40 | П12 | Ш1 | КО40 |
| СН18-40 СНк18-40 | 4Æ16AV 8Æ12К7 | Сп18-40 | С40 | П12 | Ш1 | КО40 |
| СН19-40 СНк19-40 | 4Æ18AV 8Æ15К7 | Сп19-40 | С40 | П13 | Ш1 | КО40 |
| СН20-40 СНк20-40 | 4Æ18AV 8Æ15К7 | Сп20-40 | С40 | П13 | Ш1 | КО40 |
Таблица3
Выборка стали на сваи марокСНпр3-30¸СНпр15-40
| Арматурная сталь | Всего масса, кг | |||||||||
| по ГОСТ 7348-81 класс Вр-II | по ГОСТ 6727-80 , класс В-I | по ГОСТ 5781-82 , класс A-I | ||||||||
| Диаметр, мм | Масса, кг | Диаметр, мм | Масса, кг | Диаметр, мм | Масса, кг | Диаметр, мм | Масса, кг | Итого, кг | ||
| СНпр3-30 СНпр3,5-30 СНпр4-30 СНпр4,5-30 СНпр5-30 СНпр5,5-30 СНпр6-30 | 5 | 2,0 2,3 2,6 2,9 3,2 3,5 3,9 | 5 | 6,7 6,9 7,2 7,5 7,7 8,0 8,3 | 10 | 2,0 | - | - | 2,0 | 10,7 11,2 11,8 12,4 12,9 13,5 14,2 |
| СНпр7-30 | 4,5 | 8,8 | 1,0 | 12 | 2,2 | 3,2 | 16,5 | |||
| СНпр8-30 СНпр9-30 | 5,1 11,4 | 9,2 9,9 | 1,1 | 3,3 | 17,6 24,6 | |||||
| СНпр10-30 СНпр11-30 СНпр12-30 СНпр13-30 | 12,6 13,9 22,6 24,5 | 10,3 10,8 11,4 14,6 | 14 | 3,0 | 4,1 | 27,0 28,8 38,1 43,2 | ||||
| СНпр14-30 СНпр15-30 | 35,1 47,0 | 15,3 16,1 | 16 | 4,0 | 5,1 | 55,5 68,2 | ||||
| СНпр8-35 СНпр9-35 | 5,1 11,5 | 10,6 11,3 | 14 | 3,2 | 4,3 | 20,0 27,1 | ||||
| СНпр10-35 СНпр11-35 СНпр12-35 | 12,7 13,9 22,7 | 11,9 12,4 13,2 | 16 | 4,2 | 5,3 | 29,9 31,6 41,2 | ||||
| СНпр13-35 СНпр14-35 СНпр15-35 | 24,6 35,2 47,1 | 16,9 17,9 18,8 | 18 | 5,4 | 6,5 | 48,0 59,6 72,4 | ||||
| СНпр13-40 СНпр14-40 СНпр15-40 | 24,7 35,4 47,3 | 20,3 21,4 22,5 | 1,3 | 20 | 7,2 | 8,5 | 53,5 65,3 78,3 | |||
Таблица4
Выборка стали на сваи марокСН9-30¸СН20-40
| Арматурная сталь | Всего масса, кг | |||||||||||||
| по ГОСТ 5781-82 | по ГОСТ 6727-80 , класс В-I | |||||||||||||
| Класс А-IV | Класс A-V | Класс A-I | ||||||||||||
| Диаметр, мм | Масса, кг | Диаметр, мм | Масса, кг | Диаметр, мм | Масса, кг | Диаметр, мм | Масса, кг | Итого, кг | Диаметр, мм | Масса, кг | ||||
| СН9-30 | 10 | 22,8 | - - - | - - - | 10 | 1,3 | 12 | 2,2 | 3,3 | 5 | 9,9 | 36,0 | ||
| СH10-30 СН11-30 | 25,3 27,8 | 1,1 | 14 | 3,0 | 4,1 | 10,3 10,8 | 39,7 42,7 | |||||||
| СН12-30 СН13-30 |
|
| 10 | 32,2 32,7 | 11,4 14,6 | 45,7 51,4 | ||||||||
| СН14-30 |
|
| 35,2 | 16 | 4,0 | 5,1 | 15,3 | 55,6 | ||||||
| СН15-30 | 12 | 54,2 | 16,1 | 75,4 | ||||||||||
| СН10-35 СН11-35 | 10 | 25,4 27,9 | - | - | 4,2 | 5,3 | 11,9 12,4 | 42,6 45,6 | ||||||
| CH12-35 | - | - | 10 | 30,4 | 13,2 | 48,9 | ||||||||
| CH13-35 | 32,8 | 18 | 5,4 | 6,5 | 16,9 | 56,2 | ||||||||
| CH14-35 CH15-35 | 12 | 50,8 54,3 | 17,9 18,8 | 75,2 79,6 | ||||||||||
| СН16-35 | 14 | 78,8 | 19,7 | 105,0 | ||||||||||
| СН17-35 СН18-35 СН19-35 | 16 | 109,2 115,5 121,8 | 1,1 | 20 | 6,8 | 7,9 | 20,6 21,5 22,5 | 137,7 144,9 152,2 | ||||||
| СН20-35 | 18 | 162,2 | 23,4 | 193,5 | ||||||||||
| СН13-40 СН14-40 СН15-40 | 12 - 14 | 47,4 - 74,2 | - 12 - | - 51,0 - | 1,3 | 20 | 7,2 | 8,5 | 20,3 21,4 22,5 | 76,2 80,9 105,2 | ||||
| СН16-40 | - | - | 14 | 79,0 | 22 | 8,8 | 10,1 | 23,5 | 112,6 | |||||
| СН17-40 СН18-40 | 16 | 109,5 115,8 | 24,6 25,7 | 144,2 151,6 | ||||||||||
| СН19-40 СН20-40 | 18 | 154,6 162,6 | 25 25 | 11,4 | 12,7 | 26,8 27,9 | 194,1 203,2 | |||||||
Таблица5
Выборка стали на сваи марокСНк11-30¸СНк20-40
| Арматурная сталь | Всего масса, кг | ||||||||||
| по ГОСТ 13840-68 , класс К-7 | ПО ГОСТ 6727-80 , класс B-I | по ГОСТ 5781-82 , класс A-I | |||||||||
| Диаметр, мм | Масса, кг | Диаметр, мм | Масса, кг | Диаметр, мм | Масса, кг | Диаметр, мм | Масса, кг | Итого, кг | |||
| СНк11-30 СНк12-30 СНк13-30 | 9 | 18,1 19,7 21,3 | 5 | 10,8 11,4 14,6 | 10 | 1,1 | 14 | 3,0 | 4,1 | 33,0 35,2 40,0 | |
| СНк14-30 СНк15-30 | 22,9 | 15,3 | 16 | 4,0 | 5,1 | 43,3 | |||||
| 12 | 43,6 | 16,1 | 64,8 | ||||||||
| СНк10-35 СНк11-35 СНк12-35 | 9 | 16,6 18,2 19,8 | 11,9 12,4 13,2 | 4,2 | 5,3 | 33,8 35,9 38,3 | |||||
| СНк13-35 | 21,4 | 16,9 | 18 | 5,4 | 6,5 | 44,8 | |||||
| СНк14-35 СНк15-35 | 23,0 | 17,9 | 47,4 | ||||||||
| 12 | 43,7 | 18,8 | 69,0 | ||||||||
| СНк16-35 | 15 | 72,8 | 19,7 | 99,0 | |||||||
| СНк17-35 | 77,2 | 20,6 | 20 | 6,8 | 7,9 | 105,7 | |||||
| СНк18-35 | 12 | 104,5 | 21,5 | 133,9 | |||||||
| СПк19-35 СНк20-35 | 15 | 172,3 181,2 | 22,5 23,4 | 202,7 212,5 | |||||||
| СНк13-40 СНк14-40 | 9 | 21,5 23,1 | 20,3 21,4 | 1,3 | 7,2 | 8,5 | 50,3 53,0 | ||||
| СНк15-40 | 12 9 15 12 | 43,8 | 22,5 | 74,8 | |||||||
| СНк16-40 СНк17-40 СНк18-40 | 73,0 77,5 104,8 | 23,5 24,6 25,7 | 22 | 8,8 | 10,1 | 106,6 112,2 140,6 | |||||
| СНк19-40 СНк20-40 | 15 | 172,8 181,7 | 26,8 27,9 | 25 | 11,4 | 12,7 | 212,3 222,3 | ||||
24. После укладки свай надве опоры через 10 мин производят осмотр ее верхней грани над опорами. Сваюсчитают выдержавшей испытание, если на ее гранях:
а) не появятся трещины - длясвай с арматурой из высокопрочной проволоки и канатов;
б) раскрытие трещин непревышает 0,2 мм - для свай со стержневой арматурой. Ширину раскрытия трещинизмеряют с точностью до 0,05 мм.
25. Испытание натрещиностойкость свай, в которых площадь поперечного сечения продольнойарматуры увеличена по сравнению с приведенной в настоящем стандарте, проводят всоответствии со схемой, которая должна быть приложена в заказной спецификации.
26. Условия расчета иприменения свай даны в приложении 2.
27. Сваи длиной до 12 мвключ. допускается изготовлять с технологическим уклоном двух противоположныхсторон поперечного сечения, не превышающим 1:15 без изменения площадипоперечного сечения. При этом защитный слой бетона не должен быть менее 30 мм.Расположение арматуры в поперечном сечении сваи должно соответствовать черт. 4а, б.
Черт 4
Таблица6
Ведомость стержней, выборкастали и усилие натяжения продольной арматуры свай марок СНпр3-30¸СНпр15-40
| Арматурная сталь по ГОСТ 7348-81 , класс Вр-II | Усилие натяжения всех проволок (механический способ), тс | |||
| Кол., диаметр, мм | Длина, мм | Масса, кг | ||
| СНпр3-30 | 4Æ5 | 3250 | 2,0 | 9,6 |
| СНпр3,5-30 | 3750 | 2,3 | ||
| СНпр4-30 | 4250 | 2,6 | ||
| СНпр4,5-30 | 4750 | 2,9 | ||
| СНпр6-30 | 5250 | 3,2 | ||
| СНпр5,5-30 | 5750 | 3,5 | ||
| СНпр6-30 | 6250 | 3,9 | ||
| СНпр7-30 | 7250 | 4,5 | ||
| СНпр8-30 | 8250 | 5,1 | ||
| СНпр9-30 | 8Æ5 | 9250 | 11,4 | 19,2 |
| СНпр10-30 | 8Æ5 | 10250 | 12,6 | 19,2 |
| СНпр11-30 | 8Æ5 | 11250 | 13,9 | 19,2 |
| СНпр12-30 | 12Æ5 | 12250 | 22,6 | 28,8 |
| СНпр13-30 | 12Æ5 | 13250 | 24,5 | 28,8 |
| СНпр14-30 | 16Æ5 | 14250 | 35,1 | 38,4 |
| СНпр15-30 | 20Æ5 | 15250 | 47,0 | 48,0 |
| СНпр8-35 | 4Æ5 | 8300 | 5,1 | 9,6 |
| СНпр9-35 | 8Æ5 | 9300 | 11,5 | 19,2 |
| СНпр10-35 | 8Æ5 | 10300 | 12,7 | 19,2 |
| СНпр11-35 | 8Æ5 | 11300 | 13,9 | 19,2 |
| СНпр12-35 | 12Æ5 | 12300 | 22,7 | 28,8 |
| СНпр13-35 | 12Æ5 | 13300 | 24,6 | 28,8 |
| СНпр14-35 | 16Æ5 | 14300 | 35,2 | 38,4 |
| СНпр15-35 | 20Æ5 | 15300 | 47,1 | 48,0 |
| СНпр13-40 СНпр14-40 СНпр15-40 | 12Æ5 16Æ5 20Æ5 | 13350 14350 15350 | 24,7 35,4 47,3 | 28,8 38,4 48,0 |
Примечание. Усилие натяжения одной проволоки составляет2,4 тс.
Таблица 7
Ведомость стержней, выборкистали и усилие натяжения продольной арматуры свай марок СН9-30¸СН20-40
| Арматурная сталь по ГОСТ 5781-82 | Усилие натяжения, те |
| ||||||
| Кол., диаметр, мм, класс | Длина, мм | Масса, кг | Механический способ | Электротермический способ |
| |||
| одного стержня | всех | одного стержня | всех | |||||
| СН9-30 | 4Æ10AIV | 9250 | 22,8 | 4,5 | 18,0 | 4,2 | 16,8 |
|
| СН10-30 | 4Æ10AIV | 10250 | 25,3 | 4,5 | 18,0 | 4,2 | 16,8 |
|
| СН11-30 | 4Æ10AIV | 11250 | 27,8 | 4,5 | 18,0 | 4,2 | 16,8 |
|
| СН12-30 | 4Æ10AV | 12250 | 30,2 | 6,0 | 24,0 | 5,8 | 23,2 |
|
| СН13-30 | 4Æ10AV | 13250 | 32,7 | 6,0 | 24,0 | - | - |
|
| СН14-30 | 4Æ10AV | 14250 | 35,2 | 6,0 | 24,0 |
| ||
| СН15-30 | 4Æ12V | 15250 | 54,2 | 8,6 | 34,4 |
| ||
| СН10-35 | 4Æ10AIV | 10300 | 25,4 | 4,5 | 18,0 | 4,2 | 16,8 |
|
| СН11-35 | 4Æ10AIV | 11300 | 27,9 | 4,5 | 18,0 | 4,2 | 16,8 |
|
| СН12-35 | 4Æ10AV | 12300 | 30,4 | 6,0 | 24,0 | 5,8 | 23,2 |
|
| СН13-35 | 4Æ10AV | 13300 | 32,8 | 6,0 | 24,0 | - | - |
|
| СН14-35 | 4Æ12AV | 14300 | 50,8 | 8,6 | 34,4 |
| ||
| СН15-35 | 4Æ12AV | 15300 | 54,3 | 8,6 | 34,4 |
| ||
| СН16-35 | 4Æ14AV | 16300 | 78,8 | 8,8 | 35,2 |
| ||
| СН17-35 | 4Æ16AV | 17300 | 109,2 | 15,3 | 61,2 |
| ||
| СН18-35 | 4Æ16AV | 18300 | 115,3 | 15,3 | 61,2 |
| ||
| СН19-35 | 4Æ16AV | 19300 | 121,8 | 15,3 | 61,2 |
| ||
| СН20-35 | 4Æ18AV | 20300 | 162,2 | 19,3 | 77,2 |
| ||
| СН13-40 | 4Æ12AIV | 13350 | 47,4 | 6,4 | 25,6 |
| ||
| СН14-40 | 4Æ12AV | 14350 | 51,0 | 8,6 | 34,4 |
| ||
| СН15-40 | 4Æ14AIV | 15350 | 74,2 | 8,8 | 35,2 |
| ||
| СН16-40 | 4Æ14AV | 16350 | 79,0 | 11,7 | 46,8 |
| ||
| СН17-40 | 4Æ16AV | 17350 | 109,5 | 15,3 | 61,2 |
| ||
| СН18-40 | 4Æ16AV | 18350 | 115,8 | 15,3 | 61,2 |
| ||
| СН19-40 | 4Æ18AV | 19350 | 154,6 | 19,3 | 77,2 |
| ||
| СН20-40 | 4Æ18AV | 20350 | 162,6 | 19,3 | 77,2 |
| ||
Таблица8
Ведомость стержней, выборкастали и усилие натяжения продольной арматуры свай марок СНк11-30¸СНк20-40
| Арматурная сталь по ГОСТ 13840-68 , класс К-7 | Усилие натяжения, тс (механический способ) | ||||
| Кол., диаметр, мм | Длина, мм | Масса, кг | одного каната | всех | |
| СНк11-30 | 4Æ9 | 11250 | 18,1 | 6,8 | 27,2 |
| СНк12-30 | 4Æ9 | 12250 | 19,7 | 6,8 | 27,2 |
| СНк13-30 | 4Æ9 | 13250 | 21,3 | 6,8 | 27,2 |
| СНк14-30 | 4Æ9 | 14250 | 22,9 | 6,8 | 27,2 |
| СНк15-30 | 4Æ12 | 15250 | 43,6 | 11,7 | 46,8 |
| СНк10-35 | 4Æ9 | 10300 | 16,6 | 6,8 | 27,2 |
| СНк11-35 | 4Æ9 | 11300 | 18,2 | 6,8 | 27,2 |
| СНк12-35 | 4Æ9 | 12300 | 19,8 | 6,8 | 27,2 |
| СНк13-35 | 4Æ9 | 13300 | 21,4 | 6,8 | 27,2 |
| СНк14-35 | 4Æ9 | 14300 | 23,0 | 6,8 | 27,2 |
| СНк15-35 | 4Æ12 | 15300 | 43,7 | 11,7 | 46,8 |
| СНк16-35 | 4Æ15 | 16300 | 72,8 | 17,8 | 71,2 |
| СНк17-35 | 4Æ15 | 17300 | 77,2 | 17,8 | 71,2 |
| СНк18-35 | 8Æ12 | 18300 | 104,5 | 11,7 | 93,6 |
| СНк19-35 | 8Æ15 | 19300 | 172,3 | 17,8 | 142,4 |
| СНк20-35 | 8Æ15 | 20300 | 181,2 | 17,8 | 142,4 |
| СНк13-40 | 4Æ9 | 13350 | 21,5 | 6,8 | 27,2 |
| СНк14-40 | 4Æ9 | 14350 | 23,1 | 6,8 | 27,2 |
| СНк15-40 | 4Æ12 | 15350 | 43,8 | 11,7 | 46,8 |
| СНк16-40 | 4Æ15 | 16350 | 73,0 | 17,8 | 71,2 |
| СНк17-40 | 4Æ15 | 17350 | 77,5 | 17,8 | 71,2 |
| СНк18-40 | 8Æ12 | 18350 | 104,8 | 11,7 | 93,6 |
| СНк19-40 | 8Æ15 | 19350 | 172,8 | 17,8 | 142,4 |
| СНк20-40 | 8Æ15 | 20350 | 181,7 | 17,8 | 142,4 |
Таблица9
Ведомость стержней и выборкастали на спираль марок Сп3-30¸Сп20-40
| Эскиз | l3, мм | Кол. витков | Длина, мм | Масса, кг | |
| Сп3-30 |
| 1000 | 21 | 20800 | 3,2 |
| Сп3,5-30 | 1500 | 22 | 21900 | 3,4 | |
| Сп4-30 | 2000 | 24 | 23900 | 3,7 | |
| Сп4,5-30 | 2500 | 26 | 26000 | 4,0 | |
| Сп5-30 | 3000 | 27 | 27000 | 4,2 | |
| Сп5,5-30 | 3500 | 29 | 29000 | 4,5 | |
| Сп6-30 | 4000 | 31 | 31100 | 4,8 | |
| Сп7-30 | 5000 | 34 | 34200 | 5,3 | |
| Сп8-30 | 6000 | 37 | 37200 | 5,7 | |
| Сп9-30 | 7000 | 41 | 41300 | 6,4 | |
| Сп10-30 | 8000 | 44 | 44400 | 6,8 | |
| Cп11-30 | 9000 | 47 | 47500 | 7,3 | |
| Сп12-30 | 10000 | 51 | 51600 | 7,9 | |
| Сп13-30 |
| 11000 | 72 | 71900 | 11,1 |
| Сп14-30 | 12000 | 77 | 76900 | 11,8 | |
| Сп15-30 | 13000 | 82 | 81900 | 12,6 | |
| Сп8-35 |
| 6000 | 37 | 44500 | 6,9 |
| Сп9-35 | 7000 | 41 | 49300 | 7,6 | |
| Сп10-35 | 8000 | 44 | 53000 | 8,2 | |
| Сп11-35 | 9000 | 47 | 56600 | 8,7 | |
| Сп12-35 | 10000 | 51 | 61500 | 9,5 | |
| Сп13-35 |
| 11000 | 72 | 86000 | 13,2 |
| Сп14-35 | 12000 | 77 | 91900 | 14,2 | |
| Сп15-35 | 13000 | 82 | 97900 | 15,1 | |
| Сп16-35 | 14000 | 87 | 103900 | 16,0 | |
| Сп17-35 | 15000 | 92 | 109900 | 16,9 | |
| Сп18-35 | 16000 | 97 | 115900 | 17,8 | |
| Сп19-35 | 17000 | 102 | 121900 | 18,8 | |
| Сп20-35 | 18000 | 107 | 127800 | 19,7 | |
| Сп13-40 |
| 11000 | 72 | 100200 | 15,4 |
| Сп14-40 | 12000 | 77 | 107200 | 16,5 | |
| Сп15-40 | 13000 | 82 | 114200 | 17,6 | |
| Cп16-40 | 14000 | 87 | 121000 | 18,6 | |
| Сп17-40 | 15000 | 92 | 128100 | 19,7 | |
| Сп18-40 | 16000 | 97 | 135100 | 20,8 | |
| Сп19-40 | 17000 | 102 | 142000 | 21,9 | |
| Сп20-40 | 18000 | 107 | 149000 | 23,0 |
Таблица10
Ведомость стержней на одинэлемент (сетки головы, каркас острия, петли, штырь)
| Позиция | Эскиз или сечение | Диаметр, мм, класс | Длина, заготовки, мм | Кол. | a1 | a2 | l1 | l2 | ||||
| мм | ||||||||||||
| C30 | 1 |
| 5BI | 280 | 6 | 65 | - | - | - | |||
| С35 | 1 | 5BI | 320 | 6 | 75 | |||||||
| С40 | 1 | 5BI | 380 | 7 | 70 | |||||||
| КО30 | 2 |
| 10AI | 780 | 2 | 290 |
| 190 | 340 | |||
| 3 | 5BI | 3100 | 1 | - | 205 | - | - | |||||
| КО35 | 2 | 10AI | 840 | 2 | 320 | - | 220 | 370 | ||||
| 3 | 5BI | 4400 | 1 | - | 235 | - | - | |||||
| КО40 | 2 | 10AI | 990 | 2 | 410 | - | 280 | 430 | ||||
| 3 | 5BI | 5000 | 1 | - | 295 | - | - | |||||
| П3 П4 П5 П6 П7 П8 П9 П10 П11 П12 П13 | - |
| 10AI 12AI 14AI 16AI 14AI 16AI 18AI 20AI 20AI 22AI 25AI | 1250 1250 1250 1260 1350 1360 1370 1370 1470 1470 1480 | - | 360 360 360 360 410 410 410 410 410 460 460 | 180 230 280 | - | - | |||
| Ш1 | - |
| 10AI | 250 | - | - | - | - | - | |||
Таблица 11
Выборка стали на один элемент(сетки головы, каркас острия, петли, штырь)
| Арматурная сталь | Всего масса, кг | ||||
| по ГОСТ 5781-82 , класс A-I | по ГОСТ 6727-80 , класс B-I | ||||
| Диаметр, мм | Масса, кг | Диаметр, мм | Масса, кг | ||
| С30 | - | - | 5 | 0,3 | 0,3 |
| С30 | 03 | 0,3 | |||
| С40 | 0,4 | 0,4 | |||
| КО30 | 10 | 1,0 | 5 | 0,5 | 1,5 |
| КО35 | 1,0 | 0,7 | 1,7 | ||
| КО40 | 1,2 | 0,9 | 2,1 | ||
| П3 | 10 | 0,5 | - | - | 0,5 |
| П4 | 12 | 1,1 | 1,1 | ||
| П5 | 14 | 1,5 | 1,5 | ||
| П6 | 16 | 2,0 | 2,0 | ||
| П7 | 14 | 1,6 | 1,6 | ||
| П8 | 16 | 2,1 | 2,1 | ||
| П9 | 18 | 2,7 | 2,7 | ||
| П10 | 20 | 3,4 | 3,4 | ||
| П11 | 20 | 3,6 | 3,6 | ||
| П12 | 22 | 4,4 | 4,4 | ||
| П13 | 25 | 5,7 | 5,7 | ||
| Ш1 | 10 | 0,1 | - | - | 0,1 |
1. В табл. 1 и 2приведены допускаемые варианты замены продольной стержневой арматуры иарматурных канатов. Марка бетона по прочности на сжатие должна соответствоватьуказанной в табл. 1 настоящего стандарта.
Таблица 1
Варианты замены продольнойстержневой арматуры
| Кол., диаметр, мм, класс | Усилие натяжения, тс | |||||
| Механический способ | Электротермический способ | |||||
| одного стержня | всех | одного стержня | всех | |||
| СН12-30 | 4Æ12AIV | 6,4 | 25,6 | 6,1 | 24,4 | |
| СН13-30 | 4Æ12AIV | 6,4 | 25,6 | - | - | |
| СН14-30 | 4Æ12AIV | 6,4 | 25,6 | - | - | |
| СН15-30 | 4Æ14AIV | 8,8 | 35,2 | - | - | |
| СН12-35 | 4Æ12AIV | 6,4 | 25,6 | 6,1 | 24,4 | |
| СН13-35 | 4Æ12AIV | 6,4 | 25,6 | - | - | |
| СН14-35 | 4Æ14AIV | 8,8 | 35,2 | - | - | |
| СН15-35 | 4Æ14AIV | 8,8 | 35,2 | - | - | |
| СН16-35 | 4Æ16AIV | 11,5 | 46,0 | - | - | |
| СН17-35 | 4Æ18AIV | 14,5 | 58,0 | - | - | |
| СН18-35 | 4Æ18AIV | 14,5 | 58,0 | - | - | |
| СН19-35 | 4Æ18AIV | 14,5 | 58,0 | - | - | |
| СН20-35 | 4Æ20AIV | 17,9 | 71,6 | - | - | |
| СН14-40 | 4Æ14AIV | 8,8 | 35,2 | - | - | |
| СН16-40 | 4Æ16AIV | 11,5 | 46,0 | - | - | |
| СН17-40 | 4Æ18AIV | 14,5 | 58,0 | - | - | |
| СН18-40 | 4Æ18AIV | 14,5 | 58,0 | - | - | |
| СН19-40 | 4Æ20AIV | 17,9 | 71,6 | - | - | |
| СН20-40 | 4Æ20AIV | 17,9 | 71,6 | - | - | |
Таблица 2
Варианты замены продольнойарматуры из канатов
| Кол., диаметр, мм, класс | Усилие натяжения, тс | |||
| одного каната | всех | |||
| СНк15-30 | 8Æ9К7 | 6,8 | 54,4 | |
| СНк15-35 | 8Æ9К7 | 6,8 | 54,4 | |
| СНк16-35 | 8Æ9К7 | 6,8 | 54,4 | |
| СНк17-35 | 12Æ9К7 | 6,8 | 81,6 | |
| 8Æ12К7 | 11,7 | 93,6 | ||
| СНк18-35 | 12Æ9К7 | 6,8 | 81,6 | |
| СНк19-35 | 16Æ9К7 | 6,8 | 108,8 | |
| 12Æ12К7 | 11,7 | 140,4 | ||
| СНк20-35 | 20Æ9К7 | 6,8 | 136,0 | |
| 12Æ12К7 | 11,7 | 140,4 | ||
| СНк17-40 | 12Æ9К7 | 6,8 | 81,6 | |
| 8Æ12К7 | 11,7 | 93,6 | ||
| СНк18-40 | 12Æ9К7 | 6,8 | 81,6 | |
| СНк19-40 | 16Æ9К7 | 6,8 | 108,8 | |
| 12Æ12К7 | 11,7 | 140,4 | ||
| СНк20-40 | 20Æ9К7 | 6,8 | 136,0 | |
| 12Æ12К7 | ill,7 | 140,4 | ||
Примечание. Замена арматуры в сваях, не включенных втабл. 1 и 2, экономически нецелесообразна.
(Измененная редакция, Изм. №1).
1. Сваи, предусмотренныенастоящим стандартом, рассчитаны на изгиб от усилий, возникающих при подъеме накопер за одну точку, расположенную от торца на расстоянии, равном 0,294 длиныпризматической части сваи, по прочности и раскрытию (кратковременному) трещиндо ат.кр = 0,3 мм при армировании свай стержневой арматурой;по образованию трещин при армировании свай проволокой и арматурными канатами.
Коэффициент перегрузки ксобственной массе не учитывается. Коэффициент динамичности принят равным:
1,5 - при расчете попрочности;
1,25 - при расчете пообразованию и раскрытию трещин.
2. При проектировании свайныхфундаментов сваи должны быть рассчитаны на нагрузки, передаваемые на сваи встроительный и эксплуатационный периоды, по прочности и трещиностойкости. Приэтом категории трещиностойкости свай в зависимости от условий их работы и видапродольной арматуры, а также величина предельно допустимой ширины раскрытиятрещин должны быть приняты согласно главе СНиП II.21-75.
Допускается увеличиватьпоперечное сечение продольной арматуры, если это требуется по расчету. При этомв конце марки сваи добавляется буква «у» (усиленная) и в заказной спецификациидополнительно указывается класс, диаметр и количество стержней продольнойарматуры.
3. При проверке свай по прочностии образованию трещин для свай, армированных проволокой и канатами, и попрочности и раскрытию трещин до ат.кр = 0,2 мм для свай,армированных стержневой арматурой, на внецентренное сжатие от эксплуатационныхнагрузок рекомендуется пользоваться графиками.
4. Графики для проверки свай,предусмотренных настоящим стандартом, на внецентренное сжатие отэксплуатационных нагрузок М и N приведены на черт. 1-17.
На графиках принятыобозначения: N - нормальная сила, тс; М - изгибающий моментотносительно оси сваи, тс×м, передаваемые на сваю приэксплуатации здания и сооружения.
3-4. (Измененная редакция,Изм. № 1).
5. Предполагается, что сваяпо всей длине находится в грунте и продольный изгиб сваи не учитывается.
6. После выбора длины исечения сваи (по теологическим условиям) устанавливается класс, диаметр иколичество стержней, проволок или канатов продольной арматуры в соответствии с табл. 2-11настоящего стандарта.
7. Если точка с координатами Ми N лежит ниже линии, соответствующей принятому армированию свай, товыбранная свая удовлетворяет расчету по прочности, раскрытию или образованиютрещин (для соответствующей продольной арматуры) на эксплуатационные нагрузки Ми N, если точка лежит выше - не удовлетворяет.
Сваи сечением 30 ´ 30 см. Бетон М300
Черт. 1
Сваи сечением 30 ´ 30 см. Бетон М400

Черт. 2
Сваи сечением 35 ´ 35 см. Бетон М300

Черт. 3
Сваи сечением 35 ´ 35 см. Бетон М400

Черт. 4
Сваисечением 40 ´ 40 см. Бетон М400

Черт. 5
Сваи сечением 30 ´ 30 см. Бетон М300

Черт. 6
Сваи сечением 30 ´ 30 см. Бетон М400

Черт. 7
Сваи сечением 35 ´ 35 см. Бетон М300

Черт. 8
Сваи сечением 35 ´ 35 см. Бетон М400

Черт. 9
Сваи сечением 40 ´ 40 см. Бетон М400

Черт. 10
Сваи сечением 40 ´ 40 см. Бетон М400

Черт. 11
Сваи сечением 40 ´ 40 см. Бетон М400

Черт. 12
Сваи сечением 30 ´ 30 см. Бетон М350

Черт. 13
Сваи сечением 30 ´ 30 см. Бетон М400

Черт. 14
Сваи сечением 35 ´ 35 см. Бетон М350

Черт. 15
Сваи сечением 35 ´ 35 см. Бетон М400

Черт. 16
Сваи сечением 40 ´ 40 см. Бетон М400
Черт. 17