Меню
Навигация
Novatika
Первая линия

ГОСТ 17314-81* «Устройства для крепления тепловой изоляции стальных сосудов и аппаратов. Конструкции и размеры. Технические требования»

Стандарт распространяется на устройства для крепления наружной тепловой изоляции и их размещения на стальных стационарных сосудах и аппаратах с температурой вещества в объектах от минус 100 до плюс 600 град. С включительно, диаметром не менее 500 мм, с криволинейными или лоскими поверхностями, применяемые в химической, нефтехимической, нефтегазоперерабатывающей, энергетической и других отраслях промышленности. Стандарт не распространяется на устройства, применяемые для резервуаров, изготовляемых способом рулонирования, и сферических резервуаров.

Обозначение: ГОСТ 17314-81*
Название рус.: Устройства для крепления тепловой изоляции стальных сосудов и аппаратов. Конструкции и размеры. Технические требования
Статус: действующий
Заменяет собой: ГОСТ 17314-71
Дата актуализации текста: 01.10.2008
Дата добавления в базу: 01.02.2009
Дата введения в действие: 01.01.1982
Разработан: Минмонтажспецстрой СССР
Утвержден: Госстандарт СССР (16.02.1981)
Опубликован: Издательство стандартов № 1981<br>ИПК Издательство стандартов № 2005

ГОСУДАРСТВЕННЫЙ СТАНДАРТ СОЮЗА ССР

УСТРОЙСТВА ДЛЯ КРЕПЛЕНИЯ
ТЕПЛОВОЙ ИЗОЛЯЦИИ СТАЛЬНЫХ
СОСУДОВ И АППАРАТОВ

КОНСТРУКЦИЯ И РАЗМЕРЫ. ТЕХНИЧЕСКИЕ ТРЕБОВАНИЯ

ГОСТ 17314-81

ГОСУДАРСТВЕННЫЙ КОМИТЕТ СССРПО СТАНДАРТАМ
Москва

РАЗРАБОТАН Министерством монтажных и специальныхстроительных работ СССР

ИСПОЛНИТЕЛИ

С. В. Большаков, В. В. Попова (руководители темы); Н. И. Бобкова

ВНЕСЕН Министерством монтажных и специальныхстроительных работ СССР

Член Коллегии В. М. Орлов

УТВЕРЖДЕН И ВВЕДЕН В ДЕЙСТВИЕ ПостановлениемГосударственного комитета СССР по стандартам от 16 февраля 1981 г. № 782

ГОСУДАРСТВЕННЫЙ СТАНДАРТ СОЮЗА ССР

УСТРОЙСТВА ДЛЯ КРЕПЛЕНИЯ ТЕПЛОВОЙ ИЗОЛЯЦИИ
СТАЛЬНЫХ СОСУДОВ И АППАРАТОВ

Конструкция и размеры. Технические требования

Arrangements for fostening heat insulation
of steel vessels and apparatus. Construction
and dimensions. Technical requirements

ГОСТ
17314-81

Взамен
ГОСТ 17314-71

Постановлением Государственного комитета СССР постандартам от 16 февраля 1981 г. № 782 срок действия установлен

с 01.01 1982 г.

до 01.01 1987 г.

в части втулки В2 -

с 01.01 1985 г.

Изменение № 1 ГОСТ 17314-81 устройства для крепления тепловой изоляции стальных сосудов иаппаратов. Конструкция и размеры. Технические требования

Постановлением Государственного комитета СССР постандартам от 19.12.86 №4152 срок введения установлен

с 01.01.87

Изменение № 2 ГОСТ 17314-81 устройства для крепления тепловой изоляции стальных сосудов иаппаратов. Конструкция и размеры. Технические требования

Утверждено и введено в действие ПостановлениемГосударственного комитета СССР по стандартам от 23.06.89 №1969 установлен

Дата введения 01.01.87

Несоблюдение стандарта преследуется по закону

Настоящий стандартраспространяется на устройства для крепления наружной тепловой изоляции и ихразмещения на стальных стационарных сосудах и аппаратах (далее - устройства) с температуройвещества в объектах от минус 100 до плюс 600°С включительно, диаметром не менее 500 мм, скриволинейными или плоскими поверхностями, применяемые в химической,нефтехимической, нефтеперерабатывающей, энергетической и других отрасляхпромышленности.

Стандарт не распространяетсяна устройства, применяемые для резервуаров, изготовляемых способомрулонирования, и сферических резервуаров.

1. КОНСТРУКЦИЯ И РАЗМЕРЫ

1.1. Взависимости от типа изоляции и способа ее крепления устройства изготовляют втрех исполнениях:

1 - длякрепления одинарным штырем изоляции толщиной до 100 мм;

2 - длякрепления двойным штырем изоляции толщиной до 260 мм;

3 - длякрепления подвеской полносборных теплоизоляционных конструкций толщиной от 40до 120 мм.

1.2.Конструкция устройств и их применение должны соответствовать указанным на черт. 1-12 и в табл. 1.

Исполнение 1

Устройство,состоящее из скобы С1 и одинарного штыря Ш1

Черт. 1

Устройство,состоящее из скобы С2 и одинарного штыря Ш1

Черт. 2

Устройство,состоящее из втулки В1 и одинарного штыря Ш1

Черт. 3

Исполнение 2

Устройство,состоящее из скобы С1 и двойного штыря Ш2

1-скоба;2-штырь

Черт. 4

Устройство,состоящее из скобы С2 и двойного штыря Ш2

Черт. 5

Устройство,состоящее из втулки В1 и двойного штыря Ш2

Черт. 6

Исполнение 3

Устройство,состоящее из скобы С1 и подвески П1

Черт. 7

Устройство,состоящее из скобы С2 и подвески П1

Черт. 8

Устройство, состоящее извтулки В1 и подвески П1

Черт. 9

Устройство,состоящее из скобы С1 и подвески П2

Черт. 10

Устройство,состоящее из скобы С2 и подвески П2

Черт. 11

Устройство, состоящееиз втулки В1 и подвески П2

Черт. 12

Таблица 1

Обозначение устройства

Код ОКП

Применяемость

Масса, кг,
не более

Конструкция теплоизоляции и предельная толщина

Толщина теплоизоляции, мм

С1-Ш1/60

48 3437 0001

Для крепления теплоизоляции из мягких и полужестких изделий толщиной до 100 мм

До 60

0,046

С2-Ш1/60

48 3437 0002

0,053

В1-Ш1/60

48 3437 0003

0,045

С1-Ш1/100

48 3437 0005

Св. 60

0,052

С2-Ш1/100

48 3437 0006

до 100

0,059

В1-Ш1/100

48 3437 0007

включ.

0,051

С1-Ш2/50

48 3437 0008

Для крепления теплоизоляции из жестких изделий толщиной до 100 мм

До 50

0,069

С2-Ш2/50

48 3437 0009

0,076

В1-Ш2/50

48 3437 0010

0,068

С1/Ш2/100

48 3437 0013

Св. 50

до 100

0,085

С2-Ш2/100

48 3437 0014

0,092

В2-Ш2/100

48 3437 0015

0,084

С1-Ш2/160

48 3437 0016

Для крепления теплоизоляции из мягких и полужестких изделий толщиной до 260 мм

Св. 100

до 160

включ.

0,103

С2-Ш2/160

48 3437 0017

0,110

В1-Ш2/160

48 3437 0018

0,102

С1-Ш2/200

С2-Ш2/200

В1-Ш2.200

48 3437 0021

48 3437 0022

48 3437 0023

Св. 160

до 200

включ.

0,116

0,123

0,115

С1-Ш2/260

48 3437 0024

Св. 200

до 260

0,138

С2-Ш2/260

48 3437 0025

0,146

В1-Ш2/260

48 3437 0026

0,137

С1-П1

48 3437 0027

Для крепления полносборных теплоизоляционных конструкций толщиной до 120 мм

Св. 40

до 120

включ.

0,159

С2-П1

48 3437 0028

0,166

В1-П1

48 3437 0029

0,158

С1-П2

48 3437 0030

0,065

С2-П2

48 3437 0031

0,072

В1-П2

48 3437 0032

0,064

Измененная редакция, Изм. № 2

Примечание. Выбор исполнения подвески зависит от вида крепежной деталина полносборной теплоизоляционной конструкции.

Примерусловного обозначения устройства исполнения 1 со скобой С1 для крепления одинарным штырем Ш1изоляции толщиной до 60 мм:

УстройствоС1-Ш1/60 ГОСТ 17314-81

То же, с втулкой В1:

Устройство В1-Ш1/60ГОСТ 17314-81

Примерусловного обозначения устройства исполнения 2 со скобой С1 для крепления двойным штырем Ш2изоляции толщиной до 160 мм:

УстройствоС1-Ш2/160 ГОСТ 17314-81

То же, с втулкой В1:

УстройствоВ1-Ш2/160 ГОСТ 17314-81

Пример условногообозначенияустройства исполнения 3 со скобой С1 для крепления подвеской П1 полносборныхтеплоизоляционных конструкций толщиной от 40 до 120 мм:

УстройствоС1-П1 ГОСТ 17314-81

То же, с втулкой В1:

УстройствоВ1-П1 ГОСТ 17314-81

Примерусловного обозначения устройства исполнения 3 со скобой С1 для крепления подвеской П2полносборных теплоизоляционных конструкций толщиной от 40 до 120 мм:

УстройствоС1-П2 ГОСТ 17314-81

То же, с втулкой В1:

УстройствоВ1-П2 ГОСТ 17314-81

1.3. Дляустройств в исполнении 1 (черт. 2), исполнении 2 (черт. 6) и исполнении 3 (черт. 9 и 12) допускается применять укороченную втулку, привариваемую способом электрической дугоконтактной сварки (см. примечание к черт. 15) и п. 2.3.

Измененная редакция, Изм. № 2

1.4.Устройства для крепления наружной тепловойизоляции состоят из приварных и съемных деталей, являющихся частью аппарата.

Конструкция, размеры и массаприварных деталей должны соответствоватьуказанным на черт. 13-15 и в табл. 2, а съемных деталей -на черт. 16-19 и в табл. 3 и 4.

Измененная редакция, Изм. № 2

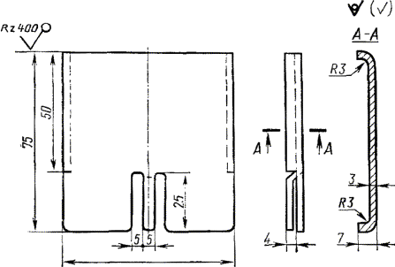
Скоба С1

Черт. 13

Измененная редакция, Изм. № 2

Скоба С2

Черт. 14

Измененная редакция, Изм. № 2

Таблица 2

Обозначение скобы

Длина развертки, мм, не более

Масса, кг, не более

С1

31

0,018

С2

45

0,026

Примерусловного обозначения скобы С1:

Скоба С1 ГОСТ17314-81

То же, С2:

Скоба С2 ГОСТ 17314-81

ВтулкаВ1

Масса- не более 0,017 кг

Черт. 15

Измененная редакция, Изм. № 2

Примерусловного обозначения втулки В1:

Втулка В 1 ГОСТ17314-81

Примечание.Допускается применять укороченную втулку (В2) длиной не менее 14 мм (без изменения остальных размеров).

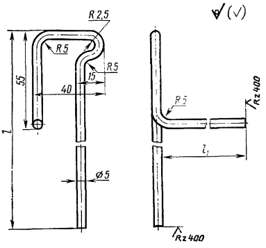
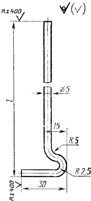
Одинарныйштырь Ш1

Черт. 16

Измененнаяредакция, Изм. № 2

Таблица 3

Размеры в мм

Обозначение штыря

l

Длина развертки, не более

Масса, кг, не более

Ш1/60

Ш1/100

140

180

170

210

0,026

0,032

Измененная редакция, Изм. № 2

Примерусловного обозначения одинарного штыря Ш1 дляизоляции толщиной до 60 мм:

Штырь Ш1/60ГОСТ 17314-81

Двойной штырьШ2

Черт. 17

Измененная редакция, Изм. № 2

Таблица 4

Размеры в мм

Обозначение штыря

l

l1

Длина развертки, не более

Масса, кг, не более

Ш2/50

140

90

311

0,048

Ш2/100

190

140

411

0,063

Ш2/160

250

200

531

0,082

Ш2/200

290

240

611

0,094

Ш2/260

350

300

731

0,113

Измененная редакция, Изм. № 1, 2

Примерусловного обозначения двойного штыря Ш2 для изоляции толщиной до 50 мм:

Штырь Ш2/50ГОСТ 17314-81

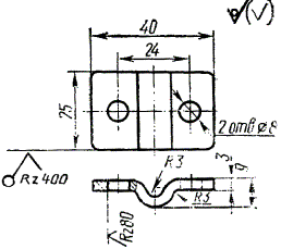
Подвеска П1

Длина развертки - неболее 79 мм.

Масса- не более 0,141 кг.

Черт. 18

Измененная редакция, Изм. № 2

Подвеска П2

Масса- не более 0,047 кг

Черт. 19

Измененная редакция, Изм. № 2

Примерусловного обозначения подвески П 1:

Подвеска П1ГОСТ 17314-81

То же, П2:

Подвеска П2 ГОСТ 17314-81

2. ТЕХНИЧЕСКИЕ ТРЕБОВАНИЯ

2.1.Устройства следует изготовлять в соответствии с требованиями настоящегостандарта по рабочим чертежам, утвержденным в установленном порядке.

Скобы и втулки приваривают кповерхности сосудов и аппаратов на предприятии - изготовителе оборудования.Съемные детали устанавливают во время монтажа тепловой изоляции.

2.2.Материал приварных деталей выбирают в зависимости от материала корпусов сосудови аппаратов, к которым их приваривают. Материал съемных деталей: одинарныйштырь, двойной штырь - стальная низкоуглеродистая проволока общего назначения5-0-4 по ГОСТ 3282-74 ; материал подвески - сталь марки Ст 3 по ГОСТ 380-71.

При наличии специальныхтребований защитные покрытия съемных деталей выбирают по ГОСТ9.303.-84.

Допускается на корпусы судови аппаратов из аустенитной стали приваривать детали из углеродистой стали.

Измененная редакция, Изм. № 1, 2

2.3.Сварной шов привариваемых втулок должен выдерживать усилие на срез не менее1200 Н.

2.4. Наприварных и съемных деталях не должно быть острых кромок и расслоений металла.Торцы приварных и съемных деталей должны быть под углом 90° к оси детали.

На приварных и съемныхдеталях не допускаются следы обработки и вмятины, выходящие за пределы отклонений,установленных стандартами на соответствующий сортамент.

2.5.Предельные отклонения длины съемных деталей - по классу «очень грубый» ГОСТ25670-83, остальные размеры - по ГОСТ 25347-82.

Измененная редакция, Изм. № 1

2.6. Предельныеотклонения размеров приварных деталей - по ГОСТ 25347-82.

Измененная редакция, Изм. № 1

2.7.Места размещения приварных деталей на корпусах сосудов и аппаратов должнысоответствовать указанным на рабочих чертежах. Порядок размещения приварныхдеталей дан в обязательном приложении 1.

Допуск перпендикулярности -предельное отклонение оси приварной детали на вертикальных аппаратах от вертикали,на горизонтальных аппаратах от горизонтали (перекос) - 2 мм на полной длинедетали. Предельное смещение осей приварных деталей от вертикали и горизонтали -2 мм.

Примечание. На устройствах для строповки аппаратов (монтажныхштуцерах и др.) устанавливать приварные детали не допускается.

2.8.Приварные детали внутри опорных обечаек сосудов и аппаратов размещают, отступивот шва приварки обечайки к корпусу сосуда (аппарата), на расстоянии, указанномв обязательном приложении 1, черт. 1.

2.9. Припопадании приварной детали на сварной шов корпуса сосуда или аппарата допускаетсяизменять шаг приварки детали, смещая от края сварного шва на расстояние, равноетолщине стенки сосуда или аппарата. В этом случае расстояние между приварнымидеталями, расположенными по обе стороны от смещенной детали, должно быть равносумме двух заданных шагов.

2.10. Недопускается увеличивать шаг замыкающего звена приварных деталей более чем на0,3 шага.

2.11.При изоляции отдельных частей сосудов и аппаратов допускается размещатьприварные детали только на поверхности, подлежащей изоляции.

2.12. Видыкрепления изоляции даны в справочном приложении 2.

2.13.Правила приемки съемных деталей - по ГОСТ 17769-83 для изделий грубойточности.

Измененная редакция, Изм. № 1

2.14.Упаковка съемных деталей и маркировка тары - по ГОСТ 18160-72 .

2.15.Для кантовки аппаратов на роликовых опорах допускается в двух местахустанавливать приварные детали на расстоянии до 1000 мм по длине аппарата.

Измененная редакция, Изм. № 2

ПРИЛОЖЕНИЕ 1
Обязательное

УКАЗАНИЯ ПОРАЗМЕЩЕНИЮ ПРИВАРНЫХ ДЕТАЛЕЙ
НА СОСУДАХ И АППАРАТАХ

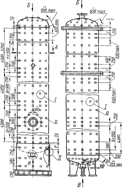
1.Приварные детали на сосудах и аппаратах размещают:

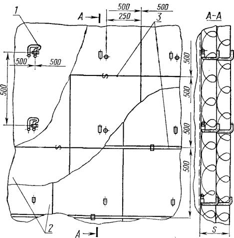
а) на вертикальных объектах:в вертикальном и горизонтальном направлениях с шагом 500 мм, отступив отанкерных болтов фланцевых соединений или сварных соединений либо сварных швов,соединяющих днища (крышки) и корпуса сосудов и аппаратов, на расстояния,указанные на черт. 1-3;

б) на горизонтальныхобъектах: в горизонтальном направлении с шагом 500 мм, отступив от фланцевыхсоединений или сварных швов, соединяющих днища (крышки) и корпуса сосудов иаппаратов, на расстояния, указанные на черт. 4 и 5;

в вертикальном направлении:на верхней половине объекта с шагом 500 мм; на нижней половине объекта с шагом250 мм. Отсчет шага ведут от плоскости горизонтального диаметра;

в) на днищах и крышках - в соответствиис черт. 3, 5 и 6 (наконических днищах и крышках по примеру черт. 3 и 5);

г) на опорах аппаратов сшагом 500 мм - в соответствии с черт. 1, 2, 4 и 5.

Для устройства с подвескамидопускается по согласованию между изготовителем и потребителем изменить шагприварки размещения приварных деталей на значение, кратное 500 мм.

l - длина болта плюс50 мм; а - приварная деталь

Р, мм

200

330

400

600

800

1060

1100

1200

Диаметр аппарата,
мм

До 1000

От 1000
до 2000 включ.

До 3000

До 4000

До 6000

До 8000

До 10000

До 12000

Черт. 1

l - длина болта плюс50 мм; а - приварная деталь

Черт. 2

а - приварная деталь

Черт. 3

l - длина болта плюс 20 мм;а - приварная деталь

Черт. 4

а - приварная деталь

Черт. 5

а - приварная деталь

Черт. 6

ПРИЛОЖЕНИЕ 2
Справочное

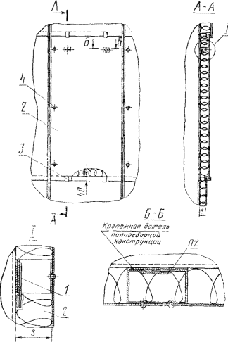
ВИДЫ КРЕПЛЕНИЯТЕПЛОВОЙ ИЗОЛЯЦИИ

1.Тепловую изоляцию в виде изделия из мягких или полужестких волокнистыхматериалов (минеральной ваты, ваты из стеклянного волокна, асбеста) на связках илив обкладках при толщине слоя до 100 мм крепят устройством исполнения 1 (черт. 1); при толщине слоя св. 100до 260 мм ключ. - устройством исполнения 2 (черт. 4).

2.Тепловую изоляцию в виде изделия из жестких материалов в один и два слоя (плит,сегментов и др.) крепят устройством исполнения 2 (черт. 2 и 3).

3.Тепловую изоляцию в виде изделия из полносборных теплоизоляционных конструкцийкрепят устройством исполнения 3 (черт. 5 и 6).

Исполнение 1

(однослойная изоляция)

1- устройство для крепления изоляции со штырем Ш1;

2 - теплоизоляционный слой; 3 - бандаж или кольцо

Черт. 1

Исполнение 2

(однослойная изоляция)

1 - устройство для крепления изоляции соштырем Ш2;

2 - теплоизоляционный слой; 3 - бандаж или кольцо;

4 - стяжка

Черт. 2

Исполнение 2

(двухслойная изоляция)

1 - устройство для крепления изоляции соштырем Ш2;

2 - теплоизоляционный слой; 3 - бандаж или кольцо; 4 - стяжка

Черт. 3

Исполнение 2

(двухслойная изоляция)

1 - устройство для крепления изоляции соштырем Ш2;

2 - теплоизоляционный слой; 3 - бандаж или кольцо

Черт. 4

Исполнение 3

(с подвеской П1)

1 - устройство для крепления изоляции; 2 - полносборная конструкция
с подвеской П1; 3 - винт длякрепления элементов полносборных конструкций

Черт. 5

Исполнение 3

(с подвеской П2)

1 - устройство для крепления изоляции сподвеской П2;

2 - полносборная конструкция; 3 - скоба для крепления элементов
полносборных конструкций; 4 - винтдля крепления элементов
полносборных конструкций

Черт. 6

СОДЕРЖАНИЕ