1. Настоящий стандарт распространяется на плиты, предназначенные для скальчатых портальных кондукторов с конусным и пневматическим зажимами.
| Обозначение: | ГОСТ 16893-71* |
| Название рус.: | Плиты к скальчатым портальным кондукторам. Конструкция |
| Статус: | действующий |
| Заменяет собой: | МН 3240-62 МН 3239-62 |
| Дата актуализации текста: | 01.10.2008 |
| Дата добавления в базу: | 01.02.2009 |
| Дата введения в действие: | 01.07.1972 |
| Разработан: | Министерство станкостроительной и инструментальной промышленности СССР |
| Утвержден: | Госстандарт СССР (13.04.1971) |
| Опубликован: | ИПК Издательство стандартов № 1999 |
ГОСТ 16893-71
| МЕЖГОСУДАРСТВЕННЫЙ СТАНДАРТ |
ПЛИТЫ К СКАЛЬЧАТЫМ ПОРТАЛЬНЫМ КОНДУКТОРАМ
КОНСТРУКЦИЯ
ИПК ИЗДАТЕЛЬСТВО СТАНДАРТОВ
Москва
МЕЖГОСУДАРСТВЕННЫЙ СТАНДАРТ
| ПЛИТЫ К СКАЛЬЧАТЫМ ПОРТАЛЬНЫМ КОНДУКТОРАМ Конструкция Plates for portal rack-and pinion-operated jigs. Design | ГОСТ |
Дата введения 01.07.72
1. Настоящий стандартраспространяется на плиты, предназначенные для скальчатых портальныхкондукторов с конусным и пневматическим зажимами.
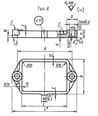
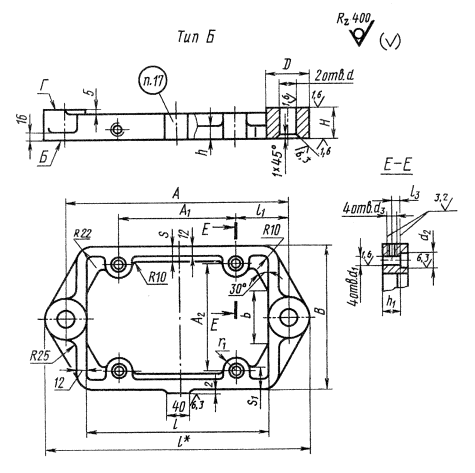
2. Плиты должны изготовляться двухтипов:
А - без отверстий подустановочные пальцы;
Б - с отверстиями подустановочные пальцы.
3. Конструкция и размеры плитдолжны соответствовать указанным на черт. 1,2 и в табл. 1, 2.

* Размер для справок.
Примечание.Параметр шероховатости поверхности Е под кондукторные втулки с буртиком Ra 0,8 мкм.
Размеры, мм
| Обозначения плит | Применяемость | А (пред. откл. ± 0,01) | В | Н | L | D | d (поле допуска H7) | h | l | Масса, кг ≈ |
| 7030-1211 |
| 250 | 160 | 36 | 310 | 60 | 25 | 22 | 190 | 7,08 |
| 7030-1212 |
| 320 | 180 | 50 | 390 | 70 | 32 | 28 | 250 | 12,66 |
| 7030-1213 |
| 400 | 250 | 470 | 330 | 20,38 | ||||
| 7030-1214 |
| 500 | 320 | 570 | 36 | 430 | 42,05 |
Примерусловного обозначения плиты размером А = 250 мм:
Плита 7030-1211 ГОСТ 16893-71

* Размер для справок.
Размеры, мм
| Обозначение плит | Применяемость | А (пред. откл. ± 0,01 | А1 | А2 | B | H | L | b | D | d | d1 | d2 | d3 | h | h1 | l | l1 | l2 | r1 | s | s1 | Масса, кг ≈ | |
| Пред. откл. ± 0,02 | Поле допуска H7 | ||||||||||||||||||||||
| 7030-1221 |
| 250 | 125 | 105 | 160 | 36 | 310 | 60 | 60 | 25 | 10 | 18 | М6 | 16 | 20 | 190 | 60 | 9 | 16 | 20 | 32 | 4,350 | |
| 7030-1222 |
| 320 | 160 | 125 | 180 | 50 | 390 | 70 | 70 | 32 | 12 | M8 | 20 | 26 | 250 | 80 | 12 | 20 | 25 | 7,630 | |||
| 7030-1223 |
| 400 | 210 | 180 | 250 | 470 | 90 | 16 | 22 | M10 | 330 | 95 | 40 | 9,410 | |||||||||
| 7030-1224 |
| 500 | 280 | 250 | 320 | 570 | 110 | 20 | 28 | M12 | 430 | 110 | 25 | 45 | 14,950 | ||||||||
Примерусловного обозначения плиты размером А = 250 мм:
Плита 7030-1221 ГОСТ 16893-71
4. Материалдля плит типа А - чугун марки СЧ 30 по ГОСТ 1412.
Допускается заменять на чугун другихмарок с механическими свойствами не ниже, чем у чугуна марки СЧ 30.
Материал для плит типа Б - отливка 45Л-1 по ГОСТ 977.
3, 4. (Измененная редакция, Изм. № 1,2).
5. Неуказанные литейные радиусы- 4...6 мм.
6.Формовочные уклоны - по ГОСТ3212.
7.Предельные отклонения на отливку для плит типов А и Б по размерам и массе иприпуски на механическую обработку - по III классу точности ГОСТ26645.
8. Отливки подвергнутьстарению.
9. Покрытиемеханически необработанных поверхностей - эмаль ХВ-124 голубовато-зеленая ГОСТ 10144,Ш.УХЛ. 6/1 (обозначение покрытия по ГОСТ9.032).
(Измененная редакция, Изм. № 2).
10. Неуказанные предельныеотклонения размеров: Н14, hl4,
.
(Измененная редакция, Изм. № 1, 2).
11. Допуск плоскостностиповерхности Б - 0,02 мм на длине 100 мм. Выпуклость - не допускается.
12. Допуск параллельностиповерхности Г относительно поверхности Б - 0,02 мм на длине 100 мм.
13. В плитах типа А допускперпендикулярности осей отверстий d относительноповерхности Б - 0,02 мм на длине 100 мм.
14. В плитах типа Б допускперпендикулярности осей отверстий d и d1 относительно поверхности Б - 0,02 мм на длине 100 мм.
15. Резьбаметрическая - по ГОСТ24705. Поле допуска резьбы - 6Н по ГОСТ16093.
11-15. (Измененнаяредакция, Изм. № 2).
16. Фаскипод резьбу - по ГОСТ 10549.
17. Маркировать: обозначенияплиты и настоящего стандарта.
(Измененная редакция, Изм.№ 2).
18.(Исключен, Изм. № 2).
ИНФОРМАЦИОННЫЕДАННЫЕ
1. РАЗРАБОТАН И ВНЕСЕН Министерствомстанкостроительной и инструментальной промышленности СССР
РАЗРАБОТЧИКИ
А.З. Старосельский (руководитель темы), В.В.Андреев, В.А. Петрова, В.Д. Поляков, Л.Б. Смирнов, Т.А. Шестакова
2. УТВЕРЖДЕН И ВВЕДЕН ВДЕЙСТВИЕ Постановлением Государственного комитета стандартов Совета МинистровСССР от 13.04.71 № 729
3. ВЗАМЕН МН 3239-62, МН 3240-62
4. ССЫЛОЧНЫЕ НОРМАТИВНО-ТЕХНИЧЕСКИЕ ДОКУМЕНТЫ
| Обозначение НТД, на который дана ссылка | Номер пункта | Обозначение НТД, на который дана ссылка | Номер пункта |
| ГОСТ 9.032-74 | ГОСТ 10549-80 | ||
| ГОСТ 977-88 | ГОСТ 16093-81 | ||
| ГОСТ 1412-85 | ГОСТ 24705-81 | ||
| ГОСТ 3212-92 | ГОСТ 26645-85 | ||
| ГОСТ 10144-89 |
|
|
5. Ограничение срока действия снято ПостановлениемГосстандарта СССР от 21.02.89 № 279
6. ПЕРЕИЗДАНИЕ (сентябрь 1999г.) с Изменениями № 1, 2, утвержденными в июне 1980 г., феврале 1989 г. (ИУС8-80, 5-89)