Настоящий стандарт распространяется на древесину и устанавливает метод определения предела ее прочности при скалывании поперек волокон в тангентальном и радиальном направлениях.
| Обозначение: | ГОСТ 16483.12-72* |
| Название рус.: | Древесина. Метод определения предела прочности при скалывании поперек волокон |
| Статус: | действующий |
| Заменяет собой: | ГОСТ 11496-65 «Древесина. Методы определения предела прочности при скалывании и перерезании» (в части раздела В) |
| Дата актуализации текста: | 01.01.2009 |
| Дата добавления в базу: | 29.04.2009 |
| Дата введения в действие: | 01.01.1973 |
| Утвержден: | Госстандарт СССР (28.01.1972) |
| Опубликован: | Издательство стандартов № 1986 |
ГОСУДАРСТВЕННЫЙ СТАНДАРТ СОЮЗА ССР
| ДРЕВЕСИНА | ГОСТ 16483.12-72* |
| Wood. Method for determination | Взамен |
* Переиздание(июнь 1985 г.) с Изменением № 1, утвержденным в июне 1984 г. (ИУС 9-84).
Постановлением Государственного комитета стандартовСовета Министров СССР от 28 января 1972 г. № 324 срок введения установлен
с 01.01.73
Постановлением Госстандарта от 21.06.84 № 2006срок действия продлен
до 01.01.90
Несоблюдение стандарта преследуется по закону
Настоящий стандартраспространяется на древесину и устанавливает метод определения предела еепрочности при скалывании поперек волокон в тангентальном и радиальномнаправлениях.
1.1. Испытательная машина поГОСТ 7855-74, с погрешностью измерения нагрузки не более 1 %.
1.2. Штангенциркуль по ГОСТ 166-80.
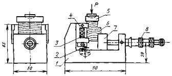
1.3. Приспособление киспытательной машине (черт. 1).

1 - корпус; 2 - пружина; 3 - подвижная планка; 4 - ролики; 5 - нажимная призма сшаровой опорой; 6 - образец; 7 -подвижная опора; 8 - микрометрический винт для прижима подвижной опоры
Черт. 1
1.4. Аппаратура и материалы дляопределения влажности древесины - по ГОСТ 16483.7-71.
2.1. Форма и размеры образцадолжны соответствовать черт. 2.

а - скалывание по тангентальной плоскости; б - скалывание порадиальной плоскости
Черт. 2
2.2. Точность изготовления,влажность и количество образцов для каждого направления действия нагрузкидолжны соответствовать требованиям ГОСТ16483.0-78.
При определении минимальногоколичества образцов коэффициент вариации предела прочности при скалываниипоперек волокон принимают равным 20 %.
3.1. Длину выступа образца l и высоту h измеряютс погрешностью не более 0,1 мм.
3.2. Образцы испытывают спомощью приспособления (см. черт. 1).Перемещением подвижной опоры 7 обеспечивают прилегание опорных граней образца ксоответствующим поверхностям приспособления. Подвижная опора должна прижиматьсяк образцу с силой, равной 5 - 9 Н (до третьего щелчка трещоткимикрометрического винта).
Нагрузку на образец передаютчерез нажимную призму 5 равномерно со скоростью 2000 ± 500 Н/мин. Допускаетсяпроводить испытания при скорости перемещения нагружающей головки испытательноймашины 4 мм/мин.
Испытание продолжают до разрушенияобразца. Максимальную нагрузку Pmax определяютс точностью до цены деления шкалы силоизмерителя.
3.3. После испытания определяютвлажность образцов в соответствии с требованиями ГОСТ 16483.7-71. Пробой дляопределения влажности является большая часть разрушенного образца. Дляопределения средней влажности испытанных образцов допускается отбирать каждыйчетвертый образец, но не меньше трех.
4.1. Предел прочности τW образца с влажностью W в момент испытания вычисляют с точностью до 0,1 МПа по формуле
![]()
где Pmax - максимальная нагрузка, Н;
h - высота выступа, мм;
l - длина выступа,мм.
4.2. Предел прочности τW образца с нормализованной влажностью пересчитывают к влажности 12% сточностью до 0,1 МПа по формуле
τ12 = τW[1 + α(W - 12)],
где τW - предел прочности образца с влажностью W в момент испытания, МПа;
α - поправочный коэффициент, равный 0,03;
W - влажность образца в момент испытания, %.
Предел прочности τW образца с влажностью, равной или большепредела насыщения клеточных стенок, пересчитывают к влажности 12 % с точностьюдо 0,1 МПа по формуле
τ12 = τW·K12,
где τW - предел прочности образца с влажностью W в момент испытания, МПа;
K12 - пересчетный коэффициент при влажности 30%, равный: 1,39 - для акации,вяза и дуба; 1,88 - для березы и ореха; 1,65 - для бука и груши, сосны кедровойи обыкновенной, ели и лиственницы; 1,76 -для граба, ивы, осины и тополя и 1,53- для клена, липы, ольхи, пихты и ясеня.
4.1,4.2. (Измененная редакция, Изм. №1).
4.3. (Исключен,Изм. № 1).
4.4. Статистическую обработкуопытных данных выполняют по ГОСТ16483.0-78.
4.5. Результаты измерений ирасчетов заносят в протокол испытаний (см. приложение).
| Порода____________________________ | Температура воздуха t, °С______________ |
| Плоскость скалывания_____________________________ | |
| Степень насыщенности влагой воздуха φ, % ____________________________ | |
| Скорость нагружения: | |
| Н/мин_____________________ | |
| мм/мин___________________ | |
| Маркировка образца | Размеры выступа образца, мм | Максимальная нагрузка Pmax Н | Влажность W, % | Предел прочности МПа | Примечание | ||
| длина l | толщина h | τW | τ12 | ||||
|
|
|
|
|
|
|
|
|
| «_____»_________________19_____ | Подпись_________________________ |
(Измененная редакция, Изм. № 1).