Меню
Навигация
Первая линия
Novatika

ГОСТ 15136-78* «Изделия огнеупорные. Метод измерения глубины отбитости углов и ребер»

Настоящий стандарт устанавливает метод измерения глубины отбитости наружных углов и ребер огнеупорных изделий с прямыми, острыми двухгранными или трехгранными углами и внешних кромок изделий формы тел вращения с прямыми и острыми углами между торцовой поверхностью и касательной к боковой поверхности.

Обозначение: ГОСТ 15136-78*
Название рус.: Изделия огнеупорные. Метод измерения глубины отбитости углов и ребер
Статус: действующий
Заменяет собой: ГОСТ 15136-69
Дата актуализации текста: 01.10.2008
Дата добавления в базу: 01.02.2009
Дата введения в действие: 01.01.1981
Разработан: Министерство черной металлургии СССР
Утвержден: Госстандарт СССР (18.12.1978)
Опубликован: ИПК Издательство стандартов № 2004

НАЦИОНАЛЬНЫЕСТАНДАРТЫ

ИЗДЕЛИЯ ОГНЕУПОРНЫЕ

Методыиспытаний

Часть 2

ИЗДЕЛИЯОГНЕУПОРНЫЕ

Методизмерения глубины отбитости углов и ребер

ГОСТ 15136-78

Москва

ИПК ИЗДАТЕЛЬСТВО СТАНДАРТОВ

2004

ОТ ИЗДАТЕЛЬСТВА

Сборник«Изделия огнеупорные. Методы испытаний. Часть 2» содержит стандарты,утвержденные до 1 августа 2004 г.

Встандарты внесены изменения, принятые до указанного срока.

Текущая информация о вновь утвержденных и пересмотренных стандартах, атакже о принятых к ним изменениях публикуется в ежемесячном информационномуказателе «Национальные стандарты»

МЕЖГОСУДАРСТВЕННЫЙСТАНДАРТ

ИЗДЕЛИЯ ОГНЕУПОРНЫЕ

Метод измерения глубины отбитости углов и ребер

Refractory articles.

Method of damage depth measuring of angles and rihs

ГОСТ
15136-78

Дата введения 01.01.81

Настоящийстандарт устанавливает метод измерения глубины отбитости наружных углов и реберогнеупорных изделий с прямыми, острыми двухгранными или трехгранными углами ивнешних кромок изделий формы тел вращения с прямыми и острыми углами междуторцовой поверхностью и касательной к боковой поверхности.

Глубинуотбитости определяют как длину отрезка от вершины углов до основания отбитогоучастка изделия.

Стандартне распространяется на огнеупорные изделия разного назначения массой не более 2кг.

(Измененная редакция, Изм. №2).

1.АППАРАТУРА

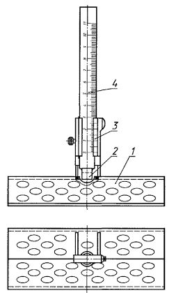
1.1. Приспособление универсальное (тип 1) - дляизмерения глубины отбитости углов, ребер и кромок, не превышающей 20 мм (черт. 1).

Основнойизмерительный элемент универсального приспособления - индикатор часового типаИЧ 10 класса 1 по ГОСТ577, смонтирован на универсальном фиксирующем устройстве.

Приспособлениеиспользуется со съемными наконечниками диаметрами 1 и 3 мм. Съемный наконечникдиаметром 1 мм используется для измерения глубины отбитости в диапазоне от 0 до2 мм. Съемный наконечник диаметром 3 мм используется для измерения глубиныотбитости в диапазоне от 2 до 20 мм.

Дополнительнымизмерительным элементом является линейка по ГОСТ 427 .

Допускаетсяприменение универсального приспособления с индикатором часового типа ИЧ-25класса 1 по ГОСТ577 с соответствующим изменением конструкции прибора, связанным сувеличением диаметра головки индикатора.

1 - базовая плата; 2- опорный фиксатор; 3 - съемный наконечник; 4 - индикатор;5 - откидная планка; 6 - стержень измерителя; 7 - линейка;8 - основание платы

Черт. 1

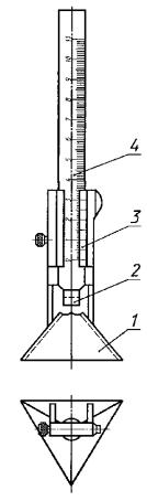
1.2. Приспособления упрощенной конструкции типов II и III (черт. 2 и 3) - дляизмерения глубины отбитости углов и ребер свыше 2 до 80 мм на изделиях сдвугранными и трехгранными (прямыми и острыми) углами.

Измерительныйэлемент приспособлений - штанга с нониусной шкалой штангенциркуля типаШЦТ-1-125-0,1 по ГОСТ166, смонтирован на жестком основании.

1 - основание; 2 -наконечник; 3 - нониус; 4 - измерительный стержень

Черт. 2

1 - основание; 2 -наконечник; 3 - нониус; 4 - измерительный стержень

Черт. 3

Примечание. Черт. 1 - 3конструкции приспособлений не определяют.

Приспособленияизготавливают с наконечниками диаметром 3 и 10 мм. Наконечники диаметром 3 ммприменяются при измерении глубины отбитости углов и ребер свыше 2 до 20 мм наобожженных и безобжиговых изделиях нормальных размеров и фасонных; наконечникидиаметром 10 мм применяются при измерении глубины отбитости углов и ребер свыше2 до 80 мм на бетонных блоках.

Взависимости от объекта измерения применяются приспособления типа:

II - для измерения глубины отбитости углов (черт. 2);

III - для измерения глубины отбитости ребер (черт. 3).

1.1, 1.2. (Измененная редакция, Изм. №1, 2).

1.3. (Исключен, Изм. № 1).

2.ПОДГОТОВКА К ИЗМЕРЕНИЮ

2.1. Перед проведением измерения универсальнымприспособлением устанавливают правильное положение нулевой точки индикатора.Для этого приспособление устанавливают на металлический шаблон любого размератаким образом, чтобы плоскости базовой платы и опорного фиксатора (приустановке на угол) или плоскости базовой платы и ее основания (при установке наребро) совпадали с плоскостями шаблона, затем нажимают на стержень измерителядо соприкосновения наконечника с вершиной угла шаблона и перемещают подвижнуюшкалу индикатора до тех пор, пока стрелка не окажется против нулевого положенияшкалы.

2.2. Перед проведением измерения приспособлениемупрощенной конструкции устанавливают правильное положение нулевой точки. Дляэтого приспособление устанавливают на металлический шаблон любого размера такимобразом, чтобы плоскости основания приспособления совпадали с плоскостямишаблона, передвигают измерительный стержень до соприкосновения наконечника свершиной угла шаблона и по нониусу определяют поправку измерения.

2.1, 2.2. (Измененная редакция, Изм. №1).

3.ПРОВЕДЕНИЕ ИЗМЕРЕНИЯ

3.1. Измерение универсальным приспособлением

3.1.1. Для измерения глубины отбитости углов или реберприспособление устанавливают на поврежденное место с наибольшей глубинойотбитости. При нажатии на стержень измерителя до упора наконечник стержняопустится в углубление, образуемое отбитостью, а стрелка индикатора покажетзначение глубины отбитости. Показания индикатора отсчитывают по шкале иокругляют до десятых долей миллиметра.

(Измененная редакция, Изм. №1).

3.1.2. При использовании индикатора ИЧ-10 для измеренияглубины отбитости более 10 мм индикатор перемещают вниз по откидной планке сфиксацией через 10 мм. Измерение ведут как указано в п. 3.1.1 и кпоказаниям индикатора прибавляют 10 мм.

3.1.3. При измерении глубины отбитости углов опорныйфиксатор приспособления должен быть опущен в прорези базовой платы.

Приизмерении глубины отбитости трехгранных углов изделий, имеющих при вершине трипрямых плоских угла, приспособление плотно прикладывают к трехгранному углуизделия так, чтобы один из прямых плоских углов совпал с поверхностью платы.

Приизмерении глубины отбитости углов прямых, клиновых и фасонных изделий, имеющихпри вершине трехгранного угла один или два прямых плоских угла и один или дваплоских острых угла, приспособление плотно прикладывают к трехгранному углуизделия так, чтобы прямой плоский угол совпал с поверхностью платы.

3.1.4. При измерении глубины отбитости ребер опорныйфиксатор приспособления должен быть выведен из прорезей платы.

Приизмерении глубины отбитости ребер прямых, клиновых и фасонных изделий, имеющихпрямой или острый двугранный угол, приспособление плотно прикладывают к ребрутак, чтобы двугранный угол изделия совпал с двугранным углом, образованнымплатой и ее основанием.

Допускаетсяизмерение отбитости ребер изделий, имеющих тупой двугранный угол, в том случае,если наконечник измерителя при проведении измерений попадает в вершинудвугранного угла. В этом случае приспособление плотно прикладывают поверхностьюплаты к грани изделия до соприкосновения с основанием платы таким образом,чтобы наконечник измерителя находился против неповрежденного участка ребра,после чего нажимают на стержень измерителя и определяют значение поправки назазор между изделием и наконечником стержня измерителя.

Приспособлениеперемещают к наиболее глубокому месту отбитости, проводят измерение и уменьшаютпоказание индикатора на значение поправки.

3.1.2 - 3.1.4. (Измененнаяредакция, Изм. № 2).

3.1.5. При измерении глубины отбитости кромок изделий,имеющих форму тел вращения, опорный фиксатор выводят из прорезей платы,приспособление плотно прикладывают к поврежденной кромке изделия так, чтобыбазовая плата была прижата к цилиндрической поверхности, при этом вертикальнаяось симметрии платы должна совпадать с образующей этой поверхности.

(Измененная редакция, Изм. №1).

3.2. Измерение приспособлением упрощенной конструкции

3.2.1. Для измерения глубины отбитости углов или реберприспособление устанавливают на объект таким образом, чтобы плоскости егооснования плотно соприкасались с плоскими гранями измеряемого угла или ребра.Измерительный стержень передвигают до упора наконечника в углубление,образуемое отбитостью. Отсчет ведут по шкале нониуса. Из показания шкалывычитают поправку на нулевую точку, результат выражают с точностью до 0,1 мм.

3.2.2. При измерении глубины отбитости трехгранных угловизделий, имеющих при вершине три прямых плоских угла, приспособление плотноприкладывают к трехгранному углу изделия так, чтобы три прямых плоских угласовпали с трехгранным углом основания.

Приизмерении глубины отбитости углов прямых, клиновых и фасонных изделий, имеющихпри вершине трехгранного угла один или два прямых плоских угла и два или одинплоский острый угол, приспособление плотно прикладывают к трехгранному углуизделия так, чтобы прямой плоский угол изделия совпал с одним прямым плоскимуглом основания приспособления.

3.2.3. При измерении глубины отбитости ребер на прямыхдвугранных углах изделий приспособление плотно прикладывают к ребру так, чтобыдвугранный угол изделия совпал с прямым двугранным углом основанияприспособления.

Приизмерении глубины отбитости ребер острых двугранных углов изделий,приспособление прикладывают к ребру так, чтобы поверхность одной граниоснования совпала с гранью изделия.

4.ОБРАБОТКА РЕЗУЛЬТАТОВ

4.1. Для определения глубины отбитости угла или ребра икромок изделия проводят два параллельных измерения. Среднее арифметическоепараллельных измерений принимается за результат определения.

(Измененная редакция, Изм. №1).

4.2. Относительная погрешность метода измерения глубиныотбитости угла или ребра и кромок не превышает:

приизмерении универсальным приспособлением:

приглубине отбитости от 2 включ. - 1 % от верхнего предела;

приизмерении приспособлениями упрощенной конструкции:

приглубине отбитости от 2 до 5 мм включ. - 10 %;

приглубине отбитости св. 5 мм - 5 %.

(Измененная редакция, Изм. №1, 2).

4.3. Результаты фактических измерений глубины отбитостиугла или ребра изделий округляют до целых чисел по СТ СЭВ 543-77.

(Введендополнительно, Изм. № 1).

ИНФОРМАЦИОННЫЕ ДАННЫЕ

1. РАЗРАБОТАН И ВНЕСЕН Министерством черной металлургии СССР

РАЗРАБОТЧИКИ

Л.И. Узберг,Г.И. Исаев, Е.И. Чукреева, Г.Н. Плотников, Ю.А. Ткаченко

2. УТВЕРЖДЕНИ ВВЕДЕН В ДЕЙСТВИЕ Постановлением Государственного Комитета СССР по стандартамот 18.12.78 № 3348

3. ВЗАМЕНГОСТ 15136-69

4. ССЫЛОЧНЫЕНОРМАТИВНО-ТЕХНИЧЕСКИЕ ДОКУМЕНТЫ

Обозначение НТД, на который дана ссылка

Номер пункта

ГОСТ 166-89

1.2

ГОСТ 427-75

1.1

ГОСТ 577-68

1.1

5. Ограничение срока действия снято по протоколу № 7-95Межгосударственного совета по стандартизации, метрологии и сертификации (ИУС 11-95)

6. ИЗДАНИЕ с Изменениями № 1, 2, утвержденными в августе 1982 г., апреле1990 г. (ИУС 12-82, 8-90)

СОДЕРЖАНИЕ