Меню по разделу
+
| Обозначение: | ГОСТ 12481-67* |
| Название рус.: | Опоры регулируемые с шаровой головкой. Конструкция |
| Статус: | действующий |
| Заменяет собой: | МН 5420-64 |
| Дата актуализации текста: | 01.10.2008 |
| Дата добавления в базу: | 01.02.2009 |
| Дата введения в действие: | 01.07.1967 |
| Разработан: | Министерство станкостроительной и инструментальной промышленности СССР Министерство тяжелого , энергетического и транспортного машиностроения СССР |
| Утвержден: | Госстандарт СССР (03.03.1967) |
| Опубликован: | ИПК Издательство стандартов № 2000 |
МЕЖГОСУДАРСТВЕННЫЙ СТАНДАРТ
| ОПОРЫ РЕГУЛИРУЕМЫЕ С ШАРОВОЙ ГОЛОВКОЙ Конструкция Adjustable stays with ball headed. Design | ГОСТ 12481-67 |
Дата введения 01.07.67
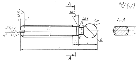
1. Конструкция и размеры регулируемых опор с шаровойголовкой должны соответствовать чертежу и таблице.

Размеры, мм
| Обозначения опор | Применяемость | d | L | D по h11 | d 1 | l | l1 | S h13 | d | h | Масса, кг |
| 7035-0151 |
| М6 | 40 | 8 | 4 | 10 | 4 | 4,0 | 1,0 | 2,0 | 0,009 |
| 7035-0152 |
| 50 | 0,011 | ||||||||
| 7035-0153 |
| 60 | 0,013 | ||||||||
| 7035-0154 |
| М8 | 50 | 10 | 6 | 14 | 5,5 | 1,2 | 2,5 | 0,018 | |
| 7035-0155 |
| 60 | 0,022 | ||||||||
| 7035-0156 |
| 80 | 0,034 | ||||||||
| 7035-0157 |
| М10 | 60 | 12 | 7 | 16 | 6 | 8,0 | 1,6 | 3,0 | 0,034 |
| 7035-0158 |
| 80 | 0,046 | ||||||||
| 7035-0159 |
| 100 | 0,058 | ||||||||
| 7035-0160 |
| М12 | 80 | 16 | 9 | 20 | 6 | 10,0 | 2,0 | 3,5 | 0,110 |
| 7035-0161 |
| 100 | 0,143 | ||||||||
| 7035-0162 |
| 125 | 0,182 | ||||||||
| 7035-0163 |
| М16 | 100 | 20 | 12 | 22 | 14,0 | 0,140 | |||
| 7035-0164 |
| 125 | 0,287 | ||||||||
| 7035-0165 |
| 160 | 0,373 |
Пример условного обозначения регулируемой опоры с шаровой головкой размерами d = М6; L = 40 мм:
Опора 7035-0151 ГОСТ 12481-67
(Измененная редакция, Изм. № 1, 2).
2. Материал - сталь марки 45по ГОСТ1050. Допускается замена на стали других марок с механическими свойствамине ниже, чем у стали марки 45.
3. Твердость головки - 41,5... 46,5 HRCэ.
4. Неуказанные предельныеотклонения размеров: Н14, h14, ± ![]()
5. Резьба метрическая - по ГОСТ24705. Поле допуска резьбы - 6g по ГОСТ16093.
3-5. (Измененная редакция,Изм. № 2).
6. Размер фасок для резьбы -по ГОСТ10549.
(Измененная редакция, Изм.№ 1).
7. (Исключен,Изм. № 1).
8. Покрытие - Хим. Окс. прм(обозначение покрытия - по ГОСТ9.306).
9. Маркировать партию деталейодного типоразмера на таре или упаковке с указанием условного обозначения.
8,9. (Измененная редакция, Изм. № 2).
11. Пример применения регулируемых опоруказан в приложении.
(Введен дополнительно, Изм. № 2).

ИНФОРМАЦИОННЫЕ ДАННЫЕ
1. РАЗРАБОТАН И ВНЕСЕН Министерством тяжелого,энергетического и транспортного машиностроения СССР
Министерством станкостроительной и инструментальнойпромышленности СССР
РАЗРАБОТЧИКИ
В.В.Андреев; В.Н. Дзегиленок, канд. техн. наук; В.А. Петрова; К.И. Сокольский; А.З. Старосельский (руководитель темы); А.В.Хренова; Т.А. Шестакова
2. УТВЕРЖДЕН И ВВЕДЕН В ДЕЙСТВИЕ ПостановлениемКомитета стандартов, мер и измерительных приборов при Совете Министров СССР от03.03.67 № 57
3. Взамен МН 5420-64
4. ССЫЛОЧНЫЕ НОРМАТИВНО-ТЕХНИЧЕСКИЕ ДОКУМЕНТЫ
| Обозначение НТД, на который дана ссылка | Номер пункта |
| ГОСТ 9.306-85 ГОСТ 1050-88 ГОСТ 10549-80 ГОСТ 16093-81 ГОСТ 24705-81 | 8 2 6 5 5 |
5. Постановлением Госстандарта СССР от 17.03.88 № 569 снятоограничение срока действия
6. ПЕРЕИЗДАНИЕ (ноябрь 1999 г.) с Изменениями № 1, 2,утвержденными в июне 1980 г., марте 1988 г. (ИУС 9-80, 6-88)

