Настоящий стандарт распространяется на сжиженные углеводородные газы и устанавливает метод определения их углеводородного состава (фракции С3 и С4 и их смеси), находящихся под избыточным давлением собственных паров, массовая доля которых 0,01 % и выше.
Сущность метода заключается в хроматографическом разделении углеводородов, входящих в состав сжиженного газа.
| Обозначение: | ГОСТ 10679-76* |
| Название рус.: | Газы углеводородные сжиженные. Метод определения углеводородного состава |
| Статус: | действующий * Переиздание (март 1995 г.) с Изменениями № 1, 2. утвержденными в июле 1981 г. и декабре 1985 г. (И УС 10-81, 4-86). |
| Заменяет собой: | ГОСТ 10679-63 |
| Дата актуализации текста: | 01.10.2008 |
| Дата добавления в базу: | 01.02.2009 |
| Дата введения в действие: | 01.01.1977 |
| Утвержден: | Госстандарт СССР (11.05.1976) |
| Опубликован: | Издательство стандартов № 1976<br>Издательство стандартов № 1995<br>Стандартинформ № 2006 |
ГОСУДАРСТВЕННЫЙ СТАНДАРТ СОЮЗА ССР
ГАЗЫ УГЛЕВОДОРОДНЫЕ
СЖИЖЕННЫЕ
МЕТОД ОПРЕДЕЛЕНИЯ УГЛЕВОДОРОДНОГО СОСТАВА
ГОСТ 10679-76
ИЗДАТЕЛЬСТВО СТАНДАРТОВ
Москва
ГОСУДАРСТВЕННЫЙ СТАНДАРТ СОЮЗА ССР
| Метод определения углеводородного состава Liquefied hydrocarbon gases. Method for determination of the hydrocarbon compound | ГОСТ Взамен |
* Переиздание (март 1995 г.) с Изменениями № 1, 2. утвержденными в июле1981 г. и декабре 1985 г. (И УС 10-81, 4-86).
ПостановлениемГосударственного комитета стандартов Совета Министров СССР от 11 мая 1976 г. №1156 срок введения установлен
с 01.01.77
Снято ограничение срока действия по Протоколу № 3-93Межгосударственного Совета по стандартизации, метрологии и сертификации
Настоящий стандартраспространяется на сжиженные углеводородные газы и устанавливает методопределения их углеводородного состава (фракции С3 и С4 иих смеси), находящихся под избыточным давлением собственных паров, массоваядоля которых 0,01 % и выше.
Сущность метода заключаетсяв хроматографическом разделении углеводородов, входящих в состав сжиженногогаза.
1.1. Для определения углеводородного состава применяют:
хроматограф ЛХМ-80 илианалогичного типа с детектором по теплопроводности или пламенно-ионизационнымдетектором;
лупу измерительную по ГОСТ25706-83 или аналогичную с ценой деления 0,1 мм;
линейку измерительную поНТД;
секундомер по ТУ 25-1819.0021-90, ТУ 25-1894.003-90;
колбу круглодонную типаКГП-3 по ГОСТ25336-82;
чашку фарфоровую по ГОСТ9147-80;
эксикатор по ГОСТ25336-82;
набор сит «Физприбор»;
печь муфельнуюэлектрическую, обеспечивающую нагрев до 750 - 800 °С;
баню водяную или песочную;
шкаф сушильный,обеспечивающий нагрев до 150 °С;
алюминия окись активную по ГОСТ8136-85;
трепел зикеевскогокарьера-сорбент (фракция 0,25 - 0,50 мм);
масло вазелиновоемедицинское по ГОСТ 3164-78;
дибутилфталат;
гелий в баллоне;
водород технический сжатыйпо ГОСТ3022-80;
азот в баллоне по ГОСТ9293-74;
воздух в баллоне по ГОСТ17433-80;
спирт этиловый синтетическийпо НТД, спирт этиловый технический по ГОСТ 17299-78 илиспирт этиловый ректификованный технический по ГОСТ18300-87;
натрий углекислый безводныйпо ГОСТ83-79, 2 %-ный раствор;
кальций хлористый;
эфир петролейный;
эфир этиловый;
воду дистиллированную по ГОСТ 6709-72;
шприц типа «Рекорд» с инъекционнымииглами;
пробоотборник типа ПУ по ГОСТ14921-78.
(Измененная редакция, Изм. №1, 2).
2.1. Для разделения углеводородов применяют модифицированную окисьалюминия или модифицированный трепел зикеевского карьера.
Модифицированную окисьалюминия применяют для анализа сжиженных газов, содержащих метан и дивинил.
2.2. Приготовление сорбентов
2.2.1. Активную окись алюминия массой 100 г с размером зерен 0,25 - 0,50 ммнасыпают в фарфоровую чашку и прокаливают в муфельной печи при 700 °С в течение7 ч, затем охлаждают в эксикаторе и отсеивают от пыли.
В каждой партии окисиалюминия определяют удельный удерживаемый объем пропана и вычисляют массовуюдолю вазелинового масла, необходимую для модифицирования поверхности. Для этогочасть подготовленной окиси алюминия загружают в хроматографическую колонкудлиной 1 м, диаметром 3 мм. Массу загруженной окиси алюминия определяют поразности масс склянки с окисью алюминия до и после загрузки ее в колонку.Колонку устанавливают в хроматограф и, не подсоединяя к детектору, активируютокись алюминия при 250 °С в течение 2 ч в токе газа-носителя. Затем колонку охлаждаютдо комнатной температуры, подсоединяют к детектору и устанавливают заданныйрежим:
температуратермостата, °С ........................................................................................ 50
температураиспарителя, °С ....................................................................................... 50
такдетектора, МА ........................................................................................................ 100
расход газа-носителя (гелия), см3/с ............................................................................ 0,5
В хроматограф шприцем вводятсмесь пропана с воздухом в соотношении 1:2 и по секундомеру определяют времяудерживания компонентов. Удельный удерживаемый объем пропана (V
) вычисляют по ГОСТ 17567-81.
![]()
- приведенный удерживаемыйобъем пропана, см3;
tr- время удерживания пропана, с;
t0 - время удерживания воздуха, с;
Va - скорость газа-носителя, см3/с;
m
- масса окиси алюминия, г.
Массовую долю вазелиновогомасла (X) в процентах вычисляют по формуле
![]()
Массу вазелинового масла (m2) в граммах вычисляют поформуле
![]()
где т - общая масса подготовленнойокиси алюминия, г.
Массу вазелинового масларастворяют в круглодонной колбе в этиловом эфире в соотношении 1:25, затем сюдаже насыпают подготовленную окись алюминия и перемешивают. Растворитель испаряютна песчаной бане при 60 - 70 °С при непрерывном перемешивании смеси доисчезновения запаха эфира.
(Измененная редакция, Изм. №2).
2.2.2. Для приготовления модифицированного трепела зикеевского карьераотсеивают 500 г фракции размером 0,25 - 0,50 мм, смачивают растворомуглекислого натрия, затем выдерживают в сушильном шкафу при 150 °С в течение 4ч при периодическом перемешивании трепела стеклянной палочкой. После этогофарфоровую чашечку с трепелом прокаливают в муфельной печи при 800 °С в течение3 ч, охлаждают в эксикаторе, в котором он хранится и используется принеобходимости. Хранение трепела допускается также в склянке, плотно закрытойкрышкой.
Для трепела определяют егоотносительную адсорбционную активность (А) хроматографическим методом.
Среднюю пробуподготовленного трепела массой 40 г загружают в колонку хроматографа и снимаютхроматограмму искусственной смеси газов, состоящей из 15 % пропана, 25 %воздуха и 60 % водорода.
Условия определения:
Хроматограф с детектором потеплопроводности.
Длинаколонки, м ......................................................................................................... 2
Температуратермостата, °С ........................................................................................ 40
Объемпробы, см3........................................................................................................ 2
Расходгаза-носителя (азот), см/мин .......................................................................... 30
Токдетектора, мА ........................................................................................................ 80
Величину А вычисляюткак отношение расстояний l1 и l0 измеренных по хроматограмме(черт. 1),в миллиметрах
![]()
Хроматограмма искусственнойсмеси газов
l0 - расстояние отначала опыта до начала выхода отрицательного пика, мм; l1 - расстояние от начала выхода отрицательного пика до максимума пикапропана, мм
После определения величины Апо полученной хроматограмме трепел высыпают из колонки хроматографа ипомещают в эксикатор или склянку.
Массовую долю вазелиновогомасла и дибутилфталата (X), необходимую длямодифицирования трепела, в процентах вычисляют по формуле
X = 3,2A + 2,8,
где А - относительнаяадсорбционная активность трепела.
Для модифицированияповерхности трепела берут из эксикатора или склянки две порции массой 60 и 40 ги обрабатывают первую порцию - раствором вазелинового масла в петролейномэфире, вторую порцию - раствором дибутилфталата в петролейном эфире.
Массу вазелинового масла (М1)в граммах вычисляют по формуле
![]()
Массу дибутилфталата (М2)в граммах вычисляют по формуле
![]()
где X - массоваядоля вазелинового масла или дибутилфталата, %.
Модифицирование поверхноститрепела проводят следующим образом: дибутилфталат или вазелиновое маслорастворяют в эфире в соотношении 1:25, помещают в круглодонную колбу, затем внее насыпают трепел. Колбу помещают в водяную баню при 90 °С и непрерывноперемешивают смесь до исчезновения запаха эфира.
2.3. 3аполнение колонки хроматографа
Подготовку колонок и ихнабивку сорбентами выполняют в соответствии с требованиями к монтажу иэксплуатации хроматографа.
Послеустановки в хроматограф колонки, заполненной активной окисью алюминия, его дополнительно активируют в токе газа-носителяпри 70 ° С в течение 5 - 6 ч.
Призаполнении колонки хроматографа модифицированным трепелом его дополнительно активируют при 90 °С в течение 4 ч. Колонка состоит из двух секций. Первая секция (походу газа) длиной 4 м заполнена трепелом, модифицированным вазелиновым маслом, вторая секция длиной 2 м - трепелом, модифицированнымдибутилфталатом.
(Измененная редакция, Изм. №2).
2.4. Монтаж, наладка и подготовка хроматографа дляанализа
При монтаже и наладкехроматографа выполняют следующие изменения в схеме: на испаритель вместонакидной гайки навинчивают приставку (черт. 2), состоящую из корпуса, вкотором просверлены канавки диаметром примерно 2 - 3 мм, и крышки приставки(размеры приставки указаны в миллиметрах).
При вводе пробынепосредственно из пробоотборника (черт. 3) к корпусу приставкиприваривается трубка сброса анализируемого газа. С одной стороны трубказакупоривается заглушкой. Между испарителем и корпусом приставки, а такжекорпусом приставки и крышкой вставляют резиновые мембраны, как указано на черт.3.
При вводе пробы вхроматограф шприцем (черт. 4) к корпусу приставки привариваются две трубки длявхода и сброса анализируемого газа.
1 - крышкаприставки; 2 - корпус приставки
Схема ввода пробы из пробоотборника иглой
1 -пробоотборник; 2 - накидная гайка с иглой; 3 - верхняя мембрана;4 - крышка приставки; 5 - корпус приставки; 6 -головка испарителя; 7 - нижняя мембрана; 8 - трубка сброса газа; 9- барботер.
Схемаввода пробы в хроматограф шприцем
1 - корпусприставки; 2 - крышка приставки; 3 - верхняя мембрана; 4 -шприц; 5 - пробоотборник; 6 - накидная гайка; 7 - резиноваяуплотнительная прокладка; 8 - отвод; 9 - нижняя мембрана; 10 -головка испарителя; 11 - барботер
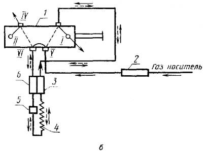
Для сокращения временианализа содержание углеводородов С5+выше можно определять методомобратной продувки колонки хроматографа с регистрацией суммарного пикауглеводородов по схемам а и б (черт. 5). На схемах пунктирной линиейуказан ход газа-носителя при обратной продувке.
Подключение хроматографа ксети, проверка на герметичность и вывод на режим выполняются в соответствии стребованиями к монтажу и эксплуатации хроматографа.
(Измененная редакция, Изм. №1).
3.1. Пробу сжиженных газов в хроматограф с детектором потеплопроводности вводят с низа вертикально расположенного пробоотборникаинъекционной иглой или медицинским шприцем, в хроматограф с пламенно-ионизационнымдетектором - медицинским шприцем.
При вводе пробынепосредственно из пробоотборника (см. черт. 3) к запирающей втулкепробоотборника присоединяют накидную гайку с инъекционной иглой. Иглой прокалываютверхнюю резиновую мембрану приставки, открывают пробоотборник (фиксируетсябарботером), затем, прокалывая нижнюю резиновую мембрану приставки, вводятпробу в хроматограф. Быстро вынимают иглу из нижней мембраны и закрываютпробоотборник. Ввод проб осуществляется по времени в зависимости от давления впробоотборнике и от чувствительности хроматографа и не должен превышать 2 с.
Пробу медицинским шприцем(см. черт. 4)вводят следующим образом: открывают пробоотборник (что фиксируется барботером),прокалывают иглой шприца резиновую мембрану приставки, промывают шприц 2 - 3раза анализируемым продуктом, отбирают необходимую дозу газа (подбираетсяэкспериментально в зависимости от чувствительности хроматографа), затемпрокалывают нижнюю мембрану приставки и вводят пробу в испаритель хроматографа,закрывают пробоотборник. Ввод проб проводится в объемных долях.
Допускается вводить пробужидкостным краном-дозатором для сжиженных газов.
1 - кран-дозатор; 2 - испаритель; 3 - колонка хроматографа;4 - детектор
1 - кран-дозатор; 2 - ротаметр; 3 - рабочаякамера детектора; 4 - колонка; 5 - испаритель; 6 - сравнительнаякамера детектора
3.2. Анализ сжиженного газа, содержащего метан и дивинил, следует проводитьна колонке с окисью алюминия, модифицированной вазелиновым маслом. Присодержании в анализируемой смеси малых концентраций изобутилена анализ следуетпроводить на колонке с трепелом, модифицированным вазелиновым маслом идибутилфталатом (хроматограммы приведены на черт. 6 - 7). На черт. 7аа приведена типоваяхроматограмма бутановой фракции на окиси алюминия, модифицированной вазелиновыммаслом. При содержании в анализируемой смеси малых концентраций изобутиленаанализ следует проводить на колонке с трепелом, модифицированным вазелиновыммаслом и дибутилфталатом (хроматограммы приведены на черт. 6 - 7). На черт. 7аа приведена типоваяхроматограмма бутановой фракции на окиси алюминия, модифицированной вазелиновыммаслом.
1 - воздух;2 - метан; 3 - этан+этен; 4 - пропан; 5 -пропен; 6 - изобутан; 7 - н-бутан; 8 - бутен-1; 9- изобутен; 10 - транс бутен-2; 11 - цис-бутен-2; 12- бутадиен-1,3; 13 - изопентан; 14 - 3-метилбутен-1; 15 -н-пентан; 16 - пентен-1; 17 - 2-метилбутен-1+транс-пентен-2;18 - цис-пентен-2.
3.3. Анализ на колонке с окисью алюминия, модифицированной вазелиновыммаслом, проводят при рабочих условиях, указанных ниже.
Длинаколонки, м ........................................................ 6
Диаметрколонки, мм .................................................. 3- 4
Температуратермостата, °С ....................................... 60
Температураиспарителя, °С ....................................... 100
Чувствительностьрегистратора ................................. подбираетсяэкспериментально
Газ-носитель................................................................ гелий(для детектора по
теплопроводности),гелий или
азот(для пламенно- ионизационного детектора)
Расходгаза-носителя, дм/ч ......................................... 2,4
Объемпробы (в газовой фазе), см3............................ 1(для детектора по
теплопроводности)и 0,1 - 0,2
(дляпламенно-ионизационного детектора)
Продолжительностьанализа, мин ............................. 30- 35
1 - воздух;2 - изобутан; 3 - н-бутан; 4 - бутен-1; 5 -изобутен; 6 - трансбутен-2+2,2-диметил пропан; 7 - цисбутен-2; 8- изопентан
1 -воздух+метан; 2 - этан+этен; 3 - пропан; 4 - пропен; 5 -изобутан; 6 - н-бутан; 7 - бутен-1; 8 - изобутен; 9 - транс-бутен-2;10 - бутадиен-1,3; 11 - цис-бутен-2; 12 -изопентан; 13 - 3-метилбутен-1; 14 - н-пентан; 15 -пентен-1; 16 - 2-метилбутен-1; 17 - транс-пентен-2; 18- цис-пентен-2; 19 - 2-метилбутен-2
3.1 - 3.3. (Измененная редакция, Изм. № 2).
3.4. Анализ на колонке с модифицированным трепелом проводят прирабочих условиях, указанных ниже.
Общаядлина составной колонки, м ....................................................... 6
Диаметрколонки, мм................................................................................ 3- 4
Секция с трепелом зекеевскогокарьера, модифицированным
вазелиновыммаслом, м ........................................................................... 4
Секция с трепелом,модифицированным
дибутилфталатом,м ................................................................................. 2
Температуратермостата, °С .................................................................... 50
Температураиспарителя, °С ................................................................... 100
Чувствительностьрегистратора ........................................................... подбирается
экспериментально
Газ-носитель............................................................................................. поп. 3.3
Расходгаза-носителя, дм3/ч ..................................................................... 3- 3,5
Объемпробы, см3..................................................................................... поп. 3.3
Продолжительностьанализа, мин .......................................................... 20- 25
4.1. Определение углеводородного состава сжиженногогаза
Углеводородный состав устанавливаютпо относительным удерживаемым объемам углеводородов, проведенным в табл. 1 - 2.
Относительный объемудерживания (Vg) вычисляют поформуле
![]()
где lп - расстояние от первогопика до максимума пика данного углеводорода, мм;
lн-бутан - расстояние от первого пика до максимума пика н-бутана, мм.
4.2. Массовую долю индивидуального углеводорода в анализируемом газе (Х1)в процентах вычисляют по формуле

где Si - приведенная площадь пика данного углеводорода, мм2;
- сумма приведенных площадейпиков всех углеводородов, мм2.
Приведенную площадь пикауглеводородов (Si), мм2, вычисляютпо формуле
![]()
где h -высота пика, мм;
а - ширина пика, измеренная насередине его высоты, мм;
b -масштаб регистратора;
k -массовый коэффициент чувствительности.
При проведении анализа собратной продувкой колонки суммарная площадь углеводородов С5+вышеможет фиксироваться на хроматограмме в виде неполностью разделенных пиков. Вэтом случае общая площадь, соответствующая содержанию углеводородов С5+выше,разбивается на ряд правильных геометрических фигур, площадь которых вычисляетсяраздельно, а затем суммируется (черт. 8, 9).
Относительные объемы удерживания и порядок выхода углеводородов наколонке с А12О3,модифицированной вазелиновым маслом
| Объем относительного удерживания | |
| Метан | 0,002 |
| Этан+этен | 0,092 |
| Пропан | 0,320 |
| Пропен | 0,400 |
| Изобутан | 0,730 |
| н-Бутан | 1,000 |
| Бутен-1 | 1,260 |
| Изобутен | 1,350 |
| транс-Бутен-2 | 1,450 |
| цис-Бутен-2 | 1,730 |
| Бутадиен-1,3 | 2,140 |
| Изопентан | 2,490 |
| 3-Метилбутен-1 | 2,520 |
| н-Пентан | 3,010 |
| Пентен-1 | 5,750 |
| 2-Метилбутен-1 + транс-Пентен-2 | 4,100 |
| цис-Пентен-2 | 4,830 |
Относительные объемы удержания и порядок выхода углеводородов на колонкес трепелом, модифицированным вазелиновым маслом и дибутилфталатом
| Объем относительного удерживания | |
| Метан + воздух |
|
| Этан+этен | 0,09 |
| Пропан | 0,32 |
| Пропен | 0,44 |
| Изобутан | 0,76 |
| н-Бутан | 1,00 |
| Бутен-1 | 1,29 |
| Изобутен | 1,44 |
| транс-Бутен-2 | 1,59 |
| Бутадиен-1,3 | 1,71 |
| цис-Буген-2 | 1,82 |
| Изопентан | 2,32 |
| 3-Метилбутен-1 | 2,65 |
| н-Пентан | 2,94 |
| Пентен-1 | 3,56 |
| 2-Метилбутен | 4,41 |
| транс-Пентен-2 | 4,76 |
| цис-Пентен-2 | 5,06 |
| 2-Метилбутен-2 | 5,38 |
Разбивка суммарной площадипика углеводородов на ряд правильных геометрических фигур
1, 2 -треугольники; 3 - трапеция
1, 2, 4 - треугольники; 3 - трапеция
Поправочные коэффициентычувствительности при использовании в качестве газа-носителя гелия или водородаприведены в табл. 3, 4.
Поправочные коэффициентычувствительности для детектора по теплопроводности (газ-носитель гелий)
| Массовые коэффициенты чувствительности | |
| Метан | 0,66 |
| Этан+этен | 0,87 |
| Пропан | 1,00 |
| Пропен | 0,96 |
| Изобутан | 1,04 |
| н-Бутан | 1,00 |
| Бутен-1 | 1,02 |
| Изобутен | 1,00 |
| транс-Бутен-2 | 0,97 |
| цис-Бутен-2 | 0,95 |
| Бутадиен-1,3 | 0,99 |
| Изопентан | 1,04 |
| 3-Метилбутен-1 | 1,04 |
| н-Пентан | 1,01 |
| Пентен-1 | 1,04 |
| 2-Метилбутен-1 | 1,04 |
| транс-Пентен-2 | 0,99 |
| цис-Пентен-2 | 1,04 |
| 2-Метилбутен-2 | 1,04 |
| С5+B предельного состава | 1,08 |
| С5+B непредельного состава | 1,10 |
(Измененная редакция, Изм. № 1).
Поправочные коэффициенты чувствительности для пламенно-ионизационного детектора
| Массовые коэффициенты чувствительности | |
| Метан | 1,11 |
| Этан | 1,04 |
| Этен | 0,97 |
| Пропан | 1,02 |
| Пропен | 0,97 |
| Изобутан | 1,00 |
| н-Бутан | 1,00 |
| Бутен-1 | 0,97 |
| Изобутен | 0,97 |
| транс-Бутен-2 | 0,97 |
| цис-Бутен-2 | 0,97 |
| Бутадиен-1,3 | 0,94 |
| Изопентан | 1,00 |
| 3-Метилбутен-1 | 0,97 |
| н-Пентан | 1,00 |
| Пентен-1 | 0,97 |
| 2-Метилбутен-1 | 0,97 |
| транс-Пентен-2 | 0,97 |
| цис-Пентен-2 | 0,97 |
| 2-Метилбутен-2 | 0,97 |
За результат анализа принимают среднее арифметическое значение двухпараллельных определений для всех углеводородов анализируемого сжиженного газа.Результаты вычисляют до второго десятичного знака.
Допускаемые расхождениямежду параллельными определениями не должны быть более величин, указанных втабл. 5.
| Допускаемые расхождения, % | |
| Св. 0,1 до 0,3 | 0,025 |
| » 0,3 » 1,0 | 0,07 |
| » 1,0 » 3,0 | 0,15 |
| » 3,0 » 10,0 | 0,3 |
| » 10,0 » 30,0 | 0,5 |
| » 30,0 | 0,7 |
Нормы допускаемых расхождений соответствуют уровню доверительнойвероятности 95 %.
(Измененная редакция, Изм. №2).
СОДЕРЖАНИЕ