Настоящий стандарт распространяется на гнутые гофрированные профили с полукруглой и трапециевидной формой гофров, изготовляемые на профилегибочных станах, толщиной 1—2 мм из холоднокатаной стали и толщиной 2—4 мм — из горячекатаной стали, предназначенные для вагоностроения.
| Обозначение: | ГОСТ 10551-75* |
| Название рус.: | Профили стальные гнутые гофрированные. Сортамент |
| Статус: | действующий |
| Заменяет собой: | ГОСТ 10551-63 |
| Дата актуализации текста: | 01.01.2009 |
| Дата добавления в базу: | 10.11.2009 |
| Дата введения в действие: | 01.01.1978 |
| Разработан: | Министерство черной металлургии СССР |
| Утвержден: | Госстандарт СССР (29.12.1975) |
| Опубликован: | Издательство стандартов № 1992<br>ИПК Издательство стандартов № 2003 |
ГОСУДАРСТВЕННЫЙ СТАНДАРТ СОЮЗА ССР
| ПРОФИЛИ СТАЛЬНЫЕ ГНУТЫЕ Сортамент Steel roll-formed corrugated sections. Dimensions | ГОСТ |
Срок действия с 01.01.78
до 01.01.93
1. Настоящий стандарт распространяетсяна гнутые гофрированные профили с полукруглой и трапециевидной формой гофров,изготовляемые на профилегибочных станах, толщиной 1 - 2 мм из холоднокатанойстали и толщиной 2 - 4 мм - из горячекатаной стали, предназначенные длявагоностроения.
(Измененная редакция, Изм. № 3).
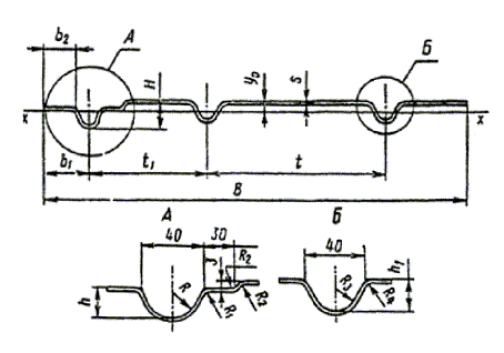
2. Вид профилей, формагофров, размеры, справочные величины и масса 1 м профиля должны соответствоватьуказанным на черт. 1 - 18 и в табл. 1 - 18.
Черт.1
Таблица1
| в | b1 | b2 | s | t | R | R1 | h | H | Количество гофров | Масса 1 м, кг | Справочные величины для оси х-х | |||
| мм | y0, см | Ix, см4 | Wx, см3 | |||||||||||
| 1 | 1310 ± 6 | 150 | 121 ± 4 | 3 | 1010 ± 2 | 15 | 8 | 35 ± 2 | 38 | 2 | 32,24 | 0,47 | 26,9 | 8,08 |


Черт.2
Таблица2
| Номер профиля | в ± 7 | b | b1 | b2 ± 6 | s | t ± 1 | R | h ± 2 | H | Количество гофров | Масса 1 м, кг | Справочные величины для оси х-х | ||
| мм | y0, см | Ix, см4 | Wx, см3 | |||||||||||
| 1 | 1094 | 900 | 100 | 60 | 1,5 | 300 | 8 | 30 | 31,5 | 4 | 14,25 | 0,86 | 25,34 | 11,05 |
| 2 | 1144 | 900 | 122 | 82 | 1,4 | 300 | 8 | 30 | 31,4 | 4 | 13,87 | 0,82 | 23,91 | 10,3 |
| 3 | 1276 | 900 | 188 | 148 | 1,5 | 300 | 8 | 30 | 31,5 | 4 | 16,43 | 0,73 | 26,55 | 11,08 |

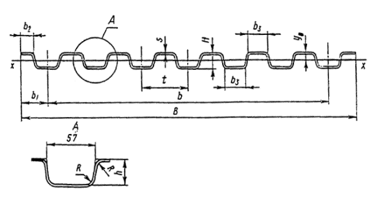
Черт. 3
Таблица 3
| в ± 7 | b1 | b2± 6 | s | t1 ± 0,5 | t ± 0,5 | R | R1 | R2 | R3 | R4 | h | h1 | H | Количество гофров | Масса 1 м, кг | Справочные величины для оси х-х | |||
| мм | y0, см | Ix, см4 | Wx, см3 | ||||||||||||||||
| 1 | 345 | 50 | 30 | 2 | 132 | - | 17 | 7 | 3 | 14 | 7 | 18 | 21 ± 1 | 23 | 2 | 6,1 | 0,46 | 2,49 | 1,35 |
| 2 | 552 | 50 | 30 | 2 | 132 | 250 | 17 | 7 | 3 | 14 | 7 | 18 | 21 ± 1 | 23 | 3 | 9,4 | 0,53 | 5,75 | 3,24 |
| 3 | 562 | 50 | 30 | 2 | 132 | 250 | 17 | 7 | 3 | 14 | 7 | 18 | 21 ± 1 | 23 | 3 | 9,55 | 0,52 | 5,79 | 3,25 |
| 4 | 880 | 50 | 30 | 2,5 | 132 | 250 | 17 | 7 | 3 | 14 | 7 | 18 | 21 ± 1 | 23,5 | 4 | 18,37 | 0,48 | 10,26 | 5,49 |


Черт. 4
Таблица 4
| в | b | b1 | b2 | s | t | R | R1 | h | H | Количество гофров | Масса 1 м, кг | Справочные величины для оси х-х | |||
| мм | y0, см | Ix, см4 | Wx, см3 | ||||||||||||
| 1 | 980 ± 7 | 840 | 70 | 58,4 ± 5 | 1,5 | 140 ± 0,5 | 12 | 7 | 10 ± 1 | 11,5 | 7 | 11,95 | 0,23 | 1,51 | 1,64 |


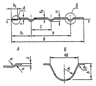
Черт.5
Таблица5
| в | b | b1 | b2 | s | t | R | R1 | R2 | R3 | h | h1 | H | Количество гофров | Масса 1 м, кг | Справочные величины для оси х-х | |||
| мм | y0, см | Ix, см4 | Wx, см3 | |||||||||||||||
| 1 | 1095 | 500 | 250 | 230 ± 6 | 2,5 | 250 ± 0,5 | 66 | 350 | 14 | 7 | 21 ± 1 | 115 ± 10 | 136 | 3 | 20,41 | 0,44 | 148,65 | 53,29 |


Черт. 6
Таблица 6
| Номер профиля | в ± 7 | b | b1 | b2 ± 6 | s | t | R | h ± 2 | H | Количество гофров | Масса 1 м, кг | Справочные величины для оси х-х | ||
| мм | y0, см | Ix, см4 | Wx, см3 | |||||||||||
| 1 | 885 | 700 | 125 | 90 | 1,4 | 175 ± 1 | 4 | 28 | 29,4 | 5 | 11,58 | 1,10 | 21,41 | 11,64 |
| 2 | 885 | 700 | 125 | 90 | 1,6 | 175 ± 1 | 4 | 28 | 29,6 | 5 | 13,24 | 1,10 | 24,38 | 13,10 |
| 3 | 885 | 700 | 125 | 90 | 1,8 | 175 ± 1 | 4 | 28 | 29,8 | 5 | 14,41 | 1,12 | 26,76 | 14,39 |
| 4 | 945 | 700 | 125 | 86 | 1,6 | 175 ± 1 | 4 | 28 | 29,6 | 5 | 13,88 | 1,05 | 25,41 | 13,32 |


Черт. 7
Таблица 7
| в | b | b1 | s | t ± 0,5 | R | R1 | R2 | R3 | h | Н1± 10 | H | Количество гофров | Масса 1 м, кг | Справочные величины для оси х-х | |||
| мм | y0, см | Ix, см4 | Wx, см3 | ||||||||||||||
| 1 | 900 | 500 | 210 | 190 | 2,5 | 125 | 65 | 14 | 7 | 21 ± 1 | 95 | 116 | 5 | 20,11 | 0,04 | 85,3 | 37,78 |
| 2 | 915 | 500 | 225 | 205 | 2,5 | 125 | 65 | 14 | 7 | 21 ± 1 | 95 | 116 | 5 | 20,41 | 0,05 | 85,5 | 38 |


Черт. 8
Таблица 8
| Номер профиля | в ± 8 | b | b1 | b2 ± 6 | s | t ± 1 | R | h ± 2 | h1 ± 2 | H | Количество гофров | Масса 1 м, кг | Справочные величины для оси х-х | ||
| мм | y0, см | Ix, см4 | Wx, см3 | ||||||||||||
| 1 | 752 | 651 | 50,5 | 25,5 | 1,4 | 93 | 4 | 12,6 | 18,6 | 20 | 8 | 9,67 | 1,03 | 7,65 | 7,39 |
| 2 | 757 | 651 | 53 | 28 | 1,4 | 93 | 4 | 12,6 | 18,6 | 20 | 8 | 9,73 | 1,03 | 7,66 | 7,41 |

Черт.9
Таблица9
| в | b1 | b2 | s | t | R | h | H | Количество гофров | Масса 1 м, кг | Справочные величины для оси х-х | |||
| мм | y0, см | Ix, см4 | Wx, см3 | ||||||||||
| 1 | 1105 ± 6 | 325 | 225 ± 5 | 3 | 600 ± 1 | 8 | 36 ± 2 | 39 | 2 | 26,87 | 1,08 | 65,78 | 23,3 |


Черт.10
Таблица10
| Номер профиля | в | b | b1 | b2 (пред. откл. ± 6) | s | t (пред. откл. ± 0,5) | R | R1 | h (пред. откл. ± 1) | H | Количество гофров | Масса 1 м, кг | Справочные величины для оси х-х | ||
| мм | y0, см | Ix, см4 | Wx, см3 | ||||||||||||
| 1 | 525 ± 6 | 250 | 105 | 85 | 2 | 125 | 17 | 7 | 20 | 22 | 3 | 8,87 | 0,61 | 5,4 | 3,17 |
| 2 | 1130 ± 8 | 1000 | 50 | 30 | 1,5 | 125 | 17 | 7 | 20 | 21,5 | 9 | 14,93 | 0,50 | 10,64 | 6,9 |

Черт. 11
Таблица 11
| в | b1 | b2 | s | R | h | H | Количество гофров | Масса 1 м, кг | Справочные величины для оси х-х | |||
| мм | y0, см | Ix, см4 | Wx, см3 | |||||||||
| 1 | 985 ± 5 | 500 | 60 | 3 | 8 | 36 ± 2 | 39 | 1 | 23,64 | 0,69 | 38,9 | 12,14 |

Черт.12
Таблица12
| в ± 7 | b1 | b2± 7 | b3 | s | t ± 1 | R | h ± 2 | h1 | H | Количество гофров | Масса 1 м, кг | Справочные величины для оси х-х | |||
| мм | y0, см | Ix, см4 | Wx, см3 | ||||||||||||
| 1 | 1260 | 160 | 60 | 50 | 4 | 600 | 8 | 36 | 6 ± 2 | 40 | 2 | 40,69 | 1,03 | 90,62 | 30,49 |
| 2 | 1280 | 160 | 60 | 70 | 4 | 600 | 8 | 36 | 6 ± 2 | 40 | 2 | 41,29 | 1,02 | 90,72 | 30,48 |

Черт. 13
Таблица 13
| Номер профиля | в | b | b1 | b2 | b3 | s | t | R | h | H | Количество гофров | Масса 1 м, кг | Справочные величины для оси х-х | ||
| мм | y0, см | Ix, см4 | Wx, см3 | ||||||||||||
| 1 | 830 ± 15 | 690 | 70 | 41,5 ± 10 | 58 | 3 | 115 ± 1 | 10 | 27 ± 3 | 30 | 7 | 23,74 | 1,47 | 42,79 | 27,9 |


Черт. 14
Таблица 14
| в ± 7 | b | b1 | b2 ± 6 | s | t ± 0,5 | R | R1 | h ± 2 | H | Количество гофров | Масса 1 м, кг | Справочные величины для оси х-х | |||
| мм | y0, см | Ix, см4 | Wx, см3 | ||||||||||||
| 1 | 735 | 500 | 170 | 150 | 2,0 | 250 | 14 | 7 | 21 | 23 | 3 | 12,29 | 0,40 | 6,26 | 3,29 |
| 2 | 910 | 750 | 80 | 60 | 2,0 | 250 | 14 | 7 | 21 | 23 | 4 | 15,29 | 0,42 | 8,21 | 4,36 |
| 3 | 978 | 750 | 168 | 148 | 2,0 | 250 | 14 | 7 | 21 | 23 | 4 | 16,36 | 0,40 | 8,34 | 4,39 |
| 4 | 978 | 750 | 114 | 94 | 2,0 | 250 | 14 | 7 | 21 | 23 | 4 | 16,30 | 0,36 | 8,34 | 4,39 |
| 5 | 978 | 750 | 168 | 148 | 1,5 | 250 | 14 | 7 | 21 | 22,5 | 4 | 12,27 | 0,40 | 5,84 | 3,18 |
| 6 | 985 | 750 | 120 | 100 | 2,0 | 250 | 14 | 7 | 21 | 23 | 4 | 16,47 | 0,40 | 8,35 | 4,39 |
| 7 | 985 | 750 | 120 | 100 | 1,5 | 250 | 14 | 7 | 21 | 22,5 | 4 | 12,39 | 0,39 | 6,95 | 3,55 |
| 8 | 990 | 750 | 120 | 100 | 2,0 | 250 | 14 | 7 | 21 | 23 | 4 | 16,55 | 0,40 | 8,35 | 4,39 |
| 9 | 1025 | 750 | 120 | 100 | 1,5 | 250 | 14 | 7 | 21 | 22,5 | 4 | 12,80 | 0,36 | 6,25 | 3,31 |
| 10 | 1030 | 750 | 170 | 150 | 2,0 | 250 | 14 | 7 | 21 | 23 | 4 | 17,13 | 0,39 | 8,42 | 4,4 |
| 11 | 1070 | 750 | 160 | 140 | 1,4 | 250 | 14 | 7 | 21 | 22,4 | 4 | 12,42 | 0,34 | 5,88 | 3,1 |
| 12 | 1080 | 750 | 165 | 145 | 1,2 | 250 | 14 | 7 | 21 | 22,2 | 4 | 10,21 | 0,26 | 3,58 | 1,83 |
| 13 | 1080 | 750 | 165 | 145 | 1,4 | 250 | 14 | 7 | 21 | 22,4 | 4 | 12,63 | 0,33 | 5,64 | 2,95 |
| 14 | 1080 | 750 | 165 | 145 | 1,5 | 250 | 14 | 7 | 21 | 22,5 | 4 | 13,49 | 0,34 | 6,30 | 3,30 |

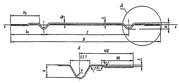
Черт. 15
Таблица 15
| Номер профиля | B ± 7 | b | b1 | b2 ± 6 | s | t ± 0,5 | R | R1 | R2 | h ± 2 | H | Количество гофров | Масса 1 м, кг | Справочные величины для оси х-х | ||
| мм | y0, см | Ix, см4 | Wx, см3 | |||||||||||||
| 1 | 1000 | 500 | 300 | 44 | 2,5 | 250 | 3,0 | 14 | 7 | 21 | 23,5 | 3 | 20,55 | 0,36 | 8,33 | 4,19 |
| 2 | 1160 | 750 | 215 | 35 | 2,0 | 250 | 3,0 | 14 | 7 | 21 | 23,0 | 4 | 19,12 | 0,36 | 8,58 | 4,42 |


Черт.16
Таблица16
| Номер профиля |
| b | b1 | b2 ± 6 | s | t ± 1 | R | R1 | R2 | R3 | h ± 2 | h1 ± 2 | H | Количество гофров | Масса 1 м, кг | Справочные величины для оси х-х | ||
| мм | y0, см | Ix, см4 | Wx, см3 | |||||||||||||||
| 1 | 975 | 510 | 240 | 180 | 2,5 | 255 | 16 | 15,5 | 11 | 14,5 | 10 | 12 | 14,5 | 9 | 19,68 | 0,38 | 4,16 | 3,91 |
| 2 | 1050 | 510 | 255 | 196 | 2,5 | 255 | 16 | 15,5 | 11 | 14,5 | 10 | 12 | 14,5 | 9 | 21,20 | 0,37 | 4,29 | 3,96 |
| 3 | 1210 | 510 | 330 | 270 | 1,5 | 255 | 16 | 15,5 | 11 | 14,5 | 10 | 12 | 13,5 | 9 | 14,68 | 0,28 | 2,61 | 2,44 |
| 4 | 1215 | 510 | 335 | 275 | 2,5 | 255 | 16 | 15,5 | 11 | 14,5 | 10 | 12 | 14,5 | 9 | 24,39 | 0,33 | 4,52 | 4,06 |

Черт. 17
Таблица 17
| Номер профиля | в | b | b1 | b2 | s | t | R | h | H | Количество гофров | Масса 1 м, кг | Справочные величины для оси х-х | ||
| мм | y0, см | Ix, см4 | Wx, см3 | |||||||||||
| 1 | 1035 ± 7 | 600 | 310 | 35 ± 5 | 1,4 | 300 | 8 | 30 ± 2 | 31,4 | 3 | 12,51 | 0,81 | 21,37 | 9,75 |
Черт.18
Таблица18
| в | b | b1 | b2 | s | t | h | H | Количество гофров | Масса 1 м, кг | Справочные величины для оси х-х | |||
| мм | y0, см | Ix, см4 | Wx, см3 | ||||||||||
| 1 | 1283 ± 7 | 900 | 191 | 25 ± 5 | 1,4 | 300 | 30 ± 2 | 31,4 | 4 | 15,8 | 0,97 | 26,53 | 12,22 |
Примечанияк черт. 1- 18,табл. 1- 18:
1. Размеры профилей,указанные без предельных отклонений, не контролируются.
2. Шаг,ширина, радиусы кривизны и глубины гофров контролируются при расточке валков, ана готовом профиле не контролируются.
3. Линейнаяплотность, кг/м профиля и справочные величины для осей вычислены по номинальнымразмерам. При вычислении линейной плотности профиля плотность стали принятаравной 7,85 г/см3.
4. Линейная плотность, кг/м профиля не является основанием для сдачипродукции.
(Измененная редакция, Изм. № 1).
3. (Исключен, Изм. № 2).
4. Предельная величинаволнистости боковых полок устанавливается в зависимости от толщины и шириныполок.
Для профилей толщиной до 2,5мм волнистость на 1 м не должна превышать:
10 мм - при ширине полки до20 толщин;
15 мм -при ширине полки до 70 толщин;
20 мм - при ширине полки до100 толщин;
25 мм - при ширине полкиболее 100 толщин.
Для профилей толщиной более2,5 мм волнистость не должна превышать 15 мм на 1 м.
Примечание. Для профиля № 2 (см. табл. 3) волнистость не должнапревышать 12 мм на 1 м.
5. Скручивание профилейвокруг продольной оси не должно превышать 0,1 % длины.
6. Прогиб профилей впоперечном направлении, измеряемый между крайними гофрами, для профилейтолщиной до 2 мм не нормируется, а для профилей толщиной более 2 мм не долженпревышать 1,5 % ширины профиля.
(Измененная редакция, Изм. № 1).
7. Прогиб профилей по гофрамв продольном направлении не должен превышать 0,2 % длины профиля.
Для профилей, указанных втабл. 3,5, 7 ипрофилей № 2 и 8 (см. табл. 14) прогиб в продольном направлении не долженпревышать 1 мм на 1 м и 0,1 % от длины профиля.
8. Профили должны бытьобрезаны под прямым углом. Косина реза не должна превышать 10 мм на ширинупрофиля.
9. Ребровая кривизна,замеряемая по гофрам, не должна превышать 5 мм на длину профиля.
10. Контроль размеровпоперечного сечения и параметров производится на расстоянии не менее 300 мм отконцов профиля.
11. Профили изготовляютдлиной от 3 до 11,8 м.
(Измененная редакция, Изм. № 2).
12. В зависимости отназначения профили изготовляются:
немерной длины;
мерной длины;
кратной мерной длины.
По соглашению изготовителя спотребителем допускается изготовление профилей длиной, равной половинезаказываемой.
Примечание. При заказе профилей мерной и кратной мерной длиныдопускается наличие профилей немерной длины в количестве не более 10 % массыпартии.
13. При изготовлениипрофилей мерной и кратной мерной длины предельные отклонения по длине не должныпревышать:
+40 мм - для профилей длинойдо 6 м;
+80 мм - для профилей длинойсвыше 6 м.
(Измененная редакция, Изм. № 1).
14.Остальные технические требования должны соответствовать ГОСТ 11474-76 .
15. Профили изготавливаютсяиз сталей марок: Ст0, Ст1кп, Ст1пс, Ст2кп, Ст2пс, Ст3кп, Ст3пс по ГОСТ16523-89.
08кп, 08пc, 08,10кп, 10пс, 10, 15кп, 15пс, 15, 20кп, 20пс, 20 по ГОСТ16523-89.
Профили, указанные в табл. 4, 9, 11, 12, ипрофили № 3, 4, 10, 12 (см. табл. 14) должны изготавливаться из стали марок 09Г2,09Г2Д, 10ХНДП по ГОСТ17066-80.
(Измененная редакция, Изм. № 2, 4).
ИНФОРМАЦИОННЫЕ ДАННЫЕ
1. РАЗРАБОТАН И ВНЕСЕНМинистерством черной металлургии СССР
И.С. Тришевский, А.П.Игнатенко, И.М. Козлова, В.М. Мейстер, А.А. Юхновский, А.Ф. Борисов. А.В.Гличев
2. УТВЕРЖДЕН И ВВЕДЕН ВДЕЙСТВИЕ Постановлением Государственного комитета СССР по стандартам от 29декабря 1975 г. № 4074
3. ВЗАМЕН ГОСТ 10551-63
4. ССЫЛОЧНЫЕНОРМАТИВНО-ТЕХНИЧЕСКИЕ ДОКУМЕНТЫ
| Обозначение НТД, на который дана ссылка | Номер пункта, подпункта, перечисления, приложения |
| ГОСТ 11474-76 | |
| ГОСТ 16523-89 | |
| ГОСТ 17066-80 |
5. Срок действия продлен до 01.01.93Постановление Госстандарта СССР от 05.07.89 № 2334
6.ПЕРЕИЗДАНИЕс Изменениями № 1, 2, 3, 4, утвержденными в июне 1978 г., июне 1987 г., июле1989 г., октябре 1990 г. (ИУС 6-78, 11-87, 11-89, 1-91).