Настоящий стандарт распространяется на винты с накатанной головкой невыпадающие класса точности В с номинальным диаметром резьбы от 2,5 до 12 мм.
| Обозначение: | ГОСТ 10344-80* |
| Название рус.: | Винты с накатанной головкой невыпадающие класса точности В. Конструкция и размеры |
| Статус: | действующий |
| Заменяет собой: | ГОСТ 10344-63 |
| Дата актуализации текста: | 01.10.2008 |
| Дата добавления в базу: | 01.02.2009 |
| Дата введения в действие: | 01.01.1982 |
| Утвержден: | Госстандарт СССР (07.07.1980) |
| Опубликован: | Стандартинформ № 2006 |
| МЕЖГОСУДАРСТВЕННЫЙ СТАНДАРТ | |
| ВИНТЫ С НАКАТАННОЙ ГОЛОВКОЙ Конструкция и размеры Knurled-he ad non-falling-out screws, product grade В. | ГОСТ Взамен |
Постановлением Государственного комитета СССР постандартам от 7 июля
01.01.82
Ограничение срока действия снято по протоколу № 7-95Межгосударственного совета по стандартизации, метрологии и сертификации (ИУС11-95)
Издание с Изменением № 1, утвержденным в декабре
Настоящий стандарт распространяется навинты с накатанной головкой невыпадающие класса точности В с номинальнымдиаметром резьбы от 2,5 до
(Введенодополнительно, Изм. № 1).
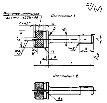
1. Размеры винтов должны соответствоватьуказанным на чертеже и в табл. 1 и 2.

* D - размер до накатки.
Таблица 1
| Номинальный диаметр резьбы d | 2,5 | 3 | 4 | 5 | 6 | 8 | 10 | 12 |
| Диаметр стержня d1 (пред. откл. h13) | 1,6 | 2,0 | 2,8 | 3,5 | 4,0 | 5,5 | 7,0 | 9,0 |
| Длина резьбы b | 3 | 4 | 5 | 6 | 8 | 10 | 12 | 16 |
| Диаметр головки D (пред. откл. h14) | 5 | 6 | 8 | 9 | 11 | 14 | 18 | 20 |
| Высота головки k (пред. откл. h14) | 4,0 | 4,8 | 6,5 | 7,5 | 9,0 | 11,00 | 14,0 | 16,0 |
| Высота подголовка h | 0,8 | 1,0 | 1,6 | 2,0 | 2, | 5 | 3,0 | |
| Ширина канавки n | 0,8 | 1,0 | 1,6 | 2,0 | 2,5 | 3,0 | 4,0 | |
| Радиус канавки rl | 0,4 | 0,5 | 0,8 | 1,0 | 1,25 | 1,5 | 2,0 | |
| Фаска С, не более | 0,5 | 0,7 | 0,8 | 1,0 | 1,2 | 1,5 | 1,8 | |
| Радиус под головкой R, не более | 0,2 | 0,4 | 0,5 | 0,6 | ||||
| Диаметр отверстия в головке d2 | - | 1,5 | 2,5 | |||||
Таблица 2
| Длина винта l, | Диаметр резьбы d, мм | |||||||
| 2,5 | 3 | 4 | 5 | 6 | 8 | 10 | 12 | |
| 6 |
|
| - | - | - | - | - | - |
| 8 |
|
|
| - | - | - | - | - |
| 10 |
|
|
|
| - | - | - | - |
| 12 |
|
|
|
|
| - | - | - |
| (14) |
|
|
|
|
| - | - | - |
| 16 |
|
|
|
|
| - | - | - |
| (18) |
|
|
|
|
| - | - | - |
| 20 | - |
|
|
|
| - | - | - |
| (22) | - |
|
| Стандартные длины |
| - | ||
| 25 | - |
|
|
| - | |||
| (28) | - |
|
|
|
| |||
| 32 | - |
|
|
|
|
|
|
|
| (36) | - |
|
|
|
|
|
|
|
| 40 | - |
|
|
|
|
|
|
|
| (45) | - |
|
|
|
|
|
|
|
| 50 | - |
|
|
|
|
|
|
|
| (55) | - |
|
|
|
|
|
|
|
| 60 | - |
|
|
|
|
|
|
|
| (70) | - | - | - |
|
|
|
|
|
| 80 | - | - | - |
|
|
|
|
|
Примечание. Длины винтов, заключенные вскобки, применять не рекомендуется.
Пример условногообозначения винта исполнения 1, диаметромрезьбы d =
Винт M8-6g×25.58 ГОСТ 10344-80
То же, исполнения 2, класса прочности8.8, из стали марки 35Х, с цинковым покрытием толщиной 9 мкм, хроматированным:
Винт 2M8-6g×25.88.35X.019 ГОСТ 10344-80
2. Резьба - по ГОСТ24705-2004, шаг резьбы - крупный. Сбег резьбы - по ГОСТ 10549-80.
1, 2. (Измененная редакция, Изм. № 1).
2а. Допуски и методы контроля размеров иотклонений формы и расположения поверхностей - по ГОСТ1759.1-82.
2б. Дефекты поверхности и методы контроля- по ГОСТ1759.2-82.
2в. Шлицы прямые - по ГОСТ 24669-81.
2а-2в. (Введены дополнительно, Изм.№ 1).
3. Технические требования - по ГОСТ1759.0-87.
4. Теоретическая масса винтов указана вприложении 1.
5. (Исключен,Изм. № 1).
ПРИЛОЖЕНИЕ 1
Справочное
| Длина винта l, | Теоретическая масса 1000 шт. стальных винтов, кг, | |||||||
| 2,5 | 3 | 4 | 5 | 6 | 8 | 10 | 12 | |
| 6 | 0,685 | 1,164 | - | - | - | - | - | - |
| 8 | 0,717 | 1,214 | 2,745 | - | - | - | - | - |
| 10 | 0,749 | 1,263 | 2,841 | 4,304 | - | - | - | - |
| 12 | 0,781 | 1,312 | 2,938 | 4,455 | 7,600 | - | - | - |
| (14) | 0,813 | 1,361 | 3,035 | 5,611 | 7,797 | - | - | - |
| 16 | 0,845 | 1,410 | 3,131 | 4,757 | 7,994 | - | - | - |
| (18) | 0,877 | 1,459 | 3,228 | 4,908 | 8,192 | - | - | - |
| 20 | - | 1,508 | 3,324 | 5,059 | 8,389 | - | - | - |
| (22) | - | 1,557 | 3,421 | 5,210 | 8,589 | 16,87 | 33,55 | - |
| 25 | - | 1,634 | 3,566 | 5,436 | 8,833 | 17,45 | 34,45 | - |
| (28) | - | 1,708 | 3,711 | 5,663 | 9,179 | 17,99 | 35,36 | 50,64 |
| 32 | - | 1,807 | 3,904 | 5,965 | 9,574 | 18,74 | 36,57 | 52,64 |
| (36) | - | 1,905 | 4,097 | 6,267 | 10,070 | 19,49 | 37,78 | 54,64 |
| 40 | - | 2,004 | 4,290 | 6,569 | 10,360 | 20,24 | 38,98 | 56,64 |
| (45) | - | 2,128 | 4,552 | 6,946 | 10,860 | 21,17 | 40,49 | 59,13 |
| 50 | - | 2,251 | 4,773 | 7,324 | 11,350 | 22,11 | 42,00 | 61,63 |
| (55) | - | 2,375 | 5,015 | 7,701 | 11,840 | 23,04 | 43,51 | 64,13 |
| 60 | - | 2,498 | 5,256 | 8,079 | 12,840 | 23,98 | 45,02 | 66,63 |
| (70) | - | - | - | 8,834 | 13,320 | 25,84 | 48,04 | 71,63 |
| 80 | - | - | - | 9,589 | 14,310 | 27,72 | 51,06 | 76,63 |
Примечание. Для определения массы винтов излатуни массы, указанные в таблице, следует умножить на коэффициент 1,08.
ПРИЛОЖЕНИЕ 2. (Исключено,Изм. № 1).