Стандарт распространяется на соединения из сталей, а также сплавов на железоникелевой и никелевой основах, выполняемых сваркой под флюсом, и устанавливает основные типы, конструктивные элементы и размеры сварных соединений.
Стандарт не распространяется на сварные соединения стальных трубопроводов по ГОСТ 16037-80.
| Обозначение: | ГОСТ 8713-79* |
| Название рус.: | Сварка под флюсом. Соединения сварные. Основные типы, конструктивные элементы и размеры |
| Статус: | действующий |
| Заменяет собой: | ГОСТ 8713-70 |
| Дата актуализации текста: | 01.10.2008 |
| Дата добавления в базу: | 01.02.2009 |
| Дата введения в действие: | 01.01.1981 |
| Разработан: | Госстандарт СССР Академия наук Украинской ССР |
| Утвержден: | Госстандарт СССР (26.12.1979) |
| Опубликован: | Издательство стандартов № 1979<br>Издательство стандартов № 1993 |

ГОСУДАРСТВЕННЫЙ СТАНДАРТ СОЮЗА ССР
СВАРКА ПОД ФЛЮСОМ.
СОЕДИНЕНИЯ СВАРНЫЕ
ОСНОВНЫЕТИПЫ, КОНСТРУКТИВНЫЕ ЭЛЕМЕНТЫ И РАЗМЕРЫ
ГОСТ8713-79
ИЗДАТЕЛЬСТВО СТАНДАРТОВ
Москва
ГОСУДАРСТВЕННЫЙСТАНДАРТ СОЮЗА ССР
| СВАРКА ПОД ФЛЮСОМ. Основные типы, конструктивные элементы и размеры Flux welding. Welded joints. Maih types design | ГОСТ |
Датавведения 01.01.81
1. Настоящий стандартраспространяется на соединения из сталей, а также сплавов на железоникелевой иникелевой основах, выполняемых сваркой под флюсом, и устанавливает основныетипы, конструктивные элементы и размеры сварных соединений.
Стандарт не распространяется насварные соединения стальных трубопроводов по ГОСТ16037-80.
2. В стандарте приняты следующиеобозначения способов сварки под флюсом:
АФ - автоматическая на весу;
АФф - автоматическая на флюсовойподушке;
АФм - автоматическая на флюсомеднойподкладке;
АФо - автоматическая наостающейся подкладке;
АФп - автоматическая на медномползуне;
АФш - автоматическая спредварительным наложением подварочного шва;
АФк - автоматическая спредварительной подваркой корня шва;
МФ - механизированная на весу;
МФо - механизированная наостающейся подкладке;
МФш -механизированная спредварительным наложением подварочного шва;
МФк - механизированная спредварительной подваркой корня шва.
(Измененная редакция, Изм. №2).
3. Основные типы сварныхсоединений приведены в табл. 1, сечения предварительно наложенныхподварочных швов условно зачернены.
Таблица 1
| Форма подготовленных кромок | Характер сварного шва | Форма поперечного сечения | Способ сварки | Толщина свариваемых деталей, мм | Условное обозначение сварного соединения | |||
| подготовленных кромок | сварного шва | |||||||
| Стыковое | С отбортовкой кромок | Односторонний |
|
| АФ; МФ | 1,5-3,0 | C1 | |
|
|
| 2,0-12,0 | C47 | |||||
| Вез скоса кромок | ||||||||
|
|
| АФф | 2,0 10,0 | C4 | ||||
|
| АФм | 3,0-12,0 | ||||||
|
| АФп | 5,0-20,0 | ||||||
| Стыковое | Без скоса кромок | Односторонний |
|
| АФо; МФо | 2,0-12,0 | С5 | |
| Двусторонний |
|
| АФ; МФ | 2,0-20,0 | С7 | |||
|
| АФш; МФш | 2,0-12,0 | ||||||
|
|
| АФф | 2,0-32,0 | С29 | ||||
| Без скоса кромок с последующей строжкой |
| 16,0-32,0 | С3О | |||||
| Стыковое | Со скосом одной кромки | Односторонний |
|
| АФф | 8,0 20,0 | С9 | |
|
| АФм | |||||||
|
|
| АФо; МФо | 8,0-30,0 | С10 | ||||
| Стыковое | Со скосом одной кромки | Односторонний замковый |
|
| АФо | 8,0-30,0 | С11 | |
| Двусторонний |
|
| АФ | 14,0-20,0 | С12 | |||
| С криволинейным скосом одной кромки | Односторонний |
|
| АФф | 16,0-50,0 | С31 | ||
| Стыковое | С ломанным скосом одной кромки | Односторонний |
|
| АФф | 16,0-50,0 | C32 | |
| С двумя симметричными скосами одной кромки | Двусторонний |
|
| АФ | 20,0-30,0 | C15 | ||
| Со скосом кромок | Односторонний |
|
| АФф | 8,0-24,0 | C18 | ||
|
| АФм | 12,0-30,0 | ||||||
| Стыковое | Со скосом кромок | Односторонний |
|
| АФо; МФо | 8,0-30,0 | C19 | |
| Односторонний замковый |
|
| АФо | C20 | ||||
| Двусторонний |
|
| АФ; МФ | 14,0-30,0 | C21 | |||
| Стыковое | Со скосом кромок | Двусторонний |
|
| АФк; МФк | 14,0-30,0 | C21 | |
|
|
| АФш; МФш | 5,0-14,0 | |||||
|
|
| АФф | 14,0-30,0 | С33 | ||||
| Стыковое | С криволинейным скосом кромок | Односторонний |
|
| АФо | 16,0-60,0 | С34 | |
| Односторонний замковый |
|
| 16,0-50,0 | С35 | ||||
| Двусторонний |
|
| АФк | 24,0-160,0 | С23 | |||
| Стыковое | С ломанным скосом кромок | Односторонний |
|
| АФф | 20,0-60,0 | С36 | |
| С ломанным скосом кромок | Односторонний замковый |
|
| АФо | 16,0-60,0 | С37 | ||
| С двумя симметричными скосами кромок | Двусторонний |
|
| АФ; МФ | 18,0-60,0 | С25 | ||
| Стыковое | С двумя симметричными скосами кромок | Двусторонний |
|
| АФк | 24,0-60,0 | С25 | |
|
|
| АФф | 18,0-60,0 | С38 | ||||
| С двумя несимметричными скосами кромок |
|
| АФш; МФш | 16,0-60,0 | С39 | |||
| С двумя симметричными криволинейными скосами кромок |
|
| АФ | 50,0-160,0 | С26 | |||
| Стыковое | С двумя несимметричными скосами кромок | Двусторонний |
|
| АФш | 24,0-130,0 | С40 | |
|
|
| 24,0-60,0 | С41 | |||||
| Угловое | С отбортовкой одной кромки | Односторонний |
|
| АФ; МФ | 1,5-3,0 | У1 | |
| Без скоса кромок | Двусторонний |
|
| АФш; МФш | 4,0-14,0 | У5 | ||
| Угловое | Со скосом одной кромки | Двусторонний |
|
| АФш; МФш | 8,0-20,0 | У7 | |
| С двумя несимметричными скосами одной кромки |
|
| 20,0-40,0 | У3 | ||||
| Тавровое | Без скоса кромок | Односторонний |
|
| АФ; МФ | 3,0-40,0 | Т1 | |
|
| ||||||||
| Двусторонний | Т3 | |||||||
| Тавровое | Без скоса кромок | Двусторонний |
|
| АФш; МФш | 3,0-20,0 | Т3 | |
| Со скосом одной кромки |
|
| АФш; МФш | 8,0-30,0 | Т7 | |||
| С криволинейным скосом одной кромки |
|
| АФш | 16,0-30„0 | Т2 | |||
| Тавровое | С двумя симметричными скосами одной кромки | Двусторонний |
|
| АФ; МФ | 16,0-40,0 | Т8 | |
| С двумя несимметричными скосами одной кромки |
|
| АФш; МФш | 20,0-40,0 | Т4 | |||
| Тавровое | С двумя симметричными криволинейными скосами одной кромки | Двусторонний |
|
| АФ | 30,0-60,0 | T5 | |
| Нахлесточное | Без скоса кромок | Односторонний |
|
| АФ; МФ | 10-20,0 | H1 | |
| Двусторонний |
| H2 | ||||||
(Измененная редакция, Изм. № 2, 3).
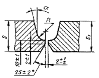
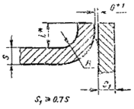
4. Конструктивные элементысварных соединений и их размеры должны соответствовать указанным в табл. 2-52,сечения предварительно наложенных подварочных швов условно зачернены.
Таблица 2
Размеры,мм
| Конструктивные элементы | Способ сварки | s=s1 | R | i | ||
| подготовленных кромок свариваемых деталей | сварного шва | |||||
| С1 |
|
| АФ; МФ | 1,5-3,0 | s-1,5s | s-3s |
* Размер для справок.
Таблица 3
Размеры,мм
| Условное обозначение сварного соединения | Конструктивные элементы | Способ сварки | s=s1 | b | е, не более | g | |||
| подготовленных кромок свариваемых деталей | сварного шва | Номин. | Пред. откл. | Номин. | Пред. откл. | ||||
| C47 |
|
| АФ, МФ | 2 | 0 | +0,3 | 8,5 | 1,5 | ±1,0 |
| Св. 2 до 3 | +0,5 | 10 | |||||||
| Св. 3 до 4 | +0,8 | 12 | 2,0 | +1,0 -1,5 | |||||
| Св. 4 до 5 | +1,0 | 11 | |||||||
| Св. 5 до 6 | |||||||||
| Св. 6 до 8 | 16 | ||||||||
| Св. 8 до 10 | 19 | ||||||||
| Св. 10 до 12 | 21 | ||||||||
Примечание.Способ сварки МФ для s<3мм применять не рекомендуется.
Таблица 4
Размеры,мм
| Условное обозначение сварного соединения | Конструктивные элементы | Способ сварки | s=s1 | b | е, не более | g | g1 | |||||
| подготовленных кромок | сварного шва | Номин. | Пред. откл. | Номин. | Пред. откл. | Номин. | Пред. откл. | |||||
| C4 |
|
| АФф | 2 | 0,0 | +1,0 | 12 | 1,5 | ±1,0 | 1,0 | ±1,0 | |
| Св. 2 до 3 | 1,0 | ±1,0 | ||||||||||
| Св. 3 до 4 | 16 | 2,0 | +1,0 -1,5 | 1,5 | +1,0 | |||||||
| Св. 4 до 5 | 1,5 | |||||||||||
| -1,5 | ||||||||||||
| Св. 5 до 6 | 21 | |||||||||||
| Св. 6 до 7 | 2,0 | ±1,5 | 2,0 | +1,0 -2,0 | ||||||||
| Св. 7 до 10 | 26 | |||||||||||
Примечание. Допускается отсутствие выпуклости обратной стороны шва и местныевогнутости глубиной не более 0,1s при полном проплавлениикромок. Значение e1 должно быть от 4 мм до 0,5е.
Таблица 5
Размеры,мм
| Условное обозначение сварного соединения | Конструктивные элементы | Способ сварки | s=s1 | b | е, не более | g1 | |||
| подготовленных кромок свариваемых деталей | сварного шва | Номин. | Пред. откл. | Номин. | Пред. откл. | ||||
| C4 |
|
| АФм | 3 | 1,0 | +0,5 | 14 | 1,5 | +1,0 -1,5 |
| 4 | 16 | ||||||||
| Св. 4 до 5 | 1,5 | +1,0 | |||||||
| Св. 5 до 6 | 21 | ||||||||
| Св. 6 до 7 | 2,0 | 2,0 | +1,0 -2,0 | ||||||
| Св. 7 до 10 | 26 | ||||||||
| Св. 10 до 12 | 4,0 | 28 | |||||||
Примечание. Допускается отсутствие выпуклости обратной стороны шва и местныевогнутости глубиной не более 0,1s при полном проплавлениикромок. Значение е1 должно быть от 4 мм до 0,5е.
Таблица 6
Размеры,мм
| Условное обозначение сварного соединения | Конструктивные элементы | Способ сварки | s=s1 | e1 ±4 | е, не более | b | g=g1 | |||
| подготовленных кромок свариваемых деталей | сварного шва | Номин. | Пред. откл. | Номин. | Пред. откл. | |||||
| С4 |
|
| АФп | 5-6 | 12 | 23 | 3 | +2 | 1,5 | ±1,0 |
| 7-10 | 14 | 26 | 4 | +1,5 -1,0 | ||||||
| 12-14 | 28 | |||||||||
| 16-18 | 16 | 36 | 5 | 2,0 | ±1,5 | |||||
| 20 | 38 | 6 | ||||||||
Примечание. Допускается отсутствие выпуклости обратной стороны шва и местныевогнутости глубиной не более 0,1s при полном проплавлениикромок.
Таблица 7
Размеры,мм
| Условное обозначение сварного соединения | Конструктивные элементы | Способ сварки | s=s1 | b | m, не менее | е, не более | g | |||
| подготовленных кромок свариваемых деталей | сварного шва | Номин. | Пред. откл. | Номин. | Пред. откл. | |||||
| С5 |
|
| АФо; МФо | 2 | 1,5 | ±1,0 | 15 | 12 | 1,5 | ±1,0 |
| Св. 2 до 3 | 17 | |||||||||
| Св. 3 до 4 | 2,0 | 2,0 | +1,0 -1,5 | |||||||
| Св. 4 до 5 | 20 | |||||||||
| Св. 5 до 6 | 3,0 | ±1,5 | 21 | |||||||
| Св. 6 до 7 | 25 | |||||||||
| Св. 7 до 8 | 26 | |||||||||
| Св. 8 до 10 | 4,0 | 30 | ||||||||
| Св. 10 до 12 | 5,0 | 28 | ||||||||
Примечание. Способ сварки МФо для s>6 мм применять нерекомендуется.
Толщина подкладки должна быть не менее 0,25, но неменее 1,5 мм.
Таблица 8
Размеры,мм
| Условное обозначение сварного соединения | Конструктивные элементы | Способ сварки | s=s1 | b | е, не более | g | |||
| подготовленных кромок свариваемых деталей | сварного шва | Номин. | Пред. откл. | Номин. | Пред. откл. | ||||
| С7 |
|
| АФ; МФ | 2 | 0 | +0,3 | 8,5 | 1,5 | ±1,0 |
| Св. 2 до 3 | +0,5 | 10 | |||||||
| Св. 3 до 4 | +0,8 | 12 | 2,0 | +1,0 -1,5 | |||||
| Св. 4 до 5 | +1,0 | 14 | |||||||
| Св. 5 до 6 | 19 | ||||||||
| Св. 6 до 9 | ±1,5 | ||||||||
| Св. 9 до 14 | 23 | 3,0 | +1,5 -2,0 | ||||||
| Св. 14 до 20 | 28 | ±2,0 | |||||||
Примечание. Способ сварки МФ для s>6 мм применять нерекомендуется.
Таблица 9
Размеры, мм
| Условное обозначение сварного соединения | Конструктивные элементы | Способ сварки | s=s1 | b | е, не более | e1±2 | g | |||
| подготовленных кромок свариваемых деталей | сварного шва | Номин. | Пред. откл. | Номин. | Пред. откл. | |||||
| С7 |
|
| АФш; МФш | 2 | 0,5 | +0,5 | 8,5 | 8 | 1,5 | ±10 |
| Св. 2 до 3 | 1,0 | ±1,0 | 10 |
| ||||||
| Св. 3 до 4 | 12 | 2,0 | +1,0 -1,5 | |||||||
| Св. 4 до 5 | 14 | 10 | ||||||||
| Св. 5 до 7 | 1,5 | +1,0 -1,5 | 16 | 12 | ||||||
| Св. 7 до 12 | 2,0 | +1,0 -2,0 | 19 | 14 | 3,0 | +1,0 -2,0 | ||||
Примечание. Способ сварки МФш для толщин 3 мм ³s³6 мм применять нерекомендуется.
Таблица 10
Размеры,мм
| Условное обозначение сварного соединения | Конструктивные элементы | Способ сварки | s=s1 | b | е, не более | g | |||
| подготовленных кромок | сварного шва | Номин. | Пред. откл. | Номин. | Пред. откл. | ||||
| С29 |
|
| АФф | 2 | 0 | +1 | 8,5 | 1,5 | ±1,0 |
| Св. 2 до 3 | 1 | ±1 | 10 | +1,0 -1,5 | |||||
| Св. 3 до 5 | 12 | 2,0 | |||||||
| Св. 5 до 6 | 19 | ||||||||
| Св. 6 до 9 | 2 | ||||||||
| Св. 9 до 10 | 24 | +1,0 -2,0 | |||||||
| Св. 10 до 14 | 2,5 | ||||||||
| Св. 14 до 16 | 26 | ±2,0 | |||||||
| Св. 16 до 22 | 4 | +1 -2 | 34 | ||||||
| Св. 22 до 2,6 | 5 | +1 -2 | 40 | 3,0 | +2,0 -2,5 | ||||
| Св. 26 до 30 | 6 | +2 -1 | 42 | +2,0 3,0 | |||||
| АФф* | От 6 до 9 | 3 | ±1 | 22 | 2,5 | ±1,5 | |||
| Св. 9 до 16 | 4 | 26 | |||||||
| Св. 16 до 24 | 5 | ±1,5 | 34 | ||||||
| Св. 24 до 32 | 6 | 40 | 3 | ±2 | |||||
* Передсваркой первого шва зазор на № 1/3 толщину основного металла необходимозаполнить флюсом, а затем на оставшиеся 2/3 крупкой из электродной проволоки,окатышами или другим гранулированным металлом.
Таблица11
Размеры,мм
| Условное обозначение сварного соединения | Конструктивные элементы | Способ сварки | s=s1 | h ±1 | f ±2 | е, не более | ||
| подготовленных кромок свариваемых деталей | сварного шва | |||||||
| С30 |
|
| АФф | От 16 до 22 | 8 | 9 | 18 | |
| Св. 22 до 26 | 13 | 14 | 24 | |||||
| Св. 26 до 32 | 18 | 18 | 28 | |||||
|
| ||||||||
Таблица 12
Размеры,мм
| Условное обозначение сварного соединения | Конструктивные элементы | Способ сварки | s=s1 | е | g | ||||
| подготовленных кромок свариваемых деталей | сварного шва | Номин. | Пред. откл. | Номин. | Пред. откл. | ||||
| С9 |
|
| АФф; AФм | От 8 до 9 | 18 | ±3 | 1,5 | ±1,0 | |
| С. 9 до 10 | 20 | ±4 | |||||||
| Св. 10 до 14 | 22 | 2,0 | +1,0 -1,5 | ||||||
| Св. 14 до 20 | 24 | 2,5 | +1,0 -2,0 | ||||||
Примечание. Допускается отсутствие выпуклости обратной стороны шва и местныевогнутости глубиной не более 0,1s при полном проплавлениикромок.
Таблица 13
Размеры,мм
| Условное обозначение сварного соединения | Конструктивные элементы | Способ сварки | s=s1 | b | d, не менее | m, не менее | е | g | ||||
| подготовленных кромок свариваемых деталей | сварного шва | Номин. | Пред. откл. | Номин. | Пред. откл. | Номин. | Пред. откл. | |||||
| С10 |
|
| АФо; МФо | 8 | 2 | ±1,0 | 3 | 25 | 18 | ±3 | 1,5 | ±1,0 |
| Св. 8 до 10 | 20 |
| ||||||||||
| Св. 10 до 12 | 22 | ±4 | 2,0 | +1,0 | ||||||||
| Св. 12 до 14 | 3 | ±1,5 | 4 | -1,5 | ||||||||
| Св. 14 до 16 | 24 | 2,5 | +1,0 -2,0 | |||||||||
| Св. 16 до 18 | 4 | 30 | ||||||||||
| Св. 19 до 20 | 6 | |||||||||||
| Св. 20 до 24 | 5 | 26 | +1,5 -2,0 | |||||||||
| Св. 24 до 30 | 40 | 30 | ||||||||||
Таблица14
Размеры,мм
| Условное обозначение сварного соединения | Конструктивные элементы | Способ сварки | s | b | е | g | ||||
| подготовленных кромок свариваемых деталей | сварного шва | Номин. | Пред. откл. | Номин. | Пред. откл. | Номин. | Пред. откл. | |||
| С11 |
|
| АФо | 8 | 2 | ±1,0 | 18 | ±3 | 1,5 | +1,0 |
| Св. 8 до 10 | 20 |
| ||||||||
| Св. 10 до 12 | 22 | ±4 | 2,0 | +1,0 | ||||||
| Св. 12 до 14 | 3 | ±1,5 | -1,5 | |||||||
| Св. 14 до 16 | 24 | 2,5 | +1,0 | |||||||
| Св. 16 до 20 | 4 | -2,0 | ||||||||
| Св. 20 до 24 | 5 | 26 | +1,5 | |||||||
| Св. 24 до 30 | 30 | -2,0 | ||||||||
Таблица 15
Размеры,мм
| Условное обозначение сварного соединения | Конструктивные элементы | Способ сварки | s=si | е | g | |||
| подготовленных кромок свариваемых деталей | сварного шва | Номин | Пред откл. | Номин. | Пред. откл. | |||
| C12 |
|
| АФ | 14 | 18 | ±3 | 2,0 | +1,0 -1,5 |
| Св. 14 до 16 | 2,5 | +1,0 -2,0 | ||||||
| Св. 16 до 20 | 22 | ±4 | ||||||
Таблица 16
Размеры,мм
| Условное обозначение сварного соединения | Конструктивные элементы | Способ сварки | s=si | е | g | |||
| подготовленных кромок свариваемых деталей | сварного шва | Номин | Пред откл. | Номин. | Пред. откл. | |||
| С31 |
|
| АФф | 16 | 19 | ±2 | 2,0 | +1,0 -2,0 |
| Св. 16 до 20 | 20 | |||||||
| Св. 20 до 25 | 22 | |||||||
| Св. 25 до 30 | 23 | ±3 | ||||||
| Св. 30 до 35 | 25 | |||||||
| Св. 35 до 40 | 26 | ±4 | ||||||
| Св. 40 до 45 | 28 | +1,5 -2,0 | ||||||
| Св. 45 до 50 | 30 | |||||||
Таблица 17
Размеры,мм
| Условное обозначение сварного соединения | Конструктивные элементы | Способ сварки | s=si | е | g | |||
| подготовленных кромок свариваемых деталей | сварного шва | Номин | Пред откл. | Номин. | Пред. откл. | |||
| C32 |
|
| АФф | 16 | 19 | ±3 | 2,5 | +1,0 -2,0 |
| Св. 16 до 20 | 20 | |||||||
| Св. 20 до 25 | 21 | |||||||
| Св. 25 до 30 | 22 | |||||||
| Св. 30 до 35 | 23 | |||||||
| Св. 35 до 40 | 24 | ±4 | ||||||
| Св. 40 до 45 | 25 | +1,5 -2,0 | ||||||
| Св. 45 до 50 | 26 | |||||||
Таблица 18
Размеры,мм
| Условное обозначение сварного соединения | Конструктивные элементы | Способ сварки | s=s1 | е | ||
| подготовленных кромок свариваемых деталей | сварного шва | Номин. | Пред. откл. | |||
| C15 |
|
| АФ | От 20 до 24 | 22 | ±3 |
| Св. 24 до 28 | 26 | ±4 | ||||
| Св. 28 до 30 | 30 | |||||
Таблица 19
Размеры,мм
| Условное обозначение сварного соединения | Конструктивные элементы | Способ сварки | s=s1 | с±1 | с | g | |||
| подготовленных кромок свариваемых деталей | сварного шва | Номин. | Пред. откл. | Номин. | Пред. откл. | ||||
| C18 |
|
| АФф | От 8 до 9 | 3 | 18 | ±3 | 1,5 | ±1,0 |
| Св. 9 до 10 | 20 | ||||||||
| Св. 10 до 12 | 22 | ±4 | 2,0 | +1,0 -1,5 | |||||
| Св. 18 до 14 | 4 | ||||||||
| Св. 14 до 20 | 24 | 2,5 | +1,0 -2,0 | ||||||
| Св. 20 до 24 | 26 | ±5 | |||||||
Таблица 20
Размеры,мм
| Условное обозначение сварного соединения | Конструктивные элементы | Способ сварки | s=s1 | e | с±1 | ||
| подготовленных кромок свариваемых деталей | сварного шва | Номин. | Пред. откл. | ||||
| С18 |
|
| АФм | От 12 до 14 | 22 | ±4 | 3 |
| Св. 14 до 20 | 24 | ||||||
| Св. 20 до 26 | 26 | ±5 | 4 | ||||
| Св. 26 до 28 | 30 | 5 | |||||
| Св. 28 до 30 | |||||||
Таблица 21
Размеры,мм
| Условное обозначение сварного соединения | Конструктивные элементы | Способ сварки | s=s1 | b | d, не менее | m, не менее | e | g | ||||
| подготовленных кромок свариваемых деталей | сварного шва | Номин. | Пред. откл. | Номин. | Пред. откл. | Номин. | Пред. откл. | |||||
| Cl9 |
|
| АФо; МФо | 8 | 2 | ±1,0 | 3 | 30 | 16 | ±3 | 1,5 | ±1,0 |
| Св. 8 до 9 | 17 | |||||||||||
| Св. 9 до 10 | 18 | |||||||||||
| Св. 10 до 12 | 1,5 | 20 | ||||||||||
| Св. 12 до 14 | 4 | 23 | ||||||||||
| Св. 14 до 16 | 2,0 | +1,0 -1,5 | 24 | 2,0 | +1,0 -1,5 | |||||||
| Св. 16 до 18 | 4 | ±1,5 | 40 | 28 | ±4 | |||||||
| Св. 18 до 20 | 6 | 30 | ||||||||||
| Св. 20 до 22 | 5 | 32 | ||||||||||
| Св. 22 до 24 | 34 | |||||||||||
| Св. 24 до 26 | 50 | 36 | ||||||||||
| Св. 26 до 28 | 38 | |||||||||||
| Св. 28 до 30 | 40 | |||||||||||
Таблица 22
Размеры,мм
| Условное обозначение сварного соединения | Конструктивные элементы | Способ сварки | s | b | e | |||
| подготовленных кромок свариваемых деталей | сварного шва | Номин. | Пред. откл. | Номин. | Пред. откл. | |||
| C20 |
|
| АФо | 8 | 2 | ±1,0 | 16 | ±3 |
| Св. 8 до 9 | 17 | |||||||
| Св. 9 до 10 | 18 | |||||||
| Св. 10 до 12 | 20 | |||||||
| Св. 12 до 14 | 3 | ±1,5 | 23 | |||||
| Св. 14 до 16 | 24 | |||||||
| Св. 16 до 18 | 4 | 28 | ||||||
| Св. 18 до 20 | 30 | ±4 | ||||||
| Св. 20 до 22 | 5 | 32 | ||||||
| Св. 22 до 24 | 34 | |||||||
| Св. 24 до 26 | 36 | |||||||
| Св. 26 до 28 | 38 | |||||||
| Св. 28 до 30 | 40 | |||||||
Таблица 23
Размеры,мм
| Условное обозначение сварного соединения | Конструктивные элементы | Способ сварки | s=s1 | е | g | с±2 | |||
| подготовленных кромок свариваемых деталей | сварного шва | Номин. | Пред. откл. | Номин. | Пред. откл. | ||||
| С21 |
|
| АФ; МФ | От 14 до 16 | 18 | ±3 | 2,0 | +1,0 -1,5 | 6 |
| Св. 16 до 20 | 22 | ±4 | 2,5 | +1,0 -2,0 | 7 | ||||
| Св. 20 до 24 | 24 | 8 | |||||||
| С в.24 до 30 | 30 | 3,0 | |||||||
Примечание. При способе сварки МФ притупление с=3±1 мм.
Таблица 24
Размеры,мм
| Условное обозначение сварного соединения | Конструктивные элементы | Способ сварки | s=s1 | е | g | ||||
| подготовленных кромок свариваемых деталей | сварного шва | Номин. | Пред. откл. | Номин. | Пред. откл. | ||||
| C21 |
|
| Афк; МФк | 14 | 20 | ±4 | 2,0 | +1,0 -1,5 | |
| Св. 14 до 16 | 2,5 | +1,0 -2,0 | |||||||
| Св. 16 до 20 | 25 | ±5 | |||||||
| Св. 20 до 24 | 30 | ±6 | |||||||
| Св. 24 до 30 | 37 | ±7 | |||||||
Таблица 25
Размеры,мм
| Условное обозначение сварного соединения | Конструктивные элементы | Способ сварки | s=s1 | h±1 | е | e1±2 | g | |||
| подготовленных кромок свариваемых деталей | сварного шва | Номин. | Пред. откл. | Номин. | Пред. откл. | |||||
| С21 |
|
| АФш; МФш | От 5 до 7 | 3 | 17 | ±3 | 12 | 1,5 | ±1,0 |
| Св. 7 до 8 | 4 | 13 | ||||||||
| Св. 8 до 9 | 20 | ±4 | ||||||||
| Св. 9 до 10 | 5 | 14 | ||||||||
| Св. 10 до 12 | 2,0 | +1,0 -1,5 | ||||||||
| Св. 12 до 14 | 8 | 16 | ||||||||
Таблица 26
Размеры,мм
| Условное обозначение сварного соединения | Конструктивные элементы | Способ сварки | s=s1 | е±4 | |
| подготовленных кромок свариваемых деталей | сварного шва | ||||
| C33 |
|
| АФф | От 14 до 18 | 22 |
| Св. 18 до 24 | 24 | ||||
| С в.24 до 30 | 30 | ||||
Таблица 27
Размеры,мм
| Условное обозначение сварного соединения | Конструктивные элементы | Способ сварки | s=s1 | е | g | R±1 | a, ° ±1° | |||
| подготовленных кромок свариваемых деталей | сварного шва | Номин. | Пред. откл. | Номин. | Пред. откл. | |||||
| С34 |
|
| АФо | 16 | 23 | ±4 | 2,5 | +1,0 -2,0 | 6 | 12 |
| Св. 16 до 20 | 25 | |||||||||
| Св. 20 до 25 | 28 | |||||||||
| Св. 25 до 30 | 31 | |||||||||
| Св. 30 до 35 | 33 | ±5 | ||||||||
| Св. 36 до 40 | 36 | |||||||||
| С в. 40 до 45 | 38 | ±6 | +1,5 2,0 | 8 | 10 | |||||
| Св. 456 до 50 | 41 | |||||||||
| Св. 50 до 55 | 44 | ±7 | 3,0 | +1,5 | ||||||
| Св. 55 до 80 | 46 | |||||||||
Таблица 28
Размеры,мм
| Условное обозначение сварного соединения | Конструктивные элементы | Способ сварки | s | е | g | R±1 | a, ° ±2° | |||
| подготовленных кромок свариваемых деталей | сварного шва | Номин. | Пред. откл. | Номин. | Пред. откл. | |||||
| С35 |
|
| АФо | 16 | 23 | ±4 | 2,5 | +1,0 | 6 | 12 |
| Св. 16 до 20 | 25 | |||||||||
| Св. 20до 25 | 27 | |||||||||
| Св. 25 до 30 | 30 | |||||||||
| Св. 30 до 35 | 31 | ±5 | ||||||||
| Св. 35 до 40 | 34 | +1,5 | ||||||||
| Св. 40 до 45 | 36 | ±6 | 8 | 10 | ||||||
| Св. 45 до 50 | 38 | |||||||||
Таблица 29
Размеры,мм
| Условное обозначение сварного соединения | Конструктивные элементы | Способ сварки | s=s1 | с±1 | R± | е | е1±4 | g | a, ° ±1° | |||
| подготовленных кромок свариваемых деталей | сварного шва | Номин. | Пред. откл. | Номин. | Пред. откл. | |||||||
| С23 |
|
| АФк | 24 | 6 | 6 | 24 | ±4 | 15 | 2,5 | +1,0 | 12 |
| Св. 24 , до 26 | 25 | |||||||||||
| Св. 26 до 28 | 26 | |||||||||||
| Св. 28 до 30 | 27 | |||||||||||
| Св. 30 до 32 | 28 | |||||||||||
| Св. 32 до 34 | 29 | 16 | ||||||||||
| Св. 34 до 36 | 30 | |||||||||||
| Св. 36 до 38 | 31 | |||||||||||
| Св. 38 до 40 | 8 | 8 | 32 | 10 | ||||||||
| Св. 40 до 42 | 33 | +1,5 -2,0 | ||||||||||
| Св. 42 до 45 | 34 | ±5 | ||||||||||
| Св. 45 до 48 | 36 | 18 | ||||||||||
| Св. 48 до 50 | 37 | |||||||||||
| Св. 50 до 55 | 39 | |||||||||||
| Св. 55 до 60 | 45 | ±6 | 2,5 | |||||||||
| Св. 60 до 65 | 47 | |||||||||||
| Св. 65 до 70 | 20 | |||||||||||
| Св. 70 до 80 | 51 | ±7 | ||||||||||
| Св. 80 до 90 | 55 | ±8 | ||||||||||
| Св. 90 до 100 | 59 | ±.9 | ||||||||||
| Св. 100 до 110 | 10 | 60 | 4,0 | +2,0 -3,0 | 8 | |||||||
| Св. 110 до 115 | 61 | |||||||||||
| Св. 115 до 120 | 63 | |||||||||||
| Св. 120 до 125 | 64 | ±10 | ||||||||||
| Св. 125 до 130 | 66 | |||||||||||
| Св. 130 до 140 | 69 | ±11 | ||||||||||
| Св. 140 до 150 | 72 | ±12 | ||||||||||
| Св. 150 до 160 | 76 | |||||||||||
Таблица30
Размеры,мм
| Условное обозначение сварного соединения | Конструктивные элементы | Способ сварки | s=s1 | e | g | |||
| подготовленных кромок свариваемых деталей | сварного шва | Номин. | Пред. откл. | Номин. | Пред. откл. | |||
| С36 |
|
| АФф | 20 | 30 | ±2 | 2,5 | +1,0 -2,0 |
| Св. 20 до 22 | 31 | |||||||
| Св. 22 до 24 | 32 | |||||||
| Св. 24 до 26 | 33 | |||||||
| Св. 2б до 28 | 34 | |||||||
| Св. 28 до 30 | ±3 | |||||||
| Св. 30 до 32 | 35 | |||||||
| Св. 32 до 34 | 36 | |||||||
| Св. 34 до 36 | 37 | |||||||
| Св. 36 до 38 | 38 | |||||||
| Св. 38 до 40 | 39 | +1,5 -2,0 | ||||||
| Св. 40 до 42 | 40 | |||||||
| Cв. 42 до 45 | 41 | ±4 | ||||||
| Св. 45 до 48 | 42 | |||||||
| Св. 48 до 50 | 43 | |||||||
| Св. 50 до 55 | 46 | |||||||
| Св. 55 до 60 | 49 | |||||||
Таблица 31
Размеры,мм
| Условное обозначение сварного соединения | Конструктивные элементы | Способ сварки | s | е | g | |||
| подготовленных кромок свариваемых деталей | сварного шва | Номин. | Пред. откл. | Номин. | Пред. откл. | |||
| C37 |
|
| АФо | 16 | 28 | ±2 | 2,5 | +1,0 -2,0 |
| Св. 16 до 20 | 30 |
| ||||||
| Св. 20 до 25 | 31 | ±3 | ||||||
| Св. 25 до 30 | 34 | |||||||
| Св. 30 до 35 | 36 | ±4 | ||||||
| Св. 35 до 40 | 38 | |||||||
| Св. 40 до 45 | 41 | |||||||
| Св. 45 до 50 | 43 | ±5 | +1,5 -2,0 | |||||
| Св. 50 до 55 | 45 | |||||||
| Св. 55 до 60 | 47 | |||||||
Таблица 32
Размеры,мм
| Условное обозначение сварного соединения | Конструктивные элементы | Способ сварки | s=s1 | е | g | |||
| подготовленных кромок свариваемых деталей | сварного шва | Номин. | Пред. откл. | Номин. | Пред. откл. | |||
| C25 |
|
| АФ; МФ | От 18 до 25 | 24 | ±4 | 2,5 | +1,0 -2,0 |
| Св. 25 до 38 | 28 | ±5 | ||||||
| Св. 38 до 48 | 32 | +1,5 -2,0 | ||||||
| Св. 48 до 54 | 36 | |||||||
| Св. 44 до 60 | 39 | |||||||
Примечание. При способе сварки МФ притупление с=3±1 мм.
Таблица 33
Размеры,мм
| Условное обозначение сварного соединения | Конструктивные элементы | Способ сварки | s=s1 | е | g | a, °±3° | |||
| подготовленных кромок свариваемых деталей | сварного шва | Номин. | Пред. откл. | Номин. | Пред. откл. | ||||
| C25 |
|
| АФк | От 24 до 28 | 24 | ±4 | 2,5 | +1,0 2,0 | 30 |
| Св. 28 до 38 | 29 | ±5 | |||||||
| Св. 38 до 48 | +1,5 -2,0 | ||||||||
| Св. 48 до 54 | 33 | 25 | |||||||
| Св. 54 до 60 | 36 | ||||||||
Таблица 34
Размеры,мм
| Условное обозначение сварного соединения | Конструктивные элементы | Способ сварки | s=s1 | е±4 | |
| подготовленных кромок свариваемых деталей | сварного шва | ||||
| С38 |
|
| АФф | От 18 до 25 | 24 |
| Св. 25 до 40 | 32 | ||||
| Св. 40 до 50 | 38 | ||||
| Св. 50 до 60 | 43 | ||||
Таблица 35
Размеры,мм
| Условное обозначение сварного соединения | Конструктивные элементы | Способ сварки | s=s1 | h ±1 | е | е1±2 | g | a, ° | ||||
| подготовленных кромок свариваемых деталей | сварного шва | Номин. | Пред. откл. | Номин. | Пред. откл. | Номин. | Пред. откл. | |||||
| C39 |
|
| АФш; МФш | От 16 до 20 | 8 | 18 | ±3 | 16 | 2,5 | +1,0 -2,0 | 25 | ±3 |
| Св. 20 до 26 | 22 | ±4 | ||||||||||
| Cв. 26 до 32 | 9 | 26 |
| 17 | ||||||||
| Св. 32 до 36 | 28 | ±5 | ||||||||||
| Св. 36 до 38 | 10 | 19 | ||||||||||
| Св. 38 до 44 | 34 | 20 | +1,5 -2,0 | 22 | ±2 | |||||||
| Св. 44 до 50 | 40 | |||||||||||
| Св. 50 до 56 | 45 | 20 | ||||||||||
| Св. 56 до 60 | 50 | |||||||||||
(Поправка,ИУС 6-2007).
Таблица 36
Размеры,мм
| Условное обозначение сварного соединения | Конструктивные элементы | Способ сварки | s=s1 | е | g | a, °±2° | R ±1 | |||
| подготовленных кромок свариваемых деталей | сварного шва | Номин. | Пред. откл. | Номин. | Пред. откл. | |||||
| C26 |
|
| АФ | 50 | 27 | ±3 | 2,5 | +1,0 -2,0 | 12 | 6 |
| Св. 50 до 55 | 28 | |||||||||
| Св. 55 до 60 | 29 | |||||||||
| Св. 60 до 65 | 31 | ±4 | ||||||||
| Св. 55 до 70 | 32 | |||||||||
| Св. 70 до .80 | 34 | |||||||||
| Св. 80 до 90 | 36 | ±5 | +1,5 -2,0 | 10 | 8 | |||||
| Св. 90 до 100 | 38 | |||||||||
| Св. 100 до 110 | 40 | |||||||||
| Св. 110 до 115 | 41 | ±6 | ||||||||
| Св. 115 до 120 | 43 | |||||||||
| Св. 120 до 125 | 44 | |||||||||
| Св. 125 до 130 | 45 | |||||||||
| Св. 130 до 140 | 47 | |||||||||
| Св. 140 до 150 | 49 | ±7 | ||||||||
| Св. 150 до 160 | 51 | ±8 | ||||||||
Таблица 37
Размеры,мм
| Условное обозначение сварного соединения | Конструктивные элементы | Способ сварки | s=s1 | R±1 | е | п | a, °±2° | |||
| подготовленных кромок свариваемых деталей | сварного шва | Номин. | Пред. откл. | Номин. | Пред. откл. | |||||
| С40 |
|
| АФш | От 24 до 28 | 6 | 25 | ±5 | 2,5 | +1,0 -2,0 | 12 |
| Св. 28 до 36 | 28 | ±6 | ||||||||
| Св. 36 до 40 | 31 | |||||||||
| Св. 40 до 42 | 8 | +1,5 -2,0 | 10 | |||||||
| Св. 42 до 55 | 36 | ±7 | ||||||||
| Св. 55 до 65 | 46 | |||||||||
| Св. 65 до 80 | 50 | ±9 | ||||||||
| Св. 80 до 100 | 58 | 10 | ||||||||
| Св. 100 до 110 | 10 | 61 | 8 | |||||||
| Св. 110 до 115 | 63 | |||||||||
| Св. 115 до 120 | 65 | |||||||||
| Св. 120 до 125 | 67 | |||||||||
| Св. 125 до 130 | 68 | ±11 | ||||||||
Таблица 38
Размеры,мм
| Условное обозначение сварного соединения | Конструктивные элементы | Способ сварки | s=s1 | е | п | |||
| подготовленных кромок свариваемых деталей | сварного шва | Номин. | Пред. откл. | Номин. | Пред. откл. | |||
| C41 |
|
| АФш | 24 | 28 | ±3 | 2,5 | +1,0 -2,0 |
| Св. 24 до 26 | 29 | |||||||
| Св. 26 до 30 | 31 | |||||||
| Св. 30 до 32 | 32 | |||||||
| Св. 32 до 34 | 33 | |||||||
| Св. 34 до 36 | 34 | ±4 | ||||||
| Св. 36 до 38 | 35 | |||||||
| Св. 38 до 42 | 36 | +1,5 -2,0 | ||||||
| Св. 42 до 45 | 38 | |||||||
| Св. 45 до 50 | 40 | |||||||
| Св. 50 до 55 | 42 | ±5 | ||||||
| Св. 55 до 60 | 45 | |||||||
Таблица39
Размеры,мм
| Условное обозначение сварного соединения | Конструктивные элементы | Способ сварки | s | е+3 | i | R | |
| подготовленных кромок свариваемых деталей | сварного шва | ||||||
| У1 |
|
| AФ; МФ | 1,5-3,0 | s+s1 | s-3s | s-1,5s |
*Размердля справок.
Таблица 40
Размеры,мм
| Условное обозначение сварного соединения | Конструктивные элементы | Способ сварки | s | n ±1 | |
| подготовленных кромок свариваемых деталей | сварного шва | ||||
| У5 |
|
| АФш; МФш | 4 | 1,5 |
| Св. 4 до 9 | 2 | ||||
| Св. 9 до 14 | 3 | ||||
Таблица 41
Размеры,мм
| Условное обозначение сварного соединения | Конструктивные элементы | Способ сварки | s | е | ||
| подготовленных кромок свариваемых деталей | сварного шва | Номин. | Пред. откл. | |||
| У7 |
|
| АФш; МФш | От 8 до 9 | 13 | ±3 |
| Св. 9 до 12 | 16 | |||||
| Св. 12 до 14 | 20 | |||||
| Св. 14 до 20 | 25 | ±4 | ||||
Таблица 42
Размеры,мм
| Условное обозначение сварного соединения | Конструктивные элементы | Способ сварки | s | h±l | е | g1, ±2 | е1, ±3 | ||
| подготовленных кромок свариваемых деталей | сварного шва | Номин. | Пред. откл. | ||||||
| У3 |
|
| АФш; МФш | От 20 до 24 | 7 | 20 | ±3 | 3 | 17 |
| Св. 24 до 28 | 8 | 25 | ±4 | 4 | |||||
| С ч. 28 до 34 | 10 | 30 | 5 | 20 | |||||
| Св. 34 до 40 | 12 | 49 | 23 | ||||||
Таблица 43
Размеры,мм
| Условное обозначение сварного соединения | Конструктивные элементы | Способ сварки | s | b | ||
| подготовленных кромок свариваемых деталей | сварного шва | Номин. | Пред. откл. | |||
| Т1 |
|
| АФ; МФ | 3 | 0 | +0,8 |
| Св. 3 до 5 | +1,0 | |||||
| Св. 5 до 40 | +1,5 | |||||
Таблица 44
Размеры,мм
| Условное обозначение сварного соединения | Конструктивные элементы | Способ сварки | s | b | ||
| подготовленных кромок свариваемых деталей | сварного шва | Номин. | Пред. откл. | |||
| Т3 |
|
| АФ; МФ | 3 | 0 | +0,8 |
| Св. 3 до 5 | +1,0 | |||||
| Св. 5 до 40 | +1,5 | |||||
Таблица 45
Размеры,мм
| Условное обозначение сварного соединения | Конструктивные элементы | Способ сварки | s | b | ||
| подготовленных кромок свариваемых деталей | сварного шва | Номин. | Пред. откл. | |||
| Т3 |
|
| АФш; МФш | От 3 до 5 | 0 | +1,5 |
| Св. 5 до 9 | +2,0 | |||||
| Св. 9 до 10 | ||||||
| Св. 10 до 14 | +3,0 | |||||
| Св. 14 до 20 | ||||||
Таблица 46
Размеры,мм
| Условное обозначение сварного соединения | Конструктивные элементы | Способ сварки | s | g±2 | е | ||
| подготовленных кромок свариваемых деталей | сварного шва | Номин. | Пред. откл. | ||||
| T7 |
|
| АФш; МФш | От 8 до 9 | 4 | 15 | ±3 |
| Св. 8 до 14 | 5 | 22 | |||||
| Св. 14 до 20 | б | 30 | ±4 | ||||
| Св. 20 до 24 | 7 | 39 | |||||
| Св. 24 до 26 | 8 | ||||||
| Св. 26 до 28 | 9 | 45 | ±5 | ||||
| Св. 28 до 30 | 10 | ||||||
Таблица 47
Размеры,мм
| Условное обозначение сварного соединения | Конструктивные элементы | Способ сварки | s | е | g±2 | ||
| подготовленных кромок свариваемых деталей | сварного шва | Номин. | Пред. откл. | ||||
| T2 |
|
| АФш | 16 | 18 | ±3 | 6 |
| Св. 16 до 18 | 19 | ||||||
| Св. 18 до 20 | 20 | ||||||
| Св. 20 до 22 | 7 | ||||||
| Св. 22 до 24 | 21 | ||||||
| Св. 24 до 26 | 22 | ||||||
| Св. 26 до 28 | ±4 | 8 | |||||
| Св. 28 до 30 | 23 | ||||||
Таблица 48
Размеры,мм
| Условное обозначение сварного соединения | Конструктивные элементы | Способ сварки | s | g±2 | е | ||
| подготовленных кромок свариваемых деталей | сварного шва | Номин. | Пред. откл. | ||||
| T8 |
|
| АФ; МФ | От 16 до 18 | 4 | 25 | +4 -7 |
| Св. 16 до 22 | 5 | 30 | +4 -8 | ||||
| Св. 22 до 26 | 6 | 36 | +4 -10 | ||||
| Св. 26 до 30 | 7 | 40 | +4 11 | ||||
| Св. 30 до 36 | 8 | 50 | +4 -12 | ||||
| Св. 36 до 40 | 9 | 56 | +4 -16 | ||||
Примечание. При способе сварки МФ притупление с=3±1мм.
Таблица 49
Размеры,мм
| Условное обозначение сварного соединения | Конструктивные элементы | Способ сварки | s | h±1 | g | g1±2 | е | е1 | ||||
| подготовленных кромок свариваемых деталей | сварного шва | Номин. | Пред. откл. | Номин. | Пред. откл. | Номин. | Пред. откл. | |||||
| T4 |
|
| АФш; МФш | 20 | 7 | 6 | ±2 | 3 | 26 | +4 -7 | 13 | ±3 |
| Св. 20 до 24 | 7 | |||||||||||
| Св. 24 до 28 | 8 | 8 | 4 | 29 | +4 -8 | |||||||
| Св. 28 до 34 | 10 | 10 | 5 | 35 | +4 -10 | 17 | ||||||
| Св. 34 до 40 | 12 | 12 | ±3 | 40 | +4 -11 | |||||||
(Поправка,ИУС 6-2007).
Таблица 50
Размеры,мм
| Условное обозначение сварного соединения | Конструктивные элементы | Способ сварки | s | е±2 | е±2 | |
| подготовленных кромок свариваемых деталей | сварного шва | |||||
| Т5 |
|
| АФ | 30 | 16 | 6 |
| Св. 30 до 34 | 17 | |||||
| Св. 34 до 40 | 18 | |||||
| Св. 40 до 42 | 19 | 7 | ||||
| Св. 42 до 45 | 20 | |||||
| Св. 45 до 50 | 26 | |||||
| Св. 50 до 55 | 8 | |||||
| Св. 55 до 60 | 28 | |||||
Таблица 51
Размеры,мм
| Условное обозначение сварного соединения | Конструктивные элементы | Способ сварки | s | b | ||
| подготовленных кромок свариваемых деталей | сварного шва | Номин. | Пред. откл. | |||
| Н1 |
|
| АФ; МФ | От 1 до 5 | 0 | +1,0 |
| Св. 5 до 10 | +2,0 | |||||
| Св. 10 до 20 | +3,0 | |||||
Таблица 52
Размеры,мм
| Условное обозначение сварного соединения | Конструктивные элементы | Способ сварки | s | b | ||
| подготовленных кромок свариваемых деталей | сварного шва | Номин. | Пред. откл. | |||
| Н2 |
|
| АФ; МФ | От 1 до 5 | 0 | +1,0 |
| Св. 5 до 10 | +2,0 | |||||
| Св. 10 до 20 | +3,0 | |||||
(Измененная редакция,Изм. № 1, 2, 3).
5. При сварке кольцевых швов стыковых соединений допускается увеличениевыпуклости g,g1 до 30 %.
(Измененная редакция, Изм. № 3).
6. Сварные соединения Т7, Т8, Т4 следуетвыполнять в положении «в лодочку» по ГОСТ 11969-79.
Угловые швы без скоса кромок разрешается выполнять как в нижнемположении, так и в положении «в лодочку»по ГОСТ 11969-79.
7. Подварочный шов и подварку корня шва разрешается выполнять любымспособом дуговой сварки.
8. Сварка стыковых соединений деталей неодинаковой толщины при разнице,не превышающей значений, указанных в табл. 53, должна производитьсятакже, как деталей одинаковой толщины; конструктивные элементы подготовленныхкромок и размеры сварного шва следует выбирать по большей толщине.
Таблица 53
мм
| Разность толщин деталей | |
| От 2 до 4 | 1 |
| Св 4 » 30 | 2 |
| » 30 » 40 | 4 |
| » 40 | 6 |
Для осуществления плавногоперехода от одной детали к другой допускается наклонное расположениеповерхности шва (черт.1).
Черт. 1
При разнице толщины свариваемых деталей свыше значений, указанных в табл. 53,на детали, имеющей большую толщину s1, должен бытьсделан скос с одной или с двух сторон до толщины тонкой детали s, как указано на черт. 2, 3и 4. При этом конструктивные элементы подготовленныхкромок и размеры сварного шва следует выбирать по меньшей толщине.
Черт. 2
Черт. 3
Черт. 4
9. Размер и предельные отклонения катета углового шва К, К1должны быть установлены при проектировании. При этом размер катета долженбыть не более 3 мм для деталей толщиной до 3 мм включительно и 1,2 толщиныболее тонкой детали при сварке детален толщиной свыше 3 мм. Предельныеотклонения размера катета угловых швов от номинального значения приведены в приложении 3.
(Измененная редакция, Изм. № 2).
10. (Исключен, Изм. № 2).
11. Допускается выпуклость или вогнутость углового шва до 30 % егокатета. При этом вогнутость не должна приводить к уменьшению значения катета Кп(черт. 5),установленного при проектировании.
Черт. 5
Примечание. Катетом Кпявляется катет наибольшего прямоугольного треугольника, вписанного во внешнюючасть углового шва. При симметричном шве за катет Кппринимается любой из равных катетов, при несимметричном шве - меньший.
12. Минимальные значения катетов угловых швов приведены в рекомендуемом приложении 1.
13. При применении сварки под флюсом взамен ручной дуговой сварки катетуглового шва расчетного соединения может быть уменьшен до значений, приведенныхв рекомендуемом приложении 2.
14. Допускается смешение свариваемых кромок перед сваркой относительнодруг друга не более:
0,5 мм - для деталей толщиной до 4 мм;
1,0 мм - для деталей толщиной 4-10 мм;
0,1 s мм, но не более 3 мм -для деталей толщиной более 10 мм.
15. Допускается в местах перекрытия сварных швов и в местах исправлениядефектов увеличение размеров швов до 30% номинального значения.
16. При подготовке кромок с применением ручного инструмента, предельныеотклонения утла скоса кромок могут быть увеличены до ±5°. При этомсоответственно может быть изменена ширина шва, е, е1.
15, 16. (Введен дополнительно, Изм. № 2).
Рекомендуемое
мм
| Предел текучести свариваемой стали, МПа | Минимальное значение катетов углового шва для свариваемого элемента большей толщины | |||||||
| от 3 до 4 | св. 4 до 5 | св. 5 до 10 | св. 10 до 16 | св. 16 до 22 | св. 22 до 32 | св. 32 до 40 | св. 40 до 80 | |
| До 400 | 3 | 3 | 4 | 5 | 6 | 7 | 8 | 9 |
| Св. 400 до 450 | 3 | 4 | 5 | 6 | 7 | 8 | 9 | 10 |
Примечание. Максимальное значениекатетов не должно превышать 1,2 толщины более тонкого элемента.
(Измененная редакция, Изм. № 3).
Рекомендуемое
мм
| Катет углового шва для сварки | ||||
| ручной дуговой | под флюсом | |||
| проволокой диаметром от 3 до 5 | проволокой диаметром от 1,4 до 2,5 | |||
| в положении «в лодочку» | в нижнем положении | в положении «в лодочку» | в нижнем положении | |
| 4 | 3 | 3 | 3 | 3 |
| 5 | 3 | 3 | 4 | 4 |
| 6 | 4 | 4 | 5 | 5 |
| 7 | 5 | 5 | 6 | 6 |
| 8 | 5 | 5 | 6 | 6 |
| 9 | 6 | 7 | 7 | 8 |
| 10 | 6 | 8 | 8 | 9 |
| 11 | 7 | 9 | 9 | 10 |
| 12 | 8 | 9 | 9 | 11 |
| 13 | 8 | 10 | 11 | 13 |
| 14 | 9 | 11 | 12 | 14 |
| 15 | 10 | 12 | 13 | 15 |
| 16 | 10 | 13 | 14 | 16 |
| 17 | 13 | 17 | 17 | 17 |
| 18 | 14 | 18 | 18 | 18 |
| 19 | 15 | 19 | 19 | 19 |
| 20 | 16 | 20 | 20 | 20 |
| 21 | 16 | 21 | 21 | 21 |
| 22 | 17 | 22 | 22 | 22 |
| 23 | 23 | 23 | 23 | 23 |
| 24 | 24 | 24 | 24 | 24 |
| 26 | 25 | 25 | 25 | 25 |
Рекомендуемое
| Номинальный размер катета углового шва | Предельные отклонения размера катета углового шва от номинального значения |
| До 5 | +1,0 |
| Св. 5 до 8 | +2,0 |
| Св. 8 до 12 | +2,5 |
| Св. 12 | +3,0 |
(Введено дополнительно,Изм. № 2).
ИНФОРМАЦИОННЫЕ ДАННЫЕ
1.РАЗРАБОТАН Государственным комитетом СССР по стандартам. Академией наук УССР
РАЗРАБОТЧИКИ:
И. А. Серебряник (руководитель темы); Л. М. Титкова; М.Н. Шабалкин, А. А. Казимиров (руководитель темы); В. П. Лозовский
2.ВНЕСЕН Государственным комитетом СССР по стандартам
3. УТВЕРЖДЕН И ВВЕДЕН В ДЕЙСТВИЕ ПостановлениемГосударственного комитета СССР по стандартам от 26.12.79 № 5047
4. ВЗАМЕН ГОСТ 8713-70
5. ССЫЛОЧНЫЕНОРМАТИВНО-ТЕХНИЧЕСКИЕ ДОКУМЕНТЫ
| Обозначение НТД, на который дана ссылка | Номер пункта |
| ГОСТ 11969-79 |
6. ПЕРЕИЗДАНИЕ (июль 1993 г.) с Изменениями № 1, 2, 3, утвержденнымив августе 1986 г., январе 1989 г., июле 1990 г. (ИУС 11-86, 4-89, 10-90)