Стандарт распространяется на медные кабельные наконечники, закрепляемые опрессовкой и предназначенные для оконцевания проводов и кабелей с медными жилами сечением от 2,5 до 300 мм2 на напряжение до 35 кВ.
Стандарт не распространяется на наконечники, применяемые в полупроводниковой технике.
| Обозначение: | ГОСТ 7386-80* |
| Название рус.: | Наконечники кабельные медные, закрепляемые опрессовкой. Конструкция и размеры |
| Статус: | действующий |
| Заменяет собой: | ГОСТ 7386-70 |
| Дата актуализации текста: | 01.10.2008 |
| Дата добавления в базу: | 01.02.2009 |
| Дата введения в действие: | 01.01.1983 |
| Разработан: | Минмонтажспецстрой СССР |
| Утвержден: | Госстандарт СССР (07.02.1980) |
| Опубликован: | Издательство стандартов № 1980<br>Издательство стандартов № 1994 |

ГОСУДАРСТВЕННЫЙСТАНДАРТ СОЮЗА ССР
НАКОНЕЧНИКИКАБЕЛЬНЫЕ МЕДНЫЕ,
ЗАКРЕПЛЯЕМЫЕ ОПРЕССОВКОЙ
КОНСТРУКЦИЯ ИРАЗМЕРЫ ГОСТ 7386-80
ИЗДАТЕЛЬСТВОСТАНДАРТОВ
Москва
ГОСУДАРСТВЕННЫЙСТАНДАРТ СОЮЗА ССР
| НАКОНЕЧНИКИ КАБЕЛЬНЫЕ МЕДНЫЕ, Конструкция и размеры Pressfastened copper cable thimbles. | ГОСТ |
Дата введения 01.01.83
1.Настоящий стандарт распространяется на медные кабельные наконечники, закрепляемыеопрессовкой и предназначенные для оконцевания проводов и кабелей с меднымижилами сечением от 2,5 до 300 мм2 на напряжение до 35 кВ.
Стандартне распространяется па наконечники, применяемые в полупроводниковой технике.
2. Конструкция, основные размеры, условное обозначение с указаниемвида климатического исполнения по ГОСТ15150, коды ОКП, предельные отклонения, расчетная масса наконечников иместо нанесения маркировки должны соответствовать указанным на чертеже и втаблице.

Размеры, мм
| Обозначение | Код ОКП | Длина контактного стержня | D | d | d1 | C | L | lМИН | l1 | l2 | S** | В, не более | RMAX | Расчетная масса 1000 шт., кг, не более |
| 2,5-3-2,6-М-УХЛЗ* | 31 4982 0011 | 3 | 3,2 | 5 | 2,6 | 0,6 | 28±1,0 | 10 | 12±0,3 | 4,0 | 2,0 | 7 | 10 | 3,1 |
| 2,5-3-2,6-М-2Т* | 31 4982 0012 | |||||||||||||
| 2,5-4-2,6-М-УХЛЗ | 31 4982 0021 | 4 | 4,3 | 5,0 | 1,7 | 8 | ||||||||
| 2,5-4-2,6-М-Т2 | 31 4982 0022 | |||||||||||||
| 2,5-5-2,6-М-УХЛЗ | 31 4982 0031 | 5 | 5,3 | 7,0 | 1,3 | 10 | ||||||||
| 2,5-5-2,6-М-Т2 | 31 4982 0032 | |||||||||||||
| 2,5-6-2,6-М-УХЛЗ* | 31 4982 0033 | 6 | 6,4 | 30±1,0 | 14±0,3 | 1,0 | 12 | 3,0 | ||||||
| 2,5-6-2,6-М-Т2* | 31 4982 0034 | |||||||||||||
| 4-4-3-М-УХЛЗ | 31 4982 0041 | 4 | 4,3 | 3,0 | 0,5 | 32±1,0 | 12 | 16±0,4 | 5,0 | 1,4 | 8 | 3,6 | ||
| 4-4-3-М-Т2 | 31 4982 0042 | |||||||||||||
| 4-5-3-М-УХЛЗ | 31 4982 0051 | 5 | 5,3 | 7,0 | 1,1 | 10 | 3,1 | |||||||
| 4-5-3-М-Т2 | 31 4982 0052 | |||||||||||||
| 4-6-3-М-УХЛЗ | 31 4982 0061 | 6 | 6,4 | 8,5 | 1,0 | 12 | 3,2 | |||||||
| 4-6-3-М-Т2 | 31 4982 0062 | |||||||||||||
| 6-4-4-М-УХЛЗ* | 31 4982 0071 | 4 | 4,3 | 6 | 4,0 | 5,0 | 1,6 | 9 | 4,3 | |||||
| 6-4-4-М-Т2* | 31 4982 0072 | |||||||||||||
| 6-5-3-М-УХЛЗ | 31 4982 0081 | 5 | 5,3 | 7,0 | 1,5 | 10 | 3,9 | |||||||
| 6-5-3-М-Т2 | 31 4982 0082 | |||||||||||||
| 6-5-3-М-УХЛЗ | 31 4982 0091 | 6 | 6,4 | 8,5 | 1,2 | 12 | ||||||||
| 6-5-3-М-Т2 | 31 4982 0092 | |||||||||||||
| 10-5-5-М-УХЛЗ* | 34 4982 0101 | 5 | 5,3 | 8 | 5,0 | 0,8 | 40±1,0 | 14 | 20±0,6 | 7,0 | 2,5 | 11 | 10 | 10,0 |
| 10-5-5-М-Т2* | 34 4982 0102 | |||||||||||||
| 10-6-5-М-УХЛЗ | 34 4982 0111 | 6 | 6,4 | 8,5 | 1,9 | 14 | 9,8 | |||||||
| 10-6-5-М-Т2 | 34 4982 0112 | |||||||||||||
| 10-8-5-М-УХЛЗ | 34 4982 0121 | 8 | 8,4 | 11,0 | 1,7 | 16 | 9,2 | |||||||
| 10-8-5-М-Т2 | 34 4982 0122 | |||||||||||||
| 16-6-6-М-УХЛЗ | 34 4982 0131 | 6 | 6,4 | 9 | 6,0 | 8,5 | 2,2 | 14 | 11,6 | |||||
| 16-6-6-М-Т2 | 34 4982 3132 | |||||||||||||
| 16-8-6-М-УХЛЗ | 34 4982 0141 | 8 | 8,4 | 11,0 | 1,9 | 16 | 10,4 | |||||||
| 16-8-6-М-Т2 | 34 4982 0142 | |||||||||||||
| 25-6-7-М-УХЛЗ* | 34 4982 0151 | 6 | 6,4 | 10 | 7,0 | 45±1,0 | 20 | 8,5 | 2,5 | 15 | 5,5 | |||
| 25-6-7-М-Т2* | 34 4982 0152 | |||||||||||||
| 25-8-7-М-УХЛЗ* | 34 4982 0161 | 8 | 8,4 | 11,0 | 2,2 | 16 | 13,8 | |||||||
| 25-8-7-М-Т2* | 34 4982 0162 | |||||||||||||
| 25-6-8-М-УХЛЗ* | 34 4982 0171 | 6 | 6,4 | 11 | 8,0 | 50±1,0 | 22±0,6 | 8,5 | 2,5 | 15 | 19,8 | |||
| 25-6-8-М-Т2* | 34 4982 0172 | |||||||||||||
| 25-8-8-М-УХЛЗ | 34 4982 0181 | 8 | 8,4 | 11,0 | 17,9 | |||||||||
| 25-8-8-М-Т2 | 34 4982 0182 | |||||||||||||
| 25-10-8-М-УХЛЗ | 34 4982 0191 | 10 | 10,5 | 11 ,5 | 2,0 | 20 | 16,7 | |||||||
| 25-10-8-М-Т2 | 34 4982 0192 | |||||||||||||
| 35-8-9-М-УХЛЗ* | 34 4982 0201 | 8 | 8,4 | 12 | 9,0 | 60±1,5 | 24 | 11,0 | 2,5 | 18 | 25,0 | |||
| 35-8-9-М-Т2* | 34 4982 0202 | |||||||||||||
| 35-10-9-М-УХЛЗ* | 34 4982 0211 | 10 | 10,5 | 11,5 | 2,0 | 20 | 24,6 | |||||||
| 35-10-9-М-Т2* | 34 4982 0212 | |||||||||||||
| 35-12-9-М-УХЛЗ* | 34 4982 0221 | 12 | 13,0 | 25±0,6 | 13,5 | 2,0 | 22 | 24,1 | ||||||
| 35-12-9-М-Т2* | 34 4982 0222 | |||||||||||||
| 35-8-10-М-УХЛЗ | 34 4982 0231 | 8 | 8,4 | 13 | 10 | 63±1,5 | 11,0 | 2,3 | 20 | 27,3 | ||||
| 35-8-10-М-Т2 | 34 4982 0232 | |||||||||||||
| 35-10-10-М-УХЛЗ | 34 4982 0241 | 10 | 10,5 | 12,5 | 25,8 | |||||||||
| 35-10-10-М-Т2 | 34 4982 0242 | |||||||||||||
| 35-12-10-М-УХЛЗ | 34 4982 0251 | 12 | 13,0 | 13,5 | 2,1 | 22 | 23,6 | |||||||
| 35-12-10-М-Т2 | 34 4982 0252 | |||||||||||||
| 50-8-11-М-УХЛЗ | 34 4982 0261 | 8 | 8,4 | 14 | 11 | 11,0 | 2,3 | 20 | 31,4 | |||||
| 50-8-11-М-Т2 | 34 4982 0262 | |||||||||||||
| 50-10-11-М-УХЛЗ | 34 4982 0271 | 10 | 10,5 | 12,5 | 2,1 | 22 | 30,0 | |||||||
| 50-10-11-М-Т2 | 34 4982 0272 | |||||||||||||
| 50-12-11-М-УХЛЗ | 34 4982 0281 | 12 | 13,0 | 13,5 | 1,9 | 24 | 27,4 | |||||||
| 50-12-11-М-Т2 | 34 4982 0282 | |||||||||||||
| 50-8-12-М-УХЛЗ* | 34 4982 0291 | 8 | 8,4 | 15 | 12 | 65±1,5 | 26±0,6 | 11,0 | 2,4 | 22 | 34,0 | |||
| 50-8-12-М-Т2* | 34 4982 0292 | |||||||||||||
| 50-10-12-М-УХЛЗ* | 34 4982 0301 | 10 | 10,5 | 12,5 | 32,3 | |||||||||
| 50-10-12-М-Т2* | 34 4982 0302 | |||||||||||||
| 50-12-12-М-УХЛЗ | 34 4982 0303 | 12 | 13,0 | 13,5 | 2,2 | 24 | 28,6 | |||||||
| 50-12-12-М-Т2 | 34 4982 0304 | |||||||||||||
| 70-10-13-М-УХЛЗ | 34 4982 0311 | 10 | 10,5 | 16 | 13 | 26 | 27±0,6 | 12,5 | 2,8 | 37,4 | ||||
| 70-10-13-М-Т2 | 34 4982 0312 | |||||||||||||
| 70-12-13-М-УХЛЗ | 34 4982 0321 | 12 | 13,0 | 13,5 | 35,7 | |||||||||
| 70-12-13-М-Т2 | 34 4982 0322 | |||||||||||||
| 95-10-15-М-УХЛЗ* | 34 4982 0331 | 10 | 10,5 | 19 | 15 | 1,0 | 75±1,5 | 32 | 27±0,6 | 12,5 | 3,4 | 28 | 20 | 66,8 |
| 95-10-15-М-Т2* | 34 4982 0332 | |||||||||||||
| 95-12-15-М-УХЛЗ | 34 4982 0341 | 12 | 13,0 | 13,5 | 65,4 | |||||||||
| 95-12-15-М-Т2 | 34 4982 0342 | |||||||||||||
| 95-10-16-М-УХЛЗ* | 34 4982 0351 | 10 | 10,5 | 20 | 16 | 12,5 | 30 | 70,7 | ||||||
| 95-10-16-М-Т2* | 34 4982 0352 | |||||||||||||
| 95-12-16-М-УХЛЗ* | 34 4982 0361 | 12 | 13,0 | 13,5 | 68,5 | |||||||||
| 95-12-16-М-Т2* | 34 4982 0362 | |||||||||||||
| 120-12-17-М-УХЛЗ | 34 4982 0371 | 22 | 17 | 1,3 | 81±2,0 | 34±0,8 | 3,9 | 34 | 25 | 194,5 | ||||
| 120-12-17-М-Т2 | 34 4982 0372 | |||||||||||||
| 120-16-17-М-УХЛЗ | 34 4982 0381 | 16 | 17,0 | 10,0 | 102,3 | |||||||||
| 120-16-17-М-Т2 | 34 4982 0382 | |||||||||||||
| 120-12-18-М-УХЛЗ* | 34 4982 0391 | 12 | 13,0 | 24 | 18 | 1,5 | 85±2,0 | 34 | 13,5 | 5,0 | 35 | 142,4 | ||
| 120-12-18-М-Т2* | 34 4982 0392 | |||||||||||||
| 120-16-18-М-УХЛЗ* | 34 4982 0401 | 16 | 17,0 | 10,0 | 140,2 | |||||||||
| 120-16-18-М-Т2* | 34 4982 0402 | |||||||||||||
| 150-12-19-М-УХЛЗ* | 34 4982 0411 | 12 | 13,0 | 25 | 19 | 90±2,0 | 13,5 | 5,3 | 36 | 155,5 | ||||
| 150-12-19-М-Т2* | 34 4982 0412 | |||||||||||||
| 150-16-19-М-УХЛЗ | 34 4982 0421 | 16 | 17,0 | 10,0 | 153,8 | |||||||||
| 150-16-19-М-Т2 | 34 4982 0422 | |||||||||||||
| 150-12-20-М-УХЛЗ* | 34 4982 0431 | 12 | 13,0 | 26 | 20 | 13,5 | 38 | 168,0 | ||||||
| 150-12-20-М-Т2* | 34 4982 0432 | |||||||||||||
| 150-16-20-М-УХЛЗ* | 34 4982 0441 | 16 | 17,0 | 16,0 | 163,2 | |||||||||
| 150-16-20-М-Т2* | 34 4982 0442 | |||||||||||||
| 185-12-21-М-УХЛЗ* | 34 4982 0451 | 12 | 13,0 | 27 | 21 | 95±2,0 | 38 | 41±1,0 | 13,5 | 40 | 30 | 190,5 | ||
| 185-12-21-М-Т2* | 34 4982 0452 | |||||||||||||
| 185-16-21-М-УХЛЗ | 34 4982 0461 | 16 | 17,0 | 16,0 | 5,1 | 181,0 | ||||||||
| 185-16-21-М-Т2 | 34 4982 0462 | |||||||||||||
| 185-20-21-М-УХЛЗ* | 34 4982 0471 | 20 | 21,0 | 18,5 | 170,0 | |||||||||
| 185-20-21-М-Т2* | 34 4982 0472 | |||||||||||||
| 185-16-23-М-УХЛЗ* | 34 4982 0481 | 16 | 17,0 | 30 | 23 | 1,7 | 105±2,0 | 16,0 | 6,0 | 45 | 262,6 | |||
| 185-16-23-М-Т2* | 34 4982 0482 | |||||||||||||
| 185-20-23-М-УХЛЗ* | 34 4982 0491 | 20 | 21,0 | 20,0 | 5,5 | 48 | 255,4 | |||||||
| 185-20-23-М-Т2* | 34 4982 0492 | |||||||||||||
| 240-16-24-М-УХЛЗ | 34 4982 0501 | 16 | 17,0 | 32 | 24 | 2,0 | 16,0 | 6,0 | 272,6 | |||||
| 240-16-24-М-Т2 | 34 4982 0502 | |||||||||||||
| 240-26-24-М-УХЛЗ | 34 4982 0511 | 20 | 21,0 | 20,0 | 257,0 | |||||||||
| 240-26-24-М-Т2 | 34 4982 0512 | |||||||||||||
| 300-16-27-М-УХЛЗ | 34 4982 0521 | 16 | 17,0 | 31 | 27 | 16,0 | 6,3 | 50 | 304,6 | |||||
| 300-16-27-М-Т2 | 34 4982 0522 | |||||||||||||
| 300-20-27-М-УХЛЗ | 34 4982 0531 | 20 | 21,0 | 20,0 | 283,0 | |||||||||
| 300-20-27-М-Т2 | 34 4982 0532 |
*Допускаетсяприменять в технически обоснованных случаях.
** Размер длясправок.
(Измененнаяредакция, Изм. № 2).
3. Кабельные наконечники должны изготовляться из медных труб маркиМ2 по ГОСТ617.
Допускаетсяизготовление наконечников из меди других марок по качеству аналогичных маркеМ2.
4.Основные размеры спрессованных соединений указаны в приложениях 1, 2.
5. Остальные требования - по ГОСТ 23981.
6.Структура и пример условного обозначения приведены в приложении 3.
(Измененнаяредакция, Изм. № 2).
Рекомендуемое
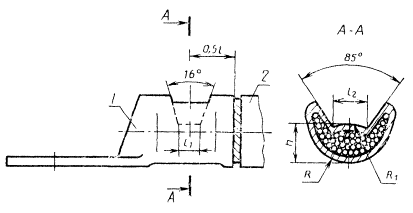
Рекомендуемыеразмеры спрессованных соединений кабельных наконечников приведены на черт. 1, 2и в табл. 1, 2.
1 - наконечник; 2 - кабель.
Черт 1
Примечание: l - длина жильной части хвостовиканаконечника в таблице стандарта.
Таблица 1
мм
| Маркировка | Сечение жилы, мм2 | Класс жилы по ГОСТ 22483 | l1 | l2 | h | |
| 2,5-3-2,6 | 2,5-3 | 2,5 | 3; 4; 5; 6 | 3 | <1 | 2,5±0,25 |
| 2,5-4-2,6 | 2,5-4 | 3; 4 | 1; 2; 4; 4 | |||
| 2,5-5-2,6 | 2,5-5 | |||||
| 2,5-6-2,6 | 2,5-6 | |||||
| 4-4-3 | 4-4 | 1 | 5 | |||
| 4-5-3 | 4-5 | |||||
| 4-6-3 | 4-6 | 5; 6 | 4 | |||
| 6-4-4 | 6-4 | 4 | 6 | 3,0±0,25 | ||
| 6-5-4 | 6-5 | 5 | 2; 3; 1 | |||
| 6 | 2; 3; 4; 5 | |||||
| 8 | 1; 2; 3; 4 | |||||
| 6-6-4 | 6-6 | 10 | 1 | |||
| 10-5-5 | 10-5 | 10 | 2; 3; 1 | 4 | 4,0±0,25 | |
| 10-6-5 | 10-6 | 16 | 1 | |||
| 10-8-5 | 10-8 |
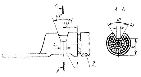
1 - наконечник; 2 - кабель
Черт. 2
Примечание: l - длина жильной части хвостовиканаконечника указана в таблице стандарта.
(Измененнаяредакция, Изм. № 2).
Таблица 2
Размеры, мм
| Маркировка | Сечение, мм2 | l1 | l2 | R | R1 | h | |
| 16-6-6 16-8-6 | 16-6 16-8 | 16 | 9,5 | 4,0 | 5,0 | 5,0 | 4,3 |
| 25-6-8 25-8-8 25-10-8 | 25-6 25-8 25-10 | 25 | 5,0 | 6,0 | 6,0 | 5,0 | |
| 35-8-10 35-10-10 35-12-10 | 35-8 35-10 35-12 | 35 | 11,5 | 6,0 | 7,0 | 7,0 | 5,5 |
| 50-8-11 50-10-11 50-12-11 | 50-8 50-10 50-12 | 50 | 7,5 | 7,5 | 6,5 | ||
| 70-10-13 70-12-13 | 70-10 70-12 | 70 | 12,5 | 7,5 | 9,0 | 8,5 | 7,3 |
| 95-10-15 95-12-15 | 95-10 95-12 | 95 | 8,0 | 10,5 | 10,0 | 8,5 | |
| 120-12-17 120-16-17 | 120-12 120-16 | 120 | 13,5 | 10,5 | 12,0 | 12,0 | 11,0 |
| 150-12-19 150-16-19 | 150-12 150-16 | 150 | 14,3 | 12,5 | 14,0 | 14,0 | 12,0 |
| 185-12-21 185-16-21 | 185-12 185-16 | 185 | 15,5 | 13,5 | 1 5,0 | 15,0 | 13,0 |
| 240-16-24 240-20-24 | 240-16 240-20 | 240 | 17,0 | 15,0 | 17,5 | 17,5 | 15,0 |
| 300-16-27 300-20-27 | 300-16 300-20 | 300 | 19,0 | 17,0 | 19,0 | 19,5 | 17,0 |
(Измененная редакция, Изм. № 1, 2).
Рекомендуемое
Рекомендуемыеразмеры спрессованных соединений кабельных наконечников приведены на черт. 1 приложения 1 и в таблице.
мм
| Типоразмер | Маркировка | Сечение жилы, мм2 | Класс жилы по ГОСТ 22483 | l1 | l2 | h |
| 2,5-3-2,6 | 2,6-3 | 2,5 | 3; 4; 5; 6 | 3 | <1 | 2,5±0,25 |
| 2,5-4-2,6 | 2,6-4 | 3; 4 | 1; 2; 3; 4 | |||
| 2,5-5-2,6 | 2,6-5 | |||||
| 2,5-6-2,0 | 2,6-6 | |||||
| 4-4-3 | 3-4 | 4 | 5 | |||
| 4-5-3 | 3-5 | 5; 6 | 1 | |||
| 4-6-3 | 3-6 | |||||
| 6-4-4 | 4-4 | 4 | 6 | 3,0±0,25 | ||
|
|
| 5 | 2; 3; 4 | |||
| 6-5-4 | 4-5 | 6 | 2; 3; 4; 5 | |||
| 6-6-4 | 4-6 | 8 | 1; 2; 3; 4 | |||
| 10 | 1 | |||||
| 10-5-5 | 5-5 | 10 | 2; 3; 4 | 4 | 4,0±0,25 | |
| 10-6-5 | 5-6 | 10 | 1 | |||
| 10-8-5 | 5-8 | |||||
| 16-6-6 | 6-6 | 10 | 5; 6 | 5,0±0,25 | ||
|
|
| 16 | 2; 3 | |||
| 16-8-6 | 6-8 | 25 | 1 | |||
| 25-6-7 | 7-6 | 10 | 4; 5; 6 | 6 | 6,0±0,25 | |
| 25-8-7 | 7-8 | 25 | 2 | |||
|
|
| 35 | 1 | |||
| 25-6-8 | 8-6 | 25 | 3; 4; 5; 6 | 7,5±0,25 | ||
| 25-8-8 | 8-8 | 35 | 2 | |||
| 25-10-8 | 8-10 | |||||
| 35-8-9 | 9-8 | 35 | 3; 4 | 8,0±0,40 | ||
| 35-10-9 | 9-10 | 50 | 1 | |||
| 35-12-9 | 9-12 | |||||
| 35-8-10 | 10-8 | 35 | 5; 6 | |||
| 35-10-10 | 10-10 | 50 | 2 | |||
| 35-12-10 | 10-12 | |||||
| 50-8-11 50-10-11 50-12-11 | 11-8 | 50 | 3; 4 | 7 | 1,0 | 8,0±0,40 |
| 11-10 11-12 | 70 | 1; 2 | ||||
| 50-8-12 50-10-12 50-12-12 | 12-8 12-10 12-12 | 50 | 5,6 | 9,0±0,40 | ||
| 70-10-13 | 13-10 | 70 | 3; 1; 6 | |||
| 70-12-13 | 13-12 | 95 | 1 | |||
| 95-10-15 | 15-10 | 70 | 5 | 8 | 2,0 | 11,0±0,40 |
| 95-12-15 | 15-12 | 95 | 2; 3; 4; 6 | |||
|
|
| 120 | 1,2 | |||
| 95-10-16 | 16-10 | 95 | 5 | 12,0±0,40 | ||
| 95-12-16 | 16-12 | 150 | 1; 2 | |||
| 120-12-17 120-16-17 | 17-12 17-16 | 120 | 3; 4; 5 | 9 | 3,0 | 14,0±0,40 |
| 120-12-18 | 18-12 | 120 | 6 | 15,0±0,40 | ||
| 120-16-18 | 18-16 | 185 | 1; 2 | |||
| 150-12-19 | 19-12 | 150 | 3; 6 | 17,0±0,40 | ||
| 150-16-19 | 19-16 | 185 | 3 | |||
| 150-12-20 | 20-12 | 150 | 4; 5 | 18,0±0,40 | ||
| 150-16-20 | 20-16 | 240 | 1 | |||
| 185-12-21 185-16-21 | 21-12 21-16 | 185 | 4, 6 | 17,0±0,40 | ||
| 185-20-21 | 21-20 | 240 | 1, 2 | |||
| 185-16-23 | 23-16 | 185 | 5 | 10 | 3,5 | 19,0±0,40 |
| 185-20-23 | 23-20 | 300 | 1, 2 | |||
| 240-16-24 240-20-24 | 24-16 24-20 | 240 | 3, 4, 5, 6 | 21,0±0,40 | ||
| 300-16-27 300-20-27 | 27-16 27-20 | 300 | 3, 4, 6 | 11 | 23,0±0,40 |
Примечание. Допускается втехнически обоснованных случаях жилы классов 3, 4, 5, 6 оконцовыватьнаконечниками, предназначенными для жил классов 1, 2 того же сечения.
(Измененнаяредакция, Изм. № 2).
Обязательное

Примерусловного обозначения наконечника глухого номинальным сечением 70 мм2,с отверстием под контактный стержень диаметром 12 мм, с внутренним диаметром хвостовика13 мм, изготовленного из меди, без покрытия, климатическою исполнения УХЛЗ.
Наконечник70-12-13-М-УХЛЗ ГОСТ 7386-80
(Измененнаяредакция, Изм. №2).
ИНФОРМАЦИОННЫЕ ДАННЫЕ
1. РАЗРАБОТАН И ВНЕСЕН Министерством монтажных испециальных строительных работ СССР
РАЗРАБОТЧИКИ В.Н. Алексеенко, Г. Н. Ивановская
2. УТВЕРЖДЕН И ВВЕДЕН В ДЕЙСТВИЕ ПостановлениемГосударственного комитета СССР по стандартам от 7 февраля 1980 г. № 609
3. Периодичностьпроверки - 5 лет
4 ВЗАМЕН ГОСТ 7386-70
5. ССЫЛОЧНЫЕ НОРМАТИВНО-ТЕХНИЧЕСКИЕДОКУМЕНТЫ
| Обозначение НТД, на который дана ссылка | Номер пункта, приложения |
| ГОСТ 617-90 | |
| ГОСТ 7386-80 | приложение 3 |
| ГОСТ 15150-69 | |
| ГОСТ 22483-77 | |
| ГОСТ 23981-80 |
6.Постановлением Госстандарта № 1173 от 14.09.92 снято ограничение срока действия
7. ПЕРЕИЗДАНИЕ (май 1994 г.) с Изменениями № 1, 2,утвержденными в августе 1983 г., июне 1987 г. (ИУС 12-83, 9-87)