Стандарт распространяется на защитные покровы, предназначенные для защиты кабелей от механических повреждений и от коррозии в течение срока службы кабелей, установленного в нормативно-технической документации на конкретные изделия.
| Обозначение: | ГОСТ 7006-72* |
| Название рус.: | Покровы защитные кабелей. Конструкция и типы, технические требования и методы испытаний |
| Статус: | действующий Переиздание (август, 1991 г.) |
| Заменяет собой: | ГОСТ 7006-62 |
| Дата актуализации текста: | 01.10.2008 |
| Дата добавления в базу: | 01.02.2009 |
| Дата введения в действие: | 01.01.1975 |
| Разработан: | Министерство электротехнической промышленности |
| Утвержден: | Госстандарт СССР (25.10.1972) |
| Опубликован: | Издательство стандартов № 1991 |

ГОСУДАРСТВЕННЫЙ СТАНДАРТ СОЮЗА ССР
ПОКРОВЫЗАЩИТНЫЕ КАБЕЛЕЙ
КОНСТРУКЦИЯ ИТИПЫ, ТЕХНИЧЕСКИЕ ТРЕБОВАНИЯ И МЕТОДЫ ИСПЫТАНИЙ
ГОСТ 7006-72
КОМИТЕТ СТАНДАРТИЗАЦИИ И МЕТРОЛОГИИ СССР
Москва
ГОСУДАРСТВЕННЫЙ стандарт СОЮЗАССР
| ПОКРОВЫ ЗАЩИТНЫЕ КАБЕЛЕЙ Конструкция и типы, технические требования и методы испытаний Protective coverings of cables. | ГОСТ |
Срок действия с 01.01 75
до 01.01 95
Настоящий стандарт распространяетсяна защитные покровы, предназначенные для защиты кабелей от механическихповреждений и от коррозии в течение срока службы кабелей, установленного внормативно-технической документации на конкретные изделия.
Стандарт не распространяетсяна защитные покровы маслонаполненных кабелей.
1.1. Конструкция элементовзащитного покрова и их обозначения должны соответствовать указанным в табл. 1.
Таблица 1
| Конструкция элементов защитного покрова | Обозначение |
| Подушка | |
| 1. Без подушки | б |
| 2. а) битумный состав или битум б) крепированная бумага или кабельная пропитанная в) битумный состав или битум г) крепированная бумага или кабельная пропитанная д) битумный состав или битум | Без обозначения |
| 3. а) битумный состав или битум б) крепированная бумага или кабельная пропитанная в) битумный состав или битум г) пропитанная кабельная пряжа или стеклянная пряжа из штапелированного волокна д) битумный состав или битум | Без обозначения |
| 4. а) битумный состав или битум б) ленты полиэтилентерефталатные в) крепированная бумага или кабельная пропитанная г) битумный состав или битум д) крепированная бумага или кабельная пропитанная е) битумный состав или битум | л |
| 5. а) битумный состав или битум б) ленты полиэтилентерефталатные в) крепированная бумага или кабельная пропитанная г) битумный состав или битум д) пропитанная кабельная пряжа или стеклянная пряжа из штапелированного волокна е) битумный состав или битум | л |
| 6. а) битумный состав или битум б) ленты полиэтилентерефталатные в) крепированная бумага или кабельная пропитанная г) битумный состав или битум д) ленты полиэтилентерефталатные е) крепированная бумага или кабельная пропитанная ж) битумный состав или битум | 2л |
| 7. а) битумный состав или битум б) ленты полиэтилентерефталатные в) крепированная бумага или кабельная пропитанная г) битумный состав или битум д) ленты полиэтилентерефталатные е) пропитанная кабельная пряжа или стеклянная пряжа из штапелированного волокна ж) битумный состав или битум | 2л |
| 7а. а) битумный состав или битум б) ленты полиэтилентерефталатные в) лента поливинилхлоридная г) стеклянная пряжа из штапелированного волокна или стеклолента; | нл |
| 8. а) битумный состав, вязкий подклеивающий состав или битум б) (Исключен. Изм. № 3). в) выпрессованный полиэтиленовый защитный шланг г) крепированная бумага или кабельная пропитанная д) битумный состав или битум е) крепированная бумага или кабельная пропитанная ж) битумный состав или битум | п |
| 9. а) битумный состав, вязкий подклеивающий состав или битум б) лента полиэтилентерефталатная в) выпрессованный поливинилхлоридный защитный шланг г) крепированная бумага или кабельная пропитанная д) битумный состав или битум е) крепированная бумага или кабельная пропитанная ж) битумный состав или битум | в |
| Броня | |
| 10. Броня из стальных или стальных оцинкованных лент | Б |
| 11. (Исключен, Изм. № 3). |
|
| 12. Броня из стальных оцинкованных круглых проволок | К |
| Наружный покров | |
| 13. а) битумный состав или битум, или вязкий подклеивающий состав б) пропитанная кабельная пряжа или стеклянная пряжа из штапелированного волокна в) битумный состав или битум, или вязкий подклеивающий состав г) покрытие, предохраняющее витки кабеля от слипания | Без обозначения |
| 14. а) негорючий состав б) стеклянная пряжа из штапелированного волокна в) негорючий состав г) покрытие, предохраняющее витки кабеля от слипания | н |
| 15. а) битумный состав, вязкий подклеивающий состав или битум б) лента поливинилхлоридная, полиэтилентерефталатная или другая равноценная в) выпрессованный полиэтиленовый защитный шланг | Шп |
| 16. а) битумный состав, вязкий подклеивающий состав и или битум б) лента полиэтилентерефталатная в) выпрессованный поливинилхлоридный защитный шланг | Шв |
| 17. Без наружного покрова | Г |
Примечания:
1. Допускается применение в подушках л, 2л, вполивинилхлоридных, полиэтиленовых лент. При применении в подушках л, 2лполиэтилентерефталатных лент допускается по согласованию с потребителемисключение крепированной или кабельной пропитанной бумаги (пп. 4в; 5в; 6в; 7в).
2. Допускается применение стальной гофрированной брони.Требования к броне и методы ее испытаний должны быть указаны в нормативнотехнической документации на кабели определенных марок. При этом бумага ибитумный состав или битум в подушке по защитному шлангу не накладываются.
3. Допускается сохранение индекса «П» без замены наиндекс «К» в марках силовых и контрольных кабелей по действующейнормативно-технической документации при соответствии защитных покровов кабелейтребованиям к покровам с броней «К».
(Измененная редакция, Изм. № 3, 4).
1.2. Типы защитных покрововкабелей должны соответствовать указанным в табл.2.
Преимущественные области итемпературный, диапазон применения защитных покровов указываются в техническойдокументации на кабели определенных марок.
Таблица 2
| Тип защитного покрова | Элементы конструкции защитного покрова | ||
|
| Подушка | Броня | Наружный покров |
| БбГ | б | Б |
|
| БГ | Табл. 1, п. 2, п. 1.5 | В | Г |
| БлГ | л (табл. 1, п. 4) | Б | г |
| Б2лГ | 2л (табл. 1, п. 6) | Б | г |
| БилГ | нл (табл. 1, п. 7а) | Б | г |
| БпГ | п | Б | г |
| БвГ | в | Б | г |
| Б | Табл. 1, п. 2, п. 1.5 | Б | Табл. 1, п. 13 |
| Бл | л (табл. 1, п. 4) | Б | Табл. 1, п. 13 |
| Кл | л (табл. 1, п. 5) | К | Табл. 1, п. 13 |
| Б2л | 2л (табл.. 1, п. 6) | Б | Табл. 1, п. 13 |
| Бп | п | Б | Табл. 1, п. 13 |
| Бв | в | Б | Табл. 1, п. 13 |
| Бн | Табл. 1, п. 2, п. 1.5 | Б | н |
| Блн | л (табл. 1, п. 4) | Б | н |
| Б2лн | 2л (табл. 1, п. 6) | Б | н |
| БбШп; Шп | б | Б, без брони | Шп |
| БШп | Табл. 1, п. 2 | Б | Шп |
| БлШп | л (табл. 1, п. 4) | Б | Шп |
| Б2лШп | 2л (табл. 1, п. 6) | Б | Шп |
| БпШп или КпШп | П | Б или К | Шп |
| БбШв; Шв | б | Б, без брони | Шв |
| БШв | Табл. 1, п. 2 | Б | Шв |
| БлШв | л (табл. 1 п. 4) | Б | Шв |
| Б2лШв | 2л (табл. 1, п. 6) | Б | Шв |
| БвШв | в | Б | Шв |
| Кп | п | К | Табл. 1, п. 13 |
| К | Табл. 1, п. 3 п. 1.5 | К | Табл. 1, п. 13 |
| Кн | Табл. 1, п. 3 | К | н |
| КГ | Табл. 1, п. 3 | К | Г |
| К2л | 2л (табл. 1, п. 7) | К | Табл. 1, п. 13 |
| КбШв | б | К | Шв |
| Клн | л (табл. 1, п. 5) | К | н |
| К2лн | 2л (табл. 1, п. 7) | К | н |
| КлГ | л. (табл. 1, п. 5) | к | Г |
| К2лГ | 2л (табл. 1, п. 7) | к | Г |
Примечания:
1. Длякабелей в неметаллической оболочке подушка покровов типов Б; БГ; Бн, должнабыть наложена без первого и второго слоев битумного состава или битума.
2. В покроветипа Бв допускается наложение подушки без пластмассовых лент.
3. Допускается наложение наружных покровов типа Шп безпластмассовых лент.
4. Для кабелей связи с защитными покровами шланговоготипа в качестве поливочного состава по металлической оболочке или броне подшланг должен применяться вязкий подклеивающий состав, или пластичный битум, илимасса битумная кабельная
5. В защитных покровах типов БбШп и БбШв в случаеприменения брони с цинковым покрытием и в защитном покрове типа КбШв битумныйсостав, вязкий подклеивающий состав, битум и пластичный битум, а такжепластмассовые ленты не накладываются.
(Измененная редакция, Изм. № 2, 3, 4).
1.3. Типы защитных покровов,предназначенные для различных оболочек кабелей, должны соответствоватьуказанным в табл. 3.
Таблица 3
Типы защитных покровов для различных оболочек кабелей
| Кабель, не подвергающийся значительным растягивающим усилиям | Кабель подвергающийся значительным растягивающим усилиям | ||||||
| Оболочки кабелей | |||||||
| Свинцовая | Алюминиевая | Стальная гофрированная | Неметаллическая | Без оболочки | Свинцовая | Алюминиевая | Без оболочки |
| Б |
|
|
|
|
|
|
|
| Бп | Бл; | Шв; | БГ; | БбШв; | К | КпШп | КбШв |
| Бл; | БлШп; | Шп | БбГ; | БбШп | Кл | Кп |
|
| Б2л; | Шв; |
| Бн; |
| К2л | К2л |
|
| Б2лШп; | Б2л; |
| Б |
| КГ | Клн |
|
| Б2лШв; | Шп; |
| БбШп |
| Кн | К2лн |
|
| БШп; | Бп; |
| БбШв |
| Клн | КлГ |
|
| БШв; | Бв; |
|
|
| К2лн | К2лГ |
|
| БГ; | БлШв; |
|
|
|
|
|
|
| БлГ; | БпШп; |
|
|
|
|
|
|
| Б2лГ; | Б2лШв; |
|
|
|
|
|
|
| Шв; | БвШв; |
|
|
|
|
|
|
| БлШв; | Б2лШп; |
|
|
|
|
|
|
| Бн; | БлГ; |
|
|
|
|
|
|
| Блн; | Блн; |
|
|
|
|
|
|
| Б2лн; | Б2лГ; |
|
|
|
|
|
|
| БвГ; | БШп; |
|
|
|
|
|
|
| Шп; | БпГ; |
|
|
|
|
|
|
| БпШп | БвГ; |
|
|
|
|
|
|
| БпГ | БнлГ |
|
|
|
|
|
|
(Измененная редакция, Изм. № 3, 4).
1.4. В трехжильных кабелях сотдельными свинцовыми оболочками на каждой из них должен быть защитный покров,состоящий из следующих слоев:
а) битумного состава илибитума;
б) полиэтилентерефталатныхлент;
в) крепированной илипропитанной кабельной бумаги.
Скрученные жилы могут бытьобмотаны тканевой лентой или пропитанными кабельной бумагой или пряжей.
1.5. Подушка для кабелей,имеющих отдельные свинцовые оболочки на каждой жиле, должна состоять из следующихслоев:
а) битумного состава илибитума;
б) пропитанной кабельнойпряжи или стеклянной пряжи из штапелированного волокна;
в) битумного состава илибитума.
1.4, 1.5. (Измененная редакция, Изм. № 2).
1.6. Номинальная толщинаброни должна соответствовать указанной в табл.4.
1.1 - 1.6. (Измененная редакция, Изм. № 1).
1.7. Броня из оцинкованныхстальных проволок должна накладываться поверх подушки кабеля сплошным повивом.
Суммарный просвет междупроволоками не должен превышать одного диаметра проволоки.
(Измененная редакция, Изм. № 3).
1.8. (Исключен, Изм. № 3).
1.9. В одножильных кабеляхпеременного напряжения проволоки брони должны быть разделены не менее чем начетыре части немагнитным материалом.
(Измененная редакция, Изм. № 2).
1.10. Взамен брони изстальных лент толщиной 0,3 мм допускается применение брони из стальных ленттолщиной 0,5 мм или брони из стальных оцинкованных проволок диаметром 1,4 - 1,8мм.
Для кабелей с диаметромоболочки 13 - 20 мм допускается применение двух бронелент толщиной 0,3 мм, еслиэто предусмотрено в нормативно-технической документации на кабели определенныхмарок.
Допускается для кабелей,имеющих в марках индекс «П», применение для брони проволоки диаметром не менее2,0 мм для кабелей с диаметром по оболочке (поясной изоляции) до 37 мм включ. ине менее 2,2 мм - для остальных кабелей.
(Измененная редакция, Изм. № 1, 3, 4).
мм
| Тип защитного покрова | Диаметр кабеля по оболочке* | ||||
| до 13 | св. 13 до 16 | св. 16 до 37 | св. 37 до 50 | св. 50 | |
| Число, толщина лент и диаметр проволоки брони, не менее | |||||
| Б; Бл; Бп; Бн; Блн; Б2лн БШп; БШв; Б2лШп; БпШп; Б2лШв; БГ; БлГ; Б2лГ; БпГ; БлШп; БлШв; Бв; БвГ; Б2л; БвШв | 2´0,3 | 2´0,5 | 2´0,5 | 2´0,5 | 2´0,8 |
| БбШв; БбШп | 2´0,3 | 2´0,3 | 2´0,3 | 2´0,3 | 2´0,3 |
| БбГ | 1´0,3 | 1´0,3 | 1´0,5 | 1´0,5 | 1´0,5 |
| К; Кл; КпШп; Кп; Кн; К2л; КГ; КбШв; Клн; К2лн; КлГ; К2лГ | 1,4-2,8 | 1,6-2,8 | 4 | 4-6 | 6 |
_________
* Для кабелей без оболочки диаметр должен измерятьсяпо поясной изоляции или по скрутке отдельно освинцованных жил.
(Измененная редакция, Изм. № 3).
1.11. Минимальная толщинаподушки и наружного покрова должна соответствовать указанным в табл. 5.
Таблица5
мм
| Тип защитного покрова | Диаметр кабеля по оболочке | ||||||
| до 20 | св. 20 до 30 | св. 30 до 40 | св. 40 до 50 | св. 50 до 60 | св. 60 | ||
|
| Минимальная толщина подушки | ||||||
| Б, Бн, БШп, БШв, БГ, Бл, Блн, БлГ, БлШв, БлШп, Б2л, Б2лн, Б2лШп, Б2лШв, Б2лГ | 1,5 | 1,5 | 1,5 | 1,5 | 1,5 | 1,5 | |
| К;Кл; К2л; Клн; К2лн; КлГ; К2лГ; КГ; Кн | 2,0 | 2,0 | 2,0 | 2,0 | 2,0 | 2,0 | |
| БпШп, КпШп, БвШв, БпГ, БвГ, Бп, Бв, Кп | 2,5 | 2,6 | 2,8 | 2,9 | 3,1 | 3,2 | |
| БнлГ | 1,6 | 1,6 | 1,6 | 1,6 | 1,6 | 1,6 | |
|
| Минимальная толщина наружного покрова | ||||||
| Б, К, Бл, Кл, Б2л, Бн, Блн, Б2лн, Бп, Бв; Кп; К2л; Клн; К2лн; Кн | 2,0 | 2,0 | 2,0 | 2,0 | 2,0 | 2,0 | |
| БбШп, Шп, БШп, БпШп, КпШп, Б2лШп, БлШп | по металлической оболочке | 1,6 | 1,6 | 1,6 | 1,8 | 2,0 | 2,2 |
|
| по броне | 1,7 | 1,9 | 2,1 | 2,3 | 2,5 | 2,7 |
| БбШв, Щв, БШв, БвШв, Б2лШв, БлШв, КбШв | 1,8 | 2,0 | 2,2 | 2,4 | 2,6 | 3,1 | |
Примечания:
1. Длякабелей в неметаллической оболочке с покровами типов Б; БГ; Бн минимальнаятолщина подушки должна быть не менее 1,0 мм.
2. Для кабелейбез оболочки диаметр должен измеряться по поясной изоляции.
3. Длятрехжильных кабелей с отдельными свинцовыми оболочками диаметр долженизмеряться поверх скрученных жил.
(Измененная редакция, Изм. № 3, 4).
1.12. Номинальная толщина пластмассовогозащитного шланга, наложенного в подушке под броней и поверх брони илиметаллической оболочки, должна соответствовать указанной в табл. 6.
Таблица 6
мм
| Диаметр кабеля по оболочке | Номинальная толщина пластмассового защитного шланга | ||||
| в подушке под броней | поверх брони | поверх металлической оболочки | |||
| полиэтиленовый шланг | поливинилхлоридный шланг | полиэтиленовый шланг | поливинилхлоридный шланг | ||
| До 20 | 1,4 | 1,7 | 1,8 | 1,4 | 1,8 |
| Св. 20 до 30 | 1,4 | 1,8 | 2,0 | 1,4 | 2,0 |
| » 30 » 40 | 1,6 | 2,1 | 2,2 | 1,6 | 2,2 |
| » 40 » 50 | 1,7 | 2,4 | 2,4 | 1,9 | 2,4 |
| » 50 » 60 | 1,9 | 2,7 | 2,6 | 2,2 | 2,6 |
| » 60 | 2,2 | 2,8 | 3,1 | 2,3 | 3,1 |
Предельное отклонение толщинызащитного шланга - минус 15 % + 0,1 мм плюсовый допуск не нормируется.
Для кабелей связидопускается увеличение номинальной толщины защитного шланга, если этопредусмотрено в нормативно-технической документации на кабели определенныхмарок.
1.11-1.12. (Измененная редакция, Изм. № 1, 2, 4).
2.1. Ленточная броня защитныхпокровов типов БГ; БлГ; Б2лГ; БнлГ; БвГ; БпГ и БбГ должна быть с предварительнонанесенным цинковым покрытием.
Допускается применятьстальные неоцинкованные ленты (за исключением защитного покрова типа БнлГ)покрытые битумом в процессе наложения брони на кабель с последующим нанесениемпокрытия, предотвращающего витки кабеля от слипания.
(Измененная редакция, Изм. № 2, 3).
2.2. Броня из двух стальных лентдолжна быть наложена так, чтобы верхняя лента перекрывала зазоры между виткаминижней ленты.
Броня покрова типа БбГдолжна быть профилирована и наложена «взамок».
2.3. Пластмассовый защитный шлангдолжен плотно прилегать к синтетическим лентам (пластмассовым лентам).
2.4. Пластмассовый защитный шлангпри отсутствии в подушке или наружном покрове синтетических лент долженобеспечивать плотное прилегание битума, битумного состава или вязкого подклеивающегосостава к металлической оболочке.
Битум, битумный состав,пластичный битум, вязкий подклеивающий состав должны обладать адгезией кметаллической оболочке.
(Измененная редакция, Изм. № 1, 2, 3).
2.5. Пластмассовый защитныйшланг должен быть герметичен.
2.6. Пластмассовый защитныйшланг не должен иметь вмятин, трещин и рисок, выводящих его толщину запредельное отклонение.
2.7. Поливинилхлоридные,полиамидные, полиэтилентерефталатные и другие равноценные ленты должны бытьналожены с перекрытием не менее 10 мм для кабелей с диаметром по оболочке 25 мми выше и с перекрытием не менее 20 % от ширины ленты для кабелей с диаметром пооболочке до 25 мм.
2.8. Кабельная пряжа и кабельнаябумага должны быть предварительно пропитаны антисептическим составом АС-2, содержаниекоторого в пропитанной пряже и кабельной бумаге должно быть не менее 4 %.
2.7, 2.8 (Измененная редакция, Изм. № 1, 3, 5).
2.9. Битумныйсостав, битум или пластичный битум покровов типов Б; К; Бп; БШп; БпШп; КпШп;Бв; БШв; БвШв; Кп не должен вытекать при температуре плюс 50 °С.
Битумный состав, битум илипластичный битум покровов типов Бл; Б2л; Кл; БГ; БлГ; Б2лГ; БпГ; БвГ; БбШп;Б2лШп; БбШв; Б2лШв; Шп; Шв; БлШп; БлШв, К2л; КлГ; К2лГ; КГ; КбШв не долженвытекать при температуре плюс 60 °С.
Негорючий состав покрововтипов Бн; Блн; Б2лн; Клн; К2лн; Кн не должен вытекать при температуре 45 °С.
В покровах кабелей связидопускается применение битума, битумного состава или вязкого подклеивающегосостава с температурой невытекания не ниже 50 °С.
Битумный состав или битум вовсех типах защитных покровов, наложенных на силовые кабели напряжением до 3 кВ,кроме кабелей с резиновой изоляцией не должен вытекать при температуре плюс 70°С.
(Измененная редакция, Изм. № 1, 2, 3).
2.10. Слой битума, битумногосостава, пластичного битума и вязкого подклеивающего состава, наложенный пометаллической оболочке, должен быть сплошным по окружности и длине.
(Измененная редакция, Изм. № 2).
2.11. Наружный покров должен бытьхолодоустойчивым.
2.12. Наружный покров типов Бн; Блн;Б2лн; Кн; Клн; К2лн; КбШв; БбШв; БШв; БлШв; Б2лШв; БвШв; Шв и в случаеприменения стальной оцинкованной бронеленты покровы типов БГ; БлГ; Б2лГ; БпГ;БвГ; БнлГ не должны распространять горение.
2.13. Подушка покровов типов Б2л;К2лГ; К2лн; К2л; Б2лн; Б2лШп; Б2лШв; Б2лГ должна выдерживать испытаниепостоянным напряжением 5 кВ или переменным напряжением 2 кВ частотой 50 Гц втечение 1 мин.
2.14. Кабели с защитнымипокровами, за исключением кабелей с покровами типов Б; К; Бн; Кн; КлГ; КГ; БГ;БлГ; БбГ должны проходить последовательно испытание на изгиб, истирание ициклический нагрев в солевой ванне. Кабели с защитными покровами типов Б2лГ;К2лГ; БпГ; БвГ должны проходить испытания на изгиб и циклический нагрев всолевой ванне. После указанных испытаний электрическое сопротивление защитногопокрова при температуре (20 ± 5) °С должно быть не менее указанных величин втабл. 7.
Таблица 7
| Наружный диаметр кабеля, мм | Защитный покров | Электрическое сопротивление защитного покрова, МОм×км |
| От 11 до 30 | Полиэтиленовый шланговый | 10,0 |
|
| Ленточный и ПВХ-шланговый | 0,06 |
| От 30 до 60 | Полиэтиленовый шланговый | 4,1 |
|
| Ленточный и ПВХ-шланговый | 0,025 |
| От 60 и выше | Полиэтиленовый шланговый | 2,5 |
|
| Ленточный и ПВХ-шланговый | 0,015 |
2.12 - 2.14. (Измененная редакция, Изм. № 2, 3, 4).
2.15. Для кабелей, требующихпостоянного контроля электрического сопротивления защитных покровов в процессеэксплуатации, нормы сопротивления, методы проверки и правила приемки (количествостроительных длин и периодичность) должны указываться в стандартах илитехнических условиях на кабели определенных марок. Для кабелей связи валюминиевых и стальных гофрированных оболочках измерение сопротивления защитныхпокровов должно производиться на каждой строительной длине кабеля в состояниипоставки, если в стандартах или технических условиях на кабели определенныхмарок не указано, что измерение электрического сопротивления защитного покровадолжно производиться на другом количестве строительных длин (процент отборастроительных длин для испытаний).
Результаты измерений должныбыть внесены в протокол испытаний, прикладываемый к барабану с кабелем.
2.16. Разрывная прочность иотносительное удлинение при разрыве пластмассового защитного шланга должнысоставлять не менее 75 % от величины этих характеристик, указанных в стандартахили технических условиях на материал соответствующей марки.
2.16а*. Поливинилхлоридныйзащитный шланг должен быть стойким к деформации при повышенной температуре.
_________
* Требование вводится с 01.01.92.
(Введен дополнительно, Изм. № 4).
2.17. Битум, битумный состав ивязкий подклеивающий состав не должны взаимодействовать с синтетическимиматериалами.
Материалы, применяемые дляизготовления подушки защитного покрова кабелей, должны бытьнекоррозионно-активными по отношению к металлической оболочке и броне.
2.18. Материалы, применяемые для изготовления защитныхпокровов, должны соответствовать:
| пряжа кабельная | - ОСТ 17-05-047-2001 |
| лента стальная и стальная оцинкованная | - ГОСТ 3559-75 |
| лента из углеродистой стали холоднокатаная резанная | - ГОСТ 19851-74 |
| лента холоднокатаная из низкоуглеродистой стали | - ГОСТ 503-81 |
| проволока круглая стальная оцинкованная | - ГОСТ 1526-81 |
| антисептический состав АС-2 | - ТУ 2416-007-05773103-98 |
| бумага кабельная крепированная марки БКК | - ТУ 5456-004-05773101-98 |
| бумага кабельная для изоляции силовых кабелей на напряжение до 35 кВ включительно | - ГОСТ 23436-83 |
| композиции полиэтилена | - ГОСТ 16336-77 |
| мел | - ГОСТ 12085-88 |
| слюда дробленая | - ГОСТ 19571-74 |
| пластикат поливинилхлоридный | - ГОСТ 5960-72 |
| ленты полиэтилентерефталатные | - ГОСТ 24234-80 |
| ленты поливинилхлоридные | - ГОСТ 16272-79 |
| стеклолента марки ЛЭС | - ГОСТ 5937-81 |
В качестве битума,битумного состава, вязкого подклеивающего состава должны применяться:
| битум марки БНД 60/90 | - ГОСТ 22245-90 |
| битум марок БН 70/30 и БН 90/10 | - ГОСТ 6617-76 |
| битум марки БНИ-IV | - ГОСТ 9812-74 |
Кроме того, для изготовления защитных покровов должныприменяться пряжа пенько-джутовая, пряжа стеклянная штапелированная, жестьхолоднокатаная черная неполированная отожженная, состав негорючий битумнефтяной пластичный БЗК, масса кабельная специальная, полугудрон понормативно-технической документации.
По согласованию спотребителем допускается применение других равноценных материалов.
2.17, 2.18. (Измененная редакция, Изм. № 1, 2, 3, 5).
3.1. Для проверки защитныхпокровов на соответствие требованиям настоящего стандарта устанавливаютсяприемо-сдаточные, периодические и типовые испытания.
3.2. Приемо-сдаточныеиспытания на соответствие требованиям пп. 1.3-1.12; 2.1; 2.2 (визуальный осмотр); 2.3; 2.5; 2.6; 2.7; 2.10 и 2.13 должныпроводиться на каждой строительной длине кабеля.
Проверка на соответствиетребованию пп. 2.6 и 2.10 должна производиться при наложении защитного покрова.
3.3. Периодические испытаниязащитных покровов на соответствие требованиям пп.2.2 (изгибание кабеля); 2.9 и 2.16 должны проводиться не реже одного раза втри месяца на трех образцах каждого типа защитного покрова, взятых от разныхстроительных длин партии.
Периодические испытания насоответствие требованиям п. 2.8 должныпроводиться не реже одного раза в три месяца на трех бобинах или рулонахпропитанной кабельной пряжи или бумаги, отобранных от партии.
Периодические испытания насоответствие требованиям пп. 2.4 и 2.12 должны проводиться не реже одного раза вгод на двух образцах каждого типа защитного покрова, взятых от разныхстроительных длин партии.
При получениинеудовлетворительных результатов испытаний хотя бы по одному показателю длякабелей и по п. 2.8 для пропитанных кабельнойпряжи и бумаги по этому показателю должны быть проведены повторные испытанияудвоенного количества строительных длин кабелей или образцов пропитанной кабельнойпряжи и бумаги от той же партии.
При получениинеудовлетворительных результатов повторной проверки хотя бы на одном образцевсе строительные длины партии должны быть подвергнуты испытанию на соответствиетребованию, по которому были получены неудовлетворительные результаты, а всяпартия пропитанных пряжи и бумаги подвергнута вторичной пропитке.
За партию принимаютколичество пропитанных кабельной пряжи и бумаги и кабелей с одинаковыми типамизащитных покровов, предназначенных для одновременной сдачи.
3.4. Типовые испытанияпроводят на соответствие всем требованиям настоящего стандарта по программе,утвержденной в установленном порядке.
3.1-3.4. (Измененная редакция, Изм. № 2).
4.1. Испытания должныпроводиться при температуре окружающего воздуха 25 ± 10 °С, относительнойвлажности 65 ± 15 % и атмосферном давлении 720 - 780 мм рт. ст., если неуказаны другие условия.
4.2. Проверка конструктивныхэлементов защитных покровов и их размеров по пп.1.3-1.12; 2.6и 2.7 должна производиться по ГОСТ 12177-79.
4.3. Наличие покрытия наленточной броне (п. 2.1) и битумного покрытияна металлической оболочке (п. 2.10) должнобыть проверено визуально.
(Измененная редакция, Изм. № 2).
4.4. Проверка качестваналожения брони (п. 2.2) должна проводитьсявизуально после снятия наружного покрова до брони и изгибания вокруг цилиндраобразца кабеля, взятого на расстоянии не менее 1 м от конца строительной длины.Диаметр цилиндра, на который навивается образец кабеля, должен быть равен15-кратному диаметру кабеля. Длина образца кабеля должна быть не менее длиныокружности цилиндра. При этом считать образцы выдержавшими испытание, еслипосле изгибания верхняя лента брони не открывает зазоры между витками нижнейленты. В случае наложения одной ленты не должно происходить раскрытия замка.
(Измененная редакция, Изм. № 3).
4.5. Плотность прилеганияпластмассового шланга (п. 2.3) должна быть проверенана образце кабеля длиной не менее 200 мм осмотром внутренней поверхностишланга, на котором должны быть видны отпечатки ленты.
4.6. Плотность прилеганияпластмассового защитного шланга при наложении подушки или наружного покрова безпластмассовых лент (п. 2.4) должна бытьпроверена в растворе на образце кабеля длиной не менее 1,5 м следующим методом.
Образец кабеляпредварительно изгибают на цилиндре, диаметр которого указан в табл. 10.
В защитное шланге должныбыть высверлены четыре отверстия диаметром 10 мм на расстоянии (100 ± 2) ммдруг от друга по длине образца; отверстия должны быть расположены по окружностипод углом 90° друг к другу. На участках, c которых удален шланг, споверхности металлической оболочки должен быть полностью удален битум, битумныйсостав или вязкий подклеивающий состав. Образец, которому должна быть приданаU-образная форма с радиусом кривизны изогнутой части не менее установленного вметодике на изгиб (п. 4.14), помещают вванну, содержащую раствор массовой концентрации сульфата натрия 1 %. Концыобразца должны находиться над поверхностью раствора; та часть образца, накоторой в шланге высверлены отверстия, должна быть погружена в раствор наглубину не менее 500 мм. Отрицательный полюс источников напряжения постоянноготока должен быть присоединен к металлической оболочке, а положительный - кметаллической пластинке, помещенной в раствор.
Величина напряжения - 100 В.Образец должен находиться в растворе (100 ± 2) ч.
Сопротивлением, отдельнымдля каждого образца (40 кОм - для кабелей с наружным диаметром до 25 мм или 10кОм - для остальных кабелей) должно поддерживаться постоянное значение тока(2,5 мА для сопротивления 40 кОм и 10 мА для сопротивления 10 кОм).
Образец должен быть вынут израствора, пластмассовый шланг вместе с битумом, битумным составом или вязкимподклеивающим составом должен быть удален.
На металлической оболочке недолжно быть видно следов коррозии на расстоянии более 10 мм от участка,соответствующего высверленному отверстию в шланге.
Адгезия битума, битумногосостава, пластичного битума, вязкого подклеивающего состава к металлическойоболочке (п. 2.4) должна быть проверена по ГОСТ 6997-77.
________
* Требование по адгезии к стальной ленте вводится с01.01.90.
(Измененная редакция, Изм. № 4).
4.7. Герметичностьпластмассового защитного шланга (п. 2.5),наложенного поверх металлической оболочки, брони или под броней, должна бытьпроверена на строительной длине кабеля одним из методов:
1) испытание нагерметичность в воде (стационарно или на проход).
При стационарных испытанияхкабель должен быть погружен в воду при температуре (20 ± 10) °C.
Концы испытываемых изделий,покрытые изоляцией, должны выступать над поверхностью воды не менее, чем на 200мм. Ко всем виткам кабельного изделия должен быть обеспечен надежный доступ воды.Причем броня или металлическая оболочка должны быть доступны для подачи на нихнапряжения и надежно изолированы от воды.
Пластмассовый защитный шлангв течение 1 мин должен выдержать испытания постоянным напряжением, равным 8 кВна 1 мм номинальной толщины шланга, или переменным напряжением частотой 50 Гц,равным 3,2 кВ на 1 мм номинальной толщины. Максимальные испытательныепостоянное или переменное напряжения должны быть равны соответственно 25 и 10кВ.
Водные испытания на проходдолжны проводиться в процессе наложения шлангов или при перемотке кабеля. Приэтом защитный шланг должен выдержать испытание переменным или импульснымнапряжением частотой следования импульсов не менее 50 Гц, равным 10 кВ на 1 ммноминальной толщины Максимальное испытательное напряжение 20 кВ. Времяприложения испытательного напряжения не менее 2 с.
Испытательное напряжение втечение всего времени испытания должно поддерживаться с допустимым отклонением± 5 %;
2) испытание нагерметичность напряжением на проход.
Пластмассовый защитный шлангдолжен выдержать испытание переменным напряжением с пиковым значением 6 кВчастотой не менее 50 Гц или импульсным с частотой следования импульсов не менее50 Гц, или постоянным напряжением, равным 9 кВ на 1 мм номинальной толщины,приложенным между металлической оболочкой (броней) и электродом. Максимальныеиспытательные переменное, импульсное и постоянное напряжения должны быть равнысоответственно 18, 26 и 27 кВ. Время приложения испытательного напряжения неменее 0,06 с.
Испытательное напряжение втечение всего времени испытания должно поддерживаться с допустимым отклонением± 5 %.
(Измененная редакция, Изм. № 1, 2, 3).
4.8. Содержаниеантисептического состава АС-2 (п. 2.8) в кабельнойпряже и кабельной бумаге определяют после их предварительной пропитки методомпотенциометрического титрования экстрагента, полученного из образцовпропитанной пряжи или бумаги по следующей методике.
Образец кабельной пряжи илибумаги разрезают на отрезки или полоски соответственно длиной 50 - 60 мм илишириной 3 - 5 мм. Затем отбирают навеску пряжи или бумаги в количестве 4 - 5 г.взвешенную с погрешностью не более 0,0002 г на лабораторных весах по ГОСТ 24104-2001.
При экстрагированииприменяют бензол по ГОСТ 5955-75.
Для экстрагированияиспользуют экстракционный аппарате объемом колбы не более 200 мл и емкостьюсборника не более 85 мл.
Экстрагирование проводят дополучения чистого бензола. Бензол из насадки не должен попасть в колбу сэкстрагентом.
Количество экстрагента вколбе не должно превышать 30 мл. После проведения экстрагирования полученныйэкстракт остужают до комнатной температуры и добавляют равное по объемуколичество этилового спирта.
Титрование приготовленныхпроб проводят 1,0 н. спиртовым раствором соляной кислоты.
Для измерения потенциалаиспользуют потенциометр или рН-метр любого типа с ценой деления не более 5 мВ,чувствительностью не ниже 2 мВ и диапазоном измерения не менее 500 мВ.
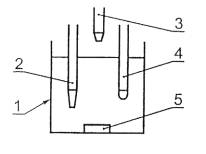
Схема устройства длятитрования представлена на черт. 1.

1 - стеклянный стакан; 2 - электрод сравнения; 3 - бюретка;
4 - стеклянный электрод; 5 - мешалка
Черт. 1
Для титрования применяют бюреткуемкостью 2 - 10 мл с иеной деления не более 0,1 мл.
Титрование проводятследующим образом.
В стакан для титрованияналивают приготовленный экстракт. Стакан устанавливают на магнитную мешалку ипомешают в пего электроды. Включают мешалку.
Бюретку заполняют 1,0 н.спиртовым раствором соляной кислоты и помещают в штатив так, чтобы конецбюретки находился на расстоянии 20 - 25 мм от поверхности титруемого раствора.Отмечают начальный уровень раствора в бюретке и начальное показаниепотенциометра, затем прибавляют небольшими порциями (по 0,1 мл) 1,0 н.спиртовой раствор соляной кислоты. После добавления каждой порции солянойкислоты фиксируют показания потенциометра. Титрование заканчивают, когдапотенциал после добавления 0,2 мл соляной кислоты изменяется менее, чем на 5мВ.
Вычерчивают кривуютитрования, откладывая на оси ординат показания потенциометра Е вмилливольтах, а на оси абсцисс - объем добавленного раствора V вмиллилитрах. За точку эквивалентности принимают точку перегиба кривойтитрования.
На черт. 2 представленхарактерный вид кривой титрования.

Черт. 2
Содержание антисептика А,в процентах, в пряже или бумаге определяют по формуле
%,
где
- количество 1,0 н.спиртового раствора соляной кислоты, идущего на титрование навески пряжи илибумаги, мл;
0,53 - количество Na2СО3, г,соответствующее количеству в мл точно 1,0 н. спиртового раствора солянойкислоты, идущего yа титрование 1 г антисептика (соответствуетпоказателю «общая щелочность» антисептика АС-2, равному 10 %);
М - навеска пряжи или бумаги,г.
Содержание антисептикаопределяют как среднее значение по трем измерениям.
(Измененная редакция, Изм. № 1, 2, 3, 4, 5).
4.9. Испытание на невытеканиебитума (битумного, вязкого подклеивающего или негорючего составов) (п. 2.9) должно проводиться на образце кабелядлиной 250-300 мм. Для исключения вытекания пропиточного состава из изоляциикабеля образец обматывается с торцов резиновой или пластмассовой лентой.Битумное покрытие по стальной неоцинкованной ленте (п. 2.1) должно быть предварительно снято.
С образцов кабелей с защитнымипокровами типов БШп; Б2лШп; БпШп; КпШв; БШв; БлШп; Б2лШв; БвШв; Шп; Шв; БбШв;КбШв; БлШв; БбШп предварительно перед испытанием должен быть удален защитныйпокров до металлической оболочки или брони (в покровах типов БбШв; КбШв; БбШп)с обоих концов на расстоянии (40 ± 5) мм. С оболочки или брони должны бытьудалены остатки битума. Образец выдерживают в горизонтальном положении втермостате в течение 4 ч при температурах, указанных в п. 2.9.
При этом битумный состав недолжен вытекать.
(Измененная редакция, Изм. № 3, 4).
4.10. Испытание нахолодоустойчивость (п. 2.11) покровов типовБ; Бн; К; Кн; Клн; К2лн; К2л; Бл; Блн; Кл; Б2л; Б2лн; Бп; Бв; Кп должнопроводиться путем выдерживания образцов кабеля длиной 200-250 мм в холодильнойкамере при температуре минус (40 ± 2) °С в течение 2 ч. Затем при той жетемпературе образец кабеля подвергают трехкратному удару грузом массой не менее3 кг при его свободном падении с высоты (200 ± 10) мм. Допускается осыпаниебитума, битумного и негорючего составов в виде мелких частиц или пыли.
Груз должен быть в видестержня диаметром 50 ± 1 мм. Нижние края стержня должны быть закруглены. Радиусзакругления 8 ± 1 мм.
Испытания на холодоустойчивостьпокровов типов БбШп; Шп; БбШв; КбШв; Шв; БШп; БШв; БлШп; БлШв; Б2лШп; Б2лШв;БпШп; КпШп; БвШв должны проводиться на образцах кабеля, плотно намотанных наиспытательный цилиндр и помещенных в холодильную камеру. Время выдержкиобразцов в холодильной камере после достижения в ней заданной температурыиспытания должно быть не менее 55 мин для кабелей с наружным диаметром до 20мм, 120 мин - для кабелей с наружным диаметром от 20,1 до 40 мм, 180 мин - длякабелей с наружным диаметром от 40,1 до 60 мм и 240 мин - для кабелей снаружным диаметром 60,1 мм и выше. Число витков, диаметры испытательныхцилиндров и температуры испытаний должны быть указаны в техническойдокументации на кабельные изделия. Защитные покровы кабелей считаютсявыдержавшими испытания, если шланги не имеют трещин, видимых невооруженнымглазом, осмотр образцов проводится без их размотки с испытательных цилиндровпосле выдержки при температуре 25 ± 10 °С не менее 60 мин.
(Измененная редакция, Изм. № 1, 2, 3).
4.11. Испытание нанераспространение горения (п. 2.12)проводят по ГОСТ 12176-89.
(Измененная редакция, Изм. № 4).
4.12. Испытание напряжениемподушки защитных покровов (п. 2.13) должнобыть проведено по ГОСТ 2990-78 настроительной длине кабеля.
При испытании жилы кабелейдолжны быть соединены с оболочкой и выводом высокого напряжения испытательнойустановки, а броня должна быть соединена с заземленным выводом испытательнойустановки.
4.13. При испытании наистирание (п. 2.14), проводимом притемпературе (20 ± 5) °С, на среднюю часть горизонтально расположенного натвердом основании образца кабеля (черт. 3)длиной не менее 2,5 м перпендикулярно устанавливают стальной угольник из мягкойстали шириной (35 ± 2) мм. Наружный радиус закругления края угольника долженбыть не менее 1 и не более 2 мм.

1- угольник; 2 - образец кабеля; Q - нагрузка
К стальному угольнику должнабыть приложена нагрузка в соответствии с указанной в табл. 7а.
Угольник перемещают вдолькабеля на длине не менее 600 мм в количестве 25 двойных перемещений соскоростью 25-30 см/с.
Таблица 7а
| Наружный диаметр кабеля, мм | Нагрузка, Н |
| От 30 до 40 | 65 |
| Св. 40 до 50 | 106 |
| » 50 » 60 | 155 |
| » 60 » 70 | 210 |
| » 70 » 80 | 270 |
| » 80 » 90 | 340 |
| » 90 » 100 | 420 |
| » 100 » 110 | 500 |
| 100 и выше | 550 |
(Измененная редакция, Изм. № 1, 4).
4.14. Испытание на изгиб (п. 2.14) должно проводиться на образцах кабеляпри температуре 10 - 25 °С.
Образец должен быть навит нацилиндр одним полным витком.
Диаметр цилиндра, на которыйдолжен быть навит образец кабеля, указан в табл. 10.
Таблица 10*
| Конструкция кабеля« | Диаметр цилиндра, мм, с предельным отклонением не более плюс 5 % |
| Кабель в алюминиевой оболочке | 30 (D + d) |
| Кабель бронированный, не имеющий оболочки, и кабель, имеющий стальную гофрированную оболочку | 20D |
| Кабель связи в свинцовой оболочке | 15D |
| Кабель связи в неметаллической оболочке | 30D |
| Кабель силовой в неметаллической оболочке: |
|
| одножильный | 20 (Dн + d) |
| многожильный | 15 (Dн + d) |
| Кабель силовой с бумажной изоляцией: |
|
| в алюминиевой оболочке | 25D |
| в свинцовой оболочке одножильный на напряжение: |
|
| 1-3 кВ | 18 (D + d) |
| 20 кВ | 21 (D + d) |
| 35 кВ | 25 (D + d) |
| многожильные на напряжение 1-10 кВ | 15 (D + d) |
| с отдельными свинцовыми оболочками на напряжение: |
|
| 20 кВ | 15 (2,l5D + d) |
| 35 кВ | 18 (2,l5D + d) |
(Измененная редакция, Изм. № 4).
_________
* Табл. 8 и 9 исключены (Изм. № 2).
D -наружный диаметр металлической оболочки или окружности, описанной вокругскрученных жил кабеля с отдельными металлическими оболочками, или диаметр попоясной изоляции, мм;
d - диаметр круглой жилы кабеляили диаметр жилы круглой формы, имеющей ту же площадь поперечного сечения, чтои секторная или сегментная жила, мм.
Dн - наружный диаметр кабеля, мм.
После того как образец навитна цилиндр, он должен быть размотан, а затем снова намотан на цилиндр, нопротивоположной стороной.
Образец кабеля должен бытьподвергнут трехкратному двустороннему изгибу, за исключением кабеля валюминиевой оболочке, который должен быть подвергнут двукратному двустороннемуизгибу.
4.15. При испытании всолевой ванне (п. 2.14), содержащей 0,5%-ный водный раствор хлористого натрия, образец кабеля должен быть погружен надно ванны, как показано на черт. 4. Концыкабеля длиной не менее 300 мм должны находиться над поверхностью солевогораствора, глубина которого не менее 500 мм, а испытуемая длина образца должнабыть полностью погружена в солевой раствор. Между солевым раствором и броней (впокровах типов БбШв; КбШв; БбШп) или металлической оболочкой должно бытьприложено напряжение 10 В постоянного тока. Отрицательный полюс источника токадолжен быть присоединен к металлической оболочке или броне.
R - радиус изгиба, 1- образец кабеля; 2 - солевая ванна
Черт. 4
Образец должен подвергаться 100-суточнымтепловым циклам.
Каждый тепловой цикл долженсостоять из нагревания солевого раствора до температуры (65 ± 5) °С,поддержания этой температуры в течение 5 ч и охлаждения раствора до (30 ± 5) °Св течение остального времени суток.
Измерение электрическогосопротивления защитного покрова должно производиться по ГОСТ 3345-76, после 25 ч пребывания образца врастворе, еженедельно в процессе испытания и после последнего теплового цикла.
Покров считается соответствующимтребованиям стандарта, если значение электрического сопротивления, измеренноепосле последнего теплового цикла, будет соответствовать указанному в п. 2.14.
(Измененная редакция, Изм. № 1, 3).
4.16. Разрывная прочностьшланга и его относительное удлинение при разрыве (п. 2.16) должны быть проверены по методике ГОСТ 25018-81.
4.16а. Стойкостьполивинилхлоридного защитного шланга к деформации (п. 2.16а) проверяют по ГОСТ 22220-76.
(Введен дополнительно, Изм. № 4).
4.17. Взаимодействие битума,битумного состава, подклеивающего состава и пластического битума ссинтетическими материалами (п. 2.17) должнопроверяться по методике, согласованной между Минэлектротехпромом, Минсвязи СССРи Минэнерго СССР.
(Измененная редакция, Изм. № 1).
4.18. (Исключен, Изм. № 3).
ИНФОРМАЦИОННЫЕДАННЫЕ
1. РАЗРАБОТАН И ВНЕСЕН Министерствомэлектротехнической промышленности СССР
ИСПОЛНИТЕЛИ
М. Б. Кнастер (руководитель темы), А. И.Балашов
2. УТВЕРЖДЕН ИВВЕДЕН В ДЕЙСТВИЕ Постановлением Государственного комитета СССР по стандартамот 25.10.72 № 1966
3.Периодичность проверки - 5 лет
4. Стандарт полностьюсоответствует международному стандарту МЭК 229-82
5. ВЗАМЕН ГОСТ7006-62
6. ССЫЛОЧНЫЕНОРМАТИВНО-ТЕХНИЧЕСКИЕ ДОКУМЕНТЫ
| Обозначение НТД, на который дана ссылка | Номер пункта |
| ГОСТ 244-76 | 4.8 |
| ГОСТ 503-81 | 2.18 |
| ГОСТ 905-78 | 2.18 |
| ГОСТ 1526-81 | 2.18 |
| ГОСТ 3559-75 | 2.18 |
| ГОСТ 4204-77 | 4.8 |
| ГОСТ 4232-74 | 4.8 |
| ГОСТ 5937-81 | 2.18 |
| ГОСТ 5960-72 | 2.18 |
| ГОСТ 6617-76 | 2.18 |
| ГОСТ 6997-77 | 2.18; 4.6 |
| ГОСТ 9549-80 | 2.18; 4.8 |
| ГОСТ 9812-74 | 2.18 |
| ГОСТ 10163-76 | 4.8 |
| ГОСТ 10396-84 | 2.18 |
| ГОСТ 12085-88 | 2.18 |
| ГОСТ 12176-89 | 4.11 |
| ГОСТ 16272-79 | 2.18 |
| ГОСТ 16336-77 | 2.18 |
| ГОСТ 19571-74 | 2.18 |
| ГОСТ 19851-74 | 2.18 |
| ГОСТ 22220-76 | 4.16а |
| ГОСТ 22245-90 | 2.18 |
| ГОСТ 23436-83 | 2.18 |
| ГОСТ 24104-2001 | 4.8 |
| ГОСТ 24234-80 | 2.18 |
7. Срок действия продлен до 01.01.95 Постановлением Госстандарта СССРот 22.06.88 № 2086
8. ПЕРЕИЗДАНИЕ (август, 1991 г.) с изменениями № 1, 2, 3, 4,утвержденными в январе 1979 г., июле 1983 г.,июне 1988 г., декабре 1989 г. (ИУС 3-79, 11-83, 10-88, 4-90).