Стандарт распространяется на пенообразователь ПО-1, предназначенный для получения с помощью специальной аппаратуры воздушно-механической пены для тушения пожаров
| Обозначение: | ГОСТ 6948-81* |
| Название рус.: | Пенообразователь ПО-1. Технические условия |
| Статус: | действующий |
| Заменяет собой: | ГОСТ 6948-70 |
| Дата актуализации текста: | 01.10.2008 |
| Дата добавления в базу: | 01.02.2009 |
| Дата введения в действие: | 01.07.1982 |
| Разработан: | МВД СССР |
| Утвержден: | Госстандарт СССР (21.05.1981) |
| Опубликован: | Издательство стандартов № 1981<br>Издательство стандартов № 1989<br>ИПК Издательство стандартов № 1996 |

ГОСУДАРСТВЕННЫЙ СТАНДАРТ СОЮЗА ССР
ПЕНООБРАЗОВАТЕЛЬПО-1
ТЕХНИЧЕСКИЕУСЛОВИЯ
ГОСТ 6948-81
ИПК ИЗДАТЕЛЬСТВОСТАНДАРТОВ
Москва
ГОСУДАРСТВЕННЫЙ СТАНДАРТ СОЮЗА ССР
| ПЕНООБРАЗОВАТЕЛЬ ПО-1 Технические условия Foaming agent ПО-1, | ГОСТ |
Дата введения01.07.82
Несоблюдениестандарта преследуется по закону
Настоящийстандарт распространяется на пенообразователь ПО-1, предназначенный для получения с помощью специальной аппаратурывоздушно-механической пены для тушения пожаров.
1.1. Пенообразователь ПО-1должен изготовляться в соответствии с требованиями настоящего стандарта и по технологии, утвержденной вустановленном порядке.
1.2. Составпенообразователя ПО-1 в процентах:
контакт Петрова (керосиновый контакт с содержанием сульфокислот не менее 55 %),нейтрализованный натром едким техническим по ГОСТ 2263-79................ 89,5 ± 3
клей костный по ГОСТ 2067-93........................................................................... 4,5 ± 1
спирт этиловый синтетический........................................................................... 6,0± 2.
| Наименование показателя | Норма | Метод испытания |
| Внешний вид | Жидкость коричневого цвета, без посторонних включений | По п. 4.2 |
| 2. Наличие осадка | Отсутствие | По п. 4.3 |
| 3. Вязкость кинематическая при 20 °С, м2/с (сСт), не более | 40,0·10-6 (40) | По ГОСТ 33-82 |
| 4. Кратность пены водного раствора, не менее | 6,0 | По п. 4.4 |
| 5. Устойчивость пены, с, не менее | 270 | По п. 4.4 |
| 6. Водородный показатель (рН) концентрата | 7,0 - 9,0 | По п. 4.5 |
| 7. Плотность при 20 °С, кг/м3, не менее | 1,1 | По ГОСТ 18995.1-73 |
| 8. Температура застывания, °С, не выше | -8 | По п. 4.6 |
| 9. Минимальная температура пенообразователя при применении, °С, не выше | -2 | По п. 4.7 |
| 10. Время тушения, с, не более | 300 | По п. 4.8 |
| 11. Кратность пены, не менее, на генераторе: ГПC-200 | 60 | По п. 4.9 |
| или ГПС-600 | 70 |
|
| 12. Показатель смачивающей способности 4 %-ного (по объему) водного раствора, с, не более | 9,0 | По п. 4.10 |
| Примечание. Норма по показателю 12 факультативна до 01.01.88. | ||
(Измененнаяредакция, Изм. № 1).
2.1. По токсичностипенообразователь ПО-1 соответствует третьемуклассу опасности по ГОСТ 12.1.007-76 . Вызывает раздражение кожных покровов и слизистых оболочекглаз, не обладает кумулятивным действием. Рабочие растворы пенообразователя безвредны.
2.2. При работе спенообразователем необходимо применятьиндивидуальные средства защиты по ГОСТ 12.4.011-89 согласно типовым отраслевым нормам, утвержденным в установленном порядке.
2.3. Производственные помещения должны быть оборудованы приточно-вытяжной вентиляцией.
2.4. Заправка пенообразователя в емкости для хранения итранспортирования должна быть механизирована.
2.5. Пенообразователь ПО-1является биологически жестким продуктом, сливкоторого запрещен в водоемы и сточные воды.
(Измененнаяредакция, Изм. № 1).
2.6. Пенообразователь ПО-1относится к легковоспламеняющимся жидкостям. Температура вспышки в закрытом тигле 36°С, в открытом тигле91 °С, температура воспламенения 94 °С, нижний температурный предел воспламенения паров в воздухе35,4 СС, верхний температурный предел 56,7 °С, температура самовоспламенения 471 °С.
Рабочие растворыпенообразователя пожаровзрывобезопасны.
3.1. Пенообразователь ПО-1 принимают партиями. Партией считается любое количествопенообразователя единовременного изготовления, однородное по своим показателям качества, сопровождаемоеодним документом о качестве.
3.2. Объем выборки -по ГОСТ2517-85 .
3.3. При получении неудовлетворительных результатов испытаний хотябы по одному из показателей по нему проводят повторные испытанияпенообразователя на удвоенной выборке. Результаты повторных испытанийраспространяются на всю партию.
Пробыпенообразователя ПО-1 отбирают по ГОСТ 2517-85.
Для объединеннойпробы отбирают 0,5 дм3 пенообразователя.
4.2. Определение внешнего вида
Внешний видпенообразователя определяют визуально в стеклянной пробирке,типа П-1-30-250 ХС по ГОСТ25336-82.
(Измененнаяредакция, Изм. № 1).
4.3. Определение наличия осадка
Предварительно отфильтрованнойпод вакуумом через стеклоткань при 20 -40 °С пенообразователь заливают в цилиндрвместимостью 250 - 500 см3 (ГОСТ1770-74) и выдерживают при (3 ± 2) °С в течение 24 ч.
(Измененная редакция, Изм, № 1).
4.4. Определение кратности и устойчивости пены
Прибор «Размельчительтканей» (РТ-1). На стакан прибора должна быть нанесенаградуировка с ценой деления 50 см3.
Цилиндризмерительный по ГОСТ1770-74.
Секундомер.
Водадистиллированная по ГОСТ 6709-72.
4.4.2. Проведение испытания
2 см3 продукта помещают в цилиндр и доводят дистиллированнойводой до 100 см3. Полученный 2 %-ныйраствор пенообразователя при температуре (20 °С ± 2) помещают в стакан прибора, устанавливают переключатель числа оборотов в положение 4000 мин-1, затемодновременно включают электродвигатель и секундомер. Раствор перемешивают втечение 30 с, выключают электродвигатель и фиксируют объем полученной пены в стакане.
Кратность пенывычисляют, как отношение полученного объема пены к 100 см3 раствора,взятого для испытания.
Устойчивостьпены определяется временем выделения из полученной пены 50% (50 см3) раствора пенообразователя.
За результатиспытания принимают среднее арифметическое трех определенийкратности и устойчивости пены.
4.5. Определение водородного показателя (рН)концентрата
рН концентратаопределяют рН-метром любого типа.
4.6. Определение температурызастывания
Пробиркавнутренним диаметром (15 ± 1) мм,высотой (160 ± 10) мм.
Пробиркавнутренним диаметром (40 ± 2) мм, высотой (130 ± 10) мм.
Термометрртутный, типа ТН-6 по ГОСТ400-80.
Сосуд сохлаждающей смесью.
4.6.2. Проведение испытания
Чистую сухуюстеклянную пробирку диаметром (15 ± 1)мм наполняют пенообразователем до высоты 30мм. Пробирку закрывают пробкой со вставленным в нее ртутным термометром и помещают в муфту-пробирку диаметром (40 ± 2) мм так, чтобы стенкипробирки находились на одинаковом расстоянии от стенок муфты.
Собранный приборпомещают в сосуд с охлаждающей смесью, температура которой должна быть на 5 °С ниже предполагаемой температуры застывания.
За температурузастывания продукта принимают температуру, при которой ртуть термометра,погруженного в пенообразователь, начинает подниматься.
4.7. Определение минимальнойтемпературы пенообразователя при применении
За минимальнуютемпературу пенообразователя при применении принимают температуру, при которойвязкость достигает200·10-6 м2/с.
Вязкостьопределяют по ГОСТ33-82.
4.8. Определение времени тушения
4.8.1. Аппаратура,реактивы, материалы
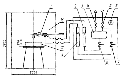
Установка дляопределения времени тушения пеной (черт. 1).
В комплектустановки входят:
пеногенератор 1, обеспечивающий получение пены средней кратности (около 100) при рабочих расходах раствора (2,0 ± 0,2) г/с и воздуха (200± 20) см3/с;
бачок 3, изготовленный из стали марки 12Х18Н9Т по ГОСТ5632-72, для рабочего раствора, вместимостью 4 дм3 сгорловиной и завинчивающейся крышкой, нижним сливным отверстием и двумя отверстиями для подачи и сброса сжатого воздуха,рассчитанного на рабочее давление до 4,0·102 кПа;
ротаметр 9 типа РМ по ГОСТ 13045-81 с верхнимпределом измерения по воздуху 1,6 м3/ч;
ротаметр 2 типа РМ по ГОСТ 13045-81 с верхнимпределом измерения по воде 0,016 м3/ч;
манометр по ГОСТ2405-88 с верхним пределом измерения 10 мПа класса точности 2.5;
регулировочныевентили 7 и 8;
запорныевентили на линии подачи сжатого воздуха 5 и сброса давления4;
Черт. 1
цилиндрическаягорелка 10, изготовленная из стали марки 12Х18Н9Т по ГОСТ5632-72, внутренним диаметром 260 мм,высотой 100 мм, толщиной стенок 1 - 1,5 мм;
ограждение 11 для горелки и пеногенератора,которое оборудуется окном для наблюдения за ходом тушения, входной дверью для замены горелок и контроляпеногенератора, выдвижным держателем для пеногенератора.
Весы типа ВЛКТ-500 г-М 4 класса по ГОСТ24104-88, с погрешностью взвешивания не более 20 мг;
Цилиндризмерительный по ГОСТ1770-74.
Секундомер.
Источниксжатого воздуха с рабочим давлением 3,0 - 4,0·102 кПа.
Сосуд мерныймассой не более 400 г, вместимостью 1000 см3для сбора пены.
н-Гептан по ГОСТ 25828-83,применяемый в качестве горючей жидкости.
Водадистиллированная по ГОСТ 6709-72.
(Измененная редакция, Изм. № 1).
4.8.2. Подготовка к испытанию
3дм3 6 %-ного (по объему) раствора пенообразователя в дистиллированной воде с температурой (20 ± 2) °С заливают в емкость длярабочего раствора. Включают подачу воздуха и раствора через пеногенератор. Через 5 - 10 с посленачала подачи пены отбирают пробу в мерныйсосуд для определения расхода раствора и воздуха.
Отбор пробыследует проводить таким образом, чтобы объем мерного сосуда был заполненравномерно.
Расход растворавычисляют делением массы пены на время заполнения мерного сосуда, расходвоздуха - делением объема пены на время заполнения сосуда.
4.8.3. Проведение испытания
После проверкиработы пеногенератора заливают цилиндром в горелку 1300 см3 гептана с температурой (20 ±2) °С. Гептан поджигают, время свободного горения 180 с.
Во времясвободного горения пеногенератор находится вне зоны пламени. Затем пеногенераторвводят в зону пламени и подают в центр горелки, поддерживая заданные расходыраствора и воздуха. Секундомером измеряют время от начала подачи пены в горелкудо прекращения горения гептана. Проводят три испытания со свежим гептаном.
За результатиспытания принимают среднее арифметическое трех определений.
4.9. Определение кратности пенына генераторе
4.9.1. Аппаратура,материалы и реактивы
Генератор пенысредней кратности ГПС-200 или ГПС-600 по ГОСТ 12962-93.
Насосы водяныепроизводительностью не менее 2 дм3/с (для ГПС-200), не менее6 дм3/с (для ГПС-600) при давлении на выходе6,0 - 10,0·102 кПа.
Рукав пожарныйнапорный.
Рукав пожарныйвсасывающий по ГОСТ5398-76.
Емкостьметаллическая вместимостью 200 дм3 для приготовлениярастворов.
Емкостьметаллическая вместимостью 100 дм3 массой не более 10 кг длясбора пены.
Весы с погрешностьювзвешиванияне более 0,1кг и пределом взвешивания не менее 20 кг.
Манометр по ГОСТ2405-88 с верхним пределом измерения 10 мПа класса точности 2,5;
Вода питьевая поГОСТ2874-82 для приготовления раствора пенообразователя.
(Измененнаяредакция, Изм. № 1).
4.9.2. Проведение испытания
В емкости дляприготовления раствора готовят 200 дм3 6 %-ного (по объему) водного раствора пенообразователя.
Приготовленныйраствор через всасывающий рукав подают насосом под давлением в 6,0·102 кПа в напорный рукав, навыходе которого установлен генератор ГПС.После получения устойчивой струи пены из генератора наполняют емкость для сборапены, при этом должно быть равномерное заполнение всего объема емкости, недопуская образования пустот. Определяют массу пены в емкости взвешиванием навесах.
4.9.3. Обработка результатов
Кратность пены (K) вычисляют по формуле
K = V/V1,
где V -объем пены, дм3;
V1 - объемраствора пенообразователя, дм3.
За результат испытанияпринимают среднее арифметическое трех определений.
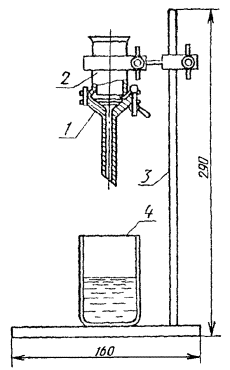
4.10. Определение показателя смачивающейспособности
Установкадля проведения испытания (черт. 2). Фильтр из бумазейной суровой ткани (в один слой) артикул 4820,вырезанный в виде круга диаметром не менее 34мм;
Секундомер по НТД,3-го класса точности;
Пипетка 6-2-10 по ГОСТ 29169-91.
(Измененнаяредакция, Изм. № 1).
4.10.2. Проведение испытания
Между цилиндрическойи конической секциями цилиндра устанавливают фильтр и укрепляют цилиндр налабораторном штативе. Отмеряют пипеткой 10 см3 4 %-ного (по объему)раствора пенообразователя и заливают его в стаканчик. Быстро выливают раствориз стаканчика вцилиндр, включают секундомер и фиксируют времяпоявления первой капли, которое характеризуетсмачивающую способность раствора.
Не допускаетсяповторное использование фильтров и рабочих растворов.
(Измененнаяредакция, Изм. № 1).
4.10.3. Обработка результатов
За результат испытания принимают среднее арифметическое результатов трехпоследовательных определений.
1- тканевый фильтр,установленный в цилиндре; 2 - полыйдвухсекционный цилиндр с коническим дном; 3 - лабораторный штатив; 4 - стаканчик для взвешивания по ГОСТ25336-82
Черт.2
(Измененнаяредакция, Изм. № 1).
5.1. Упаковка, маркировка, транспортирование и хранение - по ГОСТ 1510-84 .
5.2. Пенообразователь следует хранить в закрытых емкостях притемпературе от 5 до 40 °С (в случае замерзания пенообразователь отогревают до полного разжижения способом, исключающим егоразбавление, и перемешивают).
6.1. Изготовитель гарантируетсоответствие пенообразователя ПО-1 требованиям настоящегостандарта при соблюдении условий транспортирования и хранения.
6.2. Гарантийный срок хранения пенообразователя ПО-1 - 18 мес со дняизготовления.
(Измененнаяредакция, Изм. № 1).
7.1. Объемная концентрация рабочего раствора для полученияпены на пресной воде с жесткостью 7 - 10 мг. экв. дм-3-6 %, 10 - 30 мг. экв. дм-3- 9 %, для получениясмачивателя - 4%.
7.2. Нормативная интенсивность подачи рабочего раствора при тушении бензина пеной средней кратности 0,08 дм3/м2·с.
7.3. По истечении гарантийного срока хранения пенообразовательперед применением должен быть проверен на соответствие требованиям настоящегостандарта.
Разд. 7. (Введен дополнительно, Изм. № 1).
1.РАЗРАБОТАН И ВНЕСЕН Министерством внутреннихдел СССР
РАЗРАБОТЧИКИ
А.К. Микеев,В.В. Пивоваров, Д.Г. Билкун (руководитель темы), С.В. Баженов, Ю.Ф. Антипин, Л.М. Соловова
2.УТВЕРЖДЕН И ВВЕДЕН В ДЕЙСТВИЕ Постановлением Государственного комитета СССР постандартам от 21 мая 1981 г. № 2544
3.ВЗАМЕН ГОСТ 6948-70
4.ССЫЛОЧНЫЕ НОРМАТИВНО-ТЕХНИЧЕСКИЕ ДОКУМЕНТЫ
| Обозначение НТД, на который дана ссылка | Номер пункта, подпункта, перечисления, приложения |
| ГОСТ 12.1.007-76 | |
| ГОСТ 12.4.011-89 | |
| ГОСТ 33-82 | |
| ГОСТ 400-80 | |
| ГОСТ 1510-84 | |
| ГОСТ 1770-74 | |
| ГОСТ 2067-93 | |
| ГОСТ 2263-79 | |
| ГОСТ 2405-88 | |
| ГОСТ 2517-85 | |
| ГОСТ 2874-82 | |
| ГОСТ 5398-76 | |
| ГОСТ 5632-72 | |
| ГОСТ 6709-72 | |
| ГОСТ 12962-93 | |
| ГОСТ 13045-81 | |
| ГОСТ 18995.1-73 | |
| ГОСТ 24104-88 | |
| ГОСТ 25336-82 | |
| ГОСТ 25828-83 | |
| ГОСТ 29169-91 |
5.Ограничение срока действия снято по решениюМежгосударственного Совета по стандартизации, метрологии и сертификации (ИУС 2-93)
6.ПЕРЕИЗДАНИЕ (август 1995 г.) с Изменением № 1, утвержденным в апреле 1987г. (ИУС 7-87)
СОДЕРЖАНИЕ