Стандарт распространяется на заготовки двурогих кованых и штампованных крюков с цилиндрическим хвостовиком, применяемым в грузоподъемных машинах.
| Обозначение: | ГОСТ 6628-73* |
| Название рус.: | Крюки двурогие. Заготовки. Типы. Конструкция и размеры |
| Статус: | действующий |
| Заменяет собой: | ГОСТ 6628-63 |
| Дата актуализации текста: | 01.10.2008 |
| Дата добавления в базу: | 01.02.2009 |
| Дата введения в действие: | 01.01.1975 |
| Разработан: | Министерство тяжелого, энергетического и транспортного машиностроения СССР |
| Утвержден: | Госстандарт СССР (11.11.1973) |
| Опубликован: | Издательство стандартов № 1973<br>ИПК Издательство стандартов № 1996 |

ГОСУДАРСТВЕННЫЙ СТАНДАРТ СОЮЗА ССР
КРЮКИ ДВУРОГИЕ. ЗАГОТОВКИ
ТИПЫ.КОНСТРУКЦИЯ И РАЗМЕРЫ
ГОСТ 6628-73
ИПКИЗДАТЕЛЬСТВО СТАНДАРТОВ
Москва
ГОСУДАРСТВЕННЫЙ СТАНДАРТ СОЮЗА ССР
| КРЮКИ ДВУРОГИЕ. ЗАГОТОВКИ Типы. Конструкция и размеры Ramshorn hooks. Blanks. | ГОСТ |
Дата введения 01.01.75
Настоящий стандартраспространяется на заготовки двурогих кованых и штампованных крюков сцилиндрическим хвостовиком, применяемых в грузоподъемных машинах.
Требования настоящегостандарта являются обязательными.
(Измененная редакция, Изм. № 1).
1.1. Заготовки крюков должныизготовляться следующих типов:
А - с коротким хвостовиком;
Б - с удлиненнымхвостовиком.
1.2. Заготовки крюков должныизготовляться методом горячей объемной штамповки (I) и методом свободной ковки(II).
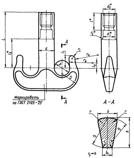
2.1. Конструкция и размерызаготовок крюков должны соответствовать указанным на чертеже и в таблице.
(Измененная редакция, Изм. № 1).
_____________
* Размеры для справок.
| Номер заготовки крюка | D | d | d1 | d2 | b | b1 | ||||||||||
| Номин. | Пред. откл. для метода | Номин. | Пред. откл. для метода | Номин. | Пред. откл. для метода | Номин. | Пред. откл. для метода | |||||||||
| I | II | I | II | I | II | I | II | |||||||||
| 1 | 60 | +3,9 -2,3 | +8 -2 | 56 | +3,9 -2,3 | +8 -2 | 50 | M48 | 35 | +3,7 -2,1 | +7 -2 | 18 | +3,7 -2,1 | +7 -2 | ||
| 2 | 70 | +4,1 -2,4 | 62 | +4,1 -2,4 | +9 -2 | 55 | M52 | 40 | +3,9 -2,2 | +8 -2 | 20 | +3,9 -2,2 | +8 -2 | |||
| 3 | 80 | +9 -2 | 68 | 60 | M56 | 45 | 22 | |||||||||
| 4 | 90 | +4,4 -2,6 | 80 | +4,4 -2,6 | +10 -2 | 70 | M64 | 50 | +4,2 -2,4 | 25 | +4,2 -2,4 | |||||
| 5 | 100 | +5,4 -2,9 | +10 -2 | 85 | +5,4 -2,9 | 75 | Трап. 70 ´ 10 | 60 | +5,4 -2,9 | +9 -2 | 30 | +5,2 -2,7 | +9 -2 | |||
| 6 | 115 | +6,4 -3,2 | 95 | +6,4 -3,2 | +11 -3 | 85 | Трап. 80 ´ 10 | 65 | +6,4 -3,2 | 32 | +6,2 -3,0 | |||||
| 7 | 125 | +6,5 -3,3 | +11 -3 | 110 | 100 | Трап. 90 ´ 12 | 75 | +12 -3 | 38 | +12 -3 | ||||||
| 8 | 145 | +8,5 -3,9 | +14 -3 | 125 | +8,5 -3,9 | +14 -3 | 110 | Трап. 100 ´ 12 | 85 | +8,4 -3,8 | 42 | +8,2 -3,6 | ||||
| 9 | 160 | +11,5 -4,8 | 135 | +11,5 -4,8 | 120 | Трап. 110 ´ 12 | 95 | +11,4 -4,7 | +17 -3 | 48 | +11,2 -4,5 | |||||
| 10 | 180 | +18 -4 | 160 | +18 -3 | 140 | Трап. 120 ´ 16 | 105 | 52 | +11,4 -4,7 | +14 -3 | ||||||
| 11 | 200 | +13,8 -5,7 | 170 | +13,5 -5,4 | 150 | Трап. 140 ´ 16 | 115 | +13,4 -5,3 | +18 -3 | 58 | +13,4 -5,3 | +16 -3 | ||||
| 12 | 220 | +22 -4 | 190 | +13,8 -5,7 | +22 -4 | 170 | Трап. 160 ´ 16 | 130 | +13,5 -5,4 | +20 -4 | 65 | +13,4 -5,4 |
| |||
| 13 | 250 | +24 -4 | 200 | 180 | Трап. 170 ´ 16 | 150 | 75 | +13,4 -5,3 | ||||||||
| 14 | 280 | +14,0 -5,9 | 220 | 200 | Трап. 180 ´20 | 165 | +22 -4 | 85 | ||||||||
Продолжение
Размеры в мм
| Номер заготовки крюка | h | L | l | l1 | l2 | l3 | r | r1 | r2 | r3 | r4 | Масса, кг | ||||
| Номин. | Пред. откл. для метода | Тип А | Тип Б | Тип А | Тип Б | |||||||||||
| I | II | |||||||||||||||
| 1 | 60 | +3,9 -2,3 | +8 -2 | 230 | 475 | 70 | 50 | 22 | 70 | 10 | 10 | 3 | 65 | 100 | 8 | 12 |
| 2 | 70 | +4,1 -2,4 | +9 -2 | 260 | 520 | 75 | 55 | 25 | 80 | 12 | 80 | 115 | 11 | 17 | ||
| 3 | 75 | +10 -2 | 280 | 580 | 80 | 60 | 28 | 85 | 4 | 90 | 125 | 14 | 21 | |||
| 4 | 85 | +4,4 -2,6 | 325 | 640 | 90 | 70 | 30 | 100 | 15 | 15 | 100 | 135 | 20 | 30 | ||
| 5 | 95 | +5,4 -2,9 | +12 -3 | 360 | 700 | 95 | 80 | 35 | 110 | 16 | 115 | 145 | 28 | 39 | ||
| 6 | 110 | +6,4 -3,2 | 420 | 760 | 100 | 85 | 40 | 120 | 20 | 5 | 125 | 165 | 41 | 55 | ||
| 7 | 120 | 470 | 820 | 115 | 95 | 45 | 130 | 18 | 22 | 135 | 180 | 60 | 78 | |||
| 8 | 140 | +8,5 -3,9 | +14 -3 | 525 | 875 | 130 | 115 | 50 | 150 | 20 | 25 | 160 | 200 | 90 | 112 | |
| 9 | 150 | +11,5 -4,8 | 590 | 940 | 140 | 130 | 55 | 170 | 22 | 26 | 175 | 230 | 126 | 155 | ||
| 10 | 170 | +16 -3 | 660 | 1000 | 150 | 140 | 65 | 180 | 30 | 6 | 200 | 260 | 159 | 206 | ||
| 11 | 180 | +13,5 -5,4 | 725 | 1050 | 175 | 165 | 70 | 205 | 25 | 220 | 280 | 228 | 265 | |||
| 12 | 210 | +13,8 -5,7 | +23 -4 | 800 | 1150 | 190 | 180 | 80 | 220 | 35 | 8 | 240 | 310 | 302 | 357 | |
| 13 | 235 | 860 | 1175 | 205 | 200 | 95 | 250 | 30 | 265 | 330 | 400 | 471 | ||||
| 14 | 270 | +14,0 -5,7 | 900 | 1200 | 230 | 210 | 100 | 260 | 35 | 40 | 10 | 300 | 360 | 530 | 620 | |
Примечания:
1. Длина L заготовки крюка указана без припуска на испытания.
2. Длину L для заготовок крюков типа Бразрешается увеличивать не более чем на 100 мм для машин, у которых группарежима работы механизма подъема 6М.
3. Взаготовках крюков, изготовляемых методом свободной ковки, несоосность зевовотносительно общей оси для заготовок крюков с номера 1 по 5 - не более 8, с 6по 10 - не более 14, с 11 по 14 - не более 20 мм.
4. В заготовках крюков, изготовляемых методом свободной ковки,допускается в нижней части сечения А-Арадиус r не выполнять.
Примерусловного обозначения заготовки крюка 4 типа А:
Заготовка крюка 4А ГОСТ 6628-73
2.2. Метрическая резьба - поГОСТ 16093-81 с полем допусков 6g,трапецеидальная - по ГОСТ 9562-81.
2.3. Технические требования,методы испытаний, маркировка и транспортирование - по ГОСТ 2105-75.
2.4. Грузоподъемность крюковдолжна соответствовать величинам, указанным в приложении.
| Номер заготовки крюка | Для машин и механизмов с ручным приводом | Для механизмов групп режима работы по ГОСТ 25835-83 | |
| до 4М | 5М и 6М | ||
| 1 | 8,0 | 6,3 | 5,0 |
| 2 | 10,0 | 8,0 | 6,3 |
| 3 | 12,5 | 10,0 | 8,0 |
| 4 | 16,0 | 12,5 | 10,0 |
| 5 | 20,0 | 16,0 | 12,5 |
| 6 | - | 20,0 | 16,0 |
| 7 | - | 25,0 | 20,0 |
| 8 | - | 32,0 | 25,0 |
| 9 | - | 40,0 | 32,0 |
| 10 | - | 50,0 | 40,0 |
| 11 | - | 63,0 | 50,0 |
| 12 | - | 80,0 | 63,0 |
| 13 | - | 100,0 | 80,0 |
| 14 | - | - | 100,0 |
(Измененная редакция, Изм. №1).
ИНФОРМАЦИОННЫЕ ДАННЫЕ
1. РАЗРАБОТАН И ВНЕСЕН Министерством тяжелого,энергетического и транспортного машиностроения СССР
РАЗРАБОТЧИКИ
А.С. Липатов, С.П. Маркин, В.Л. Грищенко, Н.М. Колпаков, Л.В.Бурдукский
2. УТВЕРЖДЕН И ВВЕДЕН В ДЕЙСТВИЕ Постановлением Государственногокомитета стандартов Совета Министров СССР от 11.11.73 № 2435
3. Срокпроверки - 1994 г.; периодичность проверки - 5 лет
4. ВЗАМЕН ГОСТ 6628-63
5. ССЫЛОЧНЫЕНОРМАТИВНО-ТЕХНИЧЕСКИЕ ДОКУМЕНТЫ
| Обозначение НТД, на который дана ссылка | Номер пункта, приложения |
| ГОСТ 2105-75 | |
| ГОСТ 9562-81 | |
| ГОСТ 16093-81 | |
| ГОСТ 25835-83 |
6. Ограничение срокадействия снято по протоколу № 4-93 Межгосударственного Совета постандартизации, метрологии и сертификации
7. ПЕРЕИЗДАНИЕ (июль 1996г.) с Изменением № 1, утвержденным в декабре 1991 г. (ИУС 4-92)