Настоящий стандарт распространяется на технические изделия из благородных металлов и сплавов, в том числе лабораторную посуду и принадлежности, применяемые в различных отраслях промышленности и науки.
| Обозначение: | ГОСТ 6563-75* |
| Название рус.: | Изделия технические из благородных металлов и сплавов. Технические условия |
| Статус: | действующий |
| Заменяет собой: | ГОСТ 6563-58 |
| Дата актуализации текста: | 08.10.2010 |
| Дата добавления в базу: | 08.10.2010 |
| Дата введения в действие: | 01.01.1977 |
| Разработан: | Министерство цветной металлургии СССР |
| Утвержден: | Госстандарт СССР (30.12.1975) |
| Опубликован: | Издательство стандартов № 1975<br>Стандартинформ № 2009 |
ГОСТ6563-75
МЕЖГОСУДАРСТВЕННЫЙ СТАНДАРТ
ИЗДЕЛИЯТЕХНИЧЕСКИЕ
ИЗ БЛАГОРОДНЫХ МЕТАЛЛОВ
И СПЛАВОВ
ТЕХНИЧЕСКИЕ УСЛОВИЯ
|
| Москва Стандартинформ 2009 |
Содержание
МЕЖГОСУДАРСТВЕННЫЙСТАНДАРТ
| ИЗДЕЛИЯ ТЕХНИЧЕСКИЕ ИЗ БЛАГОРОДНЫХ Технические условия Technical articles made of noble metals and their alloys. Specifications | ГОСТ |
Дата введения 01.01.77
Настоящий стандарт распространяется на технические изделия из благородныхметаллов и сплавов, в том числе лабораторную посуду и принадлежности, применяемыев различных отраслях промышленности и науки.
(Измененная редакция, Изм. № 3).
1.1. Технические изделия поформе, размерам и предельным отклонениям должны соответствовать указанным начерт. 1 - 93 и в табл. 1 - 52.
Неуказанные предельные отклонения размеровдолжны быть ![]()
Тигли высокие из платины
Изделие № 100

Черт. 1
Таблица 1
| Номера изделий | Вместимость, см3 | D | d | H | δ0 | δ | Масса, г |
| мм | |||||||
| 100-1 | 4 | 18 | 12 | 20 | 0,22 ± 0,02 | 0,14 ± 0,03 | 3,4 |
| 100-2 | 6 | 20 | 13 | 25 | 0,24 ± 0,02 | 0,15 ± 0,03 | 5,4 |
| 100-3 | 9 | 24 | 16 | 26 | 0,27 ± 0,02 | 0,17 ± 0,03 | 8,0 |
| 100-4 | 12 | 26 | 18 | 30 | 0,28 ± 0,02 | 0,19 ± 0,04 | 30,5 |
| 100-5 | 15 | 28 | 19 | 33 | 0,30 ± 0,02 | 0,21 ± 0,04 | 13,0 |
| 100-6 | 18 | 30 | 20 | 36 | 0,35 ± 0,03 | 0,24 ± 0,05 | 18,0 |
| 100-7 | 25 | 32 | 21 | 40 | 0,37 ± 0,03 | 0,26 ± 0,05 | 24,0 |
| 100-8 | 32 | 35 | 24 | 42 | 0,40 ± 0,03 | 0,28 ± 0,05 | 26,4 |
| 100-9 | 40 | 38 | 26 | 45 | 0,45 ± 0,03 | 0,31 ± 0,05 | 36,0 |
| 100-10 | 54 | 42 | 28 | 50 | 0,45 ± 0,03 | 0,31 ± 0,05 | 44,0 |
| 100-11 | 90 | 50 | 33 | 60 | 0,60 ± 0,03 | 0,52 ± 0,08 | 95,0 |
| 100-12 | 145 | 60 | 40 | 70 | 0,75 ± 0,03 | 0,63 ± 0,10 | 170,0 |
| 100-13 | 310 | 72 | 50 | 100 | 1,0 ± 0,03 | 0,78 ± 0,10 | 365,0 |
Примечание. По требованиюпотребителя тигли № 100-1-100-8 могут изготовлять из сплавов марок ПлИ-5 или ПлРд-7, а такжеиз платины с утолщенной стенкой, равной 1,5δи дном, равным 1,5δ0.
Крышки к тиглямвысоким из платины
Изделие № 101

Черт. 2
Таблица 2
| Номера изделий | D | d | h | K | δ (пред. откл. ± 0,02) | Масса, г |
| мм | ||||||
| 101-1 | 22 | 17 | 2 | 25 | 0,15 | 1,4 |
| 101-2 | 23 | 19 | 2 | 28 | 0,15 | 1,7 |
| 101-3 | 28 | 23 | 2 | 33 | 0,15 | 2,2 |
| 101-4 | 31 | 25 | 2,5 | 36 | 0,15 | 2,6 |
| 101-5 | 33 | 27 | 2,5 | 39 | 0,15 | 3,2 |
| 101-6 | 35 | 29 | 2,5 | 40 | 0,15 | 3,3 |
| 101-7 | 37 | 31 | 2,5 | 43 | 0,15 | 3,8 |
| 101-8 | 40 | 34 | 2,5 | 46 | 0,15 | 4,4 |
| 101-9 | 42 | 37 | 2,5 | 49 | 0,15 | 5,1 |
| 101-10 | 46 | 41 | 2,5 | 53 | 0,15 | 5,9 |
| 101-11 | 55 | 48 | 4 | 63 | 0,2 | 12,6 |
| 101-12 | 65 | 58 | 4 | 74 | 0,2 | 16,3 |
| 101-13 | 78 | 71 | 5 | 87 | 0,25 | 31,4 |
Тигли высокие из серебра
Изделие № 102

Черт. 3
Таблица 3
| Номера изделий | Вместимость, см3 | D | d | H | δ0 | δ | Масса, г |
| мм | |||||||
| 102-1 | 4 | 18 | 12 | 20 | 0,44 ± 0,03 | 0,27 ± 0,05 | 3,6 |
| 102-2 | 6 | 20 | 13 | 25 | 0,48 ± 0,03 | 0,34 ± 0,05 | 6,0 |
| 102-3 | 9 | 24 | 16 | 26 | 0,54 ± 0,03 | 0,38 ± 0,05 | 8,6 |
| 102-4 | 12 | 26 | 18 | 30 | 0,56 ± 0,03 | 0,38 ± 0,05 | 11,5 |
| 102-5 | 15 | 28 | 19 | 33 | 0,60 ± 0,04 | 0,41 ± 0,05 | 14,0 |
| 102-6 | 18 | 30 | 20 | 36 | 0,68 ± 0,04 | 0,50 ± 0,06 | 18,0 |
| 102-7 | 25 | 33 | 21 | 40 | 0,74 ± 0,04 | 0,57 ± 0,08 | 26,0 |
| 102-8 | 32 | 36 | 24 | 42 | 0,76 ± 0,04 | 0,58 ± 0,08 | 29,0 |
| 102-9 | 40 | 39 | 26 | 45 | 0,88 ± 0,04 | 0,66 ± 0,10 | 39,0 |
| 102-10 | 54 | 43 | 28 | 50 | 0,96 ± 0,04 | 0,68 ± 0,10 | 49,0 |
Крышки к тиглям высоким из серебра
Изделие № 103

Черт. 4
Таблица 4
| Номера изделий | D | d | h | K | Масса, г |
| мм | |||||
| 103-1 | 22 | 17 | 2 | 25 | 1,2 |
| 103-2 | 23 | 19 | 2 | 28 | 1,4 |
| 103-3 | 28 | 23 | 2 | 33 | 1,8 |
| 103-4 | 31 | 25 | 2,5 | 36 | 2,3 |
| 103-5 | 33 | 27 | 2,5 | 39 | 2,7 |
| 103-6 | 35 | 29 | 2,5 | 40 | 2,8 |
| 103-7 | 37 | 31 | 2,5 | 43 | 3,2 |
| 103-8 | 40 | 34 | 2,5 | 46 | 3,6 |
| 103-9 | 42 | 37 | 2,5 | 49 | 4,1 |
| 103-10 | 46 | 41 | 2,5 | 53 | 5,1 |
Тигли высокие из золота
Изделие № 104

Черт. 5
Таблица 5
| Номера изделий | Вместимость, см3 | D | d | H | δ0 | δ | Масса, г |
| мм | |||||||
| 104-1 | 4 | 18 | 12 | 20 | 0,22 ± 0,02 | 0,14 ± 0,03 | 3,1 |
| 104-2 | 6 | 20 | 13 | 25 | 0,24 ± 0,02 | 0,15 ± 0,03 | 4,9 |
| 104-3 | 9 | 24 | 16 | 26 | 0,27 ± 0,02 | 0,17 ± 0,03 | 7,3 |
| 104-4 | 12 | 26 | 18 | 30 | 0,28 ± 0,02 | 0,19 ± 0,04 | 9,6 |
| 104-5 | 15 | 28 | 19 | 33 | 0,30 ± 0,02 | 0,21 ± 0,04 | 12,0 |
| 104-6 | 18 | 30 | 20 | 36 | 0,34 ± 0,03 | 0,24 ± 0,05 | 15,0 |
| 104-7 | 25 | 32 | 21 | 40 | 0,37 ± 0,03 | 0,26 ± 0,05 | 22,0 |
Крышки к тиглям высоким из золота
Изделие № 105

Черт. 6
Таблица 6
| Номера изделий | D | d | h | K | Масса, г |
| мм | |||||
| 105-1 | 22 | 17 | 2 | 25 | 1,2 |
| 105-2 | 23 | 19 | 2 | 28 | 1,5 |
| 105-3 | 28 | 23 | 2 | 33 | 2,0 |
| 105-4 | 31 | 25 | 2,5 | 36 | 2,4 |
| 105-5 | 33 | 27 | 2,5 | 39 | 2,9 |
| 105-6 | 35 | 29 | 2,5 | 40 | 3,1 |
| 105-7 | 37 | 31 | 2,5 | 43 | 3,4 |
Тигли высокие из платины с усиленной кромкой (отбортовкой)
Изделие № 106

Черт. 7
Таблица7
| Номера изделий | Вместимость, см3 | D | d | H | δ0 | δ | Масса, г |
| мм | |||||||
| 106-1 | 4 | 18 | 12 | 20 | 0,22 ± 0,03 | 0,14 ± 0,03 | 4,0 |
| 106-2 | 6 | 20 | 13 | 25 | 0,24 ± 0,03 | 0,15 ± 0,04 | 6,0 |
| 106-3 | 9 | 24 | 16 | 26 | 0,27 ± 0,03 | 0,17 ± 0,04 | 9,0 |
| 106-4 | 12 | 26 | 18 | 30 | 0,28 ± 0,03 | 0,19 ± 0,04 | 12,0 |
| 106-5 | 15 | 28 | 19 | 33 | 0,30 ± 0,03 | 0,21 ± 0,04 | 15,0 |
| 106-6 | 18 | 30 | 20 | 36 | 0,34 ± 0,03 | 0,24 ± 0,05 | 19,0 |
| 106-7 | 25 | 32 | 21 | 40 | 0,37 ± 0,03 | 0,26 ± 0,05 | 26,0 |
| 106-8 | 32 | 35 | 24 | 42 | 0,40 ± 0,03 | 0,28 ± 0,05 | 30,0 |
| 106-9 | 40 | 38 | 26 | 45 | 0,45 ± 0,03 | 0,31 ± 0,05 | 40,0 |
| 106-10 | 54 | 42 | 28 | 50 | 0,45 ± 0,03 | 0,31 ± 0,06 | 50,0 |
Примечание. По требованиюпотребителя тигли № 106-1-106-8 могут изготовлять из сплавов марок ПлИ-5 или ПлР-7, а такжеиз платины с утолщенной стенкой, равной 1,5δи дном, равным 1,5δ0.
Тигли широкие из платины или серебра
Изделие №107

Черт. 8
Таблица 8
| Номера изделий | Вместимость, см3 | D | d | H | δ0 | δ | Масса, г |
| мм | |||||||
| Из платины | |||||||
| 107-1 | 9 | 28 | 14 | 22 | 0,28 ± 0,02 | 0,23 ± 0,04 | 9,0 |
| 107-2 | 20 | 38 | 19 | 28 | 0,37 ± 0,03 | 0,27 ± 0,05 | 20,0 |
| 107-3 | 27 | 42 | 22 | 30 | 0,40 ± 0,03 | 0,29 ± 0,05 | 26,0 |
| Из серебра | |||||||
| 107-4 | 9 | 28 | 14 | 22 | 0,56 ± 0,04 | 0,44 ± 0,06 | 9,0 |
| 107-5 | 20 | 38 | 19 | 28 | 0,74 ± 0,04 | 0,54 ± 0,08 | 20,0 |
| 107-6 | 27 | 42 | 22 | 30 | 0,80 ± 0,05 | 0,65 ± 0,08 | 27,0 |
Примечание. Крышки к широким тиглямподбираются из крышек к высоким тиглям:
тиглю № 107-1соответствует крышка № 101-5 массой 3,2 г;
» №107-2 » » № 101-9 » 5,1 г;
» №107-3 » » № 101-10 » 6,0 г;
» №107-4 » » № 103-5 » 2,7 г;
» №107-5 » » № 103-9 » 4,1 г;
» №107-6 » » № 103-10 » 5,2 г.
Микротигли из платины или золота
Изделие № 108

Черт. 9
Таблица 9
| Номера изделий | Вместимость, | D | d | H | Масса, г |
| мм | |||||
| Из платины | |||||
| 108-1 | 0,3 | 8 | 5 | 8,5 | 0,5 |
| 108-2 | 0,7 | 10 | 6 | 11 | 1,0 |
| 108-3 | 1,2 | 12 | 8 | 14 | 1,5 |
| 108-4 | 2,3 | 15 | 10 | 17 | 2,1 |
| Из золота | |||||
| 108-5 | 0,3 | 8 | 5 | 8,5 | 0,5 |
| 108-6 | 0,7 | 10 | 6 | 11 | 0,9 |
| 108-7 | 1,2 | 12 | 8 | 14 | 1,3 |
| 108-8 | 2,3 | 15 | 10 | 17 | 1,9 |
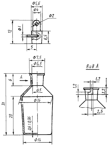
Крышки к микротиглям из платины или золота
Изделие № 109

Черт. 10
Таблица 10
| Номера изделий | D | d | h | K | Масса, г |
|
| мм | ||||
| Из платины | |||||
| 109-1 | 10 | 7 | 1,5 | 9 | 0,3 |
| 109-2 | 13 | 9 | 1,8 | 10 | 0,5 |
| 109-3 | 15 | 11 | 2,0 | 12 | 0,7 |
| 109-4 | 18 | 14 | 2,0 | 15 | 1,0 |
| Из золота | |||||
| 109-5 | 10 | 7 | 1,5 | 9 | 0,3 |
| 109-6 | 13 | 9 | 1,8 | 10 | 0,5 |
| 109-7 | 15 | 11 | 2,0 | 12 | 0,6 |
| 109-8 | 18 | 14 | 2,0 | 15 | 0,9 |
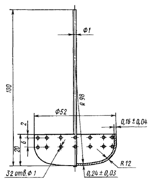
Тигли из платины с поддоном и отверстиями в дне
Изделие № 110

Черт. 11
Таблица 11
| Номера изделий | D | D | H | h | δ0 (пред. откл. ±0,03) | δ (пред. откл. ±0,05) | Масса, г |
| мм | |||||||
| 110-1 | 26 | 18 | 26 | 6 | 0,4 | 0,3 | 19,0 |
| 110-2 | 32 | 18 | 38 | 7 | 0,4 | 0,3 | 26,0 |
Примечание. Тиглю № 110-1 соответствует крышка №101-4 массой 2,7 г; тиглю № 110-2 соответствует крышка № 101-7 массой 3,8 г.
(Измененная редакция,Изм. № 1, 2).
| Тигли конические с крышкой из платины | Тигли конические с отверстиями в дне из платины | |
| Изделие № 111 | Изделие № 112 | Изделие № 113 |
|
|
|
|
| Масса 34 г Черт. 12 | Масса 40 г Черт. 13 | Масса 28 г. Черт. 14 |
Чашки со сферическим дном из платины или серебра
Изделия № 115 и № 116

Черт. 15
Таблица 12
| Номера изделий | Вместимость, см3 | D | H | δ0 | δ | Масса, г |
| мм | ||||||
| Из платины | ||||||
| 115-1 | 16 | 37 | 20 | 0,20 ± 0,02 | 0,16 ± 0,03 | 8,5 |
| 115-2 | 32 | 47 | 24 | 0,24 ± 0,02 | 0,17 ± 0,04 | 16,0 |
| 115-3 | 63 | 60 | 29 | 0,28 ± 0,02 | 0,19 ± 0,04 | 28,0 |
| 115-4 | 100 | 70 | 34 | 0,30 ± 0,02 | 0,21 ± 0,04 | 43,0 |
| 115-5 | 160 | 80 | 40 | 0,32 ± 0,03 | 0,22 ± 0,05 | 61,0 |
| 115-6 | 225 | 90 | 45 | 0,33 ± 0,03 | 0,24 ± 0,05 | 80,0 |
| 115-7 | 325 | 100 | 52 | 0,34 ± 0,03 | 0,24 ± 0,05 | 105,0 |
| 115-8 | 450 | 110 | 58 | 0,38 ± 0,03 | 0,27 ± 0,05 | 150,0 |
| 115-9 | 550 | 120 | 60 | 0,40 ± 0,03 | 0,27 ± 0,05 | 180,0 |
| 115-10 | 825 | 142 | 70 | 0,40 ± 0,03 | 0,28 ± 0,05 | 255,0 |
| 115-11 | 1200 | 156 | 78 | 0,45 ± 0,03 | 0,30 ± 0,05 | 335,0 |
| Из серебра | ||||||
| 116-1 | 16 | 37 | 20 | 0,40 ± 0,03 | 0,30 ± 0,05 | 8,5 |
| 116-2 | 32 | 47 | 24 | 0,48 ± 0,03 | 0,32 ± 0,05 | 16,0 |
| 116-3 | 63 | 60 | 29 | 0,56 ± 0,03 | 0,37 ± 0,05 | 29,0 |
| 116-4 | 100 | 70 | 34 | 0,60 ± 0,04 | 0,39 ± 0,06 | 42,0 |
| 116-5 | 160 | 80 | 40 | 0,64 ± 0,04 | 0,44 ± 0,06 | 60,0 |
| 116-6 | 225 | 90 | 45 | 0,66 ± 0,04 | 0,48 ± 0,06 | 82,0 |
| 116-7 | 325 | 100 | 52 | 0,70 ± 0,04 | 0,48 ± 0,06 | 105,0 |
| 116-8 | 450 | 110 | 58 | 0,80 ± 0,04 | 0,53 ± 0,08 | 150,0 |
| 116-9 | 550 | 120 | 60 | 0,82 ± 0,04 | 0,54 ± 0,08 | 175,0 |
| 116-10 | 825 | 142 | 70 | 0,84 ± 0,05 | 0,62 ± 0,10 | 255,0 |
| 116-11 | 1200 | 156 | 78 | 0,90 ± 0,05 | 0,66 ± 0,10 | 335,0 |
Чашки со сферическим дном из платины с усиленной кромкой(отбортовкой)
Изделие № 117

Черт. 16
Таблица 13
| Номера изделий | Вместимость, см3 | D | H | δ0 (пред. откл. ±0,03) | δ | Масса, г |
| мм | ||||||
| 117-1 | 16 | 37 | 20 | 0,20 | 0,16 ± 0,04 | 10 |
| 117-2 | 32 | 47 | 24 | 0,24 | 0,17 ± 0,04 | 18 |
| 117-3 | 63 | 60 | 29 | 0,28 | 0,19 ± 0,04 | 32 |
| 117-4 | 100 | 70 | 34 | 0,30 | 0,21 ± 0,04 | 50 |
| 117-5 | 160 | 80 | 40 | 0,32 | 0,22 ± 0,05 | 68 |
| 117-6 | 225 | 90 | 45 | 0,33 | 0,24 ± 0,05 | 88 |
| 117-7 | 325 | 100 | 52 | 0,34 | 0,24 ± 0,06 | 115 |
| 117-8 | 450 | 110 | 58 | 0,38 | 0,27 ± 0,06 | 162 |
| 117-9 | 550 | 120 | 60 | 0,40 | 0,27 ± 0,06 | 194 |
| 117-10 | 825 | 142 | 70 | 0,42 | 0,28 ± 0,07 | 281 |
| 117-11 | 1200 | 156 | 78 | 0,45 | 0,30 ± 0,08 | 365 |
Примечание. По требованию потребителячашки № 117-1 - 117-8 могут изготовлять из сплавов марок ПлИ-5 или ПлРд-7, атакже из платины с утолщенной стенкой, равной 1,5δи дном 1,5δ0.
Чашки из платины или серебра
Изделия № 118 и № 119

Черт. 17
Таблица 14
| Номера изделий | Вместимость, см3 | D | H | δ0 | δ | Масса, г |
| мм | ||||||
| Из платины | ||||||
| 118-1 | 18 | 40 | 18 | 0,20 ± 0,02 | 0,16 ± 0,03 | 10,0 |
| 118-2 | 34 | 52 | 20 | 0,24 ± 0,02 | 0,18 ± 0,03 | 19,0 |
| 118-3 | 65 | 63 | 25 | 0,26 ± 0,02 | 0,19 ± 0,03 | 32,0 |
| 118-4 | 115 | 75 | 31 | 0,28 ± 0,02 | 0,21 ± 0,03 | 51,0 |
| 118-5 | 200 | 90 | 35 | 0,30 ± 0,02 | 0,21 ± 0,03 | 72,0 |
| 118-6 | 280 | 100 | 41 | 0,30 ± 0,02 | 0,22 ± 0,04 | 88,0 |
| 118-7 | 400 | 115 | 45 | 0,34 ± 0,02 | 0,24 ± 0,04 | 135,0 |
| 118-8 | 550 | 127 | 51 | 0,36 ± 0,02 | 0,25 ± 0,05 | 165,0 |
| Из серебра | ||||||
| 119-1 | 18 | 40 | 18 | 0,40 ± 0,03 | 0,30 ± 0,05 | 10,0 |
| 119-2 | 34 | 52 | 20 | 0,48 ± 0,03 | 0,36 ± 0,05 | 19,0 |
| 119-3 | 65 | 63 | 25 | 0,56 ± 0,03 | 0,40 ± 0,05 | 31,0 |
| 119-4 | 115 | 75 | 31 | 0,56 ± 0,03 | 0,41 ± 0,05 | 47,0 |
| 119-5 | 200 | 90 | 35 | 0,62 ± 0,03 | 0,45 ± 0,05 | 72,0 |
| 119-6 | 280 | 100 | 41 | 0,65 ± 0,03 | 0,43 ± 0,07 | 90,0 |
| 119-7 | 400 | 115 | 45 | 0,70 ± 0,03 | 0,48 ± 0,08 | 133,0 |
| 119-8 | 550 | 127 | 51 | 0,72 ± 0,03 | 0,48 ± 0,08 | 162,0 |
Чашки из платины с усиленной кромкой (отбортовкой)
Изделие № 120

Черт. 18
Таблица 15
| Номера изделий | Вместимость, см3 | D | H | δ0 (пред. откл. ±0,03) | δ | Масса, г |
| мм | ||||||
| 120-1 | 13 | 40 | 18 | 0,20 | 0,16 ± 0,04 | 11,0 |
| 120-2 | 34 | 52 | 20 | 0,24 | 0,18 ± 0,04 | 21,0 |
| 120-3 | 65 | 63 | 25 | 0,26 | 0,19 ± 0,05 | 33,0 |
| 120-4 | 115 | 75 | 31 | 0,28 | 0,21 ± 0,05 | 52,0 |
| 120-5 | 200 | 90 | 35 | 0,30 | 0,21 ± 0,05 | 78,0 |
| 120-6 | 280 | 100 | 41 | 0,30 | 0,22 ± 0,05 | 95,0 |
| 120-7 | 400 | 115 | 45 | 0,34 | 0,24 ± 0,05 | 144,0 |
| 120-8 | 550 | 127 | 51 | 0,36 | 0,24 ± 0,05 | 179,0 |
Примечание. По требованию потребителячашки № 120-1 - 120-8 могут изготовлять из сплавов марок ПлИ-5 или ПлРд-7, атакже из платины с утолщенной стенкой, равной 1,5δ и дном, равным1,5δ0.
Изделие № 121

Черт. 19
Таблица 16
| Номера изделий | Вместимость, см3 | D | H | Масса, г |
| мм | ||||
| 121-1 | 10 | 35 | 12 | 10,0 |
| 121-2 | 45 | 50 | 23 | 23,0 |
Чашки конические из платины
Изделие № 122

Черт. 20
Таблица 17
| Номера изделий | Вместимость, см3 | D | d | H | Масса, г |
| мм | |||||
| 122-1 | 30 | 50 | 45 | 15 | 18,0 |
| 122-2 | 58 | 60 | 54 | 18 | 26,0 |
| 122-3 | 80 | 70 | 61 | 21 | 32,0 |
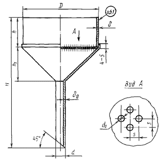
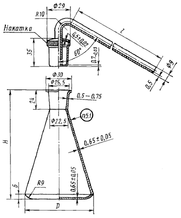
Воронки из платины
Изделие № 123

Черт. 21
Таблица 18
| Номера изделий | D | d | H | h | δ | δ0 | Масса, г |
| мм | |||||||
| 123-1 | 40 | 4 | 80 | 31 | 0,25 ± 0,04 | 0,35 ± 0,04 | 19,0 |
| 123-2 | 50 | 5 | 100 | 39 | 0,34 ± 0,05 | 0,35 ± 0,04 | 35,0 |
| 123-3 | 60 | 6 | 120 | 47 | 0,39 ± 0,06 | 0,50 ± 0,05 | 58,0 |
| 123-4 | 70 | 7 | 140 | 55 | 0,53 ± 0,06 | 0,50 ± 0,05 | 110,0 |
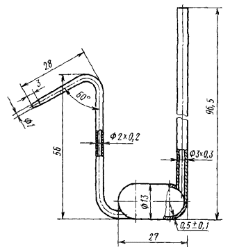
Воронки с цилиндром из платины
Изделие № 124

Черт. 22
Таблица 19
| Номера изделий | D | H | h | δ (пред. откл. ±0,06) | Масса, г |
| мм | |||||
| 124-1 | 60 | 30 | 25 | 0,41 | 113,0 |
| 124-2 | 80 | 40 | 35 | 0,38 | 175,0 |
| 124-3 | 100 | 40 | 45 | 0,36 | 245,0 |
Воронки с цилиндром и решеткой из платины
Изделие № 125

Черт. 23
Таблица 20
| Номера изделий | Вместимость, см3 | D | h | h1 | H | d | δ | δ0 | s | d1 | Масса, г |
| мм | |||||||||||
| 125-1 | 55 | 56 | 24 | 25 | 100 | 6 | 0,25 ± 0,04 | 0,35 ± 0,04 | 1,5 | 1,0 | 70,0 |
| 125-2 | 120 | 72 | 30 | 32 | 127 | 8 | 0,29 ± 0,05 | 0,35 ± 0,04 | 1,75 | 1,25 | 125,0 |
| 125-3 | 225 | 92 | 35 | 41 | 156 | 10 | 0,35 ± 0,06 | 0,5 ± 0,05 | 2,0 | 1,5 | 240,0 |
| 125-4 | 450 | 120 | 40 | 54 | 194 | 12 | 0,44 ± 0,08 | 0,5 ± 0,05 | 2,25 | 1,75 | 510,0 |
Стаканы цилиндрические из платины или серебра
Изделие № 126

Черт. 24
Таблица21
| Номера изделий | Вместимость, см3 | D | H | δ0 | δ | Масса, г |
| мм | ||||||
| Из платины | ||||||
| 126-1 | 100 | 40 | 80 | 0,33 ± 0,03 | 0,28 ± 0,04 | 68,0 |
| 126-2 | 150 | 45 | 96 | 0,40 ± 0,03 | 0,33 ± 0,04 | 110,0 |
| 126-3 | 240 | 55 | 106 | 0,43 ± 0,03 | 0,40 ± 0,04 | 175,0 |
| 126-4 | 480 | 75 | 113 | 0,48 ± 0,03 | 0,44 ± 0,04 | 285,0 |
| 126-5 | 950 | 100 | 125 | 0,60 ± 0,04 | 0,55 ± 0,05 | 560,0 |
| Из серебра | ||||||
| 126-6 | 100 | 40 | 80 | 0,9 ± 0,03 | 0,77 ± 0,05 | 92,0 |
| 126-7 | 150 | 45 | 96 | 0,9 ± 0,03 | 0,77 ± 0,05 | 125,0 |
| 126-8 | 240 | 55 | 106 | 0,9 ± 0,03 | 0,77 ± 0,05 | 175,0 |
| 126-9 | 480 | 75 | 113 | 1,0 ± 0,04 | 0,83 ± 0,06 | 285,0 |
| 126-10 | 950 | 100 | 125 | 1,0 ± 0,04 | 0,83 ± 0,06 | 425,0 |
Стаканы конические из платины или серебра
Изделие № 127

Черт. 25
Таблица 22
| Номера изделий | Вместимость, см3 | D | d | H | Масса, г |
| мм | |||||
| Из платины | |||||
| 127-1 | 20 | 32 | 25 | 40 | 135,0 |
| 127-2 | 45 | 40 | 30 | 60 | 235,0 |
| 127-3 | 90 | 48 | 35 | 80 | 365,0 |
| Из серебра | |||||
| 127-4 | 20 | 32 | 25 | 40 | 65,0 |
| 127-5 | 45 | 40 | 30 | 60 | 115,0 |
| 127-6 | 90 | 48 | 35 | 80 | 180,0 |
Колбы круглодонные низкогорлые из платины
Изделие № 128

Черт. 26
Таблица 23
| Номера изделий | Вместимость, см3 | D | d | d1 | H | δ0 (пред. откл. ±0,03) | δ | Масса, г |
| мм | ||||||||
| 128-1 | 30 | 40 | 16 | 19 | 60 | 0,38 | 0,31 ± 0,06 | 43,0 |
| 128-2 | 60 | 50 | 16 | 19 | 75 | 0,40 | 0,32 ± 0,06 | 58,0 |
| 128-3 | 100 | 60 | 18 | 21 | 90 | 0,43 | 0,32 ± 0,06 | 95,0 |
| 128-4 | 200 | 75 | 23 | 26 | 110 | 0,46 | 0,33 ± 0,06 | 155,0 |
| 128-5 | 300 | 86 | 25 | 28 | 128 | 0,55 | 0,37 ± 0,07 | 235,0 |
| 128-6 | 550 | 102 | 28 | 31 | 152 | 0,65 | 0,43 ± 0,1 | 395,0 |
Колбы круглодонные высокогорлые из платины
Изделие № 129

Черт. 27
Таблица 24
| Номера изделий | Вместимость, см3 | D | d | d1 | H | δ0 (пред. откл. ±0,03) | δ | Масса, г |
| мм | ||||||||
| 129-1 | 30 | 40 | 16 | 19 | 85 | 0,38 | 0,31 ± 0,06 | 52,0 |
| 129-2 | 60 | 50 | 16 | 19 | 110 | 0,40 | 0,32 ± 0,06 | 71,0 |
| 129-3 | 100 | 60 | 18 | 21 | 140 | 0,43 | 0,32 ± 0,06 | 115,0 |
| 129-4 | 200 | 75 | 23 | 26 | 160 | 0,46 | 0,33 ± 0,06 | 180,0 |
| 129-5 | 300 | 86 | 25 | 28 | 190 | 0,55 | 0,37 ± 0,07 | 276,0 |
| 129-6 | 550 | 102 | 28 | 31 | 215 | 0,65 | 0,43 ± 0,1 | 458,0 |
Колбы конические из платины или палладия
Изделие № 130

Черт. 28
Таблица 25
| Номера изделий | Вместимость, см3 | D | d | d1 | d2 | H | h | δ (пред. откл. ±0,05) | Масса, г |
| мм | |||||||||
| Из платины | |||||||||
| 130-1 | 45 | 46 | 26 | 21,5 | 19,5 | 70 | 20 | 0,6 | 105,0 |
| 130-2 | 90 | 60 | 26 | 21,5 | 19,5 | 90 | 20 | 0,6 | 165,0 |
| 130-3 | 160 | 70 | 26 | 21,5 | 19,5 | 110 | 20 | 0,6 | 235,0 |
| 130-4 | 280 | 85 | 30 | 25,5 | 22,5 | 134 | 24 | 0,65 | 385,0 |
| 130-5 | 400 | 98 | 30 | 25,5 | 22,5 | 154 | 24 | 0,7 | 515,0 |
| Из палладия | |||||||||
| 130-6 | 45 | 46 | 26 | 21,5 | 19,5 | 70 | 20 | 0,6 | 61,0 |
| 130-7 | 90 | 60 | 26 | 21,5 | 19,5 | 90 | 20 | 0,6 | 96,0 |
| 130-8 | 160 | 70 | 26 | 21,5 | 19,5 | 110 | 20 | 0,6 | 136,0 |
| 130-9 | 280 | 85 | 30 | 25,5 | 22,5 | 134 | 24 | 0,65 | 220,0 |
| 130-10 | 400 | 98 | 30 | 25,5 | 22,5 | 154 | 24 | 0,7 | 300,0 |
Пробки к коническим колбам из платины или палладия
Изделие № 130

Черт. 29
Таблица 26
| Номера изделий | D | d | H | h | Масса, г |
| мм | |||||
| Из платины | |||||
| 130-11 | 25 | 18,2 | 31 | 20 | 33,0 |
| 130-12 | 29 | 21,5 | 35 | 24 | 46,0 |
| Из палладия | |||||
| 130-13 | 25 | 18,2 | 31 | 20 | 19,0 |
| 130-14 | 29 | 21,5 | 35 | 24 | 27,0 |
Примечание. Колбам № 130-1, 130-2,130-3 соответствует пробка № 130-11; колбам № 130-4, 130-5 соответствует пробка№ 130-12; колбам № 130-6, 130-7, 130-8 соответствует пробка № 130-13; колбам №130-9, 130-10 соответствует пробка № 130-14.
Пробирки и чехлы из платины, палладия, золота, серебра иплатинородиевого сплава марки ПлРд-7
Изделие № 131

Черт. 30
Таблица 27
| Номера изделий | D | δ | L | Масса изделий, г (из платины) |
| мм | ||||
| 131-1 | 2,0 | 0,1 | 25 | 0,3 |
| 131-2 | 2,0 | 0,1 | 50 | 0,6 |
| 131-3 | 2,0 | 0,2 | 50 | 1,2 |
| 131-4 | 2,6 | 0,2 | 50 | 1,6 |
| 131-5 | 2,6 | 0,3 | 50 | 2,3 |
| 131-6 | 3,0 | 0,3 | 40 | 2,2 |
| 131-7 | 3,0 | 0,2 | 50 | 1,9 |
| 131-8 | 4,0 | 0,3 | 25 | 1,9 |
| 131-9 | 6,0 | 0,5 | 550 | 102,0 |
| 131-10 | 8,0 | 0,5 | 350 | 89,0 |
| 131-11 | 10,0 | 0,5 | 100 | 32,4 |
| 131-12 | 10,0 | 0,5 | 200 | 64,4 |
| 131-13 | 12,0 | 0,5 | 80 | 80,9 |
| 131-14 | 14,0 | 0,5 | 200 | 91,5 |
| 131-15 | 15,0 | 0,5 | 200 | 97,5 |
| 131-16 | 16,0 | 0,5 | 100 | 52,0 |
| 131-17 | 17,0 | 1,0 | 350 | 379,0 |
| 131-18 | 17,0 | 1,0 | 430 | 465,0 |
| 131-19 | 20,0 | 0,5 | 200 | 132,0 |
| 131-20 | 25,0 | 0,5 | 200 | 166,0 |
Примечания:
1. Изделия №131-1 - 131-8 изготовляют без развальцовки.
2. Маркируются только изделия № 131-11 - 131-20.
Крышки из золота
Изделие № 132

Черт. 31
Таблица28
| Номера изделий | D | d | δ0 (пред. откл. ±0,04) | δ (пред. откл. ±0,04) | Масса, г |
| мм | |||||
| 132-1 | 50 | 38 | 0,3 | 0,23 | 14,0 |
| 132-2 | 50 | 38 | 0,4 | 0,32 | 19,0 |
| 132-3 | 66 | 51 | 0,4 | 0,30 | 30,0 |
Изделие№ 133

Масса 52 г
Черт. 32
Лодочки для элементарного анализа из платины
Изделие № 200

Черт. 33
Таблица 29
| Номера изделий | L | B | Масса, г |
| мм | |||
| 200-1 | 40 | 8 | 5,6 |
| 200-2 | 50 | 8 | 6,7 |
| 200-3 | 60 | 8 | 8,4 |
| 200-4 | 70 | 8 | 9,4 |
| 200-5 | 40 | 10 | 6,0 |
| 200-6 | 50 | 10 | 7,2 |
| 200-7 | 60 | 10 | 9,0 |
| 200-8 | 70 | 10 | 10,0 |
Лодочки для сжигания из платины
Изделие № 201

Черт. 34
Таблица 30
| Номера изделий | L, мм | Масса, г |
| 201-1 | 40 | 6,5 |
| 201-2 | 50 | 7,5 |
| 201-3 | 60 | 9,2 |
| 201-4 | 70 | 10,5 |
Микролодочки из платины
Изделие № 202

Черт. 35
Таблица 31
| Номера изделий | B | H | L | R | Масса, г |
| мм | |||||
| 202-1 | 5 | 4 | 15 | 1,5 | 1,0 |
| 202-2 | 5 | 4 | 18 | 2,0 | 1,2 |
| 202-3 | 5 | 4 | 20 | 2,0 | 1,4 |
| 202-4 | 5 | 4 | 25 | 2,5 | 1,6 |
| 202-5 | 6 | 5 | 30 | 2,5 | 2,4 |
Ящики для сжигания из платины
Изделие № 203

Черт. 36
Таблица 32
| Номера изделий | А | B | Масса, г |
| мм | |||
| 203-1 | 50 | 30 | 16,0 |
| 203-2 | 55 | 35 | 20,0 |
| 203-3 | 60 | 40 | 23,0 |
Треугольники с раздвижными концами из платины или палладия
Изделие № 205

Черт. 37
Таблица 33
| Номера изделий | l | d | Масса, г | |
| мм | из платины | из палладия | ||
| 205-1 | 60 | 1,2 | 4,8 | 2,8 |
| 205-2 | 88 | 1,2 | 6,8 | 3,9 |
| 205-3 | 95 | 1,2 | 7,5 | 4,3 |
| 205-4 | 115 | 1,5 | 13,5 | 7,8 |
| 205-5 | 120 | 1,5 | 14,2 | 8,2 |
| 205-6 | 148 | 1,5 | 17,5 | 10,0 |
Треугольники с оплавленными концами из платины или палладия
Изделие № 206

Черт. 38
Таблица34
| Номера изделий | а | b | d | Масса, г | |
| мм | из платины | из палладия | |||
| 206-1 | 35 | 20 | 1,2 | 5,6 | 3,2 |
| 206-2 | 40 | 20 | 1,2 | 5,9 | 3,4 |
| 206-3 | 50 | 20 | 1,2 | 6,6 | 3,8 |
| 206-4 | 60 | 22 | 1,5 | 12,0 | 6,9 |
| 206-5 | 70 | 22 | 1,5 | 13,0 | 7,5 |
| 206-6 | 80 | 22 | 1,5 | 14,2 | 8,2 |
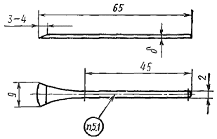
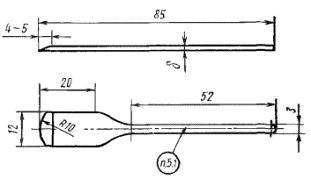
Ложки из платины
Изделие № 207

Черт. 39
Таблица 35
| Номера изделий | D | H | L | l | Масса, г |
| мм | |||||
| 207-1 | 10 | 5 | 40 | 25 | 3,0 |
| 207-2 | 12 | 6 | 40 | 25 | 3,8 |
| 207-3 | 16 | 7,5 | 50 | 35 | 5,8 |
| 207-4 | 20 | 10 | 50 | 35 | 8,5 |
Примечание. Пайка ручки к полусфере производится припоем маркиЗл Пд Пл 60-30-10 по ГОСТ 6835.
Масса припоя для изделий № 207-1 и 207-2 не более - 0,5 г, в том числезолота - 0,3 г, палладия - 0,2 г, для изделий № 207-3 и 207-4 не более - 0,7 г,в том числе золота - 0,4 г, палладия - 0,2 г.
(Измененная редакция, Изм. № 1, 3).
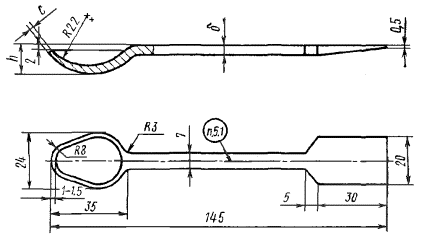
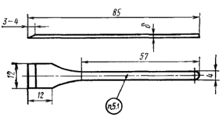
Ложка-шпатель из платины
Изделие № 208

Черт. 40
Таблица 36
| Номера изделий | δ | h | с | Масса, г |
| мм | ||||
| 208-1 | 1,5 | 8 | 1,5 | 67,0 |
| 208-2 | 3,0 | 12 | 2,0 | 120,0 |
Шпатели лабораторные
Изделия № 209-1, 210-1

Черт. 41
| Изделия № 209-2, 210-2 | Изделия № 209-3, 210-3 |
|
|
|
| Черт. 42 | Черт. 43 |
| Изделия № 209-4, 210-4 | Изделия № 209-5, 210-5 |
|
|
|
| Черт. 44 | Черт. 45 |
| Изделия № 209-6, 210-6 | Изделия № 209-7, 210-7 |
|
|
|
| Черт. 46 | Черт. 47 |
| Изделия № 209-8, 210-8 | Изделия № 209-9, 210-9 |
|
|
|
| Черт. 48 | Черт. 49 |
| Изделия № 209-10, 210-10 | Изделия № 209-11, 210-11 |
|
|
|
| Черт. 50 | Черт. 51 |
| Изделия № 209-12, 210-12 | Изделия № 209-13, 210-13 |
|
|
|
| Черт. 52 | Черт. 53 |
Изделия № 209-14, 210-14

Черт. 54
Таблица 37
| Номера изделий | δ, мм | Масса, г | Номера изделий | δ, мм | Масса, г |
| Из платины | Из серебра | ||||
| 209-1 | 0,8 ± 0,04 | 8,5 | 210-1 | 1,2 ± 0,05 | 6,1 |
| 209-2 | 1,0 ± 0,05 | 8,3 | 210-2 | 1,5 ± 0,05 | 6,1 |
| 209-3 | 0,8 ± 0,05 | 8,8 | 210-3 | 1,2 ± 0,05 | 6,4 |
| 209-4 | 0,65 ± 0,04 | 7,2 | 210-4 | 1,0 ± 0,05 | 5,3 |
| 209-5 | 1,0 ± 0,05 | 17,7 | 210-5 | 1,5 ± 0,06 | 13,0 |
| 209-6 | 1,0 ± 0,05 | 9,9 | 210-6 | 1,5 ± 0,06 | 7,3 |
| 209-7 | 1,0 ± 0,05 | 10,5 | 210-7 | 1,5 ± 0,06 | 7,8 |
| 209-8 | 1,0 ± 0,05 | 9,8 | 210-8 | 1,5 ± 0,06 | 7,3 |
| 209-9 | 1,0 ± 0,05 | 7,6 | 210-9 | 1,5 ± 0,06 | 5,6 |
| 209-10 | 1,0 ± 0,05 | 4,4 | 210-10 | 1,5 ± 0,06 | 3,2 |
| 209-11 | 1,0 ± 0,05 | 4,5 | 210-11 | 1,5 ± 0,06 | 3,3 |
| 209-12 | 1,0 ± 0,05 | 4,7 | 210-12 | 1,5 ± 0,06 | 3,5 |
| 209-13 | 1,0 ± 0,05 | 4,3 | 210-13 | 1,5 ± 0,06 | 3,2 |
| 209-14 | 2,5 ± 0,08 | 55,0 | 210-14 | 3,0 ± 0,10 | 32,2 |
Капилляры из платины
Изделие № 211

Черт. 55
Таблица38
| Номера изделий | D | d (пред. откл. ±0,03) | L | Масса, г |
| мм | ||||
| 211-1 | 1,95 | 0,80 | 300 | 16,0 |
| 211-2 | 2,25 | 0,85 | 120 | 9,0 |
| 211-3 | 6,94 | 6,7 | 26 | 1,2 |
| 211-4 | 8,40 | 8,2 | 26 | 1,4 |
Изделие№ 212

Масса 16 г
Черт. 56
Изделие № 213

Черт. 57
Таблица 39
| Номера изделий | d | d1 | Масса, г |
| мм | |||
| 213-1 | 2,0 | 0,5 | 32,0 |
| 213-2 | 2,4 | 0,9 | 32,2 |
| 213-3 | 2,5 | 1,0 | 32,3 |
| 213-4 | 2,6 | 1,1 | 32,4 |
Наконечники пера из сплава марки ПлИ-10
Изделие № 214

Черт. 58
| Номера изделий | D (пред. откл. -0,05) | d (пред. откл. ±0,03) | Масса, 100 шт., г |
| мм | |||
| 214-1 | 0,6 | 0,2 | 2,3 |
| 214-2 | 0,7 | 0,30 | 3,1 |
| Изделие № 215
| Конус фильтровальный из платины Изделие № 216 |
|
|
|
| Масса 100 шт. 3,5 г Черт. 59 | Масса 2,4 г Черт. 60 |
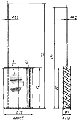
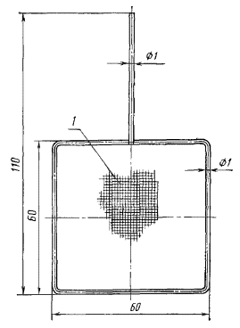
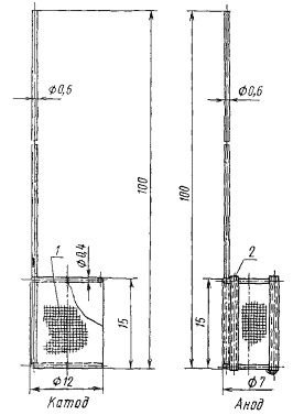
Электроды сетчатые цилиндрические из платины
Изделие № 300

1 - сетка из проволокидиаметром 0,10-0,01 мм, 1024 отверстия на 1 см2; 2- стеклянные изоляторы по окружности (3 шт.) на платиновых стержнях диаметром0,8 мм.
Черт. 61
Примечание. Допускается прогиб сеткипо образующей цилиндра.
Таблица 41
| Номера изделий | d | d1 | d2 | Масса, г | |
| мм | катода | анода | |||
| 300-1 | 1,0 | 1,4 | - | 17,0 | - |
| 300-2 | 1,2 | 1,8 | - | 23,0 | - |
| 300-3 | 1,0 | - | 1,2 | - | 13,0 |
| 300-4 | 1,2 | - | 1,5 | - | 16,0 |
Примечание. Катоду № 300-1 соответствует анод №300-3; катоду № 300-2 соответствует анод № 300-4.
Электроды сетчатые со спиралью из платины
Изделие № 301

Изделие № 301-1. Масса 18,2г Изделие № 301-2. Масса 8,3 г
Масса 26,5 г
1 - сетка из проволокидиаметром 0,10-0,01 мм, 1024 отверстия на 1 см2.
Черт. 62
Примечание. Допускается перегиб сетки по образующей цилиндра.
| Микроэлектроды из платины Изделие № 302 | Электроды к электродиализаторам из платины Изделие № 303 |
|
|
|
| Изделие № 302-1. Масса 1,3 г Изделие № 302-2. Масса 1,0 г Масса 2,3 г 1 - сетка из проволоки диаметром 0,10-0,01мм, 1024 отверстия на 1 см2; 2 - стеклянные изоляторы диаметром 1,5 мм (3 шт.). Прикрепляются платиновой проволокой диаметром 0,3 мм Черт. 63 | Масса 9,5 г 1 - сетка из проволоки диаметром 0,10-0,01 мм, 1024 отверстия на 1 см2 Черт. 64
|
| Примечание. Допускается прогиб сетки по образующей цилиндра. |
|
| Электроды сетчатые плоские из платины Изделие № 304 | Электроды из фольги со спиральным анодом из платины Изделие № 305 |
|
|
|
| Масса 8,0 г 1 - сетка из проволоки диаметром 0,10-0,01 мм, 1024 отверстия на 1 см2 Черт. 65 | Изделие № 305-1. Масса 8,5 г Изделие № 305-2. Масса 6,5 г Масса 15 г 1 - фольга толщиной 0,05 мм Черт. 66 |
| Электроды тигельные из платины Изделие № 306 | Электроды чашевидные из платины Изделие № 307 |
|
|
|
| Масса 30 г Черт. 67 | Масса 26 г Черт. 68 |
Изделие № 308

Масса 18 г
Черт. 69
Электроды конические соспиралью из платины
Изделие № 309

Изделие № 309-1. Масса 19,0г Изделие № 309-2. Масса 13,0 г
Масса 32 г
Черт. 70
Примечание. Пайка к конусупроизводится припоем марки ЗлПдПл 60-30-10 по ГОСТ 6835.
Масса припоя не более - 1,0 г, в том числе золота - 0,6 г, палладия -0,3 г.
| Электроды проволочные со спиралью из платины | Электроды дисковые из платины | Электроды тарельчатые из платины |
| Изделие № 310 | Изделие № 311 | Изделие № 312 |
|
|
|
|
| Масса 15 г Черт. 71 | Масса 12 г Черт. 72 | Масса 13,5 г Черт. 73 |
Электроды дисковые из платины
Изделие № 316

Черт. 74
Таблица42
| Номера изделий | D | δ | d | l | Масса, г |
| мм | |||||
| 316-1 | 4 | 1 | 1 | 80 | 1,6 |
| 316-2 | 5 | 0,2 | 0,3 | 30 | 0,2 |
| 316-3 | 5 | 1 | 1 | 80 | 1,8 |
| 316-4 | 6 | 1 | 1 | 250 | 4,8 |
| 316-5 | 10 | 0,3 | 0,3 | 30 | 0,6 |
| 316-6 | 10 | 1 | 1 | 35 | 2,3 |
| 316-7 | 20 | 2 | 2 | 80 | 18,7 |
Электроды пластинчатые из платины
Изделие № 317

Черт. 75
Таблица 43
| Номера изделий | B | H | δ | d | L | Масса, г |
| мм | ||||||
| 317-1 | 5 | 5 | 0,2 | 1,0 | 25 | 0,4 |
| 317-2 | 5 | 10 | 0,3 | 0,3 | 40 | 0,4 |
| 317-3 | 5 | 10 | 0,6 | 1,0 | 30 | 1,0 |
| 317-4 | 10 | 10 | 0,3 | 0,3 | 40 | 0,7 |
| 317-5 | 10 | 10 | 0,6 | 0,8 | 22 | 1,4 |
| 317-6 | 10 | 10 | 1,0 | 1,0 | 85 | 3,4 |
| 317-7 | 10 | 10 | 1,5 | 2,0 | 210 | 17,0 |
| 317-8 | 15 | 25 | 1,0 | 2,0 | 100 | 13,8 |
| 317-9 | 20 | 15 | 2,0 | 3,5 | 162 | 43,8 |
| 317-10 | 25 | 20 | 1,5 | 3,0 | 135 | 34,0 |
| 317-11 | 30 | 50 | 1,0 | 2,0 | 200 | 42,4 |
| Изделие № 318 | Изделие № 319 |
|
|
|
| Масса 4,2 г Черт. 76 | Черт. 77 |
Таблица 44
| Номера изделий | А | Б | H | d | l | Масса, г |
| мм | ||||||
| 319-1 | 10 | 10 | 0,3 | 0,3 | 30 | 0,7 |
| 319-2 | 10 | 10 | 0,6 | 0,6 | 15 | 1,4 |
| 319-3 | 10 | 10 | 1,5 | 2 | 350 | 26,8 |
Ампула с пробкой
Изделия № 400 - 402

Черт. 78
Примечание. Соединение деталейсеребряных ампул пайкой припоем марки ПСр-70 по ГОСТ 19738-74. Масса припоя не более - 1,5г, в том числе серебра - 1,1 г.
Таблица 45
| Номера изделий | Вместимость, см3 | Металл | Масса, г |
| 400 |
| Платина | 20,0 |
| 401 | 8 | Палладий | 12,0 |
| 402 |
| Серебро | 10,0 |
Перегонные аппараты из платины или палладия
Изделия № 403, 404

Черт. 79
Примечание. Пробку притереть по горловине колбы.
Таблица 46
| Номера изделий | Вместимость, см3 | Металл | D | H | l | Масса, г |
| мм | ||||||
| 403-1 | 90 | Платина | 60 | 90 | 100 | 203,0 |
| 403-2 | 150 | Платина | 70 | 110 | 250 | 340,0 |
| 404-1 | 90 | Палладий | 60 | 90 | 100 | 133,0 |
| 404-2 | 150 | Палладий | 70 | 110 | 250 | 185,0 |
Перегонные аппараты из платины или палладия
Изделия № 407, 408

Черт. 80
Примечание. Пробку притереть по горловине колбы.
Таблица 47
| Номера изделий | Вместимость, | Металл | D | H | l | Масса, г |
| мм | ||||||
| 407-1 | 280 | Платина | 85 | 134 | 400 | 575,0 |
| 407-2 | 400 | Платина | 98 | 154 | 500 | 750,0 |
| 408-1 | 280 | Палладий | 85 | 134 | 400 | 325,0 |
| 408-2 | 400 | Палладий | 98 | 154 | 500 | 420,0 |
Перегонные аппараты с холодильником для плавиковой кислотыиз платины или палладия
Изделия № 411, 412

Черт. 81
Примечание. Пробку притереть по горловине колбы.
Таблица 48
| Номера изделий | Вместимость, см3 | Металл | δ (пред. откл. ±0,05) | δ0 (пред. откл. ±0,15) | Масса, г |
| мм | |||||
| 411 | 550 | Платина | 0,65 | 0,5 | 530,0 |
| 412 | 550 | Палладий | 0,90 | 0,6 | 380,0 |
| Калориметрическая чашка (Зубова) из платины Изделие № 413 | Чашка из платины Изделие № 414 |
|
|
|
| Масса 14 г. Черт. 82 | Масса 18 г Черт. 83 |
| Примечание. Крышку пригнать по месту плотно. |
|
Пипетка из платины для взятия проб жидкостей
Изделие № 415

Масса 18 г
Черт. 84
Примечание. Пайка пипетки производится припоем марки ЗлПдПл 60-30-10 по ГОСТ 6835.Масса припоя не более 1,0 г, в том числе золота - 0,6 г, палладия - 0,3г.
Тигли для вискозиметра изплатины и сплавов марок ПлИ-10, ПлРд-7, ПлРд-10
Изделие № 416

Черт. 85
Таблица 49
| Номера изделий | Вместимость, см3 | D | H | δ0 | δ | a | b | h | Масса из платины, г |
| мм | |||||||||
| 416-1 | 15 | 25 | 38 | 1,0 ± 0,10 | 0,7 ± 0,05 | 2 | 2 | 6 | 54,5 |
| 416-2 | 40 | 35 | 50 | 1,0 ± 0,10 | 0,8 ± 0,08 | 2 | 3 | 4 | 112,5 |
| 416-3 | 40 | 35 | 50 | 1,1 ± 0,10 | 1,0 ± 0,10 | 2 | 2 | 6 | 136,3 |
| 416-4 | 50 | 39 | 47 | 0,5 ± 0,05 | 0,5 ± 0,05 | 1 | 1 | 13 | 74,0 |
| 416-5 | 65 | 40 | 60 | 1,1 ± 0,10 | 1,0 ± 0,10 | 2 | 2 | 10 | 187,0 |
| 416-6 | 75 | 41 | 61 | 0,6 ± 0,05 | 0,6 ± 0,05 | 2 | 2 | 10 | 118,2 |
| 416-7 | 60 | 41,5 | 50 | 0,8 ± 0,08 | 0,8 ± 0,08 | 2,5 | 3,5 | 5 | 134,0 |
| 416-8 | 75 | 42 | 61 | 1,0 ± 0,10 | 1,0 ± 0,10 | 2 | 3 | 10 | 199,4 |
| 416-9 | 70 | 42 | 61 | 1,5 ± 0,15 | 1,5 ± 0,15 | 2 | 3 | 10 | 292,0 |
| 416-10 | 100 | 42 | 85 | 2,0 ± 0,15 | 1,0 ± 0,10 | 2 | 3 | 10 | 292,6 |
| 416-11 | 100 | 45 | 70 | 1,1 ± 0,10 | 1,0 ± 0,10 | 2 | 3 | 10 | 245,7 |
| 416-12 | 100 | 45 | 71,2 | 1,0 ± 0,10 | 0,8 ± 0,08 | 2 | 3 | 10 | 206,2 |
| 416-13 | 110 | 45 | 80 | 1,2 ± 0,10 | 1,1 ± 0,10 | 2 | 3 | 10 | 301,2 |
| 416-14 | 95 | 47 | 61 | 1,0 ± 0,10 | 1,0 ± 0,10 | 2 | 3 | 10 | 227,1 |
| 416-15 | 195 | 50 | 110 | 1,2 ± 0,10 | 1,1 ± 0,10 | 3 | 3 | 10 | 450,7 |
| 416-16 | 185 | 55 | 90 | 1,5 ± 0,15 | 1,5 ± 0,15 | 2 | 3 | 10 | 558,9 |
| 416-17 | 180 | 60 | 70 | 1,5 ± 0,15 | 1,0 ± 0,10 | 4,5 | 5 | 10 | 377,8 |
| 416-18 | 1070 | 100 | 150 | 2,0 ± 0,15 | 2,0 ± 0,15 | 4 | 5 | 15 | 2311,0 |
Шарики со стержнем для вискозиметра из платины
и сплавов марок ПлИ-10 и ПлРд-10
Изделие № 418

Черт. 86
Таблица50
| Номера изделий | D | d | l | Масса из платины, г |
| мм | ||||
| 418-1 | 10 | 3 | 100 | 27,0 |
| 418-2 | 12 | 3 | 100 | 35,0 |
| 418-3 | 15 | 3,5 | 100 | 59,0 |
| 418-4 | 16 | 3,5 | 100 | 67,0 |
| 418-5 | 17 | 3,5 | 100 | 76,0 |
| 418-6 | 20 | 4 | 100 | 117,0 |
| 418-7 | 22 | 4 | 100 | 147,0 |
| 418-8 | 25 | 4 | 100 | 204,0 |
| 418-9 | 25 | 4 | 200 | 229,0 |
Приборы из платины для определения закиси железа
| Изделие № 419 | Изделие № 420 |
|
|
|
| Вместимость 90 см3, масса 215 г Черт. 87 | Вместимость 280 см3, масса 460 г. Черт. 88 |
| Примечание. Пробку притереть по горловине колбы. | |
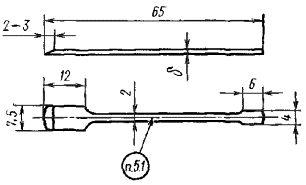
Наконечники для пинцетов из платины
Изделие № 505

Масса одной пары 2,4 г
Черт. 89
Наконечники для щипцов из платины
Изделие № 506

Черт. 90
Таблица 51
| Номера изделий | L | H | C | r | Масса, г, |
| мм | |||||
| 506-1 | 15 | 6 | 5 | 2,5 | 5,9 |
| 506-2 | 18 | 4,5 | 4,5 | 2,2 | 5,5 |
| 506-3 | 30 | 7 | 7 | 3,5 | 14,8 |
| 506-4 | 40 | 7 | 7 | 3,5 | 20,0 |
| 506-5 | 60 | 10 | 10 | 5,0 | 44,0 |
Мешалка с винтовыми лопастями из платины и сплава маркиПлРд-7
Изделие № 507

Черт. 91
Таблица 51а
| Номера изделий | l, мм | Масса из платины, г |
| 507-1 | 140 | 64,1 |
| 507-2 | 250 | 93,7 |
Тигли с крышками для дериватографа из платины или сплавамарки ПлРд-7
Изделие № 508
| Крышка | Тигель |
|
|
|
| Черт. 92 | |
| Номера изделий | D | H | d | d1 | d2 | h | Масса изделий из платины, г | |
| мм | тигля | крышки | ||||||
| 508-1 | 10,0 | 12,5 | 7,5 | - | - | - | 4,9 | - |
| 508-2 | 11,0 | 14,0 | 10,0 | - | - | - | 6,0 | - |
| 508-3 | 14,0 | 17,5 | 10,5 | - | - | - | 8,4 | - |
| 508-4 | 17,5 | 22,5 | 13,0 | - | - | - | 12,5 | - |
| 508-5 | 20,0 | 22,5 | 15,5 | - | - | - | 16,3 | - |
| 508-6 | - | - | - | 11,0 | 8,5 | 1,5 | - | 0,8 |
| 508-7 | - | - | - | 12,0 | 9,5 | 1,5 | - | 1,2 |
| 508-8 | - | - | - | 15,5 | 12,5 | 2,0 | - | 1,6 |
| 508-9 | - | - | - | 19,5 | 16,0 | 2,5 | - | 2,4 |
| 508-10 | - | - | - | 21,0 | 18,5 | 2,5 | - | 3,4 |
Примечание. Тиглю № 508-1соответствует крышка № 508-6, тиглю № 508-2 соответствует крышка № 508-7, тиглю№ 508-3 соответствует крышка № 508-8, тиглю № 508-4 соответствует крышка №508-9, тиглю № 508-5 соответствует крышка № 508-10.
Тигли для термографии из платины
Изделие № 509
Масса 8,3 г
Черт. 93
(Измененная редакция, Изм. №2).
1.2. Масса изделий рассчитана по номинальнымразмерам и является справочной. Отклонения по массе не должны превышать ±5 %.
1.3. Для определения массы изделий,изготовляемых из платино-иридиевых сплавов марок. ПлИ-5, ПлИ-10 илиплатино-родиевых сплавов марок ПлРд-7, ПлРд-10, значения массы, указанные втабл. 1 , 7 , 13 , 15 , 49 , 50 , 51а , 52 должны быть умножены на:
1,002 - для сплава марки ПлИ-5;
1,004 - для сплава марки ПлИ-10;
0,952 - для сплава марки ПлРд-7;
0,932 - для сплава марки ПлРд-10.
Примеры условных обозначений
Тигель высокий из платины, изделие № 100-1:
Тигель Пл 99,8 100-1 ГОСТ 6563-75
Чашка из серебра, изделие № 119-1:
Чашка Ср 999 119-1 ГОСТ 6563-75
Анод сетчатого электрода со спиралью изплатины, изделие № 301:
Анод Пл 99,8 301 ГОСТ 6563-75
Тигель для дериватографа из сплава маркиПлРд-7, изделие № 508-1:
Тигель ПлРд-7 508-1 ГОСТ 6563-75
Крышка к тиглю для дериватографа из платины,изделие № 508-7:
Крышка Пл 99,8 508-7 ГОСТ 6563-75
(Измененная редакция, Изм. № 1, 2).
2.1. Изделия должны бытьизготовлены из благородных металлов и сплавов с химическим составом по ГОСТ 13498, ГОСТ 13462, ГОСТ6835 и ГОСТ6836 в соответствии с требованиями настоящего стандарта по технологическомурегламенту, утвержденному в установленном порядке.
(Измененная редакция, Изм. № 1).
2.2. Поверхность изделий должна быть чистой,без плен, трещин, раковин, расслоений, заусенцев, вмятин, рисок и постороннихвключений. Матовость, следы зачистки, риски, если они при контрольной зачисткене выводят изделия за предельные отклонения, допускаются.
2.3. Рекомендуемые области применения лабораторной посуды из платины и еесплавов и химико-аналитические операции, для которых допускается использованиеплатиновой посуды и изделий, приведены в приложении 1.
(Измененная редакция, Изм. № 1, 3).
2.4 Основные требования к условиям эксплуатации изделий из благородныхметаллов должны соответствовать приложению2
(Введен дополнительно, Изм. № 3)
3.1. Изделия принимают партиями. Партия должнасостоять из изделий одного типа и размера, одного химического состава и бытьоформлена одним документом о качестве, содержащим:
товарный знак или наименование и товарный знакпредприятия-изготовителя;
условное обозначение изделия;
номер партии;
химический состав;
массу партии в граммах;
дату выпуска;
штамп технического контроля.
Масса партии не ограничивается.
(Измененная редакция, Изм. № 1).
3.2. Проверке внешнего вида и размеровподвергают каждое изделие.
3.3. Химический состав материала изделийустанавливается на основе анализа пробы, отбираемой от каждой плавки.
3.4. При получении неудовлетворительныхрезультатов по внешнему виду, размерам или химическому составу изделия, неудовлетворяющие требованиям настоящего стандарта, бракуются.
4.1. Проверка поверхности изделийосуществляется внешним осмотром без применения увеличительных приборов.
4.2. Проверка размеров изделий производитсяизмерительным инструментом, обеспечивающим требуемую точность.
4.3. Химический составопределяют по ГОСТ 12225, ГОСТ 12226 *, ГОСТ 12556.1, ГОСТ 12556.2, ГОСТ 12559.1, ГОСТ 12559.2, ГОСТ 22864, ГОСТ 27973.0, ГОСТ 27973.1, ГОСТ 27973.2, ГОСТ 27973.3, ГОСТ 28353.0, ГОСТ 28353.1, ГОСТ 28353.2, ГОСТ 28353.3.
(Измененная редакция,Изм. № 2).
* На территорииРоссийской Федерации рекомендуется использовать ГОСТ Р52518-2006 – ГОСТР 52521-2006.
5.1. На каждом изделии должно быть нанесеноклеймо с указанием марки металла и последней цифры номера изделия.
Изделия № 106-1, 106-2, 106-3, 117-1, 117-2, 117-3, 117-4, 120-1, 120-2,120-3, 120-4 маркируют ниже отбортовки.
(Измененная редакция, Изм. № 1).
5.2. Изделия должны бытьобернуты папиросной бумагой по ГОСТ3479, уложены в картонные или пластмассовые коробки и упакованы в сплошныедеревянные ящики.
Допускается применять другой способ и материалупаковки, обеспечивающий сохранность при транспортировании и хранении.
(Измененная редакция, Изм. № 2).
5.3. Транспортная маркировка - по ГОСТ 14192 .
(Измененная редакция, Изм. № 1).
(Измененная редакция, Изм. № 1).
5.5, 5.6. (Исключены, Изм. №1).
6.1 Изготовитель гарантирует соответствие технических изделий требованиямнастоящего стандарта при соблюдении условий транспортирования, хранения иэксплуатации, установленных настоящим стандартом.
Раздел 6 (Введен дополнительно, Изм. № 3)
Рекомендуемое
1. Рекомендуемые областиприменения приведены в таблице
| Тип изделия | Область применения |
| Тигли из платины высокие Тигли высокие с усиленной кромкой Тигли широкие Микротигли Крышки к тиглям | Вскрытие проб сплавлением, спеканием, кислотным разложением. Выпаривание, высушивание, озоление и прокаливание проб |
| Чашки из платины со сферическим дном Чашки из платины со сферическим дном с усиленной кромкой Чашки из платины плоскодонные Чашки из платины плоскодонные с усиленной кромкой Ящики для сжигания из платины | То же и перекристаллизация из расплавов и растворов |
| Тигли конические с крышкой | Вскрытие проб спеканием смесью хлорида аммония и карбоната кальция |
| Тигли из платины с поддоном и отверстиями в дне Конус фильтровальный из платины Воронки с цилиндром и решеткой | Фильтрование осадков, фильтрование с отсасыванием |
| Колбы круглодонные Колбы конические Пробки к коническим колбам | Кислотное разложение проб |
| Лодочки для сжигания Лодочки для элементного анализа Микролодочки | Сожжение проб органических веществ в элементном анализе |
| Шпатели лабораторные Ложки - шпатели из платины | Перемешивание проб в операциях кислотного разложения, сплавления, спекания |
| Капилляры из платины | Неорганический микроанализ, анализ горючих газов сожжением |
| Электроды сетчатые цилиндрические Электроды сетчатые со спиралью Микроэлектроды | Весовой электроанализ, кулонометрия с постоянным потенциалом |
| Электроды сетчатые Электроды пластинчатые | Электродиализ |
| Электроды проволочные | Вольтамперометрия, амперометрические титрование, электрофорез |
| Электроды дисковые | Кондуктометрия, вольтамперометрия |
| Аппараты перегонные из платины различной конструкции, в том числе с холодильником | Очистка дистилляцией реактивов используемых в анализе главным образом фтористоводородной кислоты |
| Пипетка из платины для взятия проб жидкостей | Дозирование проб фтористоводородной кислоты |
| Приборы из платины для определения закиси железа | Разложение проб смесью фтористоводородной и серной кислот |
| Наконечники для пинцетов и щипцов из платины | Все операции, связанные с нагревом платиновой посуды |
Примечания:
1. Форму иразмер посуды или изделия выбирают в соответствии с характером аналитическогопроцесса и массой пробы.
2. В аналитических операциях используют также платиновуюпроволоку по ГОСТ 18389,фольгу по ГОСТ24353, листы и полосы по ГОСТ 24718,диски, сетки, трубки капиллярные по нормативно-технической документации.
2. Химико-аналитические операции, для которыхдопускается использование платиновой посуды и изделий
2.1. Платиновую посуду и изделия применяют прихимико-аналитических операциях во фторидных системах.
2.1.1. При разложении фтористоводороднойкислотой (смесью фтористоводородной и хлорной кислот) природных и промышленныхсиликатных материалов: пород, минералов, стекол, керамических материалов, цементаи др.; руд, минералов и концентратов бериллия, ниобия, тантала, титана,циркония, редкоземельных элементов, урана, хрома, а также технологическихпродуктов на основе оксидов перечисленных элементов; сухих остатков природных источных вод, зол растительных и животных тканей, аэрозолей, минеральной частипочв и т.д. применяют платиновые тигли, чашки, колбы, шпатели.
Потери платины в процессе разложения сфтористоводородной кислотой возможны в пределах до нескольких десятковмикрограмм за одну операцию.
2.1.2. При кислотном разложении природных ипромышленных материалов во фторидных системах с использованием платиновойпосуды и изделий допускается применение следующих бинарных смесей кислот:фтористоводородная - хлористоводородная кислота; фтористоводородная -хлорная кислота; фтористоводородная - серная кислота; фтористоводородная -азотная кислота, свободная от примесей хлоридов, а также тройных смесей кислотфтористоводородная - азотная - серная кислота и фтористоводородная - азотная -хлорная кислота.
Категорически запрещается использование системс хлористоводородной кислотой в присутствии окислителей, в том числе нитратов,пиролюзита и других окислителей, вызывающих выделение хлора, разрушающегоплатину.
Непременное условие применения систем с хлорнойкислотой - отсутствие в анализируемых пробах восстановителей:органических веществ, гипофосфитов, соединений сурьмы (III) и других восстановителей, вызывающихразложение хлорной кислоты со взрывом.
Потери платины при кислотном разложении вбинарных и тройных смесях кислот не должны превышать 1 - 3 мг за однуоперацию.
2.1.3. В операциях сплавления с солями икомплексными соединениями фтористоводородной кислоты: фторидами и бифторидамикалия и аммония, фторосиликатом натрия, фтороборатом натрия, смесью фторидакалия или фторида натрия с пиросульфатом калия или натрия, а также приобработке проб смесью борной кислоты с фторидами натрия или лития притемпературе до 950°С - 1000°С используют платиновые тигли и чашки.
2.1.4. При вскрытии фторосодержащих неорганическихматериалов методом пирогидролиза используют платиновые лодочки и трубки.
2.2. В сульфатных системах посуду из платиныприменяют для разложения оксидов, фторидов, карбонатов, фосфатов, боридов,некоторых силикатов и ряда других соединений нагреванием с серной кислотой;вскрытия многочисленных минералов титана, ниобия, тантала, ванадия, вольфрама,циркония, алюминия, хрома и др., в том числе рутила, титаномагнетита,ильменита, колумбита, танталита, некоторых шпинелей; разложения прокаленныхоксидов титана, ниобия, тантала, циркония, железа, алюминия, бериллия и др.сплавлением с бисульфатами и пиросульфатами аммония, натрия и калия.
Потери платины при сплавлении с бисульфатами ипиросульфатами щелочных металлов составляют 1 - 3 мг на одну операцию.
2.3. При вскрытии проб спеканием и сплавлениемс карбонатами щелочных металлов: карбонатом натрия, карбонатом натрия-калия,гидрокарбонатом натрия, карбонатом калия и гидрокарбонатом калия применяюттигли из платины. При температуре ниже 1300°С потери в весе платины непревышают 1 - 2 мг за одно сплавление.
2.4. При вскрытии проб силикатных пород иминералов, минералов и руд титана, ниобия, тантала, циркония, марганца, хрома идр. природных и многих промышленных материалов сплавлением с бурой, борнымангидридом, метаборатом лития, а также при вскрытии проб сплавлением со смесьюбуры и соды используют тигли из платины и сплава платины с золотом (ПлЗл-5) понормативно-технической документации, утвержденной в установленном порядке.
Потери платины при сплавлении с боратнымиплавнями около 2 мг за одну операцию, а при сплавлении со смесью буры и соды 2- 5 мг за одну операцию.
2.5. Платиновую посуду применяют привыпаривании и концентрировании проб природных вод, технологических растворов,органических растворителей, минеральных кислот, а также перекристаллизацииреактивов.
2.6. Платиновые тигли и чашки при необходимостииспользуют для определения зольности органических и биологических материалов,почв и др., а также при озолении этих материалов в целях последующегоопределения химического состава золы.
ПРИЛОЖЕНИЕ 1 (Измененная редакция,Изм. № 1, 3)
Обязательное
1. В термических операциях с платиновой посудойследует соблюдать меры предосторожности.
1.1. Нагрев платиновой посуды можно проводить вэлектрических печах в окислительной (воздушной) среде или в среде водорода, атакже открытым пламенем при помощи горелок.
1.2. Посуду из платины можно прокаливать толькона несветящемся пламени газовой горелки. Нельзя прокаливать платину насветящемся или коптящем пламени, а также в зоне внутреннего конуса пламени.
1.3. Процесс озоления и последующегопрокаливания органических веществ, в том числе бумажных фильтров, следуетпроводить при условии постепенного нагревания при достаточном доступе воздуха.
1.4. Не допускается нагрев изделий из платины впечах с карборундовыми нагревательными элементами, а также на ацетиленовыхгорелках и в среде, содержащей углерод.
1.5. Новые платиновые изделия необходимоставить в печь так, чтобы они не соприкасались, так как при температуре свыше1000°С может произойти их слипание.
1.6. Во всех случаях, когда проводят нагревплатиновой посуды, применяют щипцы и пинцеты с платиновыми наконечниками.
1.7. Серебряную посуду нельзя прокаливать инагревать в электрических печах при температуре свыше 700°С.
2. Во избежание повреждения тиглей, чашек идругих изделий
2.1. Не допускается прокаливать в платиновойпосуде:
1) соединения металлов, образующих с платинойлегкоплавкие сплавы: ртуть, свинец, олово, золото, благородные металлы, медь,цинк, кадмий, алюминий, висмут, железо, а также соединения этих элементов,которые в присутствии восстановителей (материал фильтра, окись углерода,водород пламени) легко восстанавливаются до металлов;
2) неметаллы, образующие с платиной соединения, повреждающие посуду:серу, селен, теллур, фосфор, углерод, мышьяк, сурьму, бор;
3) кремниевую кислоту при температуре свыше1200°С.
2.2. Не допускается применять:
1) в качестве плавней - пероксид натрия, гидроксиды щелочных металлов,смесь карбонатов щелочных металлов с серой и серноватистокислым натрием притемпературе свыше 500°С;
2) для кислотного разложения - фосфорную кислоту, хлористоводороднуюкислоту в присутствии азотной кислоты, пироллюзита и других окислителей,вызывающих выделение хлора.
Не допускается использование платиновой посудыв операциях с царской водкой, хлорной и бромной водой, в операциях хлорированияи других, связанных с выделением свободных галоидов;
3) при пользовании посудой из серебра вкачестве плавней углекислый натрий, тиосульфат натрия, пиросульфат калия,нитрат калия. Можно использовать в качестве плавней пероксид натрия, едкийнатр, а также смесь пероксида натрия и углекислого натрия в соотношении 5:1.
3. Очистка посуды и изделий из благородныхметаллов
3.1. Очистку платиновой посуды следуетпроизводить:
кипячением с дистиллированной водой ихлористоводородной кислотой (1:1);
сплавлением с гидросульфатом или пиросульфатомкалия;
сплавлением с содой и кипячением с разбавленнымраствором хлористоводородной кислоты после выщелачивания сплава;
сплавлением с фтороборатом калия;
сплавлением с двойной солью хлорида магния иаммония при температуре 1100 - 1200°С.
3.2. Электроды по окончании электролизаинтенсивно промывают дистиллированной водой, затем спиртом.
3.3. Платиновые электроды с осадком цинка,окиси свинца очищают азотной кислотой.
3.4. Для правки тиглей и чашек из благородныхметаллов используют деревянные матрицы соответствующей формы. Для полировкиплатиновых изделий используют тальк, тонкодисперсную кремнекислоту и песок;предпочтительная фракция 0,043 мм.
ПРИЛОЖЕНИЕ 2 (Введено дополнительно,Изм. № 1, 3).
ИНФОРМАЦИОННЫЕ ДАННЫЕ
1. РАЗРАБОТАН И ВНЕСЕН Министерством цветнойметаллургии СССР
2. УТВЕРЖДЕН И ВВЕДЕН В ДЕЙСТВИЕ ПостановлениемГосударственного комитета СССР по стандартам от 31.12.75 № 4123
Изменение № 3 принято Межгосударственным советом по стандартизации,метрологии и сертификации (протокол № 27 от 22.06.2005)
За принятие изменения проголосовали национальныеорганы по стандартизации следующих государств: AM, BY, GE, KZ, KG, MD, RU, TJ, TM, UZ, UA [коды альфа-2 по МК (ИСО 3166)004]
3. ВЗАМЕН ГОСТ 6563-58
4. ССЫЛОЧНЫЕ НОРМАТИВНО-ТЕХНИЧЕСКИЕ ДОКУМЕНТЫ
| Обозначение НТД, на который дана ссылка | Номер пункта |
| ГОСТ 3479-85 | |
| ГОСТ 6835-2002 | |
| ГОСТ 6836-2002 | |
| ГОСТ 12225-80 | |
| ГОСТ 12226-80 | |
| ГОСТ 12556.1-82 | |
| ГОСТ 12556.2-82 | |
| ГОСТ 12559.1-82 | |
| ГОСТ 12559.2-82 | |
| ГОСТ 13462-79 | |
| ГОСТ 13498-79 | |
| ГОСТ 14192-96 | |
| ГОСТ 15150-69 | |
| ГОСТ 18389-73 | |
| ГОСТ 19738-74 | |
| ГОСТ 22864-83 | |
| ГОСТ 24718-81 | |
| ГОСТ 27973.0-88 | |
| ГОСТ 27973.1-88 | |
| ГОСТ 27973.2-88 | |
| ГОСТ 27973.3-88 | |
| ГОСТ 28353.0-89 | |
| ГОСТ 28353.1-89 | |
| ГОСТ 28353.2-89 | |
| ГОСТ 28353.3-89 |
5.Ограничение срока действия стандарта снято Постановлением Госстандарта СССР от24.06.91 № 959
6. ИЗДАНИЕ (декабрь2008 г.) с Изменениями № 1, 2, 3, утвержденными в июле 1986 г., июне 1991 г.,ноябре 2005 г. (ИУС 10-86, 9-91, 2-2006)