Стандарт распространяется на микрометры с ценой деления 0,01 и 0,001 мм
| Обозначение: | ГОСТ 6507-90* |
| Название рус.: | Микрометры. Технические условия |
| Статус: | действующий |
| Заменяет собой: | ГОСТ 6507-78 |
| Дата актуализации текста: | 01.10.2008 |
| Дата добавления в базу: | 01.02.2009 |
| Дата введения в действие: | 01.01.1991 |
| Разработан: | Министерство станкостроительной и инструментальной промышленности СССР |
| Утвержден: | Госстандарт СССР (25.01.1990) |
| Опубликован: | Издательство стандартов № 1990<br>ИПК Издательство стандартов № 1997 |

ГОСУДАРСТВЕННЫЙ СТАНДАРТ СОЮЗА ССР
МИКРОМЕТРЫ
ТЕХНИЧЕСКИЕ УСЛОВИЯ
ГОСТ 6507-90
(СТ СЭВ 344-76÷СТ СЭВ 352-76, СТ СЭВ 4134-83)
ИПК ИЗДАТЕЛЬСТВО СТАНДАРТОВ
Москва
ГОСУДАРСТВЕННЫЙСТАНДАРТ СОЮЗА ССР
| МИКРОМЕТРЫ Технические условия Micrometers. Specifications | ГОСТ (СТ СЭВ 344-76÷ СТ СЭВ 352-76, СТ СЭВ 4134-83) |
Дата введения 01.01.91
Настоящий стандарт распространяется на микрометры с ценойделения 0,01 и 0,001 мм.
Требования настоящего стандарта являются обязательными.
(Измененнаяредакция, Изм. №1).
1.1. Микрометры должны быть изготовлены следующих типов:
МК - гладкие для измерения наружных размеровизделий (черт. 1);
МЛ - листовые с циферблатом для измерения толщины листов илент (черт. 2);
МТ - трубные для измерения толщины стенок труб (черт. 3);
МЗ - зубомерные для измерениядлины общей нормали зубчатых колес с модулем от 1 мм (черт. 4);
МГ - микрометрические головки для измерения перемещения(черт. 5);
МП - микрометры для измерения толщины проволоки (черт. 6).
Примечание. Наименьший внутренний диаметр труб,измеряемых микрометром типа МТ, должен быть 8 или 12 мм.
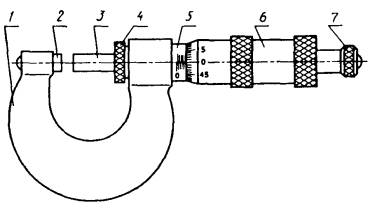
Тип МК
1 - скоба; 2 - пятка; 3 - микрометрическийвинт; 4 - стопор; 5 - стебель; 6 - барабан; 7 - трещотка (фрикцион)
Черт 1
Тип МЛ
1 - скоба; 2 - пятка; 3 - микрометрическийвинт; 4 - стопор; 5 - стебель; 6 - барабан; 7 -трещотка (фрикцион); 8 - циферблат; 9 - стрелка
Черт. 2
Тип МТ
1 - скоба; 2 - пятка; 3 - микрометрическийвинт; 4 - стопор; 5 - стебель; 6 - барабан; 7 -трещотка (фрикцион)
Черт. 3
Тип МЗ
1 - скоба; 2 - пятка; 3 - измерительная губка;4 - микрометрический винт; 5 - стопор; 6 - стебель; 7 -барабан; 8 - трещотка (фрикцион)
Черт. 4
Тип МГ
1 - микрометрический винт; 2 - стебель; 3 -барабан; 4 - трещотка (фрикцион)
Черт. 5
Тип МП
1 - корпус; 2 - микрометрический винт; 3 - стебель;4 - барабан; 5 - трещотка (фрикцион)
Черт. 6
1.2. Микрометры следует изготовлять:
- с ценой деления 0,01 мм - при отсчете показаний по шкаламстебля и барабана (черт. 1-6);
- со значением отсчета по нониусу 0,001 мм - при отсчетепоказаний по шкалам стебля и барабана с нониусом (черт. 7 и 8);
- с шагом дискретности 0,001 мм - при отсчете показаний поэлектронному цифровому отсчетному устройству и шкалам стебля и барабана (черт. 9).
(Измененнаяредакция, Изм. №1).
1 - стебель; 2 - нониус, 3 - барабан; 4 - цифровоеотсчетное устройство
Черт. 7
1 - стебель; 2 - нониус, 3 - барабан
Черт. 8
1 - стебель; 2 - барабан; 3 - электронноецифровое отсчетное устройство
Черт. 9
Примечание. Черт. 1-9 неопределяют конструкции микрометров.
1.3. Основные параметры, размеры и классы точности микрометровдолжны соответствовать установленным в табл. 1.
Таблица 1
мм
| Диапазон измерений микрометра с отсчетом показаний | Шаг микрометрического винта | Измерительное перемещение микровинта | ||||||
| по шкалам стебля и барабана классов точности | по шкалам стебля и барабана с нониусом | по электронному цифровому устройству классов точности | ||||||
| 1 | 2 | 1 | 2 | |||||
| мк | 0-25; 25-50; 50-75; 75-100 | 0,5 | 25 | |||||
| 100-125; 125-150; 150-175; 175-200; 200-225; 225-250; 250-275; 275-300 | - | |||||||
| 300-400; 400-500; 500-600 | - | |||||||
| мл | - | 0-5 | 1,0 | 5 | ||||
| 0-10 | 10 | |||||||
| 0-25 | 25 | |||||||
| МТ | 0-25 | 0,5 | 25 | |||||
| МЗ | 0-25; 25-50; 50-75; 75-100 | |||||||
| МГ | 0-15 | 15 | ||||||
| 0-25 | 25 | |||||||
| - | 0-50 | - | 50 | |||||
| МП | 0-10 | 10 | ||||||
1.4. Диаметр гладкой частимикрометрического винта должен быть 6h9, 6,5h9 или 8h9.
На концах микрометрического винта и пятки на длине до 4 ммдопускается уменьшение диаметра, но не более чем на 0,1 мм.
1.5. Электрическое питание микрометров с электроннымцифровым отсчетным устройством должно бытьот встроенного источника питания.
Электрическое питание микрометров, имеющих выводрезультатов измерений на внешние устройства, - от встроенного источника питанияи (или) от сети общего назначения через блок питания.
Пример условного обозначения гладкогомикрометра с диапазоном измерения 25-50 мм 1-го класса точности:
Микрометр МК50-1 ГОСТ 6507-90
То же, микрометрической головки с нониусом с диапазоном измерения0-25 мм:
Микрометр МГ Н25 ГОСТ 6507-90
То же, гладкого микрометра с электронным цифровым отсчетнымустройством с диапазоном измерения 50-75 мм:
Микрометр МК Ц75 ГОСТ 6507-90
1.4, 1.5. (Измененная редакция, Изм. №1).
2.1. Характеристики
2.1.1. Общие требования
2.1.1.1. Микрометры изготовляют в соответствии с требованияминастоящего стандарта по конструкторской документации,утвержденной в установленном порядке.
2.1.1.2. Измерительное усилие для микрометровтипов МЛ, МТ и МЗ должно быть не менее 3 и неболее 7 Н, а для микрометров остальных типов - не менее 5 и не более 10 Н.
Колебание измерительного усилия для микрометров всех типов не должно превышать 2 Н.
2.1.1.3. Предел допускаемой погрешностимикрометра в любой точке диапазона измерений при нормируемом измерительном усилиии температуре, не превышающей значений, установленных в табл. 2, а также допускаемое изменение показаний микрометра от изгиба скобыпри усилии 10 Н, направленном по оси винта, должны соответствовать установленнымв табл. 3.
Таблица 2
| Верхний предел измерений микрометра, мм | Допускаемое отклонение температуры от 20 ºС, ºС |
| До 150 | ±4 |
| Св. 150 » 500 | ±3 |
| » 500 » 600 | ±2 |
2.1.1.4.Для микрометров, имеющих плоские измерительные поверхности (типы МК и МЗ),допуск параллельности измерительных поверхностей должен соответствоватьустановленному в табл. 4.
На расстоянии до 0,5 мм от краев измерительных поверхностейдопускаются завалы.
2.1.1.5. Допуск плоскостности плоских измерительных поверхностеймикрометра должен соответствоватьустановленному в табл. 5.
Таблица 3
мкм
| Верхний предел измерений микрометра, мм | Предел допускаемой погрешности микрометра с отсчетом показаний | Допускаемое изменение показаний микрометра от изгиба скобы при усилии 10 Н | |||||
| по шкалам стебля и барабана классов точности | по шкалам стебля и барабана с нониусом | по электронному цифровому устройству классов точности | |||||
| 1 | 2 | 1 | 2 | ||||
| мк | 25 | ±2,0 | ±4,0 | ±2,0 | ±2,0 | ±4,0 | 2,0 |
| 50 | ±2,5 | ||||||
| 75 | ±3,0 | 3,0 | |||||
| 100 | ±3,0 | ||||||
| 125; 150 | ±3,0 | ±5,0 | - | 4,0 | |||
| 175; 200 | 5,0 | ||||||
| 225; 250; 275; 300 | ±4,0 | ±6,0 | ±4,0 | 6,0 | |||
| 400 | ±5,0 | ±8,0 | - | 8,0 | |||
| 500 | 10,0 | ||||||
| 600 | ±6,0 | ±10,0 | 12,0 | ||||
| мл | 5; 10; 25 | - | ±4,0 | ±2,0 | ±2,0 | ±4,0 | 2,0 |
| мт | 25 | ±2,0 | |||||
| мз | 25 | ±4,0 | ±5,0 | ±3,0 | ±5,0 | ||
| 50 | ±3,0 | ||||||
| 75 | 3,0 | ||||||
| 100 | |||||||
| мг | 15; 25 | ±1,5 | ±3,0 | ±2,0 | ±2,0 | ±3,0 | - |
| 50 | - | ±4,0 | - | - | - | ||
| МП | 10 | ±2,0 | ±2,0 | ±2,0 | ±4,0 | 2,0 | |
Примечания:
1.Погрешность микрометров типов МК, МЛ, МТ и МП определяютпо мерам с плоскими измерительными поверхностями.
2.Погрешность микрометра типа МЗ определяют по мерам с цилиндрическимиизмерительными поверхностями, установленными на расстоянии 2-3 мм от краяизмерительных поверхностей микрометра.
Таблица 4
| Верхний предел измерений микрометра, мм | Допуск параллельности плоских измерительных поверхностей микрометра, мкм, классов точности | ||
| 1 | 2 | ||
| МК | 25 | 1,5 | 2,0 |
| 50 | 2,0 | ||
| 75; 100 | 3,0 | 3,0 | |
| 125; 150; 175; 200 | 4,0 | ||
| 225; 250 | 4,0 | 6,0 | |
| 275; 300; 400 | 5,0 | 8,0 | |
| 500 | 7,0 | 10,0 | |
| 600 | 12,0 | ||
| МЗ | 25; 50 | 2,0 | 2,0 |
| 75; 100 | 3,0 | 3,0 | |
Таблица 5
| Допуск плоскостности измерительных поверхностей микрометра, мкм, классов точности | ||
| 1 | 2 | |
| МК, МЛ, МТ, МГ, МП | 0,6 | 0,9 |
| МЗ | 0,9 | |
Примечание к табл. 4 и 5. Для микрометров с нониусом допуски параллельностии плоскостности измерительных поверхностей должны соответствовать нормам классаточности 1.
1) выдачу цифровой информации в прямом коде (с указанием знака иабсолютного значения);
2) установку начала отсчета в абсолютной системе координат;
3) запоминание результата измерения;
4) гашение памяти с восстановлением текущего результата измерения.
Измерительные поверхности микрометра типа МЗ, а потребованию потребителя и микрометра типа МТ изготовляют закаленными. Твердостьзакаленных измерительных поверхностей из высоколегированной стали должна бытьне ниже 51 HRCэ,из углеродистой качественной конструкционной и инструментальнойвысококачественной сталей - не ниже 61 HRCэ.
2.1.1.9. Параметр шероховатости измерительных поверхностеймикрометра - Ra≤0,08 мкм по ГОСТ 2789 .
2.1.1.10. Микрометр должен иметь трещотку (фрикцион) или другоеустройство, обеспечивающее измерительное усилие в заданных пределах.
2.1.1.11. Микрометр должен иметь стопорное устройство для закреплениямикрометрического винта.
Микрометрический винт, закрепленный стопорным устройством, не долженвращаться после приложения наибольшего момента, передаваемого устройством,обеспечивающим измерительное усилие, а у микрометров типа МК при этом перекосплоской измерительной поверхности не должен увеличивать отклонение отпараллельности плоских измерительных поверхностей сверх установленных в п. 2.1.1.4более чем на 1 мкм - для микрометров с верхним пределом измерений до 100 мм и 2мкм - для микрометров с верхним пределом измерений более 100 мм.
Примечание. Микрометр с электронным цифровым отсчетным устройством, атакже микрометры типов МГ и МП допускается изготовлять без стопорногоустройства.
2.1.1.13. Длина деления шкалы барабана должна быть не менее 0,8 мм.
2.1.1.14. Ширина штрихов шкал и продольного штриха на стебле должнабыть от 0,08 до 0,2 мм, при этом разность в ширине штриха барабана ипродольного штриха на стебле, а также разность в ширине штрихов шкал барабана инониуса не должна быть более 0,03 мм.
Допускается ширина всех штрихов не более 0,25 мм, еслидлина деления шкалы барабана более 1 мм, при этом разность в ширине штрихабарабана и продольного штриха на стебле не должна быть более 0,05 мм.
2.1.1.15. Поверхности, на которых нанесены штрихи и цифры,не должны быть блестящими.
2.1.1.16. У микрометра с электронным цифровым отсчетным устройствомвысота цифр на отсчетном устройстве должна быть не менее 4 мм.
2.1.1.17. Расстояние от поверхности стебля доизмерительной кромки барабана у продольного штриха стебля, кроме микрометра снониусом, должно быть не более 0,45 мм (черт. 10).
Угол α/2, образующий коническую часть барабана, накоторую наносится шкала, должен быть не более 20°. Конструкция микрометрадолжна обеспечивать гарантированный зазор между барабаном и стеблем.
1 - поверхность стебля; 2 - измерительная кромка; 3 -барабан
Черт. 10
2.1.1.18. Наружные поверхности микрометра, заисключением пятки, микрометрического винта, измерительной губки, должны иметьантикоррозионное покрытие по ГОСТ 9.303 и ГОСТ 9.032 .
Наружные поверхности скоб микрометров типов МК и МЗ с верхним пределомизмерения более 50 мм должны быть теплоизолированы.
2.1.1.19-2.1.1.22. (Исключены, Изм. №1).
2.1.2. Требования к микрометру типа МК
2.1.2.1. Микрометр типа МК с верхним пределом измеренийболее 300 мм должен иметь передвижную или сменную пятку, обеспечивающуювозможность измерения любого размера в диапазоне измерений данного микрометра.Вылет скобы микрометра с верхним пределом измерения до 300 мм должен быть неменее В/2+4, а свыше 300 мм - не менее В/2+1б, где В - верхний пределизмерения.
Крепление передвижной или сменной пятки должно обеспечиватьнеизменность положения пятки при измерениях.
2.1.2.3. Наружные поверхности установочных мер, заисключением измерительных поверхностей, должны иметь антикоррозионное покрытиепо ГОСТ 9.303 и ГОСТ 9.032 .
2.1.2.4. Допускаемое отклонение длины установочных мер от номинальногоразмера и суммарный допуск плоскостности и параллельности их измерительныхповерхностей должны соответствовать установленным в табл. 6.
2.1.2.5. Параметр шероховатости измерительныхповерхностей установочных мер - Ra≤0,08мкм по ГОСТ 2789 .
Таблица 6
| Допускаемое отклонение длины установочных мер от номинального размера микрометров класса точности, мкм | Суммарный допуск плоскостности и параллельности измерительных поверхностей установочных мер, мкм | ||
| 1 | 2 | ||
| 25; 50; 75 | ±1,0 | ±1,5 | 0,5 |
| 100; 125 | ±1,2 | ±2,0 | 0,75 |
| 150; 175 | 1,0 | ||
| 200; 225; 250; 275 | ±1,5 | 1,5 | |
| 325; 375; 425; 475 | ±2,0 | ±3,5 | - |
| 525; 575 | ±4,0 | - | |
Примечание. Для микрометров с нониусом допускаемое отклонениеустановочных мер от номинального размера должно соответствовать нормам длямикрометров класса точности 1.
2.1.2.6. Установочные меры должны изготовляться с закаленнымиизмерительными поверхностями. Твердость измерительных поверхностей установочныхмер должна быть не ниже 59 HRCэ.
2.1.3. Требования к микрометру типа МЛ
2.1.3.1. Микрометр типа МЛ с отсчетом показаний по шкале стебля ициферблата изготовляют с неподвижным циферблатом и вращающейся при перемещениибарабана стрелкой.
2.1.3.2. Вылет скобы микрометра должен быть не менее:
20 мм - у микрометров с верхним пределом измерения 5 мм;
40 мм » » » » » » 10 мм;
80 мм » » » » » » 25 мм.
Допускается изготовление микрометра с диапазоном измерения 0-25 мм сосферической измерительной поверхностью микровинта.
2.1.3.4. Требования к шкале циферблата и стрелке:
1) расстояние между осями двух соседних штрихов шкалы должно быть неменее 1,25 мм;
2) ширина штрихов шкалы - (0,35±0,05) мм; разность в ширине штрихов -не более 0,05 мм;
3) ширина конца стрелки - (0,25±0,05) мм;
4) перекрытие концом стрелки шкалы циферблата должно бытьне менее 1/4 и не более 3/4 длины коротких штрихов;
5) зазор между концом стрелки и циферблатом - не более 0,7мм.
2.1.4. Требования к микрометру типа МТ
2.1.4.2. Вылет скобы должен быть не менее 17 мм.
2.1.5. Требования к микрометру типа МЗ
2.1.5.1. Номинальный диаметр измерительных поверхностейпятки и измерительной губки микрометра типа МЗ должен быть не менее 24 мм.Вылет скобы должен быть не менее 30 мм.
Допускается изготовление пятки со срезанной измерительнойповерхностью.
2.1.5.2. Установочные меры - плоскопараллельныеконцевые меры длины класса точности 3 по ГОСТ 9038.
2.2. Комплектность
2.2.1. В комплект микрометра типа МК должны входить установочные меры(для микрометра с верхним пределом измерения 50 мм и более) и соединительныегильзы (для микрометра с верхним пределом измерения более 300 мм).
2.2.2. В комплект микрометра типа МЗ должны входить установочные меры(для микрометра с верхним пределом измерения 50 мм и более).
2.2.3. К каждому микрометру прилагают паспорт по ГОСТ 2.601 ,включающий инструкцию по эксплуатации.
2.3.1. На каждом микрометре должны быть нанесены:
- товарный знак предприятия-изготовителя;
- цена деления или шаг дискретности (допускается неуказывать шаг дискретности);
- диапазон измерения;
- порядковый номер по системе нумерации предприятия-изготовителя;
- условное обозначение года выпуска или год выпуска.
2.3.2. На установочной мере должен быть нанесен ееноминальный размер.
2.3.3. В паспорте на микрометр должен быть указан классточности.
2.3.4. Маркировка футляра - по ГОСТ 13762.
2.4. Упаковка
2.4.1. Упаковка микрометров - по ГОСТ 13762.
2.4.2. При транспортировании в контейнерах микрометров сверхним пределом измерения свыше 250 мм допускается упаковывать их в футлярыбез транспортной тары. При упаковке без транспортной тары футляры с микрометрамидолжны быть закреплены так, чтобы исключалась возможность их перемещения.
3.1. Для проверки соответствия микрометра требованиям настоящегостандарта проводят государственные испытания, приемочный контроль,периодические испытания.
(Измененнаяредакция, Изм. №1).
3.2. Государственные испытания - по ГОСТ 8.001и ГОСТ 8.383.
3.3. При приемочном контроле каждый микрометр проверяют на соответствиетребованиям пп. 2.1.1.2, 2.1.1.3 (за исключениемпроверки изменения показаний от изгиба скобы), пп. 2.1.1.4 - 2.1.1.6,2.1.1.8- 2.1.1.12,2.1.1.15,2.1.1.17,2.1.1.18,2.1.2.2- 2.1.2.5,2.1.3.3,2.1.4.1,2.2, 2.3и 2.4.
3.4. Периодические испытания проводят не реже раза в три годане менее чем на трех микрометрах каждого типа и класса точности из числапрошедших приемочный контроль на соответствие всем требованиям настоящегостандарта.
Результаты испытаний считают удовлетворительными, если всеиспытанные микрометры соответствуют всем проверяемым требованиям.
(Измененнаяредакция, Изм. №1).
3.5. (Исключен, Изм.№1).
4.1. Поверка микрометра - по МИ 782.
4.2. Воздействие климатических факторов внешней среды притранспортировании проверяют в климатических камерах. Испытания проводят вследующем режиме: при температуре плюс(50±3) °С, минус (50±3) °С и приотносительной влажности (95±3) % при температуре 35 °С. Выдержка вклиматической камере в каждом режиме 2 ч. После испытаний погрешностьмикрометра и параллельность плоских измерительных поверхностей не должнапревышать значений, установленных в пп. 2.1.1.3 и 2.1.1.4.
4.3. При определении влияния транспортной тряски используютударный стенд, создающий тряску с ускорением 30 м/с2 ичастотой 80-120 ударов в минуту.
Ящики с упакованными микрометрами крепят к стенду и испытывают приобщем числе ударов 15000. После испытаний микрометры должны соответствовать требованиям,установленным в пп. 2.1.1.3 и 2.1.1.4.
Транспортирование и хранение микрометров - по ГОСТ 13762.
Микрометры допускается эксплуатировать при температуреокружающей среды от 10 до 30 °С и относительной влажности воздуха не более 80 %при температуре 25 °С.
7.1. Изготовитель гарантирует соответствие микрометравсем требованиям настоящего стандарта при соблюдении условий транспортирования,хранения и эксплуатации.
7.2. Гарантийный срок эксплуатации - 12 мес со дня вводамикрометра в эксплуатацию.
ИНФОРМАЦИОННЫЕ ДАННЫЕ
1. РАЗРАБОТАН И ВНЕСЕН Министерствомстанкостроительной и инструментальной промышленности СССР
РАЗРАБОТЧИКИ
И.А. Медовой, М.Б. Шабалина, В.А. Филатова
2. УТВЕРЖДЕН И ВВЕДЕН В ДЕЙСТВИЕ ПостановлениемГосударственного комитета СССР по управлению качеством продукции и стандартамот 25.01.90 №86
3. Срок проверки - III кв. 1994 г., периодичность - 5 лет
4. СТАНДАРТ ПОЛНОСТЬЮ СООТВЕТСТВУЕТ СТ СЭВ 344-76 ÷ СТ СЭВ352-76, СТ СЭВ 4134-83
5. В стандарт введен международный стандарт ИСО 3611-78
6. ВЗАМЕН ГОСТ 6507-78
7. ССЫЛОЧНЫЕНОРМАТИВНО-ТЕХНИЧЕСКИЕ ДОКУМЕНТЫ
| Обозначение НТД, на который дана ссылка | Номер пункта |
| ГОСТ 2.601-95 | |
| ГОСТ 8.001-80 | |
| ГОСТ 8.383-80 | |
| ГОСТ 9.032-74 | |
| ГОСТ 9.303-84 | |
| ГОСТ 27.410-87 | |
| ГОСТ 2789-73 | |
| ГОСТ 3882-74 | |
| ГОСТ 9038-90 | |
| ГОСТ 9391-80 | |
| ГОСТ 13762-86 | |
| МИ 782-85 |
8. Постановлением Госстандарта от 12.10.92№ 1354 снято ограничение срока действия
9. ПЕРЕИЗДАНИЕ(март 1997 г.) с Изменением №1, утвержденным в октябре 1992 г. (ИУС 1-93)
СОДЕРЖАНИЕ
| 1. Типы. Основные параметры и размеры.. 1 4. Методы контроля и испытаний. 8 5. Транспортирование и хранение. 9 |