Стандарт распространяется на эмали ПФ-115 различных цветов, представляющие собой суспензии двуокиси титана рутильной формы и других пигментов и наполнителей в пентафталевом лаке с добавлением сиккатива и растворителей.
| Обозначение: | ГОСТ 6465-76* |
| Название рус.: | Эмали ПФ-115. Технические условия |
| Статус: | действующий |
| Заменяет собой: | ГОСТ 5.820-71 «Эмали ПФ-115 различных цветов. Требования к качеству аттестованной продукции» ГОСТ 6465-63 |
| Дата актуализации текста: | 01.10.2008 |
| Дата добавления в базу: | 01.02.2009 |
| Дата введения в действие: | 01.07.1977 |
| Разработан: | Министерство химической промышленности СССР |
| Утвержден: | Госстандарт СССР (15.06.1976) |
| Опубликован: | Издательство стандартов № 1976<br>ИПК Издательство стандартов № 2001 |
ГОСТ 6465-76
МЕЖГОСУДАРСТВЕННЫЙСТАНДАРТ
ЭМАЛИ ПФ-115
ТЕХНИЧЕСКИЕ УСЛОВИЯ
ИПК ИЗДАТЕЛЬСТВО СТАНДАРТОВ
Москва
МЕЖГОСУДАРСТВЕННЫЙ СТАНДАРТ
| ЭМАЛИ ПФ-115 Технические условия Enamels ПФ-115. | ГОСТ |
Дата введения 01.07.77
Настоящий стандарт распространяется на эмали ПФ-115 различных цветов, представляющие собойсуспензии двуокиси титана рутильной формы и других пигментов и наполнителей впентафталевом лаке с добавлением сиккатива и растворителей.
Эмали ПФ-115предназначаются для окраски металлических, деревянных и других поверхностей,подвергающихся атмосферным воздействиям и для окраски внутри помещений.
(Измененнаяредакция. Изм. № 5).
Покрытие,состоящее из двух слоев эмали ПФ-115, нанесенных на подготовленную загрунтованнуюповерхность, в умеренном и холодном климате сохраняет защитные свойства втечение четырех лет до балла не более АЗ1 и декоративные свойства в течениеодного года до балла не более АД2 по ГОСТ9.401-91.
(Измененнаяредакция. Изм. № 5).
В тропическомклимате покрытие, состоящее из двух слоев эмали, нанесенных на подготовленнуюзагрунтованную поверхность, сохраняет защитные и декоративные свойства всоответствии с ГОСТ9.401-91.
(Измененнаяредакция. Изм. № 5).
Защитные идекоративные свойства оценивают по ГОСТ9.407 (после обработки покрытия полировочным составом).
Пленка эмалиустойчива к изменению температуры от минус 50 до плюс 60 °С.
Эмали ПФ-115наносят на поверхность методами распыления, струйного облива, окунания икистью.
(Измененная редакция, Изм. № 3, 4).
Обязательныетребования, направленные на обеспечение безопасности эмали ПФ-115 для жизни,здоровья и имущества граждан, охрану окружающей среды, изложены в п. 1.4(табл. 1,показатели 5, 14, 15, 16), пп. 4.1, 4.2.
(Измененнаяредакция. Изм. № 5).
1.1. ЭмалиПФ-115 должны изготовляться в соответствии с требованиями настоящего стандартапо рецептуре и технологическому регламенту, утвержденным в установленномпорядке.
1.2. ЭмалиПФ-115 должны выпускаться следующих цветов, указанных в табл. 1а.
Таблица 1а
| Код ОКП | ||
| Высший сорт | Первый сорт | |
| Красный | - | 23 1222 0406 01 |
| Вишневый | - | 23 1222 0424 10 |
| Красно-оранжевый | 23 1222 0557 09 | 23 1222 0457 01 |
| Кремовый | 23 1222 0514 09 | 23 1222 0414 01 |
| Бледно-желтый | 23 1222 0579 03 | 23 1222 0479 06 |
| Светло-желтый | 23 1222 0561 02 | 23 1222 0461 05 |
| Желтый | 23 1222 0504 00 | 23 1222 0404 03 |
| Темно-зеленый | 23 1222 0568 06 | 23 1222 0468 09 |
| Зеленый | 23 1222 0508 07 | 23 1222 0408 10 |
| Фисташковый | 23 1222 0543 04 | 23 1222 0443 07 |
| Голубой 423 | 23 1222 0510 02 | 23 1222 0410 05 |
| Синий | 23 1222 0507 08 | 23 1222 0407 00 |
| Голубой 451 | 23 1222 0571 00 | 23 1222 0471 03 |
| Серо-голубой | 23 1222 0555 00 | 23 1222 0455 03 |
| Серый | 23 1222 0539 00 | 23 1222 0439 03 |
| Светло-серый | 23 1222 0559 07 | 23 1222 0459 10 |
| Коричневый | 23 1222 0509 06 | 23 1222 0409 09 |
| Светло-бежевый | 23 1222 0596 02 | 23 1222 0496 05 |
| Бежевый | 23 1222 0517 06 | 23 1222 0417 09 |
| Красно-коричневый | 23 1222 0558 08 | 23 1222 0458 00 |
| Темно-серый 894 | 23 1222 0503 01 | 23 1222 0403 04 |
| Темно-серый 896 | 23 1222 0560 03 | 23 1222 0460 06 |
| Белый | 23 1222 0501 03 | 23 1222 0401 06 |
| Черный | - | 23 1222 0402 05 |
Соответствие изменившихся обозначений цветов эмалиприведено в приложении 2.
(Измененная редакция, Изм. № 2, 3, 4).
1.2а. (Исключен, Изм. № 4).
1.3.Перед применением эмали разбавляют до рабочей вязкости сольвентом по ГОСТ 1928 или ГОСТ 10214, уайт-спиритом(нефрасом-С4-155/200) по ГОСТ 3134 , скипидаром по ГОСТ 1571 или их смесью в соотношении 1:1 по массе ксилолом по ГОСТ 9410-78 или ГОСТ9949-76 .
(Измененнаяредакция. Изм. № 5).
Для окраскиизделий в электрополе эмали разбавляют до рабочей вязкости разбавителем РЭ-4Вили РЭ-ЗВ по ГОСТ 18187.Способ применения эмали ПФ-115, предназначенной для розничной торговли,приведен в приложении 1. Электрические характеристики эмали длянанесения распылением в электрополе приведены в приложении 3.
(Измененная редакция, Изм. № 2, 3, 4).
1.3а. (Исключен.Изм. № 5).
1.4.Эмали ПФ-115 должны соответствовать требованиям и нормам, указанным в табл. 1.
Таблица 1
| Норма для эмали | Метод испытания | ||
| высший сорт | первый сорт | ||
| 1. Цвет покрытия эмали: | Должен находиться в пределах допускаемых отклонений, установленных образцами цвета «Картотеки» или контрольными образцами цвета, утвержденными в установленном порядке | По п. 3.3 | |
| красный | - | 9, 11 | |
| вишневый | - | 25, 28 | |
| красно-оранжевый | 132, 133 | 132, 133 | |
| кремовый | 200, 201 | 200, 201 | |
| бледно-желтый | 207, 213 | 207, 213 | |
| светло-желтый | 211, 212 | 211, 212 | |
| желтый | 230, 231 | 230, 231 | |
| темно-зеленый | 311, 312 | 311, 312 | |
| зеленый | 343, 344 | 343, 344 | |
| фисташковый | 388, 389 | 388, 389 | |
| голубой 423 | 423, 424 | 423, 424 | |
| синий | 427, 428 | 427, 428 | |
| голубой 451 | 451, 452 | 451, 452 | |
| серо-голубой | 491, 492 | 491, 492 | |
| серый | 522, 536 | 522, 536 | |
| светло-серый | 583, 584 | 583, 584 | |
| коричневый | 619, 622 | 619, 622 | |
| светло-бежевый | 620, 621 | 620, 621 | |
| бежевый | 629, 630 | 629, 630 | |
| красно-коричневый | 632, 633 | 632, 633 | |
| темно-серый 894 | 894, 895 | 894, 895 | |
| темно-серый 896 | 896, 897 | 896, 897 | |
| белый | Контрольные образцы цвета | ||
| черный | - | Контрольные образцы цвета | |
| 2. Внешний вид покрытия | После высыхания эмаль должна образовывать гладкую, однородную без расслаивания, оспин, потеков, морщин и посторонних включений поверхность. Допускается небольшая шагрень. | По п. 3.4 | |
| 3. Блеск покрытия по фотоэлектрическому блескомеру, %, не менее |
|
| По ГОСТ 896 |
| красной, вишневой, черной | - | 50 | |
| остальных цветов | 60 | 50 | |
| 4. Условная вязкость по вискозиметру типа ВЗ-246 (с диаметром сопла 4 мм при температуре (20 ± 0,5) °С), с красной, вишневой, черной | - | 60-100 | По ГОСТ 8420 и п. 3.4а настоящего стандарта |
| остальных цветов | 80-120 | 80-120 | |
| 5. Массовая доля нелетучих веществ, %, для эмалей: |
|
| По ГОСТ 17537 и п. 3.4б настоящего стандарта |
| белой, светло-желтой | 62-68 | 62-68 | |
| кремовой, бежевой, светло-бежевой, голубой 451, голубой 423, фисташковой, темно-серой 894, темно-серой 896, серо-голубой, серой | 60-66 | 60-66 | |
| бледно-желтой, зеленой, темно-зеленой, красно-коричневой, желтой, красно-оранжевой | 64-70 | 64-70 | |
| синей, светло-серой, коричневой | 57-63 | 57-63 | |
| черной | - | 49-55 | |
| красной, вишневой | - | 52-58 | |
| 6. Степень разбавления до вязкости 28-30 с по вискозиметру типа ВЗ-246 (с диаметром сопла 4 мм при температуре (20 ± 0,5) °С), %, не более | 20 | 20 | По п. 3.5 |
| 7. Степень перетира, мкм, не более |
|
| По ГОСТ 6589 |
| белой | 10 | 25 | |
| красной, вишневой, черной | - | 25 | |
| остальных цветов | 15 | 25 | |
| 8. Укрывистость высушенной пленки, г/м2, не более, для эмалей: |
|
| По ГОСТ 8784, разд. 1 и п. 3.6 настоящего стандарта |
| белой | 60 | 100 | |
| бледно-желтой | 95 | 100 | |
| светло-желтой | 90 | 100 | |
| кремовой, красно-оранжевой | 85 | 90 | |
| бежевой | 50 | 55 | |
| светло-бежевой, фисташковой, серой, зеленой, голубой 423 | 55 | 60 | |
| желтой, голубой 451 | 65 | 70 | |
| серо-голубой | 50 | 60 | |
| темно-серой 896, красно-коричневой, синей | 35 | 40 | |
| темно-серой 894 | 40 | 55 | |
| коричневой | 40 | 40 | |
| темно-зеленой | 55 | 65 | |
| красной | - | 120 | |
| вишневой | - | 100 | |
| черной | - | 30 | |
| светло-серой | 80 | 90 | |
| 9. Время высыхания до степени 3 при температуре (20 ± 2) °С, ч, не более, для эмалей цветов: |
|
| По ГОСТ 19007-73 |
| красной, вишневой | - | 48 | |
| черной | - | 24 | |
| остальных цветов | 24 | 24 | |
| 10. Эластичность пленки при изгибе, мм, не более | 1 | 1 | ГОСТ 6806 |
| 11. Прочность пленки при ударе по прибору типа У-1, см, не менее: |
|
| ГОСТ 4765 |
| красной, вишневой, черной | - | 40 | |
| остальных цветов | 50 | 40 | |
| 12. Твердость покрытия по маятниковому прибору, не менее: |
|
| По ГОСТ 5233-89 |
| типа ТМЛ (маятник А), относительные единицы, для эмалей цветов: |
|
| |
| красной, вишневой | - | 0,10 | |
| черной | - | 0,10 | |
| белой | 0,10 | 0,10 | |
| остальных цветов или типа М-3, условные единицы, для эмалей цветов: | 0,10 | 0,10 | По п. 3.66 настоящего стандарта |
| красной, вишневой | - | 0,15 | |
| черной | - | 0,20 | |
| белой | 0,35 | 0,25 | |
| остальных цветов | 0,30 | 0,25 | |
| 13. Адгезия пленки, баллы, не более | 1 | 1 | ГОСТ 15140 , разд. 2 и п. 3.6а настоящего стандарта |
| 14. Стойкость покрытия при температуре (20 ± 2) °С к статическому воздействию воды, ч, не менее, для эмалей |
|
| ГОСТ 9.403, разд. 2 и п. 3.7 настоящего стандарта |
| красной, вишневой, черной | - | 2 | |
| остальных цветов | 10 | 2 | |
| 15. Стойкость покрытия к статическому воздействию 0,5 %-ного раствора моющего средства, мин, не менее | 15 | 15 | ГОСТ 9.403, разд. 2 и п. 3.8 настоящего стандарта |
| 16. Стойкость покрытия при температуре (20 ± 2) °С к статическому воздействию трансформаторного масла, ч, не менее | 24 | 24 | ГОСТ 9.403, разд. 2 и п. 3.10 настоящего стандарта |
(Измененнаяредакция. Изм. № 5).
Примечания:
1. При применении эмалей допускается горячая сушка покрытия при 105-110°С в течение 1 ч.
2. По требованию потребителя для промышленного применения изготавливаютэмали других цветов по контрольным образцам цвета.
3, 4 (Исключены. Изм. № 5).
2.1.Правила приемки - по ГОСТ 9980.1 .
2.2.Приемосдаточные испытания проводят по показателям 1-5, 7-9, 12 табл. 1.
При получениинеудовлетворительных результатов приемосдаточных испытаний хотя бы по одному изпоказателей проводят повторные испытания на удвоенной выборке, взятой от той жепартии.
Результатыиспытаний распространяются на всю партию.
Нормы попоказателям 6, 13, 14, 15 и 16 табл. 1 определяют не реже одного разав год с календарной даты начала выпуска эмали.
Нормы попоказателям 10 и 11 табл. 1 определяют в каждой тридцатой партии.
При получениинеудовлетворительных результатов периодических испытаний проверяют каждуюпартию до получения удовлетворительных результатов подряд не менее чем на трехпартиях.
При полученииповторного отрицательного результата периодические испытания переводят вприемосдаточные до получения удовлетворительных результатов.
(Измененнаяредакция. Изм. № 5).
2.1, 2.2. (Измененная редакция, Изм. № 4).
3.1.Отбор проб - по ГОСТ 9980.2 .
3.2.Подготовкаобразцов к испытанию
Подготовкупластинок для нанесения эмали проводят по ГОСТ8832, разд. 3.
Время высыханияпленки определяют на пластинках из черной жести по ГОСТ 13345-85 размером 70 ´ 150 мм и толщиной 0,25-0,32мм или стали марок 08 кп и 08 пс размером 70 ´ 150 мм и толщиной 0,7-1,0мм по ГОСТ16523-97.
(Измененнаяредакция. Изм. № 5).
Эластичностьпленки при изгибе определяют на пластинках из черной жести по ГОСТ 13345-85размером 20 ´ 150 мм и толщиной 0,25-0,32мм.
(Измененнаяредакция. Изм. № 5).
Твердость иблеск покрытия определяют на стеклянных пластинках размером 90 ´ 120 мм, толщиной от 1,2 до1,8 мм.
(Измененнаяредакция. Изм. № 5).
Остальныепоказатели определяют на пластинках из стали марок 08 кп и 08 пс размером 70 ´ 150 мм и толщиной 0,7-1,0мм по ГОСТ16523-97.
(Измененнаяредакция. Изм. № 5).
Условнуювязкость, массовую долю нелетучих веществ и степень перетира определяют внеразбавленной эмали.
При определениицвета, внешнего вида, блеска покрытия, времени высыхания, эластичности пленкипри изгибе, прочности покрытия при ударе, твердости, стойкости покрытия кстатическому воздействию воды, раствора моющего средства и трансформаторногомасла, адгезии пленки испытуемую эмаль разбавляют смесью сольвента иуайт-спирита (нефраса С4-155/200) 1:1, сольвентом или ксилолом до условнойвязкости 28-30 с по вискозиметру ВЗ-246 с диаметром сопла 4 мм при температуре(20,0 ± 0,5) °С, фильтруют через сетку № 01Н-02Н по ГОСТ6613-86 и наносят на подготовленные пластинки краскораспылителем в одинслой (кроме определения цвета). При определении цвета эмаль наносят до полногоукрытия окрашиваемой поверхности.
(Измененнаяредакция. Изм. № 5).
Сушку пленкиэмали вишневой и красной проводят при температуре (20 ± 2) °С в течение 48 ч,остальных цветов - в течение 24 ч (кроме определения твердости покрытия эмалейПФ-115).
(Измененнаяредакция. Изм. № 5).
При определениитвердости покрытия эмалей ПФ-115 сушку проводят при температуре (20 ± 2) °С в течение 48 ч.
Для определениястойкости покрытия к статическому воздействию воды, раствора моющего средства итрансформаторного масла эмаль наносят на обе стороны пластинки.
Толщинапокрытия после высыхания для черной, красной и вишневой эмалей должна быть13-18 мкм, для остальных эмалей - 18-23 мкм.
(Измененная редакция, Изм. № 1, 3, 4).
3.3.Цвет покрытия эмали определяют визуально по ГОСТ 29319-92 .
Приразногласиях в оценке цвета за окончательный результат принимают определениецвета при естественном дневном свете.
(Измененная редакция, Изм. № 4, 5).
3.4.Внешний вид покрытия эмали определяют визуально при естественном рассеянномсвете.
(Измененная редакция, Изм. № 4, 5).
3.5.Определениестепени разбавления эмали
3.5.1. Проведение испытания
120-130 гиспытуемой эмали взвешивают, записывая результат взвешивания с точностью довторого десятичного знака, разбавляют смесью растворителей сольвента иуайт-спирита (ксилолом или сольвентом до рабочей вязкости 28-30 с повискозиметру типа ВЗ-246 с диаметром сопла 4 мм при температуре (20,0 ± 0,5) °С) 1:1 до рабочей вязкости28-30 с по вискозиметру типа ВЗ-246 (или ВЗ-4) с диаметром сопла 4 мм.
(Измененная редакция, Изм. № 4, 5).
3.5.2. Обработка результатов
Степеньразбавления (X)в процентахвычисляют по формуле
,
где m1 - масса растворителя, израсходованная для разбавления эмали, г;
т - масса эмали, г.
3.6.Укрывистость определяют по ГОСТ 8784-75 при вязкости эмали 20-22 с при температуре (20,0 ± 0,5) °С по вискозиметру ВЗ-246 с диаметром сопла 4 мм.
Эмаль наносяткраскораспылителем. Время сушки до степени 3 - в соответствии с табл. 1.
(Измененная редакция, Изм. № 3, 4, 5).
(Введен дополнительно, Изм. № 4).
3.6б.Определениетвердости покрытия
3.6б.1.Твердость покрытия эмали определяют по ГОСТ5233-89, разд. 1.
3.6б.2.Определение твердости покрытия по маятниковому прибору типа М-3.

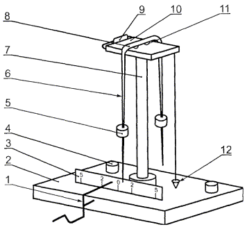
1 - пусковой механизм; 2 - основание; 3 - шкала; 4 - установочныевинты; 5 - груз; 6 - двустрелочный механизм; 7 - штатив; 8 - соединительная планка; 9 -рамка; 10 - столик; 11 -стальные шарики; 12 - отвес
3.6б.2.1. Аппаратура и материалы
Маятниковый прибортипа М-3 для определения твердости при комнатной температуре (20 ± 2) °С (чертеж).
Основныехарактеристики маятникового прибора:
масса маятника(120 + 1) г;
длина маятника,считая от точки опоры до конца стрелки, (500 ± 1) мм;
диаметрстального шарика (точки опоры) 7,938 мм по ГОСТ 3722-81;
шкала прибора,разделенная на градусы;
угол отклоненияот 5 до 2°;
время затуханияколебаний на стеклянной пластинке («стеклянное число») (440 ± 6) с.
Стеклянныепластинки размером 90 ´ 120 мм, толщиной от 1,2 до1,8 мм.
Секундомер.
Растворители:эфир этиловый по ГОСТ8981-78 или ацетон технический по ГОСТ 2768-84.
3.6б.2.2. Подготовка к испытанию
Перед каждымиспытанием шарики маятника и стеклянную пластинку прибора тщательно протираютватой, смоченной растворителем, а затем сухой чистой марлей.
На пластинки,подготовленные по ГОСТ8832-76, наносят испытуемую эмаль (п. 3.2).
3.6б.2.3. Проведение испытания
Маятниковыйприбор проверяют по «стеклянному числу» - времени затухания колебаний маятника,точки опоры которого лежат на стеклянной пластинке прибора.
Определение«стеклянного числа» проводят при температуре (20 ± 2) °С и относительнойвлажности воздуха (65 ± 5) %.
Измеренияпроводят не менее чем на трех участках поверхности стеклянной пластинки.
Таким жеобразом определяют время затухания колебаний маятника на стеклянной пластинке сиспытуемым покрытием эмали.
3.6б.2.4. Обработка результатов
Твердость (Н),условные единицы, вычисляют по формуле
,
где t - времязатухания колебаний маятника на испытуемом покрытии эмали, с;
t1 - время затухания колебаниймаятника на стеклянной пластинке прибора («стеклянное число»), с.
За результатиспытания принимают среднее арифметическое полученных результатов измерениявремени затухания колебаний маятника на стеклянной пластинке и на испытуемомобразце покрытия эмали.
Отклонениязначений единичных измерений от среднего арифметического не должно быть более 3%.
Приразногласиях показатель «твердость покрытия» определяют по ГОСТ5233-89, по маятниковому прибору типа ТМЛ (маятник А).
3.6б.2.5. Погрешность метода
Погрешностьметода при определении твердости на приборе М-3 составляет ±0,02 условнойединицы.
(Измененнаяредакция. Изм. № 5).
3.7.Для определения стойкости покрытия к статическому воздействию воды окрашенные ивысушенные образцы выдерживают на воздухе перед испытанием в течение 5 сут,затем образцы помещают на 2/3 высоты в дистиллированную воду ( ГОСТ 6709 ) и выдерживают в течение времени, указанного в п. 14 табл. 1.
После испытанияобразцы выдерживают на воздухе при температуре (20 ± 2) °С в течение 1 ч и осматривают внешнийвид покрытия.
По внешнемувиду покрытие эмали должно быть без изменений. Допускается незначительноеизменение цвета покрытия.
(Измененнаяредакция. Изм. № 3, 4, 5).
3.8.Для определения стойкости покрытия к статическому воздействию раствора моющегосредства окрашенные и высушенные образцы выдерживают на воздухе передиспытанием в течение 2 ч, затем образцы помещают на 2/3высоты в 0,5 %-ный раствор средства моющего синтетического порошкообразного по ГОСТ 25644-96, имеющего температуру 30-40 °С, и выдерживают в растворе при заданной температуре в течение 15 мин.
(Измененнаяредакция. Изм. № 3, 4, 5).
После испытанияобразцы выдерживают на воздухе при температуре (20 ± 2) °С в течение 1 ч и осматривают внешнийвид покрытия.
По внешнемувиду покрытие эмали должно быть без изменений.
3.10.Для определения стойкости покрытия к статическому воздействию трансформаторногомасла окрашенные и высушенные образцы выдерживают на воздухе перед испытанием втечение 5 сут, затем образцы помещают на 2/3 высоты в трансформаторное масло ( ГОСТ 982 ) при температуре (20 ± 2) °С и выдерживают в масле в течение времени, указанного в п. 16 табл. 1.
После испытанияобразцы выдерживают на воздухе при температуре (20 ± 2) °С в течение 2 ч и осматривают внешний вид ицвет покрытия. Допускается незначительное изменение цвета покрытия.
(Введен дополнительно, Изм. № 4).
4.1.Упаковка эмалей - по ГОСТ 9980.3 .
4.2.Маркировка эмалей - по ГОСТ 9980.4.
На транспортнуютару должны быть нанесены: знак опасности по ГОСТ 19433-88 (класс 3),классификационный шифр 3313, номер ООН 1263.
(Измененнаяредакция. Изм. № 5).
4.3.Транспортирование и хранение - по ГОСТ 9980.5 .
При храненииусловная вязкость эмалей увеличивается от нормы по табл. 1. Приразбавлении эмалей растворителем в количестве не более 10 % (от массы эмали) донормы по показателю «вязкость» эмали должны соответствовать требованиямнастоящего стандарта.
Разд. 4. (Измененная редакция, Изм. № 4, 5).
5.1.Изготовитель гарантирует соответствие эмалей требованиям настоящего стандартапри соблюдении условий хранения и транспортирования.
5.2.Гарантийный срок хранения эмалей ПФ-115 различных цветов - 12 месяцев со дняизготовления.
5.1, 5.2. (Измененная редакция, Изм. № 3).
6.1. Эмали ПФ-115различных цветов являются пожароопасными и токсичными материалами, чтообусловлено свойствами компонентов, входящих в их состав.
Предельнодопустимые концентрации, классы опасности компонентов по ГОСТ12.1.005-88 и характеристики пожароопасности по ГОСТ12.1.044-89 приведены в табл. 2.
Таблица 2
| Предельно допустимая концентрация паров в воздухе рабочей зоны производственных помещений, мг/м3 | Класс опасности | Температура, С | Концентрационные пределы воспламенения, % (по объему) | |||
| вспышки | самовоспламенения | нижний | верхний | |||
| Ксилол | 50 | 3 | Не ниже 23 | Выше 450 | 1,0 | 6.0 |
| Скипидар | 300 | 4 | 34 | 300 | 0,8 | 6.9 |
| Уайт-спирит | 300 | 4 | Не ниже 33 | 270 | 1,4 | 6.0 |
| Сольвент | 50 | 3 | 22-36 | 464-535 | 1,02* | - |
| Соединения свинца | 0,01/0,005 | 1 | - | - | - | - |
| Соединения хрома | 0,01 | 1 | - | - | - | - |
* Нижний предел воспламенения при температуре 25 °С идавлении 101325 Па (760 мм рт. ст.).
Пары растворителейоказывают раздражающее действие на слизистые оболочки глаз, верхних дыхательныхпутей и кожу.
Соединениясвинца, являясь чрезвычайно опасными, вызывают хроническую интоксикацию,выражающуюся в поражении центральной нервной и сердечно-сосудистой систем, визменениях крови, желудочно-кишечного тракта и других органов.
Соединенияхрома раздражают и прижигают слизистую оболочку и кожу, вызывая изъязвления;при вдыхании аэрозолей происходит прободение хрящевой части носовойперегородки. Они оказывают также общетоксическое действие, поражаяжелудочно-кишечный тракт.
6.3.Производство эмалей должно соответствовать правилам безопасности лакокрасочныхпроизводств, утвержденным в установленном порядке.
6.4.Производство, испытания и применение эмалей должны соответствовать требованиям ГОСТ 12.3.005-75 и ГОСТ12.1.004-91 .
6.5. Лица,связанные с изготовлением и применением эмалей, должны быть обеспеченыспециальной одеждой по ГОСТ12.4.103-83 и средствами индивидуальной защиты по ГОСТ12.4.011-89, ГОСТ12.4.068-79.
Индивидуальныесредства защиты органов дыхания - по ГОСТ12.4.028-76, ГОСТ12.4.004-74 и ГОСТ17269-71.
6.6.Работы, связанные с изготовлением и применением эмалей, проводят в помещениях,снабженных местной и общей приточно-вытяжной вентиляцией по ГОСТ 12.4.021-75 , обеспечивающей состояние воздушной среды в соответствии с ГОСТ 12.1.005-88 .
Средстватушения пожара - песок, кошма, огнетушители пенные ОХП-10, углекислотные ОУ-2 иОУ-5, пенные установки, тонкораспыленная вода - по ГОСТ12.4.009-83.
6.7. Для охраныатмосферного воздуха от загрязнений должны быть предусмотрены очистка воздухана газоочистных установках и контроль за соблюдением предельно допустимыхвыбросов (ПДВ) по ГОСТ17.2.3.02-78.
6.8. Отходы,образующиеся при очистке оборудования, утилизируют в соответствии с порядкомнакопления, транспортирования, обезвреживания и захоронения токсичныхпромышленных отходов.
(Измененнаяредакция. Изм. № 5).
(Измененнаяредакция. Изм. № 5).
Эмаль ГТФ-115 предназначается для окраскиметаллических, деревянных и других поверхностей, подвергающихся атмосфернымвоздействиям, и для окраски внутри помещений.
Передприменением эмаль тщательно перемешивают, при необходимости разбавляютсольвентом, уайт-спиритом (нефрасом С4-155/200), скипидаром или их смесью 1:1.
(Измененнаяредакция. Изм. № 5).
Эмаль ПФ-115наносят методом распыления или кистью на сухую, предварительно очищенную отпыли, жировых и других загрязнений, ржавчины, окалины поверхность.
Время высыханиякаждого слоя эмали при температуре (20 ± 2) °С - 24 ч.
Расход эмали наоднослойное покрытие в зависимости от цвета 100-180 г/м2.
Эмаль хранят вплотно закрытой таре, предохраняя от влаги и прямых солнечных лучей.
Мерыпредосторожности: при проведении окрасочных работ, а также после их окончаниянеобходимо тщательно проветривать помещение.
Для защиты рукприменять резиновые перчатки.
Беречь от огня.
(Измененная редакция, Изм. № 4).
| ГОСТ 6465-76 с изменениями № 1, 2, 3, 4, 5 | ГОСТ 6465 с изменениями № 1, 2, 3 | ||
| Цвет | Номер образца (эталона) цвета картотеки | Цвет | Номер образца цвета картотеки |
| Вишневый | 25, 28 | Вишневый | 28, допуск по утвержденному образцу |
(Измененнаяредакция, Изм. № 4, 5).
| Наименование показателя | Норма |
| 1. Удельное объемное электрическое сопротивление, Ом×м | 5 ´ 104 - 1 ´ 104 |
| 2. Диэлектрическая проницаемость | 6-11 |
(Измененная редакция. Изм. № 5).
ИНФОРМАЦИОННЫЕ ДАННЫЕ
1. РАЗРАБОТАН И ВНЕСЕН Министерством химической промышленности СССР
2. УТВЕРЖДЕН И ВВЕДЕН В ДЕЙСТВИЕ Постановлением Государственного комитетаСССР по стандартам
3. ПЕРИОДИЧНОСТЬ ПРОВЕРКИ - 5 лет
4. ВЗАМЕН ГОСТ 6465-63 и ГОСТ 5.820-71
5. ССЫЛОЧНЫЕ НОРМАТИВНО-ТЕХНИЧЕСКИЕ ДОКУМЕНТЫ
| Обозначение НТД, на который дана ссылка | Номер пункта, подпункта | Обозначение НТД, на который дана ссылка | Номер пункта, подпункта |
| ГОСТ 9.401-91 | ГОСТ 8420-74 | ||
| ГОСТ 9.403-80 | ГОСТ 8784-75 | ||
| ГОСТ 9.407-84 | ГОСТ 8832-76 | ||
| ГОСТ 12.3.005-75 | ГОСТ 9980.1-86 | ||
| ГОСТ 12.4.011-89 | ГОСТ 9980.2-86 | ||
| ГОСТ 17.2.3.02-78 | ГОСТ 9980.3-86 | ||
| ГОСТ 896-69 | ГОСТ 9980.4-86 | ||
| ГОСТ 982-80 | ГОСТ 9980.5-86 | ||
| ГОСТ 1571-82 | ГОСТ 10054-82 | ||
| ГОСТ 1928-79 | ГОСТ 10214-78 | ||
| ГОСТ 3134-78 | ГОСТ 15140-78 | ||
| ГОСТ 4765-73 | ГОСТ 16523-97 | ||
| ГОСТ 5233-89 | ГОСТ 17537-72 | 1.4, 3.4б | |
| ГОСТ 6589-74 | ГОСТ 18187-72 | ||
| ГОСТ 6613-86 | ГОСТ 19007-73 | ||
| ГОСТ 6709-72 | ГОСТ 19433-88 | ||
| ГОСТ 6806-73 | ГОСТ 25644-96 |
6. Ограничение срока действия снято по протоколу № 5-94Межгосударственного Совета по стандартизации, метрологии и сертификации (ИУС11-12-94)
7. ИЗДАНИЕ (июль 2001 г.) с Изменениями № 1, 2, 3, 4, утвержденными вянваре 1979 г., июне 1980 г., июне 1985 г., апреле 1988 г. (ИУС 3-79, 8-80,10-85, 7-88)
СОДЕРЖАНИЕ
| 4. УПАКОВКА, МАРКИРОВКА, ТРАНСПОРТИРОВАНИЕ И ХРАНЕНИЕ СПОСОБ ПРИМЕНЕНИЯ ЭМАЛИ ПФ-115, ПРЕДНАЗНАЧЕННОЙ ДЛЯ РОЗНИЧНОЙ ТОРГОВЛИ |