Стандарт распространяется на рельсы типов Р8, Р11, Р18 и Р24, предназнаечнные для укладки на железных дорогах узкой колеи.
| Обозначение: | ГОСТ 6368-82* |
| Название рус.: | Рельсы железнодорожные узкой колеи типов Р8, Р11, Р18 и Р24. Конструкция и размеры |
| Статус: | действующий |
| Заменяет собой: | ГОСТ 6368-52 |
| Дата актуализации текста: | 01.10.2008 |
| Дата добавления в базу: | 01.02.2009 |
| Дата введения в действие: | 01.01.1984 |
| Разработан: | Министерство черной металлургии СССР |
| Утвержден: | Госстандарт СССР (07.09.1982) |
| Опубликован: | Издательство стандартов № 1982<br>Издательство стандартов № 1993 |

ГОСУДАРСТВЕННЫЙ СТАНДАРТ СОЮЗА ССР
РЕЛЬСЫЖЕЛЕЗНОДОРОЖНЫЕ
УЗКОЙ КОЛЕИ ТИПОВ Р8, Р11, Р18 И Р24
КОНСТРУКЦИЯ ИРАЗМЕРЫ
ГОСТ 6368-82
ИЗДАТЕЛЬСТВОСТАНДАРТОВ
Москва
ГОСУДАРСТВЕННЫЙСТАНДАРТ СОЮЗА ССР
| РЕЛЬСЫ ЖЕЛЕЗНОДОРОЖНЫЕ УЗКОЙ КОЛЕИ Конструкция и размеры Type R8, R11, R18 and R24 narrow-gauge | ГОСТ |
Срок действия с 01.01.84
до 01.01.94
1. Настоящий стандарт распространяетсяна рельсы типов Р8, Р11, Р18 и Р24 (далее - рельсы), предназначенные дляукладки на железных дорогах узкой колеи.
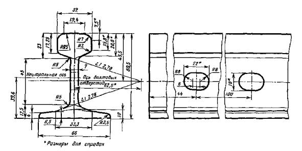
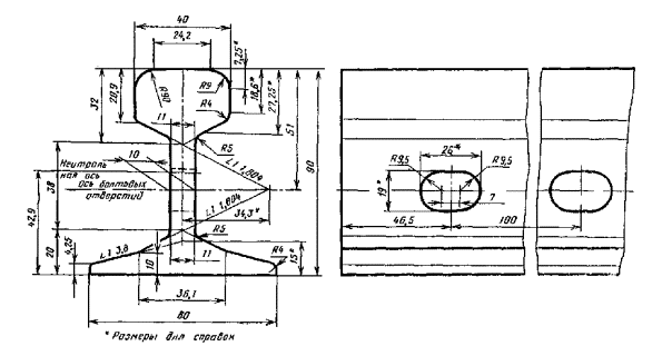
2. Размеры поперечногосечения рельсов, а также расположение и размеры отверстий для болтов должнысоответствовать указанным на черт. 1-4.
Тип Р8
Черт. 1
Тип Р11

Черт. 2
Тип Р18

Черт. 3
Тип Р24
Черт 4
Расчетные значения, площадь поперечногосечения рельсов, масса и распределение металла по сечению профиля указаны вприложениях 1и 2.
3. Предельные отклоненияразмеров рельсов должны соответствовать указанным в табл. 1.
Таблица 1
мм
| Предельные отклонения | |||||||
| по высоте рельса | по ширине головки | по толщине шейки | по ширине подошвы | по высоте шейки | по размерам отверстий для болтов, по расстоянию от центра каждого отверстия до торца рельса | по расстоянию от центра отверстия до верхней грани головки или нижней грани подошвы | |
| P8 | +0,3 | +0,3 | +0,3 | ±2,0 | Не регламентируются | ±1,0 | Не регламентируются |
| Р11 | -1,0 | -1,0 | -1,0 | ||||
| Р18 | +0,3 | +0,3 | +0,3 | +0,3 | ±1,0 | ||
| Р24 | -1,0 | -1,0 | -1,0 | -0,5 | |||
Примечание. Размеры рельсов, на которые не указаны предельные отклонения, контролируютпо калибрам в валках при их расточке.
4. Несимметричностьпоперечного сечения головки и подошвы рельсов типов Р18 и Р24 относительновертикальной оси шейки не должна превышать полусуммы предельных отклоненийразмеров соответствующих элементов профиля.
5. В зависимости отназначения рельсы изготовляют:
мерной длины;
кратной мерной длины;
мерной длины с остатком;
укороченной мерной длины длякривых участков пути;
немерной длины.
6. Длина рельсов должна бытьуказана в заказе в соответствии с табл. 2.
Таблица 2
| Длина, м | ||||
| мерная | немерная | укороченная мерная для кривых | мерная с остатком | |
| Р8, P11 | 5, 6, 7 | От 3 до 7 | Не изготовляют | Остаток - рельсы немерной длины до 15 % массы партии |
| Р18, Р24 | 8 | От 3 до 12 | 7,87 | Не изготовляют |
Примечания:
1. По требованию потребителя допускаетсяизготовление рельсов типов Р18 и Р24 мерной длины других размеров, не указанныхв таблице.
2. Для предприятия лесной и угольной промышленностирельсы типов Р18 и Р24 должны быть мерной длины.
7. Предельные отклонения подлине рельсов мерной длины не должны превышать:
±6 мм - для рельсов сфрезерованными торцами;
±20 мм - для рельсов безфрезеровки торцев (по согласованию между изготовителем и потребителем);
Примечание. Для предприятий лесной промышленности рельсы типовР18 и Р24 должны изготавливаться с предельными отклонениями по длине ±6 мм - с01.01.91.
(Измененная редакция, Изм. №1).
8. На обоих концах рельсавыполняют по два отверстия для болтов.
По требованию потребителярельсы могут быть изготовлены без отверстий для болтов на одном или обоихконцах.
9. Высоту шейки рельсов типовР18 и Р24 проверяют с помощью шаблона по наклонным поверхностям рельсовойпазухи.
10. При прошивке отверстийдля болтов контроль размеров производят со стороны входа пуансона.
11.Технические требования к рельсам типов Р18 и Р24 - по ГОСТ 5876, к рельсам типов Р8 и Р11 - по согласованным между изготовителем ипотребителем техническим условиям.
Справочное
| Типы рельсов | Площадь поперечного сечения, см2 | Расчетные значения | Масса, кг | ||||||
| Расстояние от центра тяжести до верха головки, см | Расстояние от центра тяжести до низа подошвы, см | Момент инерции относительно горизонтальной оси, см4 | Момент инерции относительно вертикальной оси, см4 | Момент сопротивления по верху головки, см3 | Момент сопротивления по низу подошвы, см3 | Момент сопротивления по боковой грани, см3 | |||
| Р8 | 10,76 | 3,61 | 2,89 | 60,21 | 9,88 | 16,66 | 20,86 | 3,66 | 8,42 |
| Р11 | 14,28 | 4,09 | 3,96 | 126,60 | 17,06 | 30,93 | 31,99 | 5,17 | 11,18 |
| Р18 | 22,88 | 4,69 | 4,31 | 238,44 | 40,68 | 50,81 | 55,36 | 10,17 | 17,91 |
| Р24 | 31,79 | 5,47 | 5,33 | 497,80 | 86,10 | 91,02 | 93,39 | 18,72 | 24,90 |
Примечание. При вычислении массы приняты номинальные размерыпоперечного сечения рельсов и плотность стали, равная 7830 кг/см3.
Справочное
| Типы рельсов | Распределение металла по сечению рельса, % от площади сечения | ||
| в головке | в шейке | в подошве | |
| Р8 | 34,17 | 25,08 | 40,75 |
| Р11 | 42,92 | 23,30 | 33,78 |
| Р18 | 43,86 | 18,98 | 37,16 |
| Р24 | 44,47 | 21,24 | 34,29 |
ИНФОРМАЦИОННЫЕ ДАННЫЕ
1. РАЗРАБОТАН И ВНЕСЕНМинистерствами черной металлургии СССР
РАЗРАБОТЧИКИ
Н. М. Воронцов, И. С. Гринь,Л. Ф. Кузнецов, Л. Д. Дрозд, Л. И. Иванисенко, Л. В. Климова
2.УТВЕРЖДЕН И ВВЕДЕН В ДЕЙСТВИЕ Постановлением Государственного комитета СССР постандартам от 07.09.82 № 3527
3. Срок проверки - 1992 г.
4. ВЗАМЕН ГОСТ 6368-52
5. ССЫЛОЧНЫЕНОРМАТИВНО-ТЕХНИЧЕСКИЕ ДОКУМЕНТЫ
| Обозначение НТД, на который дана ссылка | Номер пункта |
| ГОСТ 5876-82 |
6. Переиздание (январь 1993г.) с Изменением № 1, утвержденным в мае 1988 г. (ИУС 8-88)
7. Срок действия продлен до01.01.94 (Постановление Госстандарта СССР от 20.05.88 № 1415)