Настоящий стандарт распространяется на химические продукты коксования (жидкие и твердые) и устанавливает метод определения массовой доли общей серы.
Определение массовой доли общей серы основано на сжигании навески вещества в токе воздуха или кислорода, окислении образовавшегося сернистого ангидрида перекисью водорода и последующем определении серной кислоты методом титрования.
Метод позволяет определять массовую долю общей серы не менее 0,05 %.
| Обозначение: | ГОСТ 6263-80* |
| Название рус.: | Продукты коксования химические. Метод определения общей серы |
| Статус: | действующий Переиздание (июнь 1998 г.) с Изменением №1, утвержденным в июле 1986 г. (ИУС 10-86) |
| Заменяет собой: | ГОСТ 6263-69 |
| Дата актуализации текста: | 01.10.2008 |
| Дата добавления в базу: | 01.02.2009 |
| Дата введения в действие: | 01.01.1982 |
| Утвержден: | Госстандарт СССР (08.02.1980) |
| Опубликован: | Издательство стандартов № 1980<br>ИПК Издательство стандартов № 1998 |

ГОСУДАРСТВЕННЫЙ СТАНДАРТ СОЮЗА ССР
ПРОДУКТЫКОКСОВАНИЯ ХИМИЧЕСКИЕ
МЕТОДОПРЕДЕЛЕНИЯ ОБЩЕЙ СЕРЫ
ГОСТ6263-80
ИПКИЗДАТЕЛЬСТВО СТАНДАРТОВ
Москва
ГОСУДАРСТВЕННЫЙ СТАНДАРТ СОЮЗА ССР
| ПРОДУКТЫ КОКСОВАНИЯ ХИМИЧЕСКИЕ Метод определения общей серы Cool chemical products. Method for the determination of total sulphur. | ГОСТ Взамен |
ПостановлениемГосударственного комитета СССР по стандартам от 8 февраля 1980 г. № 657 датавведения установлена
01.01.82
Ограничениесрока действия снято по протоколу № 3-93 Межгосударственного Совета постандартизации, метрологии и сертификации (ИУС 5-6-93)
*Переиздание (июнь 1998 г.) с Изменением №1, утвержденным в июле 1986 г. (ИУС10-86)
Настоящий стандартраспространяется на химические продукты коксования (жидкие и твердые) иустанавливает метод определения массовой доли общей серы.
Определение массовой долиобщей серы основано на сжигании навески вещества в токе воздуха или кислорода, окисленииобразовавшегося сернистого ангидрида перекисью водорода и последующемопределении серной кислоты методом титрования.
Метод позволяет определятьмассовую долю общей серы не менее 0,05 %.
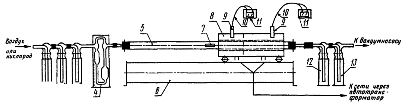
1.1. Прибор для определения серы(см. чертеж) состоит из следующих частей:
печь электрическая трубчатаягоризонтальная подвижная двухсекционная, длиной (275 ± 1,5) мм, диаметромотверстия (30 ± 1,5) мм, обеспечивающая температуру нагрева первой секции печи400 - 450 °С, второй секции печи 800 -850 °С;
термометр термоэлектрическийлюбого типа;
Прибор для определения серы

1, 2, 3- склянки для очисткивоздуха; 4 - реометр; 5 - кварцевая или фарфоровая труба; 6 -подставка для печи; 7 - фарфоровая лодочка; 8 - электрическаятрубчатая печь; 9 - отверстие для термометра; 10 - термоэлектрическийтермометр; 11 - милливольтметр; 12, 13 - поглотительные склянки
милливольтметр по ГОСТ9736-91;
автотрансформаторлабораторный, типа РНО-250-2, РНО-250-05 или аналогичный;
труба кварцевая илифарфоровая, длиной 700 - 800 мм, наружным диаметром 18 - 22 мм;
склянки поглотительные и дляочистки воздуха по ГОСТ25336-82;
реометр стеклянныйлабораторный по ГОСТ 9932-75.
Вакуум-насос лабораторныйлюбого типа или насос водоструйный по ГОСТ25336-82 или общая магистраль для нагнетания или отсоса воздуха.
Лодочка фарфоровая по ГОСТ9147-80, типа ЛС или пробирка кварцевая длиной (65 ± 5) мм, диаметром 6,3 -7,0 мм, изготовленная из кварцевой трубы.
Проволока нихромовая длиной700 мм, диаметром 2 - 3 мм, загнутая с одной стороны крючком.
Микробюретка по ГОСТ29251-91, вместимостью 5 см3.
Капельница стекляннаялабораторная по ГОСТ25336-82.
Колба мерная по ГОСТ1770-74.
Пипетки по ГОСТ29227-91.
Весы лабораторные общего назначения1-го и 2-го классов точности по ГОСТ24104-88 с наибольшим пределом взвешивания 200 г.
Кислород газообразныйтехнический по ГОСТ5583-78, в баллоне.
Вещество инертное: окисьалюминия, кирпич ИНЗ-600, фракции 0,25 - 0,5 мм, или глина шамотная,прокаленные при 900 °С. Шамотную глину измельчают в ступке до размеров частиц0,25 - 0,5 мм.
Калий марганцовокислый по ГОСТ20490-75, раствор с массовой концентрацией 0,05 г/см3.
Индикаторы: метиловыйкрасный, спиртовой раствор с массовой концентрацией 0,002 г/см3 иметиленовый синий, спиртовой раствор с массовой концентрацией 0,001 г/см3,взятые в соотношении 1:1; нитхромазо, водный раствор с массовой концентрацией0,002 г/см3.
Перекись водорода по ГОСТ10929-76, раствор с массовой концентрацией 0,03 г/см3.
Натрия гидроокись по ГОСТ 4328-77,х.ч., раствор с массовой концентрацией 0,3 г/см3 и с молярнойконцентрацией эквивалента 0,01 моль/дм3; поправку на титр раствора сконцентрацией 0,01 моль/дм3 определяют по водному раствору сернойкислоты.
Барий хлористый по ГОСТ4108-72, х.ч., раствор с молярной концентрацией эквивалента 0,01 моль/дм3,поправку на титр определяют по водно-спиртовому раствору серной кислоты вприсутствии индикатора нитхромазо.
Спирт этиловыйректификованный технический по ГОСТ18300-87.
Спирт изопропиловый по ГОСТ 9805-84.
Вода дистиллированная по ГОСТ 6709-72.
Кислота серная по ГОСТ 4204-77,водный раствор с молярной концентрацией эквивалента 0,01 моль/дм3 иводно-спиртовой раствор с молярной концентрацией 0,01 моль/дм3 врастворе изопропилового спирта с массовой концентрацией 0,5 г/см3.
(Измененная редакция, Изм. №1).
2.1. Для очистки воздуха иликислорода в склянку 1 наливают раствор марганцовокислого калия смассовой концентрацией 0,05 г/см3, в склянку 2 - растворгидроокиси натрия с массовой концентрацией 0,3 г/см3, склянку 3 оставляютпустой.
(Измененная редакция, Изм. №1).
2.2. Для улавливанияпродуктов сжигания в поглотительные склянки 12 и 13 наливают по40 см3 раствора перекиси водорода и по 3 - 4 капли индикаторовметилового красного и метиленового синего или их смеси (склянка 13 являетсяконтрольной).
В случае определениямассовой доли общей серы в продуктах, содержащих примеси азотистых соединений,в поглотительные склянки 12 и 13 наливают по 40 см3раствора перекиси водорода, по 40 мл изопропилового спирта и по 3 - 4 каплииндикатора нитхромазо.
2.3. Раствор перекисиводорода перед анализом нейтрализуют раствором гидроокиси натрия с молярнойконцентрацией эквивалента 0,01 моль/дм3 в присутствии индикаторовметилового красного и метиленового синего или их смеси до перехода окраскираствора от фиолетовой до зеленой. В случае анализа продуктов, содержащихазотистые соединения, перекись водорода нейтрализуют раствором хлористого барияв присутствии индикатора нитхромазо до перехода окраски раствора отсине-фиолетовой до бирюзовой.
(Измененная редакция, Изм. №1).
2.4. Очистительные и поглотительныесклянки соединяют между собой и с печью встык с помощью резиновых трубок. Всерезиновые трубки и пробки должны быть тщательно вымыты и прокипячены вдистиллированной воде.
Собранный прибор проверяютна герметичность. Для этого отводную трубку контрольной склянки 13 присоединяютк вакуум-насосу, просасывают воздух через весь прибор и закрывают отводнуютрубку очистительной системы. При этом не должны появляться пузырьки воздуха впоглотительных склянках с жидкостью.
3.1. Пробу твердого продуктапредварительно измельчают до тонкого порошка.
Навеску продукта помещают влодочку (равномерно распределяя по всей длине) или в пробирку, предварительнозаполненные наполовину инертным веществом, и быстро засыпают слоем того жеинертного вещества.
Масса навески в зависимостиот предполагаемой массовой доли серы в анализируемом продукте и погрешностьвзвешивания указаны в табл. 1.
Таблица 1
| Масса навески, г | Погрешность взвешивания, г | |
| От 0,05 до 0,1 | Около 0,2 | ±0,0002 |
| Св. 0,1 » 0,5 | » 0,1 | ±0,0002 |
| » 0,5 » 1,0 | » 0,05 | ±0,0002 |
| » 1,0 | » 0,01 | ±0.00005 |
Для взвешивания навески массой 0,01 г используют весы только 1-гокласса точности.
(Измененная редакция, Изм. №1).
3.2. Лодочку или пробирку снавеской помещают в кварцевую или фарфоровую трубу и продвигают ее проволокой кпечи, примерно на середину трубы, быстро присоединяют все поглотительныесклянки и пропускают через систему воздух со скоростью около 0,5 дм3/минили кислород со скоростью 0,15 - 0,20 дм3/мин.
Предварительно нагретую печьс температурой первой секции 400 - 450 °С и второй секции 800 - 850°С медленнои равномерно надвигают на лодочку и полностью сжигают продукт.
Сжигание проводят в течение25 - 30 мин. Для отдельных продуктов (стирольно-инденовой смолы и других) взависимости от физико-химических свойств и массовой доли серы - до 60 мин.
Полноту сжиганияконтролируют по цвету раствора в поглотительной склянке 13, который кконцу сжигания восстанавливается от фиолетового до первоначального зеленого.
После сжигания отключаютподачу воздуха, отсоединяют поглотительные склянки и титруют содержимоепоглотительной склянки 720,01 н. раствором гидроокиси натрия до переходафиолетовой окраски в зеленую.
Если сжигают продукты спримесями азотистых соединений, содержимое поглотительной склянки 12 титруютраствором хлористого бария до перехода сине-фиолетовой окраски в бирюзовую.
При массовой доле серы свыше10 % содержимое поглотительной склянки 12 количественно переводятдистиллированной водой в мерную колбу, доводят объем колбы водой до метки ититруют аликвотную часть раствора.
3.3. Перед анализом и призамене реактивов проводят контрольный анализ в таких же условиях, с таким жеколичеством реактивов, но без анализируемого продукта.
4.1. Массовую долюобщей серы (X) в процентах вычисляют по формуле
,
где V - объем раствора гидроокисинатрия или хлористого бария с молярной концентрацией эквивалента точно 0,01моль/дм3, израсходованный на титрование анализируемой пробы, см3;
V1 -объем точно 0,01 н. раствора гидроокиси натрия или хлористого бария, израсходованныйна титрование в контрольном анализе, см3;
V2 -объем раствора в мерной колбе, см3;
V3 - объем аликвотной части раствора, см3;
0,00016032 - масса серы,соответствующая 1 см3 точно 0,01 н. раствора гидроокиси натрия илихлористого бария, г;
m- массанавески анализируемого продукта, г.
4.2. За результат анализапринимают среднее арифметическое двух параллельных определений, допускаемыерасхождения между которыми не должны превышать значений, указанных в табл. 2.Правильность результатов анализа устанавливают методом добавок известногоколичества элементной серы в виде твердого вещества или раствора канализируемой пробе.
Таблица 2
| Допускаемое расхождение при доверительной вероятности Р = 0,95 % | ||
| для одной лаборатории | для разных лабораторий | |
| От 0,05 до 0,2 | 0,02 | 0,03 |
| Св. 0,2 » 0,5 | 0,04 | 0,05 |
| » 0,5 » 1,5 | 0,05 | 0,06 |
| » 1,5 » 5,0 | 0,20 | 0,30 |
| » 5,0 » 15,0 | 0,25 | 0,35 |
4.1, 4.2. (Измененная редакция, Изм. № 1).
|
|