Стандарт распространяется на шестигранные гайки класса точности А с диаметром резьбы от 1 до 48 мм.
| Обозначение: | ГОСТ 5927-70* |
| Название рус.: | Гайки шестигранные класса точности А. Конструкция и размеры |
| Статус: | действующий |
| Заменяет собой: | ГОСТ 5927-62 |
| Дата актуализации текста: | 01.10.2008 |
| Дата добавления в базу: | 01.02.2009 |
| Дата введения в действие: | 01.01.1972 |
| Разработан: | Министерство черной металлургии СССР |
| Утвержден: | Госстандарт СССР (18.02.1970) |
| Опубликован: | ИПК Издательство стандартов № 1999 |
ГОСУДАРСТВЕННЫЙСТАНДАРТ СОЮЗА ССР
| ГАЙКИ ШЕСТИГРАННЫЕ Конструкция и размеры Hexagon nuts, product grade A. | ГОСТ (СТ СЭВ 3680-82) |
Дата введения 01.01.72
в части размера «под ключ» S = 13 мм 01.01.73
1. Настоящийстандарт распространяется на шестигранные гайки класса точности А с диаметромрезьбы от 1 до 48 мм.
Стандартполностью соответствует СТ СЭВ 3680-82.
(Измененная редакция, Изм. № 4).
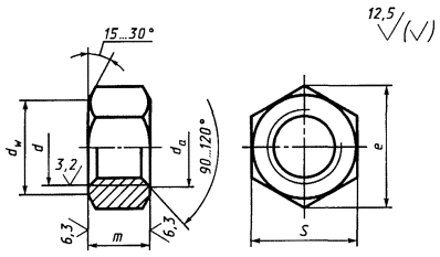
2.Конструкция и размеры гаек должны соответствовать указанным на чертеже и в таблице.
(Измененная редакция, Изм. № 3, 4, 6, 7).
3.Резьба - по ГОСТ 24705 .
(Измененная редакция, Изм. № 2, 4, 5).
3а.Не установленные настоящим стандартом допуски размеров, отклонений формы ирасположения поверхностей и методы контроля - по ГОСТ 1759.1 .
3б.Допустимые дефекты поверхности гаек и методы контроля - по ГОСТ 1759.3.
3а, 3б. (Введены дополнительно, Изм. № 5).
4. Допускаетсяпо соглашению между изготовителем и потребителем изготавливать гайки сноминальным диаметром резьбы от 36 до 48 мм с шагом резьбы 2 мм.
(Измененная редакция, Изм. № 2, 5).
5.Технические требования - по ГОСТ 1759.0 .
6. (Исключен, Изм. № 2).
7. Масса гаекуказана в приложении 1.
8. (Исключен, Изм. № 4).
мм
| (1) | (1,4) | 1,6 | 2 | 2,5 | 3 | (3,5) | 4 | 5 | 6 | 8 | 10 | 12 | (14) | 16 | (18) | 20 | (22) | 24 | (27) | 30 | 36 | 42 | 48 | |||
| Шаг резьбы | крупный | 0,25 | 0,30 | 0,35 | 0,40 | 0,45 | 0,5 | 0,6 | 0,7 | 0,8 | 1 | 1,25 | 1,5 | 1,75 | 2 | 2,5 | 3 | 3,5 | 4 | 4,5 | 5 | |||||
| мелкий | - | 1 | 1,25 | 1,5 | 2 | 3 | ||||||||||||||||||||
| Размер «под ключ» S | 3,2 | 4 | 5 | 5,5 | 6 | 7 | 8 | 10 | 13 | 16 | 18 | 21 | 24 | 27 | 30 | 34 | 36 | 41 | 46 | 55 | 65 | 75 | ||||
| Диаметр описанной окружности е, не менее | 3,4 | 4,3 | 5,5 | 6 | 6,6 | 7,7 | 8,8 | 11,1 | 14,4 | 17,8 | 20,0 | 23,4 | 26,8 | 30,1 | 33,5 | 37,7 | 40,0 | 45,6 | 51,3 | 61,3 | 72,6 | 83,9 | ||||
| dа | не менее | 1,0 | 1,4 | 1,6 | 2,0 | 2,5 | 3 | 3,5 | 4,0 | 5,0 | 6,0 | 8,0 | 10 | 12 | 14 | 16 | 18 | 20 | 22 | 24 | 27 | 30 | 36 | 42 | 48 | |
| не более | 1,15 | 1,61 | 1,84 | 2,30 | 2,9 | 3,45 | 4,00 | 4,60 | 5,75 | 6,75 | 8,75 | 10,8 | 13,0 | 15,1 | 17,3 | 19,4 | 21,6 | 23,8 | 25,9 | 29,2 | 32,4 | 38,9 | 45,40 | 51,80 | ||
| dw, не менее | 2,90 | 3,60 | 4,50 | 5,00 | 5,40 | 6,30 | 7,20 | 9,00 | 11,7 | 14,6 | 16,6 | 19,6 | 22,5 | 25,3 | 28,2 | 31,7 | 33,6 | 38,4 | 43,1 | 51,5 | 61,0 | 70,5 | ||||
| Высота т | 1,0 | 1,3 | 1,6 | 2,0 | 2,4 | 2,8 | 3,2 | 4,7 | 5,2 | 6,8 | 8,4 | 10,8 | 12,8 | 14,8 | 16,4 | 18,0 | 19,8 | 21,5 | 23,6 | 25,6 | 31,0 | 34,0 | 38,0 | |||
Примечания:
1. Размеры гаек, заключенные в скобки, применять не рекомендуется.
2. Допускается изготавливать гайки с размерами, указанными в приложении 2.
3. Допускается изготавливать гайки с номинальной высотой т не менее 0,8d ипредельными отклонениями по ГОСТ1759.1 при условии соблюдения требований ГОСТ 1759.5.
Пример условного обозначения гайки с диаметром резьбы d = 12 мм, с размером «подключ» S = 18 мм, с крупным шагомрезьбы с полем допуска 6Н, класса прочности 5, без покрытия:
Гайка М12-6Н.5 (S18) ГОСТ 5927-70
То же, скрупным шагом резьбы с полем допуска 6Н, класса прочности 6, из стали маркиА12, без покрытия:
Гайка М12-6Н.6.А (S18) ГОСТ 5927-70
То же, сразмером «под ключ» S =19 мм, с мелким шагом резьбы с полем допуска 6Н, класса прочности 12, из сталимарки 40Х, с покрытием 01 толщиной 6 мкм:
Гайка М12´1,25-6Н.12.40Х.016 ГОСТ 5927-70
Справочное
Масса стальных гаек скрупным шагом резьбы
| Номинальный диаметр резьбы d, мм | Теоретическая масса 1000 шт. гаек, кг » | Номинальный диаметр резьбы d, мм | Теоретическая масса 1000 шт. гаек, кг » | Номинальный диаметр резьбы d, мм | Теоретическая масса 1000 шт. гаек, кг » |
| 1 | 0,062 | 5 | 1,440 | 20 | 71,44 |
| 1,4 | 0,057 | 6 | 2,573 | 22 | 103,15 |
| 1,6 | 0,074 | 8 | 5,548 | 24 | 122,87 |
| 2 | 0,141 | 10 | 10,220 | 27 | 175,28 |
| 2,5 | 0,272 | 12 | 15,670 | 30 | 242,54 |
| 3 | 0,377 | 14 | 25,33 | 36 | 416,78 |
| 3,6 | 0,497 | 16 | 37,61 | 42 | 623,88 |
| 4 | 0,800 | 18 | 53,27 | 48 | 956,20 |
Для определения массы гаек из других материаловзначения массы, указанные в таблице, следует умножить на коэффициенты: 0,356 -для алюминиевого сплава; 1,080 - для латуни.
ПРИЛОЖЕНИЕ 1. (Измененнаяредакция, Изм. № 3, 6).
Справочное
Размеры в мм
| Номинальный диаметр резьбы d | 10 | 12 | 14 | 22 |
| Размер «под ключ» S | 17 | 19 | 22 | 32 |
| Диаметр описанной окружности е, не менее | 18,9 | 21,1 | 24,5 | 35,7 |
| dw, не менее | 15,6 | 17,4 | 20,6 | 30,0 |
| Теоретическая масса 1000 шт. гаек с крупным шагом резьбы, кг » | 12,06 | 18,40 | 28,91 | 85,67 |
ПРИЛОЖЕНИЕ 2. (Введено дополнительно, Изм. № 6; измененная редакция, Изм. № 7).
ИНФОРМАЦИОННЫЕ ДАННЫЕ
1. РАЗРАБОТАН И ВНЕСЕНМинистерством черной металлургии СССР
РАЗРАБОТЧИКИ
И.Н. Недовизий, канд. техн. наук; Б.М. Ригмант; В.И. Мокринский, канд.техн. наук
2. УТВЕРЖДЕН И ВВЕДЕН ВДЕЙСТВИЕ Постановлением Комитета стандартов, мер и измерительных приборов приСовете Министров СССР от 12.08.70 № 178
3. Стандарт полностьюсоответствует СТ СЭВ 3680-82
4. ВЗАМЕН ГОСТ 5927-62
5. ССЫЛОЧНЫЕ НОРМАТИВНО-ТЕХНИЧЕСКИЕ ДОКУМЕНТЫ
| Обозначение НТД, на который дана ссылка | Номер пункта | Обозначение НТД, на который дана ссылка | Номер пункта |
| ГОСТ 1759.0-87 | ГОСТ 1759.5-87 | ||
| ГОСТ 1759.1-82 | ГОСТ 24705-81 | ||
| ГОСТ 1759.3-83 | 3б |
|
|
6. Ограничение срокадействия снято по протоколу № 5-94 Межгосударственного Совета постандартизации, метрологии и сертификации (ИУС 11-12-94)
7. ПЕРЕИЗДАНИЕ (сентябрь1998 г.) с Изменениями № 2, 3, 4, 5, 6, 7, утвержденными в феврале 1974 г.,марте 1981 г., июне 1983 г., мае 1985 г., марте 1989 г., июле 1995 г. (ИУС3-74, 6-81, 11-83, 8-85, 6-89, 9-95)