Стандарт распространяется на костыли класса точности С, предназначенные для крепления железнодорожных рельсов к деревянным шпалам и брусьям.
| Обозначение: | ГОСТ 5812-82* |
| Название рус.: | Костыли для железных дорог широкой колеи. Технические условия |
| Статус: | действующий |
| Заменяет собой: | ГОСТ 5812-75 |
| Дата актуализации текста: | 01.10.2008 |
| Дата добавления в базу: | 01.02.2009 |
| Дата введения в действие: | 01.01.1983 |
| Утвержден: | Госстандарт СССР (17.02.1982) |
| Опубликован: | Издательство стандартов № 1982<br>ИПК Издательство стандартов № 1999 |
ГОСТ 5812-82
МЕЖГОСУДАРСТВЕННЫЙ СТАНДАРТ
КОСТЫЛИ ДЛЯ ЖЕЛЕЗНЫХ ДОРОГ
ШИРОКОЙ КОЛЕИ
ТЕХНИЧЕСКИЕ УСЛОВИЯ
ИПК ИЗДАТЕЛЬСТВО СТАНДАРТОВ
Москва
Изменение № 2 принято Межгосударственным Советомпо стандартизации, метрологии и сертификации (протокол № 4 от 21 октября 1993г.)
За принятиепроголосовали:
| Наименование государства | Наименование национального органа по стандартизации |
| Республика Армения | Армгосстандарт |
| Республика Белоруссия | Госстандарт Белоруссии |
| Республика Казахстан | Госстандарт Республики Казахстан |
| Республика Молдова | Молдовастандарт |
| Российская Федерация | Госстандарт России |
| Туркменистан | Туркменглавгосинспекция |
| Республика Узбекистан | Узгосстандарт |
| Украина | Госстандарт Украины |
МЕЖГОСУДАРСТВЕННЫЙ СТАНДАРТ
| КОСТЫЛИ ДЛЯ ЖЕЛЕЗНЫХ ДОРОГ Технические условия Fastening for broad gauge railways. Technical specifications | ГОСТ Взамен |
ПостановлениемГосударственного комитета СССР по стандартам от 17.02.82 № 707 дата введенияустановлена
01.01.83
Ограничение срока действияснято по протоколу № 2-93 Межгосударственного Совета по стандартизации,метрологии и сертификации (ИУС 2-93)
Настоящий стандартраспространяется на костыли класса точности С, предназначенные для крепленияжелезнодорожных рельсов к деревянным шпалам и брусьям.
(Измененная редакция, Изм. №1).
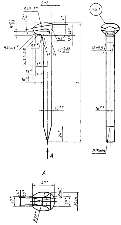
1.1. Конструкция и размеры костылей должны соответствоватьуказанным на чертеже и в таблице.
| L, мм +5 -3 | Теоретическая масса, кг |
| 165 | 0,378 |
| 205 | 0,458 |
| 230 | 0,509 |
| 280 | 0,609 |
Пример условного обозначения костыля длиной 165 мм:
Костыль 165 ГОСТ5812-82

* Размеры в готовых изделиях неконтролируют, указаны для изготовления оснастки с точностью ±
.
** Размеры для справок.
(Измененная редакция, Изм. №1).
2.1. Костыли должны изготовлятьсяиз стали марки Ст4 или Ст3 по ГОСТ 380-94.
Для районов с холоднымклиматом костыли следует изготовлять в исполнении ХЛ по ГОСТ15150-69 из спокойных сталей указанных марок.
2.2. Наповерхности костылей допускаются дефекты металлургического происхождения по ГОСТ 535-88 , незначительные обгорания, неотделимая окалина, а также высадочныетрещины на затылке головки костыля глубиной не более 0,5 мм.
2.1, 2.2. (Измененнаяредакция, Изм. № 1, 2).
2.3. На поверхности головкикостыля не должно быть заусенцев и наплывов металла высотой более 1,5 мм.
Высота складок металла подголовкой костыля не должна быть более 2 мм.
2.4. Допускается на стержнекостыля наличие технологического следа от отверстия матрицы.
2.5. На стержне костыля недолжно быть заусенцев высотой более 2,5 мм.
3.1. Для проверкисоответствия костылей требованиям настоящего стандарта предприятие-изготовительдолжно проводить приемо-сдаточные испытания на соответствие требованиям пп. 1.1, 2.2-2.7.
3.2. Правила приемки - по ГОСТ 17769-83для изделий класса точности С. Размер партии не должен превышать 200000 шт.
(Измененная редакция, Изм. №1).
4.1. Размеры костылей (п. 1.1) исостояние поверхности (пп. 2.2-2.6) следует проверять универсальным измерительныминструментом или шаблонами.
4.2. Внешний осмотр костылейследует проводить без применения увеличительных приборов.
4.3. Испытание на растяжение(п. 2.7)следует проводить в приспособлении, схема которого приведена в приложении 1.
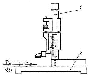
4.4. Смещение заостренного концакостыля относительно оси стержня (п. 2.6) измеряютштангенглубиномером типа ШГ-160 по ГОСТ 162-90 или штангенрейсмассом типаШР-250-0,05 по ГОСТ164-90. Схема измерения приведена в приложении 2.
(Введен дополнительно, Изм.№ 1).
5.1. На головкукаждого костыля должна быть нанесена маркировка, содержащая товарный знак илиусловное обозначение предприятия-изготовителя. На головку удлиненных костылейдополнительно наносят риски:
одну - накостылях длиной 230 мм;
две - накостылях длиной 205 мм;
три - накостылях длиной 280 мм.
5.2. Транспортироватькостыли следует транспортом любого вида.
5.3. Костылиодного типоразмера транспортируют без упаковки железнодорожным транспортом, кроме открытых платформ.
Допускается транспортироватькостыли в универсальных контейнерах по ГОСТ 15102-75, ГОСТ 20435-75, ГОСТ22225-76, специализированных контейнерах.
5.4. При транспортировании вконтейнерах - маркировка по ГОСТ14192-96.
Допускается одновременнотранспортировать костыли разных типоразмеров приусловии исключения их перемешивания.
5.5. Каждаяпартия костылей должна сопровождаться документом о качестве, удостоверяющемсоответствие их требованиям настоящего стандарта, в котором должно бытьуказано:
- наименованиеили товарный знак предприятия-изготовителя;
- условноеобозначение костыля;
- результатыиспытаний;
- массакостылей.
5.6. Хранение костылей - поусловиям 7 ГОСТ15150-69.
Разд. 5. (Измененнаяредакция, Изм. № 1).
Справочное

Примечание. Вместо нижней частиприспособления могут быть использованы зажимы разрывной машины.
Справочное

1 - штангенглубиномер типа ШГ-160; 2 - основание

1 - штангенрейсмасс типа ШР-250-0,05; 2 - основание
ПРИЛОЖЕНИЕ 2. (Введено дополнительно, Изм.№ 1).
СОДЕРЖАНИЕ
| 5. Маркировка, упаковка, транспортирование и хранение. 2 Приложение 1 Схема приспособления для испытания костылей на растяжение. 3 Приложение 2 Схема измерения смещения заостренного конца костыля. 3 |