Настоящий стандарт распространяется на химические продукты коксования (жидкие, сыпучие, в кусках и плитах) и устанавливает правила приемки и методы отбора проб у зготовителей и потребителей указанных продуктов.
| Обозначение: | ГОСТ 5445-79* |
| Название рус.: | Продукты коксования химические. Правила приемки и методы отбора проб |
| Статус: | действующий |
| Заменяет собой: | ГОСТ 5445-69 |
| Дата актуализации текста: | 08.10.2010 |
| Дата добавления в базу: | 08.10.2010 |
| Дата введения в действие: | 01.01.1981 |
| Разработан: | Министерство черной металлургии СССР |
| Утвержден: | Госстандарт СССР (17.04.1979) |
| Опубликован: | ИПК Издательство стандартов № 1996<br>Издательство стандартов № 1979<br>Стандартинформ № 2008 |

ГОСУДАРСТВЕННЫЙСТАНДАРТ СОЮЗА ССР
ПРОДУКТЫКОКСОВАНИЯ ХИМИЧЕСКИЕ
ПРАВИЛА ПРИЕМКИИ МЕТОДЫ ОТБОРА ПРОБ
ГОСТ 5445-79
ИПКИЗДАТЕЛЬСТВО СТАНДАРТОВ
Москва
ГОСУДАРСТВЕННЫЙ СТАНДАРТ СОЮЗА ССР
| ПРОДУКТЫ КОКСОВАНИЯ ХИМИЧЕСКИЕ Правила приемки и методы отбора проб Chemical products of coking. | ГОСТ Взамен |
ПостановлениемГосударственного комитета СССР по стандартам от 17 апреля 1979 г.№ 1406 срок введения установлен
с 01.01.81
Настоящийстандарт распространяется на химические продукты коксования (жидкие, сыпучие, вкусках и плитах) и устанавливает правила приемки и методы отбора проб уизготовителей и потребителей указанных продуктов.
(Измененнаяредакция, Изм. № 2).
1.1. Химическиепродукты коксования принимают партиями. Партией считают любое количествопродукта, однородного по своим качественным показателям, оформленное однимдокументом о качестве.
Допускаетсяограничение массы партии. В этом случае массу партии указывают внормативно-технической документации на конкретный вид продукта.
При поставкечистых бензольных продуктов по трубопроводу партией считают каждую перекачкуиз хранилища, оформленную документом о качестве.
1.2. Каждаяпартия продукта должна сопровождаться документом о качестве установленной формыс указанием:
наименованияпредприятия-изготовителя или его товарного знака;
наименованиепродукта, марки, сорта;
номера партии;
датыизготовления;
массы нетто;
результатовпроведенных анализов или подтверждения о соответствии качества продуктатребованиям нормативно-технической документации;
обозначениянормативно-технической документации.
1.1, 1.2. (Измененнаяредакция, Изм. № 2).
1.3. Для проверкикачества продукта, соответствия транспортной тары, упаковки и правильностинанесения маркировки, от партии отбирают представительную выборку.
1.3.1. Объемвыборки из потока составляет 40 точечных проб, равномерно распределенных в течениевсего периода погрузки или выгрузки продукта, независимо от массы партии.
| Объем партии, шт. | Объем выборки, шт. |
| От 3 до 15 | 3 |
| » 16 » 40 | 5 |
| » 41 » 110 | 10 |
| » 101 » 300 | 20 |
| » 301 » 800 | 30 |
| » 801 » 1300 | 35 |
| » 1301 » 3200 | 40 |
Выборкусоставляет из единиц упаковки и плит методом случайного отбора в соответствии сГОСТ18321-73.
Транспортнаятара с продуктом или плиты, отобранные в выборку, должны быть тщательно очищеныснаружи во избежание засорения продукта.
(Измененнаяредакция, Изм. № 2).
1.3.3. Есливагон, цистерна или битумовоз являются партией, то объем выборки от вагонасоставляет 15 точечных проб, а от цистерны и битумовоза - 1 точечную пробу.Если партия неупакованного продукта транспортируется в нескольких транспортныхсредствах, точечные пробы для составления объединенной пробы отбирают откаждого транспортного средства.
1.3.4. Объемвыборки от штабеля составляет 15 точечных проб и от хранилища - 3 точечные пробы.
1.4. Приполучении неудовлетворительных результатов анализа хотя бы по одному изпоказателей проводят по нему повторный анализ пробы, отобранной от удвоеннойвыборки той же партии.
Результатыповторного анализа распространяются на всю партию.
2.1. Общие требования
2.1.1. Отборпроб из потока, специально подготовленных хранилищ и штабеля, атакже из транспортных средств с неупакованным продуктом, проводят в следующемпорядке:
а) отбираютточечные пробы;
б) из точечныхпроб составляют объединенную пробу;
в) изобъединенной пробы сокращением получают среднюю лабораторную пробу.
2.1.2. Отборпроб от продукта, упакованного в бочки, мешки и другую транспортную тару, атакже от плит, проводят в следующем порядке:
а) от единицупаковки или плит, попавших в выборку, отбирают точечные пробы;
б) из точечныхпроб составляют объединенную пробу;
в) изобъединенной пробы методом сокращения получают среднюю лабораторную пробу.
2.1.3.Сокращение объединенной пробы жидких продуктов проводят с помощью металлическойворонки, сыпучих - механическими делителями.
2.1.4. Массусредней лабораторной пробы указывают в нормативно-технической документации наконкретный продукт.
Массаобъединенной пробы должна быть не менее удвоенной массы средней лабораторнойпробы.
2.1.5. Среднююлабораторную пробу помещают в герметически закрывающуюся чистую сухуюстеклянную или металлическую банку из некорродирующих и не взаимодействующих спробой материалов или бутылку.
Допускаетсяпомещать среднюю лабораторную пробу сыпучих продуктов в полиэтиленовую банкуили пакет из водонепроницаемого полимерного материала типа полиэтилена. Пакет спробой завязывают, банку или бутылку герметично закрывают крышкой или пробкой.
(Измененнаяредакция, Изм. № 2).
2.1.6. На банку,бутылку или пакет со средней лабораторной пробой наклеивают этикетку суказанием наименования продукта, обозначения нормативно-техническойдокументации, даты отбора пробы и фамилии пробоотборщика. Дополнительно наэтикетки предприятия-потребители указывают наименованиепредприятия-изготовителя и номер партии.
2.1.7. Обработкупроб следует проводить в закрытых, светлых, сухих помещениях, защищенных отпопадания прямых солнечных лучей, вдали от отопительных приборов.
(Введендополнительно, Изм. № 1).
2.1.8. Ручныепробоотборники, емкости для приемки и транспортирования проб (перед отборомпроб) должны быть чистыми и сухими.
(Введенодополнительно, Изм. № 2).
2.2. Аппаратура
2.2.1. Дляотбора проб из потока применяются:
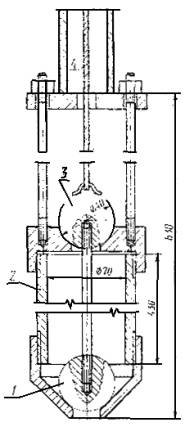
Пробоотборникавтоматический типа АП-2М1 для жидких продуктов (черт. 1).
Пробоотборникмеханический для жидких продуктов (черт. 2).
Пробоотборникмеханический порционный для сыпучих продуктов и продуктов в кусках (черт. 3).
Пробоотборникмеханический порционный для сыпучих продуктов (черт. 4).
Пробоотборник-делительмеханический типа МПД-75 для сыпучих продуктов (черт. 5).
(Измененнаяредакция, Изм. № 1).
2.2.2. Дляотбора проб из транспортных средств, хранилищ, от плит и транспортной тарыприменяются:
Желонкивнутренним диаметром 30 - 35 и 15- 18 мм, длиной,обеспечивающей отбор пробы по всей высоте слоя анализируемого продукта. Желонкаимеет внизу клапан, открывающийся и закрывающийся с помощью рукоятки,расположенной сверху.
Трубкастеклянная диаметром 15 - 18 мм соттянутым концом и длиной, обеспечивающей отбор пробы по всей высоте слояанализируемого продукта.
Бутылка вметаллическом каркасе или банка, имеющие конструкцию, позволяющую отбиратьпробы на любой глубине.
Пробоотборникдля жидкого пека (черт. 5а).
Пробоотборникручной щелевидный диаметром 30 - 35 мм, имеющий цилиндрическую или слегка коническуювнутреннюю полость (черт. 6).
Машинапневматическая сверлильная типа П-1008 или типа ИП-1022 со сверлом диаметром 15 мм.
| Автоматический пробоотборник | Механический пробоотборник для жидких продуктов |
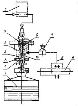
| А, Б - рабочие полости клапанного устройства; 1 - бачок; 2 - пружина; 3 - клапан; 4 - мембрана; 5 - генератор импульсов; 6 - толкатель; 7 - редуктор давления жидкости; 8 - трубка подвода продукта; 9 - трубопровод с продуктом; 10 - седло клапана Черт. 1 | 1 - емкость для пробы; 2 - сливная трубка; 3 - поршень; 4 - трубопровод с продуктом; 5 и 8 - отверстия для слива; 6 - дозирующая емкость; 7 - регулятор; 9 - исполнительный механизм Черт. 2 |
| Механический порционный пробоотборник для сыпучих продуктов и продуктов в кусках | Механический порционный пробоотборник: для сыпучих продуктов |
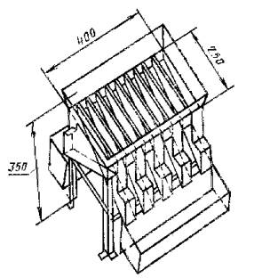
| 1 - корпус; 2 - отбирающий барабан; 3 - секторное углубление; 4 - наклонная стенка бункера; 5 - горловина корпуса; 6 - отводная трубка; 7 - емкость для пробы Черт. 3 | 1 - дозатор; 2 - корпус; 3 - пружина; 4 - электромагнит; 5 - бункер; 6 - емкость для пробы Черт. 4 |
| Механический пробоотборник-делитель типа МПД-75 для сыпучих продуктов | |
| 1 - отводная трубка; 2 - делитель; 3 - корпус; 4 - пробозаборный барабан; 5 - пробозаборный элемент; 6 - транспортирующий шнек. Черт. 5 | |
| Пробоотборник для жидкого пека | Ручной щелевидный пробоотборник для сыпучих продуктов |
| 1 - нижний клапан; 2 - корпус; 3 - верхний клапан; 4 - трос Черт. 5а | Черт. 6 |
(Измененнаяредакция, Изм. № 1).
2.2.3. Длясокращения проб применяются:
воронка металлическаядиаметром 150 - 200 мм с двумя стеблями;
делитель типаДМП-1 или ДМП-2 (черт. 7);делитель Джонса (черт. 8).
2.2.4.Допускается применять ручное сокращение проб, а также по согласованию спотребителем использовать аппаратуру другой конструкции, обеспечивающую отборпредставительных проб и их сокращение.
При разногласияхв оценке качества продукции отбор и подготовку проб проводят пробоотборниками иделителями, предусмотренными настоящим стандартом.
(Измененнаяредакция, Изм. № 2).
2.2.5. Деталиаппаратуры, имеющие непосредственный контакт с пробой жидких продуктов, должныбыть изготовлены из некорродирующих и не взаимодействующих с пробой материалов(латуни и бронзы любых марок, стали марки 1Х18Н9Т и других аналогичныхматериалов).
(Введендополнительно, Изм. № 1).
2.3. Отбор пробжидких продуктов
2.3.1. Пробычистых бензольных, пиридиновых и других гомогенных невязких продуктов из потокапри погрузке и выгрузке транспортных средств, а также при заполнении хранилищотбирают автоматическим пробоотборником типа АП-2М1.
После заполненияхранилища работники отдела технического контроля пломбируют задвижку на линииподачи продукта в него. Срок хранения продукта в хранилище недолжен превышать 15 суток.
Во времяперекачки продукта потребителю из хранилища по трубопроводу не допускаетсядополнительное поступление продукта в хранилище.
(Измененнаяредакция, Изм. № 2).
2.3.2. Пробы изхранилища отбирают бутылкой в металлическом каркасе или банкой. Пробы отбираютиз верхнего, среднего и нижнего слоев по одной порции.
2.3.3. Пробыкаменноугольной смолы, масел, жидкого плавленого нафталина, а также другихрасслаивающихся и кристаллизующихся продуктов из потока отбирают механическимпробоотборником.
2.3.4. Пробу изцистерны (битумовоза) отбирают желонкой внутренним диаметром 30 -35 мм или другими ручными пробоотборниками.
Желонку(пробоотборник) перед отбором пробы споласкивают продуктом или выдерживают внем 5 - 10 мин.
Желонку соткрытым клапаном медленно погружают до дна цистерны (битумовоза), затем клапанзакрывают и желонку извлекают.
Пробоотборникомдля жидкого пека пробы отбирают от нижнего, среднего и верхнего слоев пека,загруженного в транспортное средство.
| Делитель типа ДМП-1 или типа ДМП-2 | Делитель Джонса |
| 1 - включатель; 2 - делитель; 3 - усреднитель; 4 - держатель; 5 - штанга; 6 - отсекатель; 7 - диафрагма; 8 - электродвигатель Черт. 7 | Черт. 8 |
Изготовителю жидкогопека допускается отбирать пробу любым пробоотборником только от верхнего слояпродукта сразу же после его загрузки в транспортное средство.
(Измененнаяредакция, Изм. № 2).
2.3.5. Пробы избочек и другой транспортной тары отбирают стеклянной трубкой. Трубку, открытуюс обеих концов, медленно погружают до дна тары оттянутым концом вниз, затемзакрывают верхнее отверстие и трубку извлекают.
Пробы темныхпродуктов допускается отбирать желонкой диаметром 15- 18 мм.
От каждой бочки,включенной в выборку, отбирают одну пробу.
2.4. Отбор проб сыпучих продуктов
2.4.1. Пробысульфата аммония, гранулированного пека и других сыпучих продуктов из потокапри погрузке или выгрузке продукта, отбирают механическими порционнымипробоотборниками,а также механическим пробоотборником-делителем илиручными пробоотборниками, обеспечивающимиполное пересечение потока в местах перепада, через равные интервалы времени втечение всего периода погрузки или выгрузки продукта.
2.4.2. Пробы изштабеля и от полностью загруженного открытого вагона отбирают ручным щелевиднымпробоотборником по схеме, указанной на черт. 9.
о - точки отбора
Черт.9
2.4.3. Из мешковотбирают по две пробы ручным щелевидным пробоотборником, погружая его на 3/4глубины мешка, по схеме, указанной на черт. 10.
Черт.10
2.4.4. Пробы сульфата аммония допускается отбирать по ГОСТ 21560.0-82.
2.5. Отбор проб продуктов в кусках
2.5.1. Пробыдробленого нафталина и других продуктов в кусках отбирают из потокамеханическим пробоотборником.
2.5.2. Пробы из мешковотбирают вручную совком из двух мест верхнего слоя мешка. Размер совка долженбыть примерно в два раза больше максимального размера куска.
2.6. Отбор проб продуктов в плитах
2.6.1. Пробы кристаллическогои прессованного нафталина отбирают пневматической сверлильной машиной илиручной дрелью, высверливая одно отверстие в бруске на глубину 50 мм в боковойграни плиты по радиусу или по большей оси симметрии (в зависимости от формы) доее середины.
2.6.2. Пробусобирают в плоский приемный совок, расположенный под сверлом пробоотборника.
3.1. При выполнении работ по отбору проб должны соблюдатьсятребования, предусмотренные ГОСТ 12.1.007-76 и правилами безопасности в коксохимической промышленности,утвержденными в установленном порядке.
3.2. Содержание вредных веществ в воздухе рабочей зоны не должно превышать предельнодопустимых концентраций (ПДК).
Контроль законцентрацией вредных веществ проводят по методикам, разработанным всоответствии с ГОСТ12.1.016-79.
3.3. При ручномопробовании взрывоопасных, пожароопасных и токсичных химических продуктовкоксования контролер отбирает пробы в присутствии представителя цехапроизводимой продукции.
3.4. При отборепроб контролер должен стоять боком к ветру в целях предотвращения вдыханияпаров вредных продуктов.
3.5. В местахотбора проб должны быть установлены светильники во взрывозащищенном исполнении.
Отбор проблегковоспламеняющихся жидкостей проводят в специальной одежде и обуви,изготовленных из материалов, не накапливающих статическое электричество, всоответствии с требованиями ГОСТ12.4.124-83.
3.7. Запрещаетсяотбирать пробы химических продуктов коксования на открытом воздухе во времягрозы, сильных атмосферных осадков и бури.
3.8. Для очисткипосуды от остатков проб пека, смолы и ее продуктов используют поглотительноеили соляровое масло.
Для удаленияостатков проб пиридиновых оснований из посуды применяют раствор хлористогоцинка или слабый раствор соляной кислоты.
Разд. 3. (Введен дополнительно, Изм. № 2).
1.РАЗРАБОТАН И ВНЕСЕН Министерством черной металлургии СССР
РАЗРАБОТЧИКИ
Л.И. Еркин, Т.А.Корейская, В.В. Скороход, Л.А. Коган, Л.В. Аввакумова, Н.А.Попова, Л.М. Харькина, К.Р. Дитман, Т.Н. Борисова, А.Ф. Кузниченко
2. УТВЕРЖДЕН ИВВЕДЕН В ДЕЙСТВИЕ Постановлением Государственного комитета СССР по стандартамот 17.04.79 № 1406
3. Срок проверки- 1996 г. Периодичность проверки - 5 лет
4. ВЗАМЕН ГОСТ5445-79
5. ССЫЛОЧНЫЕНОРМАТИВНО ТЕХНИЧЕСКИЕ ДОКУМЕНТЫ
| Обозначение НТД, на который дана ссылка | Номер пункта, подпункта |
| ГОСТ 12.1.007-76 | |
| ГОСТ 12.1.016-79 | |
| ГОСТ 12.4.124-83 | |
| ГОСТ 18321-73 | |
| ГОСТ 21560.0-82 |
6.Ограничение срока действия снято Постановлением Госстандарта СССР от 24.12.91 №2067
7. ПЕРЕИЗДАНИЕ(май 1996 г.) с Изменениями № 1, 2, утвержденными в апреле 1985 г., декабре1991 г. (ИУС 7-85,4-92)
СОДЕРЖАНИЕ
| 3. ТРЕБОВАНИЯ БЕЗОПАСНОСТИ.. 6
|