Настоящий стандарт распространяется на каменноугольный, нефтяной, пековый и сланцевый коксы, антрацит, термоантрацит и искусственный графит и устанавливает метод измерений удельного электрического сопротивления в интервале 10-5 - 10-1 Ом м.
Сущность метода заключается в измерении падения напряжения на участке столбика углеродистого материала с крупностью зерен 0,315 - 0,400 мм, заключенного в матрице между двумя пуансонами под давлением (5,88 ± 0,03) МПа [(60,0 ± 0,3) кгс/см2] при прохождении постоянного тока.
| Обозначение: | ГОСТ 4668-75* |
| Название рус.: | Материалы углеродные. Метод измерения удельного электрического сопротивления порошка |
| Статус: | действующий ПЕРЕИЗДАНИЕ (февраль 1996 г.) с Изменениями № 1, 2, 3, утвержденными в сентябре 1981 г., июле 1986 г., октябре 1991 г. (ИУС 12-81, 11-86, 1-92) |
| Заменяет собой: | ГОСТ 4668-65 |
| Дата актуализации текста: | 01.10.2008 |
| Дата добавления в базу: | 01.02.2009 |
| Дата введения в действие: | 01.01.1977 |
| Разработан: | Министерство цветной металлургии СССР |
| Утвержден: | Госстандарт СССР (27.08.1975) |
| Опубликован: | Издательство стандартов № 1975<br>ИПК Издательство стандартов № 1996 |

ГОСУДАРСТВЕННЫЙ СТАНДАРТ СОЮЗА ССР
МАТЕРИАЛЫ УГЛЕРОДНЫЕ
МЕТОДИЗМЕРЕНИЯ УДЕЛЬНОГО
ЭЛЕКТРИЧЕСКОГО СОПРОТИВЛЕНИЯ ПОРОШКА
ГОСТ 4668-75
ИПКИЗДАТЕЛЬСТВО СТАНДАРТОВ
Москва
ГОСУДАРСТВЕННЫЙ СТАНДАРТ СОЮЗА ССР
| МАТЕРИАЛЫ УГЛЕРОДНЫЕ Метод измерения удельного электрического сопротивления порошка Carbon materials. Method of electrical resistance definition of powder | ГОСТ |
Дата введения 01.01.77
Настоящийстандарт распространяется на каменноугольный, нефтяной, пековый и сланцевыйкоксы, антрацит, термоантрацит и искусственный графит и устанавливает методизмерений удельного электрического сопротивления в интервале 10-5 -10-1 Ом м.
Сущностьметода заключается в измерении падения напряжения на участке столбикауглеродистого материала с крупностью зерен 0,315 - 0,400 мм, заключенного вматрице между двумя пуансонами под давлением (5,88 ± 0,03) МПа [(60,0 ± 0,3)кгс/см2] при прохождении постоянного тока.
(Измененнаяредакция, Изм. № 2).
1.1.Отбор проб - по ГОСТ16799-79 ,ГОСТ23083-78,ГОСТ10742-71.
2.1. Для проведения испытания применяют:
установкуУЭСП-1 (черт. 1),изготовляемую по чертежам Государственного научно-исследовательского институтаэлектродной промышленности (ГосНИИЭП), состоящую из рычажно-винтового пресса,обеспечивающего давление (5,88 ± 0,03) МПа [(60,0 ± 0,3) кгс/см2] иматрицы (черт. 2):
внутреннийдиаметр матрицы (15,96 + 0,07) мм, допускается износ матрицы до размера 16,2мм;
толщинапотенциальных зондов - (1,00 - 0,02) мм;
расстояниемежду потенциальными зондами - (8,00 + 0,02) мм;
источникстабилизированного постоянного тока напряжением не более 36 В, обеспечивающийсилу тока 0,5 А;
амперметрпостоянного тока по ГОСТ 8711-78класса точности не более 1;
милливольтметрпостоянного тока по ГОСТ 8711-78 классаточности не более 0,5 или потенциометр постоянного тока для измерения падениянапряжения по ГОСТ7164-78, ГОСТ9245-79 класса точности не более 0,5;
динамометрсжатия образцовый ДОСМ 3-0,2 по ГОСТ 9500-84;
сеткиполутомпаковые Л 04 К и 0315 К по ГОСТ6613-86;
цилиндр1 - 10 по ГОСТ1770-74 или пробирка по ГОСТ25336-82;
контрольныйстолбик диаметром 15 мм, высотой (18,0 ± 0,05) мм;
удлиненнаяворонка латунная с рассекателем (черт. 3);
ершдля чистки матриц;
нутрометр10 - 18 по ГОСТ9244-75;
секундомермеханический;
электропечьСНОЛ по ОСТ 16.0.801.397-87;
противеньразмером не менее 25×25 см из коррозионно-стойкого материала с бортикамивысотой 5 см.
Примечание. Диапазон измерений электроизмерительных приборов выбираетсяс таким расчетом, чтобы отсчет показаний проводился во второй или последнейтрети шкалы прибора. Допускается применять другие электроизмерительные приборыпри условии обеспечения ими требований настоящего стандарта.
(Измененнаяредакция, Изм. № 1, 2, 3).
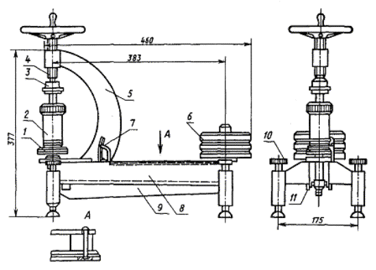
Установка УЭСП-1
1 - шток; 2 - матрица; 3 - центрирующаячашка; 4 - силовой винт; 5 -дугообразный кронштейн; 6- груз; 7- индикатор; 8 - плита; 9 -двуплечий рычаг; 10 - регулировочные винты; 11 - призма
Черт. 1
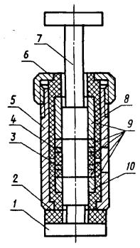
Матрица
1 - нижний пуансон; 2 - изоляционная шайба; 3 -нижний потенциальный зонд; 4 - верхний потенциальный зонд; 5 - корпус; 6 - гайка; 7 - верхнийпуансон; 8 - верхний токовый зонд; 9- изоляционные втулки; 10 - нижний токовый зонд
Черт.2
Воронка
Черт. 3
3.1. Часть общей пробы измельчают до размерачастиц 0 - 3 мм, сокращают методом квартования до 500 г и подсушивают всушильном шкафу при температуре 180 - 190 °С в течение 15 мин. Далее пробурассеивают на ситах № 04 и 0315. Остаток на верхнем сите № 04 измельчают дополного прохождения через сито. Для анализа отбирают 20 - 30 г пробы,оставшейся на сите с сеткой № 0315 и измельченной до размера частиц 0,315 -0,400 мм.
Оставшуюсячасть пробы ссыпают в герметически закрывающуюся банку и хранят в сухом помещениина случай проведения повторных определений удельного электрическогосопротивления.
(Измененнаяредакция, Изм. № 1).
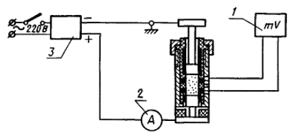
3.2.Собирают принципиальную схему (черт. 4).
Схема измерительной цепи
1 - милливольтметр; 2 - амперметр; 3 - источник питания
Черт. 4
3.3.Поверку установки УЭСП-1 проводят не реже одного раза в год с отметкой вспециальном журнале даты поверки и заключения о пригодности установки кэксплуатации.
3.3.1.При периодической поверке установки УЭСП-1 контролируются следующие параметры:
рабочеедавление, обеспечиваемое прессом; внутренний диаметр матрицы; высотаконтрольного столбика; высота рабочей зоны матрицы.
Разборкаматрицы при поверке не допускается. В полном объеме параметры установкиконтролируются при ее изготовлении.
3.3.2.Рабочее давление контролируется путем измерения усилия, развиваемого прессом, ивнутреннего диаметра матрицы, который увеличивается по мере износа матрицы.
Погрешностьизмерения не должна превышать:
дляусилия сжатия - 0,4 %,
длядиаметра матрицы - 0,05 %.
Высотарабочей зоны определяется при загрузке в матрицу контрольного столбика. Приэтом плоскость верхнего торца матрицы должна находиться в пределах контрольногопояска шириной (1,0 ± 0,5) мм, расположенного на верхнем пуансоне.
(Измененнаяредакция, Изм. № 3).
3.3.3.Все контролируемые параметры должны измеряться не менее десяти раз.Результаты измерений должны соответствовать значениям, указанным в п. 2.1.
3.3.(Измененная редакция, Изм. № 2).
3.3.1- 3.3.3. (Введены дополнительно, Изм. № 2).
4.1.Подготовленную по п. 3.1 пробу испытуемого углеродистого материала из мерногоцилиндра с помощью специальной воронки загружают равномерной струйкой в течении15 - 30 с в матрицу со вставленным нижним пуансоном. Встряхивание ипостукивание не допускаются.
Объемиспытуемого материала подбирают индивидуально таким образом, чтобы высотаспрессованного в матрице столбика составляла (18,0 ± 1,0) мм.
Рекомендуемыйобъем материала для испытания:
термоантрацита- (4,0 ± 0,1) см;
каменноугольногои пекового кокса - (4,3 ± 0,1) см3;
искусственногографита - (4,6 ±0,1) см3;
нефтяногококса - (4,5 ±0,1) см3;
сланцевогококса - (4,7 ± 0,1) см;
антрацита- (4,6 ± 0,1) см.
(Измененнаяредакция, Изм. № 2).
4.2.В матрицу с материалом вставляютверхний пуансон и устанавливают ее на шток без встряхивания и утрамбовывания. Наголовку верхнего пуансона надевают центрирующую чашку нагрузочного винта ивращением рукоятки уплотняют материал в матрице.
Моментнагружения определяют по индикатору. В нагруженном состоянии плоскость верхнеготорца матрицы должна находиться в пределах контрольного пояска на верхнемпуансоне.
4.3.По истечении 20 - 60 с после наложения давления потенциальные зонды подключаютк измерительной цепи (см. черт. 4). Пропускают ток не более 0,5 А и отсчитывают помилливольтметру падение напряжения.
(Измененнаяредакция, Изм. № 3).
4.4. Выключают установку. Удаляют из матрицы испытуемый материал ипрочищают ее ершом.
5.1.Удельное электрическое сопротивление (ρ) Ом м вычисляют по формуле
![]()
где U -падение напряжения, В;
I- сила тока, А;
S -сечение матрицы, м ;
l- расстояние между потенциальными зондами, м.
Приразмерах матрицы, приведенных в п. 2.1, и измерении напряжения вмилливольтах и пропускании тока силой 0,5 А формула примет вид:
ρ= U· 50 · 10-6.
5.2.Для подсчета удельного электрического сопротивления производят два измерения.
Допускаемыеотклонения отдельных измерений (ρ · 106) в Ом·м от среднего не должныпревышать:
Удельное электрическое Допускаемыерасхождения
сопротивление
100........................................................................................... ±3
500........................................................................................... ±10
700........................................................................................... ±13
1000......................................................................................... ±20
1500......................................................................................... ±35
20000....................................................................................... ±1000.
Приполучении результатов с расхождениями, превышающими допускаемые, производят третьеизмерение. За окончательный результат принимают среднее арифметическоерезультатов трех измерений.
(Измененнаяредакция, Изм. № 2).
ИНФОРМАЦИОННЫЕ ДАННЫЕ
1.РАЗРАБОТАН И ВНЕСЕН Министерством цветной металлургии СССР
РАЗРАБОТЧИКИ
И.Ф.Сухорукое, канд. техн. наук (руководитель темы, директор ГосНИИЭП); М.С.Горпиненко, канд. техн. наук (руководитель темы); А.К. Панов, А.А. Попова
2.УТВЕРЖДЕН И ВВЕДЕН В ДЕЙСТВИЕ Постановлением Государственного комитетастандартов Совета Министров СССР от 27.08.75 № 2269
3.ВЗАМЕН ГОСТ 4668-65
4.ССЫЛОЧНЫЕ НОРМАТИВНО-ТЕХНИЧЕСКИЕ ДОКУМЕНТЫ
| Обозначение НТД, на который дана ссылка | Номер пункта, подпункта |
| ГОСТ 1770-74 | |
| ГОСТ 6613-86 | |
| ГОСТ 7164-78 | |
| ГОСТ 8711-93 | |
| ГОСТ 9244-75 | |
| ГОСТ 9245-79 | |
| ГОСТ 9500-84 | |
| ГОСТ 10742-71 | |
| ГОСТ 16799-79 | |
| ГОСТ 23083-78 | |
| ГОСТ 25336-82 | |
| ОСТ 16.0.801.397-87 |
5.Ограничение срока действия снято Постановлением Госстандарта от 03.10.91 № 1588
6.ПЕРЕИЗДАНИЕ (февраль 1996 г.) сИзменениями № 1, 2, 3, утвержденными в сентябре 1981 г., июле 1986 г., октябре1991 г. (ИУС 12-81,11-86, 1-92)
СОДЕРЖАНИЕ