Меню
Навигация
Бесплатное обучение по программе А
Первая линия

ГОСТ 4069-69* «Огнеупоры и огнеупорное сырье. Методы определения огнеупорности»

Настоящий стандарт распространяется на огнеупоры и огнеупорное сырье и устанавливает методы определения огнеупорности в пределах 1580 °С - 2000 °С: метод пирометрических конусов и инструментальный метод.

Обозначение: ГОСТ 4069-69*
Название рус.: Огнеупоры и огнеупорное сырье. Методы определения огнеупорности
Статус: действующий
Заменяет собой: ГОСТ 4069-48
Дата актуализации текста: 01.10.2008
Дата добавления в базу: 01.02.2009
Дата введения в действие: 01.01.1970
Разработан: Министерство металлургии СССР
Утвержден: Госстандарт СССР (23.05.1969)
Опубликован: Издательство стандартов № 1988<br>ИПК Издательство стандартов № 2004

НАЦИОНАЛЬНЫЕ СТАНДАРТЫ

ИЗДЕЛИЯ ОГНЕУПОРНЫЕ

МЕТОДЫИСПЫТАНИЙ

Часть 1

ОГНЕУПОРЫ И ОГНЕУПОРНОЕСЫРЬЕ

Методыопределения огнеупорности

ГОСТ 4069-69

2004

ОТИЗДАТЕЛЬСТВА

Сборник«Изделия огнеупорные. Методы испытаний. Часть 1» содержит стандарты,утвержденные до 1 мая 2004 г.

Встандарты внесены изменения, принятые до указанного срока.

Текущаяинформация о вновь утвержденных и пересмотренных стандартах, а также о принятыхк ним изменениях публикуется в ежемесячном информационном указателе«Национальные стандарты».

МЕЖГОСУДАРСТВЕННЫЙСТАНДАРТ

ОГНЕУПОРЫ И ОГНЕУПОРНОЕ СЫРЬЕ

Методы определения огнеупорности

Refractories and refractory raw materials.
Methods of refractoriness determination

ГОСТ
4069-69

Дата введения 01.01.70

Настоящийстандарт распространяется на огнеупоры и огнеупорное сырье и устанавливаетметоды определения огнеупорности в пределах 1580 °С - 2000 °С: методпирометрических конусов и инструментальный метод.

Огнеупорностьюназывается свойство материала противостоять, не расплавляясь, воздействию высокихтемператур.

Методпирометрических конусов заключается в сравнении температур падения конусов,изготовленных из испытуемого материала, и пироскопов керамических(пирометрических конусов).

Инструментальныйметод заключается в измерении температуры падения конусов, изготовленных изиспытуемого материала с помощью термоэлектрических преобразователей ипирометров излучения.

Для обоихметодов температурные условия испытания должны соответствовать требованиямнастоящего стандарта.

Применениеметодов предусматривается в стандартах и технических условиях, устанавливающихтехнические требования на огнеупорные изделия, огнеупоры неформованные иогнеупорное сырье.

Поясненияк терминам, применяемым в настоящем стандарте, приведены в приложении .

(Измененнаяредакция, Изм. № 2).

1.МЕТОД ПИРОМЕТРИЧЕСКИХ КОНУСОВ

1.1. Аппаратура, материалы

Электрическаяпечь сопротивления с жаровой трубой внутренним диаметром от 60 до 80 мм, смеханическим приспособлением для введения и извлечения подставки с конусом.Конструкция печи должна обеспечивать воздушную атмосферу во время испытания,равномерность нагрева конусов в зоне наивысшей температуры на высоту не менее100 мм и перепад температуры в пределах зоны не выше 10 °С. Печь может бытьоборудована вращающейся подставкой для конусов, частота вращения около 0,05 с-1(3 об/мин).

Допускаетсяприменение печей с другим способом нагрева, если они обеспечивают условияиспытания, предусмотренные настоящим стандартом.

Устройстводля плавного регулирования напряжения на печь.

Пирометрвизуальный по ГОСТ8335 с основной погрешностью измерения температуры, не превышающей ± 20 °Св диапазоне до 2000 °С, или другой пирометр, с погрешностью не более указанной.

Наборпирометрических конусов малого формата по ГОСТ 21739.

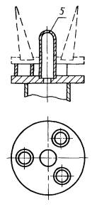
Подставкаогнеупорная, форма и размеры которой должны соответствовать указанным на черт. 1.Материал подставки не должен реагировать во время испытания с материаломконусов.

Мертельогнеупорный для закрепления конусов на подставке.

Формадля изготовления испытуемых конусов.

Подставкаогнеупорная для определения огнеупорности методом пирометрических конусов

Черт.1

Шаблондля контроля угла наклона конусов к плоскости подставки. Приспособление длянаблюдения за падением конусов.

(Измененнаяредакция, Изм. № 1, 2).

2.ПОДГОТОВКА К ИСПЫТАНИЮ

2.1. Отбор и приготовление проб проводят по ГОСТ 2642.0 . Пробуизмельчают до прохождения без остатка через сетку № 02 по ГОСТ 6613 .

Если приизмельчении проба будет загрязнена металлическими частицами, их следует удалитьмагнитом. Если проба сама содержит магнитные частицы, обработка ее магнитомнедопустима. В этих случаях следует выбрать такой способ измельчения, прикотором по возможности проба не загрязняется.

Испытуемыематериалы, дающие большую усадку или рост при обжиге или содержащие большоеколичество выгорающих примесей или карбонатов, должны быть прокалены присоответствующей температуре. Необходимость прокаливания материала выявляютпосле проведения предварительного испытания.

2.2. От измельченной пробы квартованием отбирают 10 -15 г материала, смешивают с водой, а в случае тощего материала с растворомдекстрина (ГОСТ 6034) илидругой органической клеящей добавкой (крахмалом и т.п.). Из увлажненной пробыформуют испытуемые конусы и затем подсушивают их. Форма и размеры испытуемыхконусов должны соответствовать пирометрическимконусам малого формата, т.е. представлять собой треугольную усеченную пирамидувысотой 30 мм со стороной нижнего основания 8 мм и верхнего основания 2 мм.

2.3. Испытуемые пирометрические конусыустанавливают на свежесформованную подставку в специально выполненные приформовании гнездышки и закрепляют их.

Допускаетсяприменение высушенных или обожженных подставок. В этом случае конусы укрепляютв гнездышках подставки при помощи огнеупорного мертеля, который во времяиспытания заметно не реагирует с конусами и подставкой.

Конусыставят на подставку так, чтобы их короткие ребра были обращены наружу или кцентру в зависимости от типа подставки. Наклон короткого ребра к плоскостиподставки должен составлять 82° ± 1°.

Правильностьнаклона проверяют шаблоном.

(Измененнаяредакция, Изм. № 1, 2).

2.4. Подставку с конусами, подготовленную к испытанию,следует высушить при температуре 110°С - 135°С.

(Измененнаяредакция, Изм. № 2).

3.ПРОВЕДЕНИЕ ИСПЫТАНИЯ

3.1. Для определения огнеупорности следуетустанавливать два конуса из одного и того же испытуемого материала и не менеечетырех пирометрических конусов, равномерно распределенных

повсему периметру подставки, при этом испытуемые конуса должны быть установленыдруг против друга в диаметральном положении между двумя пирометрическимиконусами. Пирометрические конуса выбирают так, чтобы огнеупорность испытуемогоконуса была ниже самого высокого из установленных пирометрических конусов ивыше или такая же, как самого низкого пирометрического конуса.

Сцелью соблюдения этих условий рекомендуется провести предварительное испытание,применяя минимально необходимое число пирометрических конусов.

(Измененнаяредакция, Изм. № 1).

3.2. При приемке систематически выпускаемойоднородной продукции разрешается устанавливать на подставку до четырехиспытуемых конусов, имеющих близкую огнеупорность (по одному конусу от каждойпартии), и не менее двух пирометрических конусов, близких к ожидаемойогнеупорности.

(Измененнаяредакция, Изм. № 2).

3.3. Подставку вместе с установленными конусамимедленно вводят в печь в зону испытания. Температура в зоне испытания в этотмомент должна быть не выше 1000°С. Скорость подъема температуры в печи до 1000°С не регламентируется. В интервале от 1000 °С до 1500 °С она должна быть 10 -15 °С/мин, апри температуре свыше 1500 °С 2,5 - 5 °С/мин.

Интервалмежду падением двух конусов соседних номеров должен составлять 5 - 8 мин.

Скоростьнагрева следует контролировать при помощи оптического пирометра. Деформациявсех пирометрических конусов на подставке должна проходить одинаково черезболее короткое боковое ребро.

Когдавершина обоих испытуемых конусов коснется подставки, печь следует немедленновыключить. Затем подставку с пироскопами постепенно опускают и извлекают изпечи.

(Измененная редакция, Изм. №1, 2).

4.ОЦЕНКА РЕЗУЛЬТАТОВ ИСПЫТАНИЯ

4.1. Огнеупорность испытуемых конусов из одного и тогоже материала обозначают номером того пирометрического конуса, с которым ониодновременно упали (коснулись вершиной поверхности подставки).

Припадении испытуемых конусов в промежутке между падением двух пирометрическихконусов огнеупорность обозначают номерами последних, например ПК 169 - ПК 171.

Еслипадение одного из двух испытуемых конусов из одного и того же материалапроисходит немного раньше пирометрического конуса, а падение другогоиспытуемого конуса непосредственно после него в то время, когда последующийномер пирометрического конуса своей вершиной еще не коснулся подставки, тотемпература падения испытуемых конусов обозначается номером пирометрическогоконуса, коснувшегося подставки.

4.2. Испытание считается недействительным идолжно быть повторено:

-если разница в падении двух испытуемых конусов из одного и того же материаларавна или больше температур интервала между падением соседних пирометрическихконусов;

-если даже один из испытуемых или пирометрических конусов наклонился ненормально(оплавление вершины корольком, более сильное оплавление ребер у нижнегооснования, чем у верхнего, падение конусов не во все стороны, а только в одномнаправлении и т.п.);

- есливынутые из печи пирометрические конуса имеют потемнение (науглероживание).Вторичное применение не упавших при испытании конусов не допускается.

В случаепрекращения по каким-либо причинам испытания после достижения температуры 1300 °Свозобновление испытания стоявшей в печи подставки с конусами не допускается.

(Измененнаяредакция, Изм. № 1).

4.3. Запись результатов испытаний проводят по форме,указанной в приложении 1. Огнеупорность испытуемых конусов указывают вномерах пирометрических конусов и в скобках в градусах Цельсия по шкале,приведенной в ГОСТ 21739, например ПК 169 - ПК 171 (1690 °С - 1710°С).

4.4. При повторных испытаниях в одной лабораториииспытуемых конусов из одной и той же лабораторной пробы разница в результатахне должна превышать половины температурного интервала между падением двухсоседних пирометрических конусов, а в разных лабораториях - температурногоинтервала между падением двух соседних пирометрических конусов. При повторныхиспытаниях должны использоваться подставки одной и той же формы и размеров.

(Измененная редакция, Изм. №1).

5.ИНСТРУМЕНТАЛЬНЫЙ МЕТОД

5.1. Аппаратура, материалы

Печь длянагрева, шаблон для контроля угла наклона конусов, приспособление длянаблюдения за падением конусов, мертель для закрепления конусов на подставке всоответствии с п. 1.1, устройство для регулирования температурногорежима, шаблон для контроля вертикальности модели «черное тело».

Термоэлектрическийпреобразователь типа ТПР со статической характеристикой по нормативномудокументу, градуировки ПР (В).

Пирометрвизуальный с основной погрешностью, не превышающей ± 20 °С в диапазонеизмеряемых температур 1700 °С - 2000 °С, или другой пирометр с погрешностью, неболее указанной.

Автоматическийпотенциометр следящего уравновешивания, предназначенный для работы в комплекте стермоэлектрическими преобразователями, со статической характеристикой по ГОСТ3044, с пределами измерений от 1000 °С до 1800 °С класса05.

Автоматическийпотенциометр следящего уравновешивания с основной погрешностью не более ± 0,5%, предназначенный для работы в комплекте с пирометром излучения сградуировкой, соответствующей градуировке пирометра излучения.

Подставкаогнеупорная под конуса по п. 1.1. Форма и размеры подставки должнысоответствовать указанным на черт. 2.

Модель«черное тело» - корундовый чехол с внутренним диаметром 10 - 12 мм, наружным 12- 14 мм, длиной 50 - 60 мм с массовой долей Аl2О3 не менее 99 % по ТУ14-8-190.

Подставкакорундовая под модель «черное тело» (черт. 3) с массовой долей Аl2О3не менее 99 %.

Опорныекорундовые кольца внутренним диаметром 8 - 10 мм, наружным 10 - 12 мм, высотой15 - 20 мм и массовой долей Аl2О3не менее 99 % по ТУ 14-8-190.

Опорнаякорундовая трубка внутренним диаметром 10 - 12 мм, наружным 12 - 14 мм, длиной35 - 55 мм и массовой долей Аl2О3не менее 99 % по ТУ 14-8-190.

5.2. Подготовка к испытанию

5.2.1. Отбор, подготовка проб, изготовление конусов ивысушивание подставки с конусами по пп. 2.1, 2.2, 2.4.

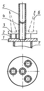
5.2.2. При определении огнеупорности с применениемпирометров излучения на подставку устанавливают модель «черное тело», какуказано на черт. 4. «Черное тело» закрепляют к подставке (черт. 3)мертелем и высушивают в сушильном шкафу при температуре (110 ± 5) °С неменее 1 ч. При задымленности печного пространства следует пользоваться схемойприспособления, указанной на черт. 4(измерение температуры снизу).

С помощью термоэлектрическогопреобразователя

С помощью пирометра излучения

Черт. 2

Черт.3

Измерение температуры сверху

Измерение температуры снизу

1 - подставка под модель «черное тело»; 2 -опорные кольца; 3 - подставка с испытуемыми конусами; 4 - опорнаякорундовая трубка; 5 - модель «черное тело»; 6 - испытуемыеконусы; 7 - огнеупорная труба механического приспособления печи

Черт.4

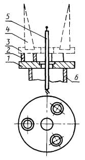
1 - подставка огнеупорная; 2 - опорные кольца; 3- подставка с испытуемыми конусами; 4 - испытуемые конусы; 5 -термоэлектрический преобразователь; 6 - огнеупорная труба механическогоприспособления печи

Черт.5

Допускаетсяиное размещение модели «черное тело» на подставке, обеспечивающее визированиепирометра на дно модели «черное тело».

5.2.3. Собирают оптическую схему измерениятемпературы так, чтобы оптическая система пирометра визировалась на дно модели«черное тело».

5.2.4. При определении огнеупорности спомощью термопреобразователя в механическом приспособлении печи, для введения иизвлечения подставки с конусами устанавливают и закрепляют термопреобразователь(черт. 5).

5.3. Проведение испытаний

5.3.1. На подставку устанавливают не менее двух конусовиз одного и того же испытуемого материала.

Приприемке систематически выпускаемой однородной продукции допускаетсяустанавливать на подставку до четырех испытуемых конусов - по одному конусу откаждой партии.

5.3.2. Подставку с установленными на нее конусамипомещают на механическое приспособление печи (черт. 4, 5).

Приопределении огнеупорности с помощью термоэлектрического преобразователяположение его регулируют так, чтобы рабочий спай находился на середине высотыконусов (черт. 5).

Приопределении с помощью пирометра излучения дно модели «черное тело» должнонаходиться на середине высоты конусов с отклонением не более ± 3 мм (черт. 4).

Пирометрвизируют на дно модели «черное тело» так, чтобы при вращении подставки в печидно модели «черное тело» не выходило из поля зрения пирометра.

5.3.3. Подставку с конусами вводят в печь инагревают по режиму, приведенному в п. 3.3.

5.3.4. Во время нагревания наблюдают заповедением конусов. Температура регистрируется автоматическим потенциометром.После того, как оба испытуемых конуса упали, печь выключают. Подставку с конусами выводят из зонынаивысшей температуры. Подставку с конусами извлекают из печи.

5.3.5. Деформация всех конусов при испытаниидолжна проходить в соответствии с п. 3.3.

5.4.Оценка результатов испытания

5.4.1. Огнеупорность выражается температурой,зарегистрированной на диаграммной ленте потенциометра в момент, когда обаиспытуемых конуса коснулись подставки. При измерении температуры с помощьюпирометра излучения с использованием в оптической системе призмы полноговнутреннего отражения, к показаниям потенциометра вводится поправка на величинупогрешности, вносимой призмой полного внутреннего отражения.

5.4.2. Результатом определения огнеупорности являетсязначение температуры, измеренной потенциометром с округлением до десятковградусов.

5.4.3. Инструментальная погрешность измерений температурыпадения конусов не превышает ± 20 °С до температуры 1770 °С и ± 30°С в интервале температур от 1770 °С до 2000 °С.

5.5. В случае возникновения разногласий в результатахопределения огнеупорности различными методами, оценку качества проводятметодом, применяемым при приемке продукции.

6.ТРЕБОВАНИЯ БЕЗОПАСНОСТИ

6.1. Электропечь, применяемая для испытаний, должнасоответствовать ГОСТ 12.2.007.9 иправилам устройств электроустановок.

6.2. Эксплуатация электроустановок и электроприборовдолжна осуществляться в соответствии с требованиями ГОСТ 12.1.019 .

6.3. Помещение, в котором проводятся испытания, должнобыть оборудовано вентиляцией в соответствии с ГОСТ 12.4.021 .

Разд. 5, 6. (Введены дополнительно,Изм. № 2).

ПРИЛОЖЕНИЕ1

ФОРМА ЗАПИСИРЕЗУЛЬТАТОВ ОПРЕДЕЛЕНИЯ ОГНЕУПОРНОСТИ. ОПРЕДЕЛЕНИЕ ОГНЕУПОРНОСТИ МЕТОДОМПИРОМЕТРИЧЕСКИХ КОНУСОВ

Испытание №___________________________Дата_____________________20________г.

Печь__________________________________________________________(система печи)

Пироскопы _________________________________________________(кем изготовлены)

Наименование испытуемого материала_________________________________________

предприятие, изделие, номер чертежа и т.д.

_________________________________________________________________________________________________________________

Время

Продолжительность испытания от начала

Нагрев печи

Примечание

Электрический режим

Температура в процессе испытания, °С

ч

мин

ч

мин

В

А

Результаты испытания:

Образец №_____________________________ПК___________________________( °С)

Образец №_____________________________ПК___________________________( °С)

Образец №_____________________________ПК___________________________( °С)

Образец №_____________________________ПК___________________________( °С)

Испытание проводил _____________________________

подпись

Примечания:

1. Результаты наблюдения следует записывать не режечем через 10 мин, а с начала размягчения пироскопов не реже чем через 5 мин.

2. В графе «Примечание» дают описание характера ипоследовательности падения испытуемых пироскопов.

ПРИЛОЖЕНИЕ 1a

Справочное

ПОЯСНЕНИЯК ТЕРМИНАМ, ПРИМЕНЯЕМЫМ В СТАНДАРТЕ

Термин

Пояснение

Модель «черное тело»

Искусственная замкнутая полость, внутри которой поглощается вся энергия, излучаемая отдельными частями полости

Королек

Небольшая, близкая по форме к шаровидной, застывшая капля оплавившейся вершины пироскопа керамического или испытуемого конуса

ПРИЛОЖЕНИЕ 2

Рекомендуемое

ФОРМА ЗАПИСИРЕЗУЛЬТАТОВ ОГНЕУПОРНОСТИ. ОПРЕДЕЛЕНИЕ ОГНЕУПОРНОСТИ ИНСТРУМЕНТАЛЬНЫМ МЕТОДОМ

Дата испытания

Наименование и марка изделия, материала, сырья

Номер партии

Номер образца

Время, ч, мин

Температура, °С

Скорость подъема температуры, °С

Примечание

 

 

 

 

 

 

 

 

Результаты испытания:

Образец №

Образец №

Огнеупорность, °С (температура падения конуса)

Примечание. Допускается вместо ведения формы записи приложитьдиаграмму температурного режима с записью результатов определения огнеупорностив °С.

ПРИЛОЖЕНИЯ1a, 2. (Введены дополнительно, Изм. № 2).

ИНФОРМАЦИОННЫЕ ДАННЫЕ

1.РАЗРАБОТАН И ВНЕСЕН Министерствомметаллургии СССР

2.УТВЕРЖДЕН И ВВЕДЕН В ДЕЙСТВИЕПостановлением Комитета стандартов, мер и измерительных приборов при СоветеМинистров СССР от 23.05.69 № 599

3.ВЗАМЕН ГОСТ 4069-48

4. ССЫЛОЧНЫЕНОРМАТИВНО-ТЕХНИЧЕСКИЕ ДОКУМЕНТЫ

Обозначение НТД, на который дана ссылка

Номер пункта

ГОСТ 12.1.019-79

6.2

ГОСТ 12.2.007.9-93

6.1

ГОСТ 12.4.021-75

6.3

ГОСТ 2642.0-86

2.1

ГОСТ 6034-74

2.2

ГОСТ 6613-86

2.1

ГОСТ 8335-96

1.1

ГОСТ 21739-76

1.1, 4.3

ТУ 14-8-190-91

5.1

5. ИЗДАНИЕ с Изменениями № 1, 2, утвержденными в декабре 1980 г., марте1992 г. (ИУС 3-81, 6-92)

СОДЕРЖАНИЕ

1. Метод пирометрических конусов. 1

2. Подготовка к испытанию.. 2

3. Проведение испытания. 3

4. Оценка результатов испытания. 4

5. Инструментальный метод. 4

6. Требования безопасности. 8

Приложение 1 Форма записи результатов определения огнеупорности. Определение огнеупорности методом пирометрических конусов. 8

Приложение 1a Пояснения к терминам, применяемым в стандарте. 9

Приложение 2 Форма записи результатов огнеупорности. Определение огнеупорности инструментальным методом.. 9