Стандарт распространяется на техническую окись хрома, предназначаемую для металлургической и лакокрасочной промышленности, производства строительных материалов, а также для полировальных процессов в часовой, приборостроительной, машиностроительной и других отраслях промышленности.
Стандарт устанавливает требования к технической окиси хрома, изготовляемой для нужд народного хозяйства и для поставки на экспорт.
| Обозначение: | ГОСТ 2912-79* |
| Название рус.: | Хрома окись техническая. Технические условия |
| Статус: | действующий |
| Заменяет собой: | ГОСТ 2912-73 |
| Дата актуализации текста: | 01.10.2008 |
| Дата добавления в базу: | 01.02.2009 |
| Дата введения в действие: | 01.01.1980 |
| Разработан: | Министерство химической промышленности СССР |
| Утвержден: | Госстандарт СССР (29.01.1979) |
| Опубликован: | Издательство стандартов № 1989 |

ГОСУДАРСТВЕННЫЙ СТАНДАРТ СОЮЗА ССР
ХРОМА ОКИСЬТЕХНИЧЕСКАЯ
ТЕХНИЧЕСКИЕУСЛОВИЯ
ГОСТ 2912-79
ГОСУДАРСТВЕННЫЙКОМИТЕТ СССР ПО СТАНДАРТАМ
Москва
ГОСУДАРСТВЕННЫЙСТАНДАРТ СОЮЗА ССР
| ХРОМА ОКИСЬ ТЕХНИЧЕСКАЯ Технические условия Technical chromium oxide. Specifications | ГОСТ |
Срок действия с01.01.80
до 01.01.95
Несоблюдениестандарта преследуется по закону
Настоящийстандарт распространяется на техническую окись хрома, предназначаемую для металлургическойи лакокрасочной промышленности, производства строительных материалов, а такжедля полировальных процессов в часовой, приборостроительной, машиностроительнойи других отраслях промышленности.
Настоящийстандарт устанавливает требования к технической окиси хрома, изготовляемой длянужд народного хозяйства и для поставки на экспорт.
Формула Cr2O3.
Молекулярнаямасса (по международным атомным массам 1977 г.) - 151,99.
(Измененнаяредакция, Изм. № 1, 3).
1.1. Окись хромадолжна быть изготовлена в соответствии с требованиями настоящего стандарта потехнологическому регламенту, утвержденному в установленном порядке.
1.2. Взависимости от области применения окись хрома должна выпускаться следующихмарок и сортов:
пигментная -сортов ОХП-1 и ОХП-2;
металлургическая- сортов ОХМ-0 и ОХМ-1;
абразивная -сортов ОХА-0, ОХА-1 и ОХА-2.
Областьприменения марок приведена в рекомендуемом приложении 2.
1.3. По физико-химическимпоказателям окись хрома должна соответствовать нормам, указанным в табл. 1.
Таблица 1
| Норма для марки и сорта | |||||||||||||
| Пигментная | Металлургическая | Абразивная | |||||||||||
| ОХП-1 | ОХП-2 | ОХМ-0 | ОХМ-1 | ОХА-0 | OXA-l | OXA-2 | |||||||
| ОКП 21 2324 0130 | ОКП 21 2324 0140 | ОКП 21 2324 0220 | ОКП 21 2324 0230 | ОКП 21 2324 0320 | ОКП 21 2324 0330 | ОКП 21 2324 0340 | |||||||
| 1. Внешний вид | Порошок зеленого цвета | ||||||||||||
| 2. Массовая доля общего хрома в пересчете на Cr2O3, %, не менее | 99 | 99 | 99 | 98 | 99 | 99 | 98 | ||||||
| 3. Массовая доля влаги, %, не более | 0,15 | 0,15 | 0,10 | 0,15 | 0,15 | 0,15 | 0,15 | ||||||
| 4. Массовая доля веществ, растворимых в воде, %, не более | 0,1 | 0,2 | Не нормируется | 0,2 | 0,2 | 0,5 | |||||||
| 5. рН водного раствора | 6-8 | 6-8 | То же | Не нормируется | |||||||||
| 6. Относительная красящая способность, %, не менее | 105 | 95 | " | То же | |||||||||
| 7. Цвет | В пределах образцов | " | " | ||||||||||
| 8. Укрывистость, г/м2, не более | 12 | 14 | " | " | |||||||||
| 9. Массовая доля общей серы (S), %, не более | Не нормируется | 0,01 | 0,02 | " | |||||||||
| 10. Массовая доля общего железа в пересчете на FeO, %, не более | То же | 0,10 | 0,15 | " | |||||||||
| 11. Массовая доля углерода, %, не более |
| 0,03 | 0,05 | " | |||||||||
| 12. Массовая доля цветных металлов, %, не более | Не нормируется |
|
| ||||||||||
| мышьяка (As) | 0,002 | 0,002 | Не нормируется | ||||||||||
| цинка (Zn) | То же | 0,002 | 0,002 | То же | |||||||||
| сурьмы (Sb) |
| 0,0003 | 0,0003 | " | |||||||||
| висмута (Bi) |
| 0,0003 | 0,0003 | " | |||||||||
| олова (Sn) |
| 0,0003 | 0,0003 | " | |||||||||
| свинца (Рb) |
| 0,0002 | 0,0002 | " | |||||||||
| кадмия (Cd) |
| 0,0003 | 0,0003 | " | |||||||||
| 13. Полирующая способность, мг/мин×см2, не менее | „ | Не нормируется | 0,2 | 0,1 | 0,3 | ||||||||
| 14. Шероховатость поверхности после полировки (параметр Rz - высота неровностей профиля по десяти точкам), мкм, не более |
| То же | 0,100 на базовой длине 0,80 мм | 0,20 на базовой длине 0,25 мм | 0,80 на базовой длине 0,25 мм | ||||||||
| 15. Остаток на сите, %, не более: |
|
|
| He нормируется | |||||||||
| № 0063К | 0,1 | 0,2 | " |
| |||||||||
| 5 мм | Не нормируется | Отсутствие | He нормируется | Отсутствие | |||||||||
Примечания:
1. Образцы цвета и красящейспособности утверждаются в установленном порядке.
2. В окиси хромамарки «металлургическая» массовая доля общей серы и цветных металлов нормируетсятолько для производства металлического хрома.
1.2, 1.3. (Измененнаяредакция, Изм. № 1, 2, 3).
Предельнодопустимая концентрация окиси хрома в воздухе рабочей зоны - 1 мг/м3.Концентрацию окиси хрома в воздухе рабочей зоны определяют по методике,соответствующей требованиям ГОСТ12.1.016-79 и утвержденной Министерством здравоохранения СССР.
2.2. Окись хромаможет попадать в организм при вдыхании в виде аэрозоля и вызывать острыеотравления. При длительном воздействии на организм окись хрома концентрации,превышающей предельно допустимую, вызывает заболевания органов дыхания,желудочно-кишечного тракта, почек. При попадании на кожу окись хрома вызываетдерматиты, экземы, при попадания на поврежденную кожу - появление язв.
2.3. Производственные и лабораторные помещения, в которыхпроводится работа с окисью хрома, должны быть оснащены приточно-вытяжнойвентиляцией по ГОСТ12.4.021-75 , обеспечивающей состояние воздуха рабочей зоны всоответствии с требованиями ГОСТ 12.1.005-88 . Оборудование и коммуникации должны быть герметизированы.Места, где проводят все операции по обработке проб, должны быть снабженыместной вытяжной вентиляцией.
Работающие сокисью хрома должны быть обеспечены специальной одеждой и средствамииндивидуальной защиты в соответствии с ГОСТ12.4.103-83 и ГОСТ12.4.034-85.
2.4. При погрузке и разгрузке окиси хрома должны соблюдатьсятребования безопасности в соответствии с ГОСТ 12.3.009-76 .
Разд. 2. (Измененнаяредакция, Изм. № 3).
3.1. Окись хромапринимают партиями. Партией считают продукт одной марки и одного сорта,однородный по своим показателям качества, сопровождаемый одним документом окачестве, но не более сменной выработки.
Документ окачестве должен содержать:
наименованиепредприятия-изготовителя и его товарный знак;
наименование,марку и сорт продукта, классификационный шифр группы;
номер партия;
датуизготовления;
массу нетто;
количествоупаковочных единиц, входящих в партию;
обозначениенастоящего стандарта;
результатыпроведенных анализов или подтверждение соответствия качества продуктатребованиям настоящего стандарта.
3.2. Дляконтроля качества окиси хрома, упакованной в барабаны и мешки, от партииотбирают 5% единиц продукции, но не менее двух при партии менее 40 единиц.
Для контролякачества окиси хрома, упакованной в контейнеры, количество единиц продукцииотбирают в зависимости от числа контейнеров в партии: от 2 до 10-2; св. 10 до30-3; св. 30 до 50-4; св. 50-5.
3.1; 3.2. (Измененнаяредакция, Изм. № 1).
3.3. Дляконтроля качества окиси хрома у изготовителя в процессе производства точечные пробыотбирают перед затариванием непрерывно или через равные интервалы времени вколичестве не менее 0,1 кг от каждых 4 т продукта.
(Измененнаяредакция, Изм. № 3).
3.4. Приполучении неудовлетворительных результатов анализа хотя бы по одному изпоказателей по нему проводят повторный анализ на удвоенной выборке от той жепартии.
Результатыповторного анализа распространяются на всю партию.
3.5. Допускаетсяизготовителю норму по показателям 3, 8, 10-12 (табл. 1) определять периодически в каждой двадцатой партии.
3.4, 3.5. (Введеныдополнительно, Изм. № 3).
4.1. Отбор проб
4.1.1. Приотборе проб единицы продукции, отобранные для контроля, должны быть перед вскрытиемтщательно очищены снаружи во избежание засорения продукта (попадание пыли идр.).
4.1.2. Точечныепробы окиси хрома отбирают из любых точек единиц продукции механическимпробоотборником или любым аналогичным средством, погружая его на полную рабочуюдлину.
Масса точечнойпробы должна быть не менее 0,2 кг.
4.1.3.Отобранные точечные пробы соединяют вместе, тщательно перемешивают и получаютобъединенную пробу, из которой методом квартования получают среднюю пробупродукта массой не менее 0,5 кг.
4.1.1-4.1.3. (Измененнаяредакция, Изм. № 1).
4.1.4. Среднююпробу помещают в чистую, сухую, плотно закрывающуюся банку или полиэтиленовыйпакет.
На банку илипакет с пробой наносят следующие обозначения:
наименованиепредприятия-изготовителя, наименование продукта, номер партии, дату отборапробы и надпись "Токсичен".
(Измененнаяредакция, Изм № 3).
4.2. Внешний видокиси, хрома определяют визуально.
4.3. Определение массовой доли общего хрома
4.3.1. Определение массовой доли общего хрома в пересчете на Cr2O3 в продукте марок «пигментная» и «абразивная», а такжемарки «металлургическая», полученной тем же методом, что «пигментная» и«абразивная»
4.3.1.1. Аппаратура, реактивы и растворы
Бюретка по ГОСТ20292-74.
Весылабораторные 2-го и 4-го классов точности по ГОСТ24104-88 с наибольшими пределами взвешивания 200 и 500 г соответственно.
Гири 2-го классаточности по ГОСТ 7328-82.
Мензурки по ГОСТ1770-74.
Пипетки по ГОСТ20292-74.
Цилиндр по ГОСТ1770-74.
Водадистиллированная по ГОСТ 6709-72.
Водородаперекись по ГОСТ 10929-76, свежеприготовленный раствор с массовой долей 2,5%.
Калий двухромовокислыйпо ГОСТ 4220-75 (перекристаллизованный и высушенный при 150°С), растворконцентрации с (1/6К2Cr2O7)=0,15 моль/дм3;готовят по ГОСТ 25794.2-83.
Кислотаортофосфорная по ГОСТ 6552-80.
Кислота сернаяпо ГОСТ 4204-77 плотностью 1,84 г/см3 и раствор, разбавленный 1:1.
Кислота N, N'-фенилантраниловая(индикатор); готовят по ГОСТ 4919.1-77 растворением 0,20 г препарата в 100 см3раствора углекислого натрия.
Натрийуглекислый по ГОСТ 83-79, раствор с массовой долей 0,2%.
Натриягидроокись по ГОСТ 4328-77, раствор с массовой долей 24%.
Соль закисижелеза и аммония двойная сернокислая (соль Мора) по ГОСТ 4208-72, растворконцентрации с [FeSO4×(NH4)2SO4×6H2O]=0,2 моль/дм3; готовят по ГОСТ 25794.2-83.Коэффициент поправки соли Мора устанавливают ежедневно, для чего 50 см3раствора двухромовокислого калия помещают в коническую колбу вместимостью 750см3, добавляют 150 см3 воды, 15 см3 растворасерной кислоты, 5 см3 ортофосфорной кислоты, 1 см3индикатора, доводят объем раствора водой до 300 см3 и титруютраствором соли Мора до перехода фиолетово-вишневой окраски в зеленую.
4.3.1, 4.3.1.1. (Измененнаяредакция, Изм. № 3).
4.3.1.2.Проведение анализа
(0,20±0,01) гокиси хрома взвешивают (результат взвешивания в граммах записывают дочетвертого десятичного знака), помещают в коническую колбу вместимостью 750 см3,прибавляют пипеткой 10 см3 раствора двухромовокислого калия, 10 см3серной кислоты плотностью 1,84 г/см3 и нагревают до заметноговыделения паров серной кислоты. При этом раствор становится прозрачным и ненаблюдается неразложившихся частичек окиси хрома. После охлаждения к растворуприливают 100 см3 воды и в несколько приемов прибавляют 70 см3раствора гидроокиси натрия, 40 см3 раствора перекиси водорода,нагревают и кипятят в течение 20 мин для разложения перекиси водорода. Кохлажденному раствору прибавляют раствор серной кислоты, разбавленной 1:1, дооранжевой окраски и еще избыток той же кислоты в объеме 15 см3.Далее добавляют 5 см3 ортофосфорной кислоты, 1 см3индикатора, доводят объем раствора до 300 см3 водой и титруютраствором соли Мора до перехода фиолетово-вишневой окраски в зеленую.
4.3.1.3. Обработкарезультатов
Массовую долюобщего хрома в пересчете на Cr2O3 (X) в процентах вычисляют по формуле
![]()
где V - объем растворасоли Мора концентрации точно 0,2 моль/дм3, израсходованный натитрование, см3;
V1 - объем раствора соли Мора концентрации точно 0,2 моль/дм3,соответствующий 10 см3 раствора двухромовокислого, калияконцентрации точно 0,15 моль/дм3, см3;
0,005066 - массаокиси хрома, соответствующая 1 см3 раствора соли Мора концентрацииточно 0,2 моль/дм3, г;
m - масса навески, г.
За результатанализа принимают среднее арифметическое результатов двух параллельныхопределений, допускаемые расхождения между которыми не должны превышать 0,3%при доверительной вероятности Р=0,95.
Допускаемаяабсолютная погрешность результата измерения не должна превышать 0,4%.
4.3.1.2,4.3.1.3. (Измененная редакция, Изм. № 1, 3).
4.3.2.Определение массовой доли общего хрома в пересчете на Cr2O3 в продукте марки «металлургическая»
4.3.2.1. Аппаратура, реактивы, и растворы
Бюретка по ГОСТ20292-74.
Весылабораторные 2-го и 4-го классов точности по ГОСТ24104-88 с наибольшими пределами взвешивания 200 и 500 г соответственно.
Гири 2-го классаточности по ГОСТ 7328-82.
Мензурки по ГОСТ1770-74.
Пипетки по ГОСТ20292-74.
Тигельфарфоровый по ГОСТ 9147-80 № 4 или тигель никелевый.
Электропечьлабораторная, обеспечивающая температуру нагрева 750°С.
Водадистиллированная по ГОСТ 6709-72.
Калийдвухромовокислый по ГОСТ 4220-75 (перекристаллизованный и высушенный при150°С), раствор концентрации с (1/6K2Cr2O7)=0,15 моль/дм3; готовят по ГОСТ 25794.2-83.
Калиймарганцовокислый по ГОСТ 20490-75, раствор концентрации с (1/5КMnO4)=0,1 моль/дм3;готовят по ГОСТ 25794.2-83.
Кислота серная поГОСТ 4204-77, раствор, разбавленный 1:1.
Кислота солянаяпо ГОСТ Э118-77, раствор, разбавленный 1:4.
Кислотаортофосфорная по ГОСТ 6552-80.
Кислота N, N'-фенилантраниловая(индикатор), готовят по ГОСТ 4919.1-77 растворением 0,20 г препарата в 100 см3раствора углекислого натрия.
Натрийуглекислый по ГОСТ 83-79, раствор с массовой долей 0,2%.
Натрия перекись.
Соль закисижелеза и аммония двойная сернокислая (соль Мора) по ГОСТ 4208-72, растворконцентрация с [FeSO4×(NH4)2SO4×6H2O]=0,2 моль/дм3; готовят по ГОСТ 25794.2-83.Коэффициент поправки соли Мора устанавливают ежедневно, для чего 50 см3раствора двухромовокислого калия помещают в коническую колбу вместимостью 750см3, добавляют 150 см3 воды, 15 см3 растворасерной кислоты, 5 см3 ортофосфорной кислоты, 1 см3индикатора, доводят объем раствора водой до 300 см3 и титруютраствором соли Мора до перехода фиолетово-вишневой окраски в зеленую.
4.3.2.2. Проведениеанализа
(0,20±0,01) гокиси хрома взвешивают (результат взвешивания в граммах записывают до четвертогодесятичного знака), помещают в фарфоровый или никелевый тигель, в которыйпредварительно помещают 2,0 г окисляющего щелочного плавня.
При работе сфарфоровыми тиглями в качестве плавня используют перекись натрия, при работе сникелевыми тиглями - смесь перекиси натрия и углекислого натрия в соотношении(по массе) 2:1.
Навеску окисихрома осторожно перемешивают с плавнем и засыпают сверху еще 1,0 гсоответствующего плавня. Сплавление начинают в слабо нагретой части муфельнойпечи, постепенно передвигая тигель в центр печи. Через 5-7 мин с моментарасплавления (при 750°С) содержимого тигля нагревание прекращают. Тигельохлаждают, помещают в стакан вместимостью 500 см3 и выщелачиваютводой при нагревании (объем раствора 250 см3). Раствор количественнопереводят в коническую колбу вместимостью 750 см3, нагревают докипения и кипятят в течение 30 мин для разложения образовавшейся перекисиводорода. Полученный раствор (объем 200 см3) охлаждают, прибавляютраствор серной кислоты до оранжевой окраски и избыток той же кислоты 35 см3,2,5 см3 марганцовокислого калия и нагревают до кипения. Затемдобавляют 10 см3 раствора соляной кислоты, кипятят до исчезновениярозовой окраски раствора и еще 5 мин. Раствор охлаждают, добавляют 25 см3раствора серной кислоты, 5 см3 ортофосфорной кислоты, 1 см3индикатора, доводят объем до 300 см3 водой и титруют раствором солиМора до перехода фиолетово-вишневой окраски раствора в зеленую.
4.3.2.3. Обработкарезультатов
Массовую долюобщего хрома в пересчете на Cr2O3 (X1) в процентахвычисляют по формуле
![]()
где V - объемраствора соли Мора концентрации точно 0,2 моль/дм3, израсходованныйна титрование, см3;
0,005066 - массаокиси хрома, соответствующая 1 см3 раствора соли Mopa концентрации точно 0,2 моль/дм3, г;
m - масса навески, г.
За результатанализа принимают среднее арифметическое результатов двух параллельныхопределений, допускаемые расхождения между которыми не должны превышать 0,3%при доверительной вероятности Р=0,95.
Допускаемаяабсолютная погрешность результата измерения не должна превышать 0,4%.
В окиси хромамарки «металлургическая», полученной тем же методом, что «пигментная» и«абразивная», определение содержания общего хрома в пересчете на Cr2O3 допускается проводить по п. 4.3.1.
За результат анализапринимают среднее арифметическое двух параллельных определений, допускаемыерасхождения между которыми не должны превышать 0,05% при доверительнойвероятности Р=0,95.
За результатанализа принимают среднее арифметическое двух параллельных определений,допускаемые расхождения между которыми не должны превышать 0,02% придоверительной вероятности Р=0,95.
4.3.2.3.-4.5. (Измененнаяредакция, Изм. № 1, 3).
При разногласияхв оценке массовой доли веществ, растворимых в воде, анализ проводят методомгорячей экстракции.
4.6. Определение рН водного раствора проводят по ГОСТ 21119.3-75,при этом водную вытяжку готовят по п. 4.5 настоящегостандарта.
За результатанализа принимают среднее арифметическое двух параллельных определений,допускаемые расхождения между которыми не должны превышать 0,1 рН придоверительной вероятности Р=0,95.
(Измененнаяредакция, Изм. № 1).
4.7. Относительную красящую способность определяют по ГОСТ 16872-78 визуальным или инструментальным методом.
При разногласияхв оценке относительной красящей способности анализ проводят инструментальнымметодом.
Раствор желатиныготовят следующим образом: 1,25 г желатины растворяют в 50 см3 водына водяной бане при 60°С и добавляют 2 г (1,7 см3) глицерина.Раствор применяют на следующий день.
При разногласияхв оценке цвета анализ проводят инструментальным методом.
4.10. Определение массовой доли общей серы
4.10.1. Аппаратура, реактивы и растворы
Весылабораторные 2-го и 4-го классов точности по ГОСТ24104-88 с наибольшими пределами взвешивания 200 и 500 г соответственно.
Гири 2-го классаточности по ГОСТ 7328-82.
Лодочкифарфоровые № 2 по ГОСТ 9147-80, предварительно прокаленные в муфельной печи при900-1000°С в течение 4-5 мин, а затем в токе кислорода в течение 5 мин прирабочей температуре; хранят в эксикаторе.
Электропечьмуфельная лабораторная, обеспечивающая температуру нагрева до 1000°С.
Водадистиллированная по ГОСТ 6709-72.
Калий йодистыйпо ГОСТ 4232-74.
Калий йодноватокислыйпо ГОСТ 4202-75.
Калиймарганцовокислый по ГОСТ 20490-75, раствор с массовой долей 4% в растворегидроокиси калия.
Калия гидроокисьпо ГОСТ 24363-80 кристаллическая и раствор с массовой долей 30%.
Кальцийхлористый прокаленный.
Кислота солянаяпо ГОСТ 3118-77 плотностью 1,19 г/см3.
Крахмалрастворимый по ГОСТ 10163-76, свежеприготовленный раствор; готовят следующимобразом: 0,5 г крахмала смешивают с 50 см3 холодной воды, полученнуюсуспензию при перемешивании вливают в 950 см3 кипящей воды, прибавляют5 см3 соляной кислоты и кипятят 1-2. мин. После охлажденияприбавляют раствор йодид-йодата калия до получения бледно-голубой окраскираствора.
Меди (II) окисьпо ГОСТ 16539-79, предварительно прокаленная при 800°С в течение 24 ч.
Образец окиси хромастандартный по государственному реестру № 673-75.
Титрованныйраствор йодид-йодата калия; готовят следующим образом: 0,1784 гйодноватокислого калия и 34 г йодистого калия растворяют в небольшом количествеводы и после растворения добавляют 0,8 г гидроокиси калия. Раствор переносят вмерную колбу вместимостью 1000 см3, доливают водой до метки иперемешивают. Раствор хранят в склянке из темного стекла. 1 см3 растворасоответствует приблизительно 0,08 мг серы. Титр раствора устанавливаютодновременно с проведением анализа испытуемых проб (как указано в п. 4.10.3) по трем навескамстандартного образца окиси хрома. Одновременно проводят контрольный опыт сплавнем - окисью меди, ожигая его в этих же условиях. Титр растворайодид-йодата калия (Т), г/см3 серы, вычисляют по формуле
![]()
где X'2 - массовая доля серы в стандартном образце окисихрома, %;
m - масса навески стандартного образца окиси хрома, г;
V - объемраствора йодид-йодата калия, израсходованный на титрование, см3;
V1 - объем раствора йодид-йодата калия, израсходованный натитрование раствора контрольного опыта, см3.
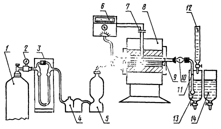
Установка длясжигания серы (черт. 1) состоит из следующихэлементов: баллона с кислородом 1, снабженного редукционным вентилем 2;реометра стеклянного лабораторного 3 по ГОСТ 9932-75; промывной склянки 4,содержащей раствор марганцовокислого калия в растворе гидроокиси калия;сушильной колонки, заполненной хлористым кальцием 5; трубчатой электропечи 8 ссилитовыми нагревателями, обеспечивающими температуру нагрева 1350-1400°С;трубки фарфоровой, неглазурованной, термостойкой 9 длиной 750 мм, с внутреннимдиаметром 18-22 мм, предварительно прокаленной по всей длине при 1350-1400°С.Концы трубки должны выступать из печи на 180-200 мм. Во избежание нагреваконцов фарфоровой трубки торцовые поверхности печи прикрывают асбестовымиэкранами. Трубку закрывают герметически с обоих концов резиновыми пробками с отверстиями,в которые вставлены стеклянные соединительные трубки диаметром 5 мм. Дляпредотвращения обгорания резиновых пробок внутреннюю торцовую поверхностьпробок закрывают асбестовыми прокладками; термопары платино-платинородиевой 7по ГОСТ 3044-84; терморегулятора 6; трубки-фильтра 10 с тампоном из стекляннойваты для задержания твердых частиц продуктов сгорания; отводной стекляннойтрубки 11 диаметром 7 мм, согнутой под прямым углом и оканчивающейся барботеромс диаметром отверстий 1,5-2,0 мм; стеклянного цилиндрического поглотительногососуда 13 высотой 250 мм и диаметром 30 мм; стеклянного цилиндрического сосудадля раствора сравнения 14 высотой 250 мм и диаметром 30 мм; бюретки 12 по ГОСТ20292-74.
Черт. 1
(Измененнаяредакция, Изм. № 1, 3).
4.10.2. Подготовкак анализу
Стеклянные частиустановки соединяют встык при помощи резиновых трубок так, чтобы продуктысжигания не находились в соприкосновении, с резиновыми трубками.
Перед началоманализа печь нагревают до температуры 1350-1400°С и проверяют герметичностьустановки.
Полноту сжиганиясеры в фарфоровой трубке контролируют следующим образом: поглотительный сосуд исосуд для раствора сравнения наполняют на 1/2 высоты раствором крахмала,окрашенным раствором йодид-йодата калия до бледно-голубого цвета и пропускаютчерез всю установку ток кислорода со скоростью 3-4 дм3/мин. Есличерез 5 мин синяя окраска в поглотительном сосуде исчезнет, то снова добавляютраствор йодид-йодата калия по каплям до бледно-голубой окраски раствора и вновьпропускают ток кислорода. Устойчивость окраски раствора в поглотительном сосудесвидетельствует о полном выгорании серы в фарфоровой трубке.
Для проверкиправильности работы установки сжигают 2-3 навески стандартного образца окисихрома. Для внесения поправки в анализируемую пробу проводят контрольный опыт,сжигая в этих же условиях плавень - окись меди без анализируемого продукта.
(0,50±0,02) гокиси хрома взвешивают (результат взвешивания в граммах записывают дочетвертого десятичного знака), равномерным слоем помещают в фарфоровую лодочку,содержащую 1 г плавня, взвешенного с точностью до четвертого десятичного знака,и покрывают сверху еще такой же навеской плавня.
Поглотительныйсосуд и сосуд для раствора сравнения, наполняют на 1/2 объема растворомкрахмала, окрашенным раствором йодид-йодата калия до бледно-голубого цвета.
Лодочку помещаютс помощью крючка из жаропрочной стали в наиболее нагретую часть фарфоровойтрубки. Трубку быстро закрывают резиновой пробкой и сразу пропускают токкислорода со скоростью 3-4 дм3/мин. Когда сернистый газ, поступающийиз печи в поглотительный сосуд, начнет обесцвечивать нижний слой жидкости, избюретки, по каплям прибавляют йодид-йодата калия со скоростью, обеспечивающейбледно-голубой цвет жидкости.
Сжигание окисихрома считают законченным, когда раствор в поглотительном сосуде перестаетобесцвечиваться и окраска растворов в поглотительном сосуде и сосуде сраствором сравнения будет одинаковой и устойчивой в течение 2 мин.
Прекращают токкислорода, открывают пробку со стороны баллона с кислородом и извлекаютлодочку; затем сливают жидкость из поглотительного сосуда, промывают его водойи снова заполняют для следующего определения.
(Измененнаяредакция, Изм. № 3).
Массовую долю общейсеры (Х2) в процентах вычисляют по формуле
![]()
где V - объем раствора йодид-йодатакалия, израсходованный на титрование, см3;
V1 - объем раствора йодид-йодата калия, израсходованный натитрование раствора контрольного опыта, см3;
Т - титрраствора йодид-йодата калия, выраженный в г/см3 серы;
m - масса навески, г.
За результатанализа принимают среднее арифметическое двух параллельных определений,допускаемые расхождения между которыми не должны превышать 0,004% придоверительной вероятности Р=0,95.
(Измененнаяредакция, Изм. № 1).
4.10.5.Определение массовой доли общей серы допускается проводить также с помощьюавтоматизированных экспресс-анализаторов на серу типов ЛС-7932, АН-7560 илидругого типа с заданными чувствительностью и точностью.
При разногласияхв оценке массовой доли общей серы анализ проводят по пп. 4.10.1-4.10.4.
(Введендополнительно, Изм. № 3).
4.11. Определение массовой доли общего железа в пересчетена FeO
4.11.1. Аппаратура, реактивы и растворы
Бюретка по ГОСТ20292-74.
Весылабораторные 2-го и 4-го классов точности по ГОСТ24104-88 с наибольшими пределами взвешивания 200 и 500 г соответственно.
Гири 2-го классаточности по ГОСТ 7328-82.
Колбы мерные поГОСТ 1770-74.
Колориметрфотоэлектрический лабораторный по ГОСТ 12083-78, имеющий светофильтр с областьюпропускания (490±10) нм и кюветы с толщиной поглощающего свет слоя 50 мм.
Мензурка по ГОСТ1770-74.
Пипетки по ГОСТ20292-74.
Аммиак водный поГОСТ 3760-79, раствор, разбавленный 1:1.
Бумага «конго»красная индикаторная.
Водадистиллированная по ГОСТ 6709-72.
Гидроксиламинагидрохлорид по ГОСТ 5456-79, ч.д.а., раствор с массовой долей 10%.
2-2'-Дипиридил(альфа, альфа-дипиридил), спиртовый раствор с массовой долей 0,5%; готовят поГОСТ 4517-87.
Квасцыжелезоаммонийные, раствор, содержащий 1 мг железа (Fe3+) в 1 см3 раствора, готовят по ГОСТ 4212-76; 10см3 приготовленного раствора разбавляют раствором серной кислоты до1 дм3; 1 см3 полученного раствора содержит 0,013 мг FeO - раствор А; раствор А применяют только в деньприготовления.
Кислота сернаяпо ГОСТ 4204-77 концентрированная и раствор концентрации с (1/2H2SO4)=0,01 моль/дм3.
Кислота солянаяпо ГОСТ 3118-77, раствор, разбавленный 1:1.
Кислота хлорная.
Натрийуксуснокислый 3-водный по ГОСТ 199-78, раствор с массовой долей 20%.
Натрий хлористыйпо ГОСТ4233-77.
Ортофенантролин,раствор с массовой долей 0,2%; готовят следующим образом: 0,2 г препаратарастворяют в 100 см3 горячей воды, раствор хранят в банке изоранжевого стекла.
(Измененнаяредакция, Изм. № 3).
4.11.2.Подготовка к анализу
4.11.2.1. Построение градуировочного графика.
Для построенияградуировочного графика готовят стандартные растворы: в мерные колбывместимостью 100 см3 отбирают из бюретки 0,5; 1,0; 2,0; 3,0; 4,0;5,0; 6,0 см3 раствора А, что соответствует 0,0065; 0,013; 0,026;0,039; 0,052; 0,065; 0,078 мг FeO, и добавляют в них воды до 20 см3.
Растворынейтрализуют аммиаком по бумаге «конго» красной до перехода синего цвета вкрасный, затем добавляют соляной кислоты до сиреневого цвета бумаги и избытоктой же кислоты (2 капли). В каждую колбу последовательно приливают 3 см3раствора солянокислого гидроксиламина, раствор уксуснокислого натрия доизменения окраски индикаторной бумаги в красный цвет и 5 см3раствора ортофенантролина или 2-2'-дипиридила, доводят объемы растворов водойдо метки. После добавления каждого реактива содержимое колб тщательноперемешивают.
Одновременноготовят раствор сравнения, в который приливают все те же реактивы, кромераствора А.
Через 10-15 минизмеряют оптическую плотность стандартных растворов по отношению к растворусравнения в кювете с толщиной поглощающего свет слоя 50 мм, пользуясь зеленымсветофильтром при длине волны l=490 мм.
По полученнымданным строят градуировочный график, откладывая на оси абсцисс содержащиеся встандартных растворах массы FeO в миллиграммах,а по оси ординат - соответствующие им значения оптических плотностей.
4.11.3. Проведениеанализа
(0,500±0,025) гокиси хрома взвешивают (результат взвешивания в граммах записывают дочетвертого десятичного знака), помещают в стакан вместимостью 300 см3,приливают 10 см3 концентрированной серной кислоты и 20 см3хлорной кислоты. Стакан накрывают часовым стеклом и нагревают до видимоговыделения паров хлорной кислоты. Иногда к концу растворения пробы начинают выделятьсякристаллы хромового ангидрида, которые, обволакивая неразложившиеся частицы,задерживают растворение. В этом случае необходимо раствор охладить, прибавить кнему 2-3 см3 воды и снова нагреть до образования паров хлорнойкислоты.
После окончания разложенияпробы удаляют из раствора основную часть хрома. Для этого в нагретый довыделения паров хлорной кислоты раствор добавляют небольшими порциями (по0,15-0,20 г) 5 г хлористого натрия. Новую порцию хлористого натрия вводяттолько после того, как восстановившийся хром снова окислится хлорной кислотойдо шестивалентного и цвет раствора изменится на оранжевый. Далее прибавляют 3см3 хлорной кислоты и нагревают до образования желтоватой окраскираствора.
Затем растворохлаждают, прибавляют 70 см3 воды, нагревают и осаждают гидрат окисижелеза аммиаком. Аммиак добавляют в количестве 30-40 см3 (досильного запаха). Раствор доводят до кипения и оставляют на 30 мин в тепломместе (водяная баня) до коагуляции осадка. После этого осадок отфильтровываютчерез фильтр «белая лента», промывают горячей водой до исчезновения желтизны нафильтре и растворяют на фильтре 20 см3 горячей соляной кислоты,собирая раствор в стакан, в котором ранее проводилось осаждение, а затем фильтрхорошо промывают горячей водой. После охлаждения раствор переносят в мернуюколбу вместимостью 250 см3, доводят объем раствора водой до метки иперемешивают. 20 см3 раствора помещают в мерную колбу вместимостью100 см3, нейтрализуют аммиаком по бумаге конго красной до переходасинего цвета в красный, добавляют раствор соляной кислоты до сиреневого цветабумаги и еще избыток той же кислоты (2 капли). Затем прибавляют в колбу 3 см3солянокислого гидроксиламина, раствор уксуснокислого натрия до измененияокраски индикаторной бумаги в красный цвет, 5 см3 раствораортофенантролина или 2,2'-дипиpидилa, доводят объем раствора водой до метки.После добавления каждого реактива содержимое колбы тщательно перемешивают.
Одновременночерез все стадии анализа проводят контрольный опыт с теми же количествами реактивов,но без анализируемого раствора. Через 10-15 мин измеряют оптическую плотностьанализируемого раствора по отношению к аликвотной части раствора контрольногоопыта, как указано в п. 4.11.2.1.
4.11.4. Обработкарезультатов
Массовую долюобщего железа в пересчете на FeO (Х3) в процентах вычисляют поформуле
![]()
где m1 - масса FeO, найденная по градуировочному графику, мг;
m - масса навески, г.
За результатанализа принимает среднее арифметическое двух параллельных определений,допускаемые расхождения между которыми не должны превышать 0,01% придоверительной вероятности Р=0,95.
(Измененнаяредакция, Изм. № 1).
4.11.5.Определение массовой доли железа может быть проведено также спектральнымметодом (см. приложение 1).
При разногласияхв оценке массовой доли общего железа анализ проводятфотоэлектроколориметрическим методом.
4.12. Определение массовой доли углерода
АппаратБюрца-Штролейна для объемного определения углерода.
Весылабораторные 2-го класса точности по ГОСТ24104-88 с наибольшим пределом взвешивания 200 г.
Гири 2-го классаточности по ГОСТ 7328-82.
(Измененнаяредакция, Изм. № 3).
(1,00±0,05) гокиси хрома взвешивают (результат взвешивания в граммах записывают до третьегодесятичного знака) в фарфоровой лодочке, затем вставляют в фарфоровую трубкупечи Марса, нагретую до температуры не ниже 1200°С, и тут же дают токкислорода. Окись хрома в токе кислорода прокаливают в течение 4-5 мин. Далееопределение массовой доли углерода проводят по ГОСТ 27069-86.
(Измененнаяредакция, Изм. № 3).
4.12.3.Определение массовой доли углерода допускается проводить также с помощьюавтоматизированных экспресс-анализаторов на углерод типов АС-7932, АН-7560 илидругого типа с заданными чувствительностью и точностью.
При разногласияхв оценке массовой доли углерода анализ проводят по пп. 4.12.1-4.12.2.
(Введендополнительно, Изм. № 3).
4.13. Определение массовой доли цветных металлов
4.13.1. Аппаратура, реактивы и растворы
Весылабораторные 2-го и 4-го классов точности по ГОСТ24104-88 с наибольшими пределами взвешивания 200 и 500 г соответственно.
Весы торзионныетипа ВТ с наибольшим пределом взвешивания 500 мг.
Генератор дугипеременного тока.
Гири 2-го классаточности по ГОСТ 7328-82.
Спектрографкварцевый средней дисперсии.
Микрофотометр.
Станок длязаточки электродов.
Ступка агатоваяили яшмовая.
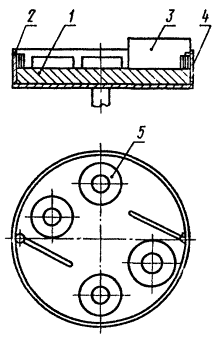
Углиграфитированные для спектрального анализа марки ос. ч. 7-3 (электроды угольные)диаметром 6 мм; нижний электрод «рюмочного» типа с размером кратера 4´9, верхнийзаточен на усеченный конус (черт. 2)или угли фасонные для спектрального анализа марки ос. ч. 7-4, тип I - конус,тип III - «рюмочные».
Фотопластинкиспектральные типа I чувствительностью 0,8 отн. ед. и типа III чувствительностью7 отн. ед.
Шкаф сушильный,обеспечивающий температуру нагрева до 105°С.
Аммонийхлористый по ГОСТ 3773-72.
Ангидридмышьяковистый по ГОСТ 1973-77, возогнанный.
Висмута (III)окись по ГОСТ 10216-75.
Водадистиллированная по ГОСТ 6709-72.
Гидрохинон (парадиоксибензол)по ГОСТ 19627-74.
Кадмия оксид поГОСТ 11120-75.
Калий бромистыйпо ГОСТ 4160-74.
Метол(4-метиламинофенол сульфат) по ГОСТ 25664-83.
Натрийсернистокислый по ГОСТ 195-77.
Натрийсерноватистокислый (натрия тиосульфат) 5-водный по ГОСТ 27068-86.
Натрийуглекислый по ГОСТ 83-79.
Натрий хлористыйпо ГОСТ4233-77.
Олово (IV) оксидпо ГОСТ 22516-77.
Проявительметолгидрохиноновый; готовят следующим образом: 44 г углекислого натрия и 2 гбромистого калия растворяют в воде и доводят объем до 1 дм3 (растворА); 2 г метола, 52 г сернистокислого натрия и 10 г гидрохинона последовательнорастворяют в воде и доводят объем до 1 дм3 (раствор Б). Растворы А иБ смешивают 1:1 перед проявлением, которое проводят при 18-20°С.
Свинца (II)окись.
Спирт этиловыйтехнический по ГОСТ 17299-78.
Сурьмы окись.
Фиксажбыстродействующий; готовят следующим образом:
300 гсерноватистокислого натрия и 60 г хлористого аммония растворяют в воде идоводят объем до 1 дм3.
Цинка окись поГОСТ 10262-73.
(Измененнаяредакция, Изм. № 3).
4.13.2.Приготовление образцов для построения градуированного графика
В качествеосновы для приготовления образцов используют заводскую окись хрома, в которой определяемыепримеси отсутствуют или их содержание минимально.
0,2376 гмышьяковистого ангидрида, 0,2242 г окиси цинка, 0,718 г окиси сурьмы, 0,0762 гдвуокиси олова, 0,0216 г окиси свинца, 0,0224 г окиси висмута, 0,0228 г окисикадмия и 19,3234 г основы - окиси хрома помещают в агатовую ступку, добавляютспирт, тщательно перемешивают и высушивают при температуре 100-105°С. Получаютголовной образец с массовой долей мышьяка и цинка по 0,9%, олова и сурьмы - по0,3%, свинца, кадмия и висмута - по 0,1%.
Разбавлениемголовного образца основой в 10 раз готовят промежуточный образец, из которогопоследовательным разбавлением в три раза получают четыре рабочих образца.Массовая доля примесей в процентах в каждом из образцов указана в табл. 2. Если основа загрязнена определяемыми элементами,вводят поправку на их содержание.
4.13.3. Подготовкапробы и образцов к съемке
(0,900±0,001) гпробы или образца и (0,100±0,001) г хлористого натрия помещают в агатовуюступку и тщательно перемешивают.
(70±1) мг пробыили образца, содержащих хлористый натрий, взвешивают на торзионных весах,помещают в кратер нижнего электрода. Спектры анализируемой пробы и образцовснимают 2-3 раза на одной фотопластинке.
1 - верхний электрод, 2 -стаканчик, 3 - подставка
Черт 2
4.13.2, 4.13.3. (Измененнаяредакция, Изм. № 1, 3).
4.13.4. Рекомендуемыеусловия съемки спектрограммы
Анализ проводятв дуге переменного тока:
напряжение -200-220 В;
сила тока - 16А;
ширина щели -0,015 мм;
дуговойпромежуток - 3,5 мм;
экспозиция - 45с;
однолинзоваясистема освещения.
Таблица 2
| Номер образца | ||||
| 1 | 2 | 3 | 4 | |
| As | 3×10-2 | 1×10-2 | 3×10-3 | 1×10-3 |
| Zn | 3×10-2 | 1×10-2 | 3×10-3 | 1×10-3 |
| Sb | 1×10-2 | 3×10-3 | 1×10-3 | 3×10-4 |
| Bi | 3×10-3 | 1×10-3 | 3×10-4 | 1×10-4 |
| Sn | 1×10-2 | 3×10-3 | 1×10-3 | 3×10-4 |
| Pb | 3×10-3 | 1×10-3 | 3×10-4 | 1×10-4 |
| Cd | 3×10-3 | 1×10-3 | 3×10-4 | 1×10-4 |
4.13.5. Обработкаспектрограммы и результатов
Фотопластинки соснятыми спектрами проявляют, промывают водой, фиксируют, снова промывают впроточной воде и высушивают на воздухе. Затем проводят фотометрированиеаналитических спектральных линий, измеряя почернение (SЛ) и соседнего фона (SФ). Для цинка (Zn) определяют фотометрическую ширину линий (l).
В качествеаналитических используют следующие линии определяемых элементов, нм: As-234,98; Zn-213,86; Sb-231,15; Bi-223,06; Sn-235,48; Pb-283,31; Cd-226,50.
Находят DS, равное SЛ-SФ и вычисляют DSСР и lСР для каждого образца и пробы. Порезультатам фотометрирования образцов строят градуировочные графики, откладываяна оси ординат среднее арифметическое значение разности почернений (DSСР), a на оси абсцисс- логарифмы концентраций соответствующих примесей в образцах. При построенииградуировочного графика на цинк на оси ординат откладывают логарифмыфотометрической ширины линии. Массовую долю каждой примеси в процентах ванализируемой пробе находят по соответствующему градуировочному графику. Зарезультат анализа принимают среднее арифметическое двух параллельныхопределений, допускаемые расхождения между которыми не должны превышать 25%относительно вычисляемой концентрации при доверительной вероятности Р=0,95.
(Измененнаяредакция, Изм. № 1).
4.14. Определение полирующей способности
4.14.1. Аппаратура, реактивы и растворы
Весылабораторные 2-го и 4-го классов точности по ГОСТ24104-88 с наибольшими пределами взвешивания 200 и 500 г соответственно.
Гири 2-го классаточности по ГОСТ 7328-82.
Полировальныйстанок типа С-15 с планшайбой из битума марки № 5. Схема полировального станка,подготовленного к определению полирующей способности, приведена на черт. 3. Битумная планшайба 1 снабжена бортиком 2,предохраняющим сливание суспензии окиси хрома с планшайбы, и направляющимищетками 3 с прикрепленными к ним кисточками 4, служащими для направлениясуспензии от бортика к полируемому образцу 5. На планшайбу устанавливаетсяодновременно до четырех полируемых образцов.
Полируемыйобразец - шайба наружным диаметром 50 мм и внутренним диаметром 30 мм из сталимарки ШХ-15 по ГОСТ 801-78 с закалкой до твердости HRC 60.
Шкаф сушильный, обеспечивающийтемпературу нагрева до 105°С.
Водадистиллированная по ГОСТ 6709-72.
Спирт этиловыйтехнический по ГОСТ 17299-78.
(Измененнаяредакция, Изм. № 3).
4.14.2.Проведение испытания
Четыре образца,предварительно отполированных до шероховатости 0,20<Rz£0,40 на базовой длине 0,25 мм, тщательно очищают, моют ипротирают этиловым спиртом, сушат в сушильном шкафу до постоянной массы,охлаждают и взвешивают (результат взвешивания в граммах записывают дочетвертого десятичного знака).
Из 50 ганализируемой окиси хрома и 150 см3 дистиллированной воды готовятсуспензию и наносят на планшайбу станка, закрепляют на станке четыре образца иполируют.
4.14.3.Рекомендуемые условия полировки
Время полировки- 30 мин.
Давление наполирующую поверхность - 171,6 гПа.
Частота вращенияполируемого образца - 192 об/мин.
Частота вращенияпланшайбы 60 об/мин.
4.14.4.Обработка результатов
Черт. 3
Полирующуюспособность (Х4) в мг/(мин×см2) вычисляют по формуле
![]()
где DmСР - среднееизменение массы образцов в процессе полировки, определяемое по результатамвзвешивания не менее, чем четырех образцов, не имеющих непрополированныхучастков, г;
S - площадь полируемого образца, см2;
t - время полировки, мин.
4.15. Определение шероховатости поверхности послеполировки
4.15.1. Аппаратура
МикроинтерферометрМИИ-4.
Образцы,отполированные, очищенные и высушенные по п. 4.14.
(Измененнаяредакция, Изм. № 1).
4.15.2. Параметры, термины и определения приняты по ГОСТ 2789-73 .
Берут не менее двухобразцов. Каждый образец делят на 4-5 разных участков. В средней части каждогоучастка производят измерение высоты неровностей.
Для поверхностис Rz более 0,100 мкм на базовой длине 0,25мм измеряется высота пяти характерных (определяющих шероховатость) неровностейда базовой длине 0,25 мм.
Для поверхностис Rz не более 0,100 мкм на базовой длине 0,08 мм измеряется высота десятихарактерных неровностей на базовых длинах по 0,08 мм (измерение проводитсявизуально или с помощью винтового окулярного микрометра).
После измеренийобразцы смазывают вазелином для предотвращения коррозии.
4.15.4. Измерение высоты отдельной неровности визуально
Образцыустанавливают на столике интерферометра, направляя на объектив выбранный по п. 4.15.3 участок, производятфокусировку на резкость и просматривают (с интерференцией и без интерференции)поверхность участка перемещением столика в двух взаимно перпендикулярныхнаправлениях от среднего деления барабанчиков стола в обе стороны.
При этом находятхарактерные, а также наиболее грубые неровности.
Высота отдельнойнеровности определяется визуально по величине изгиба интерференционной полосы вдолях ее интервала (h).
Высотунеровности (Hi max)+(Hi min) в микрометрах вычисляют по формулам:
(Hi max)+(Hi min)=0,27 h (при работе сбелым светом);
(Hi max)+(Hi min)=l/2 h (при работе с монохроматическим светом),
где l - длина волнысвета, мкм.
4.15.5. Измерениевысоты отдельной неровности с помощью винтового окулярного микрометра
Измерениепроводится, как указано в п. 4.15.4,но величина изгиба интерференционной полосы в долях интервала (h) определяетсямикрометром по формуле
![]()
Для измерениягоризонтальную линию перекрестия окулярного микрометра устанавливаютпараллельно интерференционным полосам путем поворота микрометра. Затемвращением барабана окулярного винтового микрометра горизонтальную линиюперекрестия наводят на полосу, изгиб которой выбран для измерения и делаютотсчет N1 по шкале барабана. Вращениембарабана перекрестие наводят на соседнюю или любую другую полосу (в этом случаеотмечают ее порядок n) и делают отсчет N2.Затем перекрестие совмещают с вершиной изгиба полосы и делают отсчет N3.
4.15.6. Классификацияповерхности
Параметршероховатости Rz в микрометрах вычисляют каксреднюю высоту всех неровностей на базовой длине
![]()
В соответствии срассчитанным параметром Rz поверхностьклассифицируется по табл. 3.
Определениеостатка на сите окиси хрома марки "абразивная" проводят по ГОСТ21119.4-75, разд. 2, при этом берут навеску продукта массой (10,0±0,5) г.
Таблица 3
| Rz, мкм, не более | Базовая длина, мм |
| 0,050 0,100 | 0,08 |
| 0,20 0,40 0,80 | 0,25 |
Примечания:
1. При определении шероховатости поверхностидопускается следующее количество и величина неровностей, не снижающих качестваповерхности:
для поверхности с Rz не более 0,100 мкм на базовойдлине 0,08 мм - две неровности высотой не более 0,20 мкм на базовой длине 0,08мм;
для поверхности с Rz не более 0,20 мкм на базовойдлине 0,25 мм - две неровности высотой не более 0,40 мкм на базовой длине 0,25мм;
для поверхности с Rz не более 0,40 мкм на базовойдлине 0,25 мм - три неровности высотой не более 0,80 мкм на базовой длине 0,25мм;
для поверхности с Rz не более 0,80 мкм на базовойдлине 0,25 мм - три неровности высотой не более 1,60 мкм на базовой длине 0,25мм.
2. Если наповерхности имеются отдельные наиболее грубые неровности, то кромеклассификации поверхности по параметру Rz указывают их число и значение (высотаи размер) в микрометрах.
(Измененнаяредакция, Изм. № 3).
Полиэтиленовыемешки-вкладыши заваривают, бумажные прошивают машинным способом.
Масса нетто барабанови контейнеров одной партии для окиси хрома марки "металлургическая"должна быть одинаковой.
Для предприятийчасовой и электронной промышленности продукт упаковывают в стальные барабанытипа БТIIБ1-50 по ГОСТ 5044-79.
Окись хромамарки «абразивная» сорта ОХА-0 упаковывают в стальные барабаны типа БТIIБ1-50по ГОСТ 5044-79 с пленочным мешком-вкладышем по нормативно-техническойдокументации.
Полиэтиленовыемешки-вкладыши, вложенные в барабаны, завязывают двойным узлом, для чеговерхнюю часть наполненного мешка собирают в пучок, перегибают и плотнозавязывают.
(Измененнаяредакция, Изм № 1).
наименование,марка и сорт продукта;
номер партии идата изготовления;
обозначениенастоящего стандарта.
При упаковыванииокиси хрома в контейнеры ярлык с обозначениями вкладывают в карман контейнераили прикрепляют с двух противоположных сторон контейнера. Допускается наноситьмаркировку с помощью трафарета несмываемой краской на боковую поверхностьконтейнера в соответствии с ГОСТ 14192-77.
(Измененнаяредакция, Изм. № 3).
Окись хроматранспортируют всеми видами транспорта (кроме авиации) в крытых транспортныхсредствах в соответствии с правилами перевозок грузов, действующими насоответствующих видах транспорта.
По железнойдороге упакованную продукцию транспортируют повагонными отправками.
Специализированныеконтейнеры транспортируют открытым подвижным составом. Размещение и креплениеконтейнеров производят в соответствии с условиями погрузки и крепления грузов,утвержденными Министерством путей сообщения.
Упакованный вбарабаны и мешки продукт должен транспортироваться пакетами в соответствии сГОСТ 21929-76. Выбор средств скрепления пакетов - по ГОСТ21650-76. Масса и габаритные размеры пакетов должны соответствоватьтребованиям ГОСТ 24597-81.Несущие средства пакетирования - плоские поддоны по ГОСТ 9078-84, ГОСТ9557-87 и специализированные поддоны.
5.4. Окись хромахранят в закрытых складских помещениях в неповрежденной упаковке.
Контейнерыхранят на контейнерных площадках. Срок хранения продукта не ограничен.
5.3, 5.4. (Измененнаяредакция, Изм. № 1).
Рекомендуемое
Аппаратура,реактивы и растворы
Весы лабораторные2-го и 4-го классов точности по ГОСТ24104-88 с наибольшими пределами взвешивания 200 и 500 г соответственно.
Весы торзионныетипа ВТ с наибольшим пределом взвешивания 500 мг.
Генераторпостоянного тока.
Гири 2-го классаточности по ГОСТ 7328-82.
Спектрографкварцевый средней дисперсии.
Лампаинфракрасная мощностью 500 Вт.
Микрофотометр.
Станок длязаточки электродов.
Ступка агатоваяили яшмовая.
Углиграфитированные для спектрального анализа марки ос. ч. 7-3 (электроды угольные)диаметром 6 мм; верхний электрод заточен на конус, нижний электрод (анод) сцилиндрическим каналом диаметром 3 мм, глубиной 3 мм.
Фотопластинкиспектральные типа III, чувствительностью 5 отн. ед.
Аммоний хлористыйпо ГОСТ 3773-72.
Водадистиллированная по ГОСТ 6709-72.
Гидрохинон(парадиоксибензол) по ГОСТ 19627-74.
Железа окись дляспектрального анализа.
Калий бромистыйпо ГОСТ 4160-74.
Метол(4-метиламинофенол сульфат) по ГОСТ 25664-83.
Натрийсернистокислый по ГОСТ 195-77.
Натрийсерноватистокислый (натрия тиосульфат) 5-водный по ГОСТ 27068-86.
Натрий углекислыйпо ГОСТ 83-79.
Порошокграфитовый марки ос. ч. 7-4.
Проявитель метолгидрохиноновый;готовят следующим образом: 44 г углекислого натрия и 2 г бромистого калиярастворяют в воде и доводят объем раствора водой до 1 дм3 (растворА); 2 г метола, 52 г сернистокислого натрия и 10 г гидрохинона последовательнорастворяют в воде и доводят объем раствора до 1 дм3 (раствор Б).Растворы А и Б смешивают 1:1 перед проявлением, которое проводят притемпературе 18-20°С.
Спирт этиловыйтехнический по ГОСТ 17299-78.
Фиксажбыстродействующий; готовят следующим образом: 300 г серноватистокислого натрияи 60 г хлористого аммония растворяют в воде и доводят объем раствора до 1 дм3.
Хрома (VI) окисьпо ГОСТ 3776-78.
Приготовлениеобразцов для построения градуированного графика
В качестве основыдля приготовления образцов используют окись хрома, полученную из хромовогоангидрида путем прокаливания при 1200°С.
Введением окисижелеза (0,1667 г) к основе (9,8333 г) готовят головной образец с массовой долейжелеза в пересчете на FeO 1,5%. Взятыенавески растирают со спиртом в течение 1 ч и сушат под инфракрасной лампой.Разбавлением головного образца основой в 10 раз готовят первый рабочий образец,из которого последовательным разбавлением в два раза готовят еще три рабочихобразца. Массовая доля FeO в процентах в каждом образце указана в таблице.
Еслиоснова загрязнена определяемым элементом, вводят поправку на его содержание.
| Номер образца | Массовая доля FeO, % | Номер образца | Массовая доля FeO, % |
| 1 | 0,15 | 3 | 0,038 |
| 2 | 0,075 | 4 | 0,019 |
Подготовка пробыи образцов к съемке
Пробы окиси хромаи рабочие образцы тщательно смешивают в агатовой ступке с угольным порошком всоотношении 1:2. Каждую анализируемую пробу и образец плотно набивают в кратернижнего электрода.
Рекомендуемыеусловия съемки спектрограммы.
Анализ проводят вдуге постоянного тока при следующих условиях:
сила тока - 10 А;
ширина щелиспектрографа - 0,013 мм;
высота диафрагмына средней линзе конденсорной системы - 5 мм;
дуговойпромежуток - 2 мм;
экспозиция - 30с.
Обработкаспектрограммы и результатов.
Фотопластинку соснятыми спектрами проявляют, промывают водой, фиксируют, снова промывают впроточной воде и высушивают на воздухе.
Затем проводятфотометрирование аналитической спектральной линии железа и линии сравненияхрома, пользуясь логарифмической шкалой (нм): Fe-248,3; Cr-247,9.
Вычисляютразность почернений DS, равную SFe-SCr.
По трем значениямразности почернений вычисляют среднее арифметическое значение DSСР.
По результатамфотометрирования образцов строят градуировочный график, откладывая на оси ординатDSСР, а на оси абсцисс - логарифм концентрации FeO в образцах.
Массовую долю FeOв пробе находят по градуировочному графику. За результат анализа принимаютсреднее арифметическое двух параллельных определений, допускаемые расхождениямежду которыми не должны превышать 10% вычисляемой концентрации придоверительной вероятности Р=0,95.
(Измененнаяредакция, Изм. № 1, 3).
Рекомендуемое
| Обозначение марки | Область применения |
| Пигментная | Производство грунтовок, эмалей, красок |
| Металлургическая | Производство металлического хрома и абразивных материалов |
| Абразивная | Производство полировальных паст |
(Введенодополнительно, Изм. № 1).
ИНФОРМАЦИОННЫЕ ДАННЫЕ
1.РАЗРАБОТАН И ВНЕСЕН Министерством химической промышленности СССР
ИСПОЛНИТЕЛИ
Н. И. Баянова, Е.М. Башкирова, Б. П. Середа, В. М. Масалович
2. УТВЕРЖДЕН ИВВЕДЕН В ДЕЙСТВИЕ Постановлением Государственного комитета СССР по стандартамот 29.01.79 №291
3.Периодичность проверки - 5 лет.
4. ВЗАМЕН ГОСТ2912-73
5. ССЫЛОЧНЫЕ НОРМАТИВНО-ТЕХНИЧЕСКИЕДОКУМЕНТЫ
| Обозначение НТД, на который дана ссылка | Номер пункта, подпункта, приложения |
| ГОСТ 12.1.005-88 | |
| ГОСТ 12.1.007-76 | |
| ГОСТ 12.1.016-79 | |
| ГОСТ 12.3.009-76 | |
| ГОСТ 12.4.021-75 | |
| ГОСТ 12.4.034-85 | |
| ГОСТ 12.4.103-83 | |
| ГОСТ 83-79 | |
| ГОСТ 195-77 | |
| ГОСТ 199-78 | |
| ГОСТ 801-78 | |
| ГОСТ 1770-74 | |
| ГОСТ 1973-77 | |
| ГОСТ 2226-88 | |
| ГОСТ 2789-73 | |
| ГОСТ 3044-84 | |
| ГОСТ 3118-77 | |
| ГОСТ 3760-79 | |
| ГОСТ 3773-72 | |
| ГОСТ 3776-78 | Приложение 1 |
| ГОСТ 4160-74 | |
| ГОСТ 4202-75 | |
| ГОСТ 4204-77 | |
| ГОСТ 4208-72 | |
| ГОСТ 4212-76 | |
| ГОСТ 4220-75 | |
| ГОСТ 4232-74 | |
| ГОСТ 4233-77 | |
| ГОСТ 4328-77 | |
| ГОСТ 4517-87 | |
| ГОСТ 4919.1-77 | |
| ГОСТ 5044-79 | |
| ГОСТ 5456-79 | |
| ГОСТ 6552-80 | |
| ГОСТ 6709-72 | 4.3.1.1, 4.3.2.1, 4.10.1, 4.11.1, 4.13.1, 4.14.1, приложение 1 |
| ГОСТ 7328-82 | 4.3.1.1, 4.3.2.1, 4.10.1, 4.11.1, 4.12.1, 4.13.1, 4.14.1, приложение 1 |
| ГОСТ 7931-76 | |
| ГОСТ 8784-75 | |
| ГОСТ 9078-84 | |
| ГОСТ 9147-80 | |
| ГОСТ 9557-87 | |
| ГОСТ 9932-75 | |
| ГОСТ 10163-76 | |
| ГОСТ 10216-75 | |
| ГОСТ 10262-73 | |
| ГОСТ 10929-76 | |
| ГОСТ 11120-75 | |
| ГОСТ 12083-78 | |
| ГОСТ 14192-77 | |
| ГОСТ 16539-79 | |
| ГОСТ 16872-78 | |
| ГОСТ 16873-78 | |
| ГОСТ 17299-78 | |
| ГОСТ 19627-74 | |
| ГОСТ 20292-74 | |
| ГОСТ 20490-75 | |
| ГОСТ 21119.1-75 | |
| ГОСТ 21119.2-75 | |
| ГОСТ 21119.3-75 | |
| ГОСТ 21119.4-75 | |
| ГОСТ 21650-76 | |
| ГОСТ 21929-76 | |
| ГОСТ 22516-77 | |
| ГОСТ 24104-88 | 4.3.1.1, 4.3.2.1, 4.10.1, 4.11.1, 4.12.1, 4.13.1, 4.14.1, приложение 1 |
| ГОСТ 24363-80 | |
| ГОСТ 24597-81 | |
| ГОСТ 25664-83 | |
| ГОСТ 25791.2-83 | |
| ГОСТ 27068-86 | |
| ГОСТ 27069-86 |
6. Срок действияпродлен до 01.01.95 Постановлением Госстандарта СССР от 23.03.89 № 637
7.ПЕРЕИЗДАНИЕ (июль 1989 г.) с Изменениями № 1, 2, 3, утвержденными в мае 1984;апреле 1986 г., марте 1989 г., (ИУС 8-84, 7-86, 6-891.
СОДЕРЖАНИЕ
| 5. Упаковка, маркировка, транспортирование и хранение. 15 Приложение 1 Определение массовой доли железа спектральным методом.. 16 |