Стандарт распространяется на бурые и каменные угли, лигниты, антрациты, горючие сланцы, кокс и торф и устанавливает два метода определения углерода и водорода: метод Либиха и ускоренный метод.
| Обозначение: | ГОСТ 2408.1-95 |
| Название рус.: | Топливо твердое. Методы определения углерода и водорода |
| Статус: | взамен |
| Заменяет собой: | ГОСТ 2408.1-88 «Топливо твердое. Методы определения углерода и водорода» ГОСТ 27044-86 «Кокс каменноугольный. Методы определения углерода и водорода» |
| Дата актуализации текста: | 05.05.2017 |
| Дата добавления в базу: | 01.09.2013 |
| Дата введения в действие: | 01.01.1997 |
| Утвержден: | 01.02.1996 Комитет Российской Федерации по стандартизации, метрологии и сертификации (50) |
| Опубликован: | ИПК Издательство стандартов (1996 г. ) ИПК Издательство стандартов (2001 г. ) |
| Ссылки для скачивания: |
ГОСТ 2408.1-95
(ИСО 625-96)
| МЕЖГОСУДАРСТВЕННЫЙ СТАНДАРТ |
ТОПЛИВО ТВЕРДОЕ
МЕТОДЫ ОПРЕДЕЛЕНИЯ УГЛЕРОДА ИВОДОРОДА
МЕЖГОСУДАРСТВЕННЫЙ СОВЕТ
ПО СТАНДАРТИЗАЦИИ, МЕТРОЛОГИИ И СЕРТИФИКАЦИИ
Минск
Предисловие
1. РАЗРАБОТАН МТК 179 «Уголь и продуктыего переработки», Институтом горючих ископаемых, (ИГИ)
ВНЕСЕН Госстандартом России
2. ПРИНЯТМежгосударственным Советом по стандартизации, метрологии и сертификации(протокол № 7 от 26 апреля 1995 г.)
За принятие проголосовали:
| Наименование государства | Наименование национального органа по стандартизации |
| Республика Беларусь | Госстандарт Республики Беларусь |
| Республика Казахстан | Госстандарт Республики Казахстан |
| Российская Федерация | Госстандарт России |
| Украина | Госстандарт Украины |
Изменение № 1 принятоМежгосударственным Советом по стандартизации, метрологии и сертификации(протокол № 16 от 08.10.99)
Зарегистрировано Техническимсекретариатом МГС № 3467
Запринятие изменения проголосовали:
| Наименование государства | Наименование национального органа по стандартизации |
| Азербайджанская Республика | Азгосстандарт |
| Республика Армения | Армгосстандарт |
| Республика Беларусь | Госстандарт Республики Беларусь |
| Киргизская Республика | Киргизстандарт |
| Республика Молдова | Молдовастандарт |
| Российская Федерация | Госстандарт России |
| Республика Таджикистан | Таджикстандарт |
| Республика Узбекистан | Узгосстандарт |
3. Настоящий стандарт представляетсобой полный аутентичный текст ИСО 625-96 «Уголь и кокс. Определение содержанияуглерода и водорода методом Либиха» и содержит дополнительные требования,отражающие потребности экономики страны
4. Постановлением КомитетаРоссийской Федерации по стандартизации, метрологии и сертификации от 1 февраля1996 г. № 50 межгосударственный стандарт ГОСТ 2408.1-95 (ИСО 625-96) введен вдействие непосредственно в качестве государственного стандарта РоссийскойФедерации с 1 января 1997 г.
5. ВЗАМЕН ГОСТ 2408.1-88и ГОСТ27044-88
6. ИЗДАНИЕ (сентябрь 2001 г.) сИзменением № 1, принятым в феврале 2000 г. (ИУС 5-2000)
Содержание:
| МЕЖГОСУДАРСТВЕННЫЙ СТАНДАРТ |
| ТОПЛИВО ТВЕРДОЕ Методы определения углерода и водородаSolid fuel. Methods for determination |
Дата введения 1997-01-01
Настоящий стандарт распространяется на бурыеи каменные угли, лигниты, антрациты, горючие сланцы, кокс и торф иустанавливает два метода определения углерода и водорода: метод Либиха иускоренный метод.
При возникновенииразногласий определение производят по методу Либиха.
Дополнения иизменения, отражающие потребности экономики страны, выделены курсивом.
Внастоящем стандарте использованы ссылки на следующие стандарты:
ГОСТ5496-78 Трубки резиновые технические. Технические условия
ГОСТ 5556-81Вата медицинская гигроскопическая. Технические условия
ГОСТ5583-78 (ИСО 2046-73): Кислород газообразный технический имедицинский. Технические условия
ГОСТ 5833-75Сахароза. Технические условия
ГОСТ 6341-75 Кислотаянтарная. Технические условия
ГОСТ9147-80 Посуда и оборудование лабораторные фарфоровые. Технические условия
ГОСТ 9932-75Реометры стеклянные лабораторные. Технические условия
ГОСТ 10521-78 Кислотабензойная. Технические условия
ГОСТ10742-71 Угли бурые, каменные, антрацит, горючие сланцы и угольные брикеты.Методы отбора и подготовки проб для лабораторных испытаний
ГОСТ11303-75 Торф и продукты его переработки. Метод приготовления аналитическихпроб
ГОСТ 11305-83 Торф.Методы определения влаги
ГОСТ13455-91 (ИСО 925-80) Топливо твердое минеральное. Методы определениядиоксида углерода карбонатов
ГОСТ 16539-79 Меди (II) оксид. Технические условия
ГОСТ23083-78 Кокс каменноугольный, пековый и термоантрацит. Методыотбора и подготовки проб для испытаний
ГОСТ 24363-80 Калиягидроокись. Технические условия
ГОСТ25336-82 Посуда и оборудование лабораторные стеклянные. Общие техническиеусловия
ГОСТ27313-95 Топливо твердое минеральное. Обозначение показателей качества иформулы пересчета результатов анализа для различных состояний топлива
ГОСТ 27314-91(ИСО 589-81) Топливо твердое минеральное. Методы определения влаги
ГОСТ 27589-91(ИСО 687-74) Кокс. Метод определения влаги в аналитической пробе
(Измененная редакция, Изм. № 1).
3.1. Углеродорганический (Со) - массовая доля углерода в органическоймассе топлива
3.2. Углероднеорганический (Смм) - массовая доля углерода в карбонатахминеральной массы топлива
3.3. Углерод общий (Сt) - сумма органического инеорганического углерода топлива
3.4. Водородорганический (Но) - массовая доля водорода в органическоймассе топлива
3.5. Водороднеорганический (Нмм) - массовая доля водорода, входящего всостав гидратной воды минеральной массы топлива
3.6. Водород общий (Нt) - сумма органического инеорганического водорода топлива
Метод Либиха применяютдля определения содержания общего углерода и водорода в каменном и буром угле, лигните, коксе, антраците, горючих сланцах и торфе (далее - твердом топливе). Результаты определения включают углерод из карбонатовминеральной массы и водород, входящий в состав аналитической влаги и гидратнойводы силикатов. Одновременно определяют аналитическую влагу в топливе и взначение содержания водорода, полученное при сжигании, вводят поправку.Определяют диоксид углерода из карбонатов и для получения органическогоуглерода в величину общего углерода вводят поправку на содержание углерода вкарбонатах минеральной массы.
Альтернативнымиметодами определения содержания углерода и водорода является метод сжигания привысокой температуре по ИСО 609 и ускоренный метод по разделу 5.

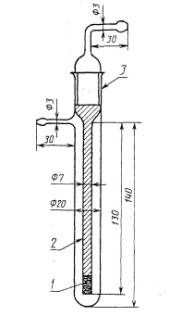
1 - стеклянная вата; 2 -диоксид .марганца; 3 -шлиф
Рисунок 1 -Предохранительная трубка
Пробу сжигают вмедленном токе кислорода (12 см3/мин) при условии продвижения зоны нагрева лодочкис навеской по ходу тока кислорода: продукты неполного сгораниядожигают над оксидом меди; весь водород превращается в воду, весь углерод - вдиоксид углерода. Эти продукты поглощают соответствующими реагентами иопределяют гравиметрически. Оксиды серы удерживаются хроматом свинца,хлор-серебряной сеткой, а оксиды азота - гранулированным диоксидом марганца.
Примечание: Оксиды азота,образующиеся в процессе горения, если не приняты специальные мерыпредосторожности, поглощаются натронным асбестом (или аскаритом) и определяются как диоксид углерода. Вызваннаяэтим ошибка при определении углерода (около 0,2 %) может быть снижена приприменении предохранительной трубки (рисунок 1), в которой газы проходят покольцеобразному пространству; монооксид азота окисляется до диоксида и поглощаетсядиоксидом марганца.
Если вода конденсируется в первом поглотителе,некоторое количество диоксида азота растворяется в ней и его принимают за воду.
Вызванная этимошибка при определении водорода с учетом коэффициента пересчета от воды кводороду незначительна и составляет около 0,05 % водорода. Этого можноизбежать, если нагреть поглотительную трубку до температуры, достаточной дляпредотвращения конденсации влаги.
4.1., 4.2. (Измененная редакция, Изм. № 1).
Все реактивы должны быть квалификации ч.д.а. Дляанализа применяют дистиллированную воду.
4.3.1. Перхлорат магния безводный Mg(ClO4)2, ангидрон, без пыли; частицы с размерами не более 1,2 мм, предпочтительноот 1,2 до 0,7 мм.
Допускается применять ангидрон с размерами частиц от0,7 до 3,0-4,0 мм в зависимости от вида применяемых сосудов в поглотительной иочистной системах (приложение).
Примечание: Не разрешается регенерировать ангидрон из-за его пожаро- ивзрывоопасности.
По мере отработки ангидрон оплавляется.
Отработанный ангидронследует вымыть из раковины струей воды.
4.3.2. Натронный асбест, аскарит, частицы с размером от 1,5 до 3,0, но неменее 1,2 мм. Допускается применятьаскарит с размером частиц от 0,7 до 3,0-4,0мм в зависимости от вида применяемыхсосудов в поглотительной и очистительной системах (приложение).
По мере отработки цвет аскарита изменяется отсветло-коричневого до белого.
4.3.1., 4.3.2.(Измененная редакция, Изм. № 1).
4.3.3. Диоксид марганца (МnО2) гранулированный.
Диоксид марганцаготовят из сульфата марганца, который растворяют в воде при кипячении,подщелачивают разбавленным раствором аммиака и в кипящий раствор добавляютнебольшими порциями порошкообразный персульфат аммония до полного осаждениядиоксида марганца. Осадок отфильтровывают через плотный фильтр, промываютдекантацией последовательно водой, разбавленной серной кислотой, и снова водойдо освобождения от серной кислоты. Мокрый осадок переносят в фарфоровую чашку,помещают в печь и выпаривают основную часть воды до влажного состояния осадка.Массу прессуют с помощью пестика, формуя лепешку, затем полностью высушивают,осторожно измельчают и просеивают для отделения частиц размером от 1,2 до 0,7мм.
4.3.4.Медная сетка сразмером отверстий приблизительно 1 мм, лента шириной 10 мм.
4.3.5. Оксид меди (II) в виде проволокидиаметром приблизительно 0,2 мм, нарезанной на кусочки длиной приблизительно 3мм, или гранулированный по ГОСТ 16539.
4.3.4., 4.3.5. (Измененная редакция, Изм. № 1).
4.3.6. Свинец хромовокислый (Pb CrО4) гранулированный или плавленый с размером частиц от 1,2до 2,4 мм (допускается до 5 мм).
Свинец хромовокислый плавленый, готовят изпорошкообразного хромовокислого свинца, который насыпают в фарфоровые тигли (неболее половины объема) и расплавляют в муфельной печи при температуре 850-900°С. Затем с помощью тигельных щипцов расплав быстро, но осторожно выпивают наметаллический противень. Застывшую массу измельчают до получения кусков от 1,2до 5 мм.
4.3.7. Сетка из чистого серебра сотверстиями размером 1 мм, изготовленная из проволоки диаметром 0,3 мм.
4.3.8. Кислород газообразный вбаллоне по ГОСТ5583, не содержащий водорода.
Кислород полученметодом глубокого охлаждения воздуха. Применение кислорода, полученного методомэлектролиза воды, не допускается
4.3.9. Диоксид свинца (IV) РbО2, гранулированный.
4.3.10. Вата стеклянная или хлопковаяпо ГОСТ 5556.
4.3.11. Кислота янтарная по ГОСТ 6341или бензойная по ГОСТ 10521, или сахароза по ГОСТ 5833, ч.д.а.
Кислоты янтарную, бензойную и сахарозу высушивают при105-110°С до постоянной массы и хранят в эксикаторе над осушающим веществом.
4.3.12. Асбест волокнистый,прокаленный при 850°С. Хранят в эксикаторе над осушающим веществом.
4.4.1 Очистительнаясистема. Для очистки кислорода от водяных паров и диоксида углерода собираютсистему, состоящую из U-образных трубок, наполненных следующими реагентами вустановленном порядке по ходу кислорода:
1 ангидрон (4.3.1.) для поглощения воды, содержащейсяв кислороде;
2 аскарит (4.3.2.) для поглощения диоксида углерода,содержащегося в кислороде;
3 ангидрон (4.3.1.) для поглощения воды, выделяющейсяпо реакции между диоксидом углерода и аскаритом.
В качестве сосудовочистительной системы применяют:
трубки стеклянные типа ТХ-И-2-(или 3)-200 по ГОСТ25336;
стеклянные типаСПЖ, СПТ и СН-1 или 2 по ГОСТ25336.
Вместимость сосудовдолжна быть достаточной для того, чтобы смену реагентов производить не чаще,чем через 100 определений.
(Измененная редакция, Изм. № 1).
4.4.2. Установка длясжигания.
4.4.2.1. Печи
Печи трубчатые электрические для раздельногонагрева отдельных частей трубки для сжигания. Установка для определенияуглерода и водорода. Состоит из трех печей, каждая из которых обеспечиваетустойчивый нагрев определенного участка трубки до заданной температуры: перваядо 925°С (для рабочей зоны печи 250 мм), вторая - до 800°С (500 мм), третья -до 500 °С (200 мм).
В середине кожуха каждой печи должно быть предусмотреноотверстие для помещения термопар диаметром 9-10 мм и глубиной 0,7-0,8 толщиныизоляционного слоя. Термопару укрепляют в отверстие так, чтобы ее горячий спайне касался дна отверстия.
4.4.2.2. Печь нагревательнаяэлектрическая (муфта) длиной 40-45 мм, обеспечивающая нагрев с 200°С илигазовая горелка, или спиртовка.
4.4.2.3.Трубка длясжигания из плавленого кварцевого или термостойкого стекла длиной 1,25лдиаметром от 12 до 15 мм.
Конец трубки, обращенный к поглотительной системе,может быть оттянут таким образом, чтобы наружный диаметр составил 4-5 мм привнутреннем 2-3 мм и длине 40-60 мм.
4.4.2.1. - 4.4.2.3. (Измененная редакция, Изм. № 1).
4.4.2.4. Лодочка для сжигания фарфоровая неглазурованная ЛС1 или ЛС2 по ГОСТ9147, иликварцевая, или платиновая длиной (70+10) мм. Лодочки прокаливают до постоянной массы и хранят в эксикаторе сосушающим веществом.
4.4.3.Поглотительная система
4.4.3.1.Устройство для поглощения воды и диоксида углерода, выделяющихся при сгораниепробы, состоит из сосудов, наполненных следующими реагентами в установленномпорядке по ток) газов.
1ангидрон (4.3.1.)для поглощения воды, выделяющейся в процессе сгорания;
2гранулированный диоксид марганца (4.3.3.)для поглощения диоксидов азота;
3ангидрон (4.3.1.)для поглощения воды, выделяющейся при взаимодействии диоксида марганца соксидами азота;
4 аскарит(4.3.2.) для поглощения диоксидауглерода;
5ангидрон (4.3.1.)для поглощения воды, выделяющейся по реакции между диоксидом углерода иаскаритом.
4.4.3.2.Типичная поглотительная система, представленная на рисунке 2, состоит из трубкиМидвейла (рисунок 3). Диоксид углерода поглощается в сосуде D, ангидрон в верхней части сосудаD служит для поглощения воды,выделяющейся по реакции между диоксидом углерода и аскаритом. Для уверенности вполноте поглощения диоксида углерода в поглотительную систему помещают второйабсорбер Е с аскаритом.
4.4.3.1., 4.4.3.2. (Измененная редакция, Изм. № 1).
4.4.3.3. Вместо трубок Мидвейла в качестве сосудовпоглотительной системы разрешается использовать трубки стеклянные типа ТХ-И-2(или 3)-150 по ГОСТ25336.

1 - стеклянная вата; 2- ангидрон;3 - диоксид марганца; 4- аскарит
Рисунок 2 - Поглотительнаясистема
4.4.3.4. Сосуды поглотительной системы должны отвечать следующим требованиям:
поглощениеобразующихся паров воды и диоксидауглерода должно быть полным;
масса сосуда споглотителем не должна превышать 190 г.
4.4.4. Регуляторскорости потока кислорода. Обычно достаточноиспользовать редуктор на кислородном баллоне и игольчатый клапан непосредственно перед очистительнойсистемой, обеспечивающей тонкуюрегулировку подачи газа.
4.4.4.1. Реометр стеклянный лабораторный для контроля за скоростью потокакислорода до 100 см3/мин по ГОСТ9932.
(Измененнаяредакция, Изм. № 1).
4.4.4.2. Для визуального определения скорости потока кислорода и предотвращенияпопадания атмосферной влаги в установку используют барботерное устройство.В качестве барботерного устройства применяют сосуд-счетчик пузырьков типа СН или СВТ по ГОСТ25336, заполненный концентрированнойсерной кислотой. Допускается заполнять счетчикпузырьков 1 %-ным раствором хлористого палладия для контроля за полнотой сгорания (в присутствии СО раствормутнеет и темнеет).
4.4.5.Весы аналитические с погрешностью взвешиванияне более 0,1 мг. Допускаетсяприменять весы с погрешностью взвешивания не более 0,2 мг.
4.4.6. Пробирка стеклянная спришлифованной пробкой для хранения лодочки с навеской (рисунок 4).
4.4.7. Тигель фарфоровый № 6 по ГОСТ9147.

1 - цветная отметка; 2- пустотелая пробка
Рисунок 3 -Трубка Мидвейла
1 - пробирка; 2 - шлиф; 3 - лодочка с навеской
Рисунок 4 - Пробиркадля хранения лодочки с навеской
Чашка фарфоровая № 7 по ГОСТ9147.
4.4.8. Крючок из жароупорной проволоки, с помощью которогопомещают и извлекают из трубки для сжигания лодочку и пробку из медной сетки.
4.4.9. Трубки резиновые с внутренним диаметром 2-3 мм по ГОСТ 5496.
4.4.10. Палочки стеклянные длиной 20-30 мм и диаметром 4-5 мм.
4.4.11. Преобразователь термоэлектрический по ГОСТ3044 (термопара) для измерения температуры до 1000°С с измерительным устройством.
4.4.12. Склянка 4 или 5-20 (газометр) по ГОСТ25336.
4.4.13. Пробка ввиде рулона из медной сетки (4.3.4.)длиной 10 мм для удержания реагентов в трубке для сжигания. Пробка должнаплотно прилегать к стенкам трубки.
4.4.14. Спираль из медной сетки (4.3.4.). Через центр спирали пропускаютмедную проволоку для облегчения удаления спирали из трубки для сжигания.
4.4.15. Спираль из серебряной сетки для поглощения хлора длиной100 мм. Через центр спирали пропускают серебряную проволоку для облегченияудаления спирали из трубки. Спираль должна плотно прилегать к стенкам трубкидля сжигания.
4.4.13. -4.4.15. (Введены дополнительно, Изм. № 1).
Для определенияуглерода и водорода используют аналитическую пробу топлива, измельченного до0,2 мм.
Аналитическую пробу топливаприготавливают в зависимости от вида топлива по ГОСТ10742, ГОСТ11303 или ГОСТ23083.
Пробувыдерживают в тонком слое минимально необходимое время для достиженияприблизительного равновесия между влагой пробы и влажностью атмосферы влаборатории.
Передвыполнением определения воздушно-сухую пробу тщательно перемешивают не менее 1мин, предпочтительно механическим способом. Одновременно проводят определениеаналитической влаги в зависимости от вида топлива по ГОСТ 27314, ГОСТ27589 или ГОСТ11305.
4.6.1. Подготовкатрубки для сжигания
4.6.1.1. В трубке для сжигания выделяюттри основные зоны: зона горения - незаполненная часть трубки, в которуюпомещают лодочку с навеской; зона доокисления - наполненная твердымокислителем, (оксид меди) для обеспечения полноты сгорания; зона очистки газовсгорания - наполненная для поглощения оксидов серы хромовокислым свинцом и дляпоглощения хлора - серебряной сеткой или диоксидом свинца. Эти зоны отдаляютдруг от друга пробками из окисленной медной сетки или прокаленного волокнистогоасбеста.
4.6.1.2. Установление температуры нагревавнутри трубки
Соответствиетемпературы, измеряемой термопарой, находящейся в кожухе печи, температуревнутри трубки для сжигания устанавливают с помощью контрольной термопары.
Контрольную термопарупомещают в пустую трубку так, чтобы ее спай находился в середине испытуемойзоны.
Постепенно нагреваяэлектропечь до необходимой температуры, записывают через каждые 10°С показаниятермопары, находящейся в кожухе, и соответствующие им показания контрольнойтермопары.
Для каждой печистроят график зависимости температуры в кожухе от фактической температурывнутри трубки сжигания.
4.6.1.3. Заполнениетрубки для сжигания
Заполнение трубкипроизводят с конца, обращенного к поглотительной системе.
Трубку для сжигания(4.4.2.3.) длиной 1,25 м,диаметром от 12 до 15 мм делят на участки следующих размеров (рисунок 5):
10 мм - длярезиновой пробки;
300 мм - пустоепространство; над этой частью трубки перемещают подвижную печь;
80 мм - для спиралииз медной сетки (4.4.14.);
70 мм - для лодочкис навеской;
50 мм - пустоепространство;
10 мм - для пробкииз медной сетки (4.4.13.);
450 мм - для оксидамеди (4.3.5.);
10 мм - для пробкииз медной сетки (4.4.13.);
100 мм - для хроматасвинца (4.3.6.);
10 мм - для пробкииз медной сетки (4.4.13.); .
100 мм - для спиралииз серебряной сетки (4.4.15.);
50 мм - пустоепространство; этот участок трубки снаружи покрывают теплоизоляционнымматериалом для предотвращения конденсации паров воды или помещают в печь(муфту) (4.4.2.2.);
10 мм - длятермостойкой пробки.
Распределениеучастков в трубке приведено на рисунке 5.

1 - резиновая пробка; 2 -пустое пространство; 3 - спираль из медной сетки; 4 - лодочка с навеской;
5- пустое пространство; 6, 8, 10- пробка в виде рулона из медной сетки; 7-оксид меди; 9 - хромат свинца; 11 - спираль из серебряной сетки; 12 - пустоепространство; 13 -термостойкая пробка
Рисунок 5 -Распределение участков в трубке для сжигания
Примечание: Спираль и пробки из медной сетки (4.3.4.) окисляют в токе кислорода во времяпредварительного нагревания трубки при подготовке ее к работе;
(Измененнаяредакция, Изм. № 1).
4.6.1.4., 4.6.1.5. (Исключены,Изм. № 1).
4.6.2. Газометр (4.4.12.) наполняют кислородом (4.3.8.).
4.6.3. Сборкаустановки
Кислород подают изгазометра (4.4.12.) или непосредственно из баллона.
Устанавливают печи (4.4.2.1.) так, чтобы первая находиласьнад спиралью из медной сетки (в начале трубки для сжигания по ходу кислорода),вторая - над оксидом меди, третья - над хромовокислым свинцом. Муфту (4.4.2.2.) помешают в конце трубки длясжигания над реактивами для поглощения хлора.
Первая печь можетсвободно перемешаться вдоль трубки.
Примечания:
1.В очистительной и поглотительной системах должны применяться одни и те жереактивы для поглощения воды и диоксида углерода.
2. При сборке установки все соединения выполняют встык «стекло кстеклу» при помощи толстостенной эластичной резиновой трубки. Боковые отводысосудов очистительной и поглотительной систем должны иметь одинаковый наружныйдиаметр.
(Измененнаяредакция, Изм. № 1).
4.6.4. Проверка установки нагерметичность
Для проверкиустановки на герметичность к трубке для сжигания присоединяют поглотительнуюсистему и пропускают ток кислорода (1-2 пузырька в секунду), не включая обогревпечей и закрыв открытый конец последнего по ходу кислорода сосуда с помощьюрезиновой трубки со вставленной в нее стеклянной палочкой.
В герметичнойсистеме через 3-4 мин ток кислорода через установку должен прекратиться. Еслиэто условие не обеспечивается, установку проверяют на герметичность по частям.Начинают с поглотительной системы, отъединяя сосуды один за другим, каждый раззакрывая свободный отросток крайнего сосуда пробкой со вставленной в неестеклянной палочкой. После устранения неисправности поглотительные сосудыприсоединяют к установке и систему вновь проверяют на герметичность.
4.6.5. Прокаливаниетрубки для сжигания. Прокаливание трубки для сжигания проводят для удалениявлаги и очистки реагентов от органических загрязнений.
К трубке длясжигания присоединяют барботерное устройство (счетчик пузырьков 4.4.4.2.). Нагревают печи, какуказано в 4.4.2.1. Прокаливаниетрубки ведут при скорости тока кислорода 12 см3/мин в течение 3-4 ч.
После заполнениятрубки для сжигания свежими реагентами каждый раз проверяют герметичностьсистемы, прокаливают трубку для сжигания в токе кислорода и проводятконтрольное определение. Предварительно приводят сосуды поглотительной системыв рабочее состояние.
4.6.6. Подготовка сосудовпоглотительной системы
После наполнениясосудов поглотительной системы свежими реагентами сосуды присоединяют кустановке, находящейся в рабочем состоянии, и продувают кислородом в течение 20мин. Скорость тока кислорода должна быть такой же, как при проведении анализа(12 см3/мин). Затем на концы соединительных отростков поглотительныхприборов надевают отрезки резиновых трубок, закрытых с одной сторонеоплавленными стеклянными палочками, и помещают около весов.
После продувкипоглотительные приборы должны находиться в рабочем состоянии (наполненыкислородом и отъединены от атмосферы).
Примечание: Продувка поглотительных приборов кислородом в течение 20 минявляется достаточной для доведения их массы до постоянного значения.
4.6.5., 4.6.6. (Измененнаяредакция, Изм. № 1).
4.6.7. Взвешивание поглотительныхприборов
Порядок взвешиванияпоглотительных приборов до и после анализа должен быть одинаковым.
Поглотительныесосуды следует взвешивать наполненными кислородом до и после определения(рабочее состояние приборов).
Перед взвешиванием поглотительные приборыдолжны находиться в рабочем состоянии около весов в течение 20 мин. Затемкаждый прибор протирают чистой тканью и быстро взвешивают, сняв на времявзвешивания резиновые трубки со стеклянными палочками. После взвешиванияприборы быстро закрывают с двух сторон резиновыми трубками со вставленными вних стеклянными палочками.
Целью контрольногоопыта является оценка чистоты, трубки для сжигания после прокаливания.
Присоединяют подготовленныепо 4.6.6. и взвешенные по 4.6.7. поглотительные приборы к установкеи пропускают ток кислорода (12 см3/мин) в течение 2 ч при рабочихтемпературах печей (4.4.2.1.).Поглотительные приборы снова взвешивают. Изменение массы сосудов не должнопревышать ±0,5 мг. В противном случае продолжают прокаливать трубку дополучения указанных изменений массы поглотительных приборов.
(Измененнаяредакция, Изм. № 1).
4.7.1. Для проверкиготовности установки к проведению анализов сжигают химически чистое веществоизвестного состава (4.3.11.).
Содержание углеродаи водорода не должно отличаться от известного состава вещества более чем на0,25 % для водорода и 0,50 % - для углерода.
При проведении анализа режим сжигания навески регулируется:
изменением положения первой печи по отношению к лодочке с навескойили
изменением температуры первой печи с одновременнымизменением положения этой печи по отношению к лодочке с навеской.
4.8.1. Проведение анализа с использованием первогорежима сжигания
4.8.1.1. Ежедневно вначале определения температуру печей поднимают до (925±10), (800±10),(500±10)°С соответственно.
Устанавливаютскорость тока кислорода 12 см3/мин.
Присоединяют приборыпоглотительной системы, продувают кислородом в течение 20 мин, отсоединяют их ивзвешивают. Первую печь выключают и охлаждают.
Взвешенныепоглотительные приборы присоединяют к трубке для сжигания.
Помещают лодочку испираль из медной сетки в трубку для сжигания, соединяют трубку с очистительнойсистемой и пропускают ток кислорода со скоростью 12 см3/мин.
Включают первую печьи начинают сжигание, нагревая спираль из медной сетки. Когда температура печидостигает 800°С,постепенно начинают перемещать печь вперед (по ходу кислорода), чтобы покрытьлодочку с навеской.
В процессе сжиганиясохраняют равномерный ток кислорода по всей системе.
Продолжаютнагревание до тех пор, пока весь видимый углерод не исчезнет и участок трубкидля сжигания, в котором находится проба, не достигнет температуры 925°С.
После окончаниясгорания первую печь выключают, охлаждаютвыходной конец трубки для сжигания, отсоединяют поглотительные приборы и взвешивают их.
Примечание: Для полного сгорания пробугля обычно достаточно 2ч, для большинства видов кокса - 1ч.
Тщательно исследуютзолу в лодочке. При обнаружении несгоревшихчастиц анализ повторяют.
4.8.1.1., 4.8.1.2. (Измененнаяредакция, Изм. № 1).
4.8.2. Проведение анализа с использованием второго режима сжигания
4.8.2.1.Установку приводят в рабочее состояние:
первую печь помещаютнад спиралью из медной сетки и устанавливают температуру первой печи взависимости от выхода летучих веществ анализируемого вещества: 300°С при Vdaf более 15% и 400°С при Vdaf менее 15 %;
температуру второйпечи устанавливают (800±10)°С итретьей - (500±10)°С; прианализе топлива с массовой долей хлора менее 0,2 % температуру муфты - 105-110°С, более 0,2 % - (200±10)°С припоглощении хлора диоксидом свинца и(150±10)°С - при поглощении хлора серебряной сеткой;
устанавливаютскорость тока кислорода 12 см3/мин.
(Измененная редакция, Изм. № 1).
4.8.2.2.До начала определения, но после приведения установки в рабочее состояние(4.8.2.1) присоединяют поглотительные приборы и продувают их кислородом в течение 20 мин, затем отсоединяют ивзвешивают.
Взвешивают навеску0,2-0,3 г топлива по 4.8.1.2,помещают лодочку с навеской в пробирку для хранения (рисунок 4) и закрывают пробкой.
4.8.2.3.Анализ начинают, присоединяя взвешенные поглотительные приборы, и сосуд-счетчикпузырьков для контроля за скоростью тока кислорода.
Открывают трубку длясжигания со стороны, обращенной к очистительной системе, вынимают спираль измедной сетки. Помещают в трубку лодочку с навеской между первой и второй печью,снова вставляют спираль из медной сетки и плотно соединяют трубку с очистительной системой.
(Измененная редакция, Изм. № 1).
4.8.2.4.Процесс сжигания навески регулируют изменением температуры первой печи иположением этой печи по отношению к лодочке с навеской (таблица).
Таблица
| Vdaf | У переднего края лодочки | Надвинута на 1/3 длины лодочки | Надвинута на 2/3 длины лодочки | Полностью закрывает лодочку | ||||
| Время, мин | Температура, °С | Время, мин | Температура, °С | Время, мин | Температура, °С | Время, мин | Температура, °С | |
| До 15 Свыше 15 | 5 5 | 400 300 | 60 40 | 400-700 300-600 | 10 10 | 700-925 600-925 | 60 40 | 925 925 |
Примечания:
1.Температуру печей повышают равномерно в течение времени, указанного в таблице.
2. В период интенсивного горения навески скорость тока кислорода впоглотительной системе резко снижается. Для сохранения равномерного токакислорода в системе в этот период увеличивают скорость подачи кислорода, доводяее в поглотительной цепи до 2-3 пузырьков в секунду.
4.8.2.5.За 10 мин до окончания испытания первую печь вплотную пододвигают ко второй, анагретую муфту постепенно передвигают к концу трубки, сгоняясконденсировавшуюся влагу в сосуд для поглощения воды.
При содержании хлораменее 0,2% вместо муфты можноиспользовать газовую горелку или спиртовку для предотвращения конденсации влагив трубке.
4.8.2.6.После полного сгорания пробы первую печь помещают над спиралью из медной сетки,которую прокаливают несколько минут, а затем первую печь выключают.
Поглотительныесосуды отсоединяют, закрывают боковые отводы резиновыми трубками совставленными в них оплавленными стеклянными палочками и взвешивают (4.6.7.).
После отсоединениясосудов открытый конец трубки для сжигания немедленно соединяют с сосудом -счетчиком пузырьков, наполненным серной кислотой.
Открывают трубку длясжигания со стороны очистительной системы и с помощью крючков из жаропрочнойпроволоки осторожно вынимают лодочку. Лодочку освобождают от золы. Приобнаружении несгоревших частиц анализ повторяют.
4.8.2.7. Уменьшаютток кислорода, выключают электрический ток в печах и после полного остыванияпечей прекращают подачу кислорода.
При проведении сериианализов после окончания сжигания пробы температуру первой печи снижают до300-400°С, первую печь оставляют над спиралью из медной сетки, подачу кислородане прекращают.
Установка находитсяв рабочем состоянии и полностью готова для проведения следующего определения.
4.8.2.6., 4.8.2.7. (Измененная редакция, Изм. № 1).
4.9.1. Массовую долю общего углерода ваналитической пробе топлива (
) в процентах вычисляют по формуле
![]()
где m1 - масса навески топлива, г;
m2 - суммарное увеличение массы сосудов,предназначенных для поглощения диоксида углерода, г;
0,2729 - коэффициентпересчета массы СО2 на С.
Массовую долюорганического углерода в аналитической пробе топлива (
) в процентах вычисляют по формуле
![]()
где (СО2)а- массовая доля диоксида углерода карбонатов в аналитической пробе топлива,определяемая по ГОСТ13455, %.
Примечание: Расчет коэффициента,используемого в формуле, приведен в пункте Б.2.приложения Б.
4.9.2. Массовую долю общего водорода в аналитической пробе топлива (
) в процентах вычисляют по формуле

где m3 - увеличение массы сосуда,предназначенного для поглощения влаги, г;
0,1119 - коэффициентпересчета массы Н2О на Н;
Wa - массовая доля влаги в аналитической пробе топлива,определяемая по 4.5., %. Массовую долюорганического водорода в аналитической пробе топлива
в процентах вычисляютпо формуле
![]()
где
- массовая доля гидратной влаги ваналитической пробе топлива, %.
Примечание: Расчет коэффициента, используемого в формуле, приведен вприложении Б (пункт Б.3.).
4.9.1., 4.9.2. (Измененная редакция, Изм. № 1).
4.9.3. За результатопределения принимают среднее арифметическое результатов двух определений(4.10.) с точностью до 0,1% при определении массовой доли углерода и сточностью до 0,01% при определении массовой доли водорода.
4.9.4. Пересчетрезультатов определения массовой доли углерода и водорода на другие состояниятоплива производят по ГОСТ27313.
| Элемент | Максимально допустимое расхождение между результатами (для одинаковой массовой доли влаги), % | |
| Сходимость (в одной лаборатории) | Воспроизводимость (в разных лабораториях) | |
| Углерод Водород | 0,25 0,12 | 0,50 0,25 |
Измененнаяредакция, Изм. № 1).
4.10.1. Сходимость
Результатыдвух измерений, выполненных в разное времяв одной и той же лаборатории, одним лаборантом при использовании одной и той жеаппаратуры на предварительных навесках, взятых из одной и той же аналитическойпробы, не должны отличаться более чем на значение, указанное в таблице.
4.10.2.Воспроизводимость
Среднее значениерезультатов двух измерений, выполненных в двух разных лабораториях напредставительных навесках, взятых из одной и той же пробы после последнейстадии ее приготовления, не должны отличаться более чем на значение, указанноев таблице.
4.10.3. Если расхождение между результатами двухопределений превышает значения, приведенные в таблице, проводят третьеопределение. За результат принимают среднее арифметическое значение двухнаиболее близких результатов в пределах допускаемых расхождений.
Если результаттретьего определения находится в пределах допускаемых расхождений по отношениюк каждому из двух предыдущих результатов, за окончательный результат анализа принимаютсреднее арифметическое значение результатов трех определений.
Протоколиспытания должен включать следующую информацию:'
а) ссылкуна применяемый метод;
б)результаты и способ их выражения;
в)особенности, замеченные при определении;
г)операции, не включенные в настоящий стандарт или необязательные.
Ускоренный метод определения углерода иводорода основан на полном сжигании навески топлива в быстром токе кислорода(180-200 см3/мин) в присутствии твердого окислителя (оксид меди илихрома), при условии продвижения зоны нагрева лодочки с навеской навстречу токукислорода и последующем гравиметрическом определении массы образующихся приэтом диоксида углерода и воды.
В отличие от метода Либиха впроцессе сжигания не образуются оксиды азота в количествах, мешающихопределению углерода и водорода (примечание к 4.2.).
Все реактивы должны быть квалификации ч.д.а.Для анализа применяют дистиллированную воду.
5.3.1. Перхлорат магния, ангидрон по 4.3.1.
5.3.2. Натронный асбест, аскарит по 4.3.2.
5.3.3. Медная сетка по 4.3.4.
5.3.4. Оксид меди (II) (CuO) в виде проволоки или гранулированный по 4.3.5.
5.3.5. Оксид меди (II) (CuO)порошкообразный по ГОСТ16539; прокаливают при 800°С в течение 2 чи хранят в эксикаторе над осушающим веществом.
5.3.6. Аммоний хромовокислый по ГОСТ 3774 или аммонийдвухромовокислый по ГОСТ 3763для приготовления порошкообразного и гранулированного оксида хрома.
Хромовокислый илидвухромовокислый, аммоний помещают в фарфоровую чашку и нагревают наэлектрической плитке до образования оксида хрома. Полученный оксид хромарастирают и прокаливают в муфельной печи при 750-800°С в течение 1,5-2 ч.Хранят в банке с притертой крышкой в эксикаторе над осушающим веществом.
Для приготовлениягранулированного оксида хрома порошок прессуют в брикеты, измельчают до размерачастиц 3-5 мм, отсеивают мелочь и хранят в стеклянной банке с притертой пробкойв эксикаторе.
5.3.7. Свинецхромовокислый по 4.3.6.
5.3.8. Сеткасеребряная по 4.3.7.
5.3.9. Диоксидсвинца (IV) (PbO2) по 4.3.9.
5.3.10. Ватастеклянная или хлопковая по 4.3.10.
5.3.11. Кислота янтарная, бензойная илисахароза по 4.3.11.
5.3.12. Асбестволокнистый по 4.3.12.
5.3.13. Кислота серная по ГОСТ 4204,плотностью 1,84 г/см3.
5.3.14.Калия гидроксидпо ГОСТ24363, 40 %-ный раствор.
5.3.15. Кислородгазообразный по 4.3.8.
5.4.1. Трубка длясжигания из плавленого кварцевого или термостойкого стекла длиной от 750 до1000 мм, внутренним диаметром от 15 до 20 мм и толщиной стенок 1,5-2,5 мм.
5.4.2. Лодочки для сжигания по 4.4.2.4.
5.4.3. Печи трубчатые электрические по 4.4.2.1.
Допускается использовать электрическиепечи для микроанализа типа СУОЛ 0,25.1/12 МР с длиной рабочей зоны 110 мм и внутреннимдиаметром 25 мм. В этом случае установка для определения углерода и водородаускоренным методом состоит из четырех печей, длина рабочих зон которых,соответственно, составляет: 1-й - 110 мм, 2-й (две печи) - 220 мм, 3-й - 110мм.
5.4.4. Печь электрическая (муфта) по 4.4.2.2.
5.4.5. Реометр стеклянный лабораторныйдля поддержания постоянной скорости тока кислорода от 180 до 220 см3/минпо ГОСТ 9932.
5.4.6. Вентиль запорно-регулировочный сигольчатым затвором, обеспечивающий тонкую регулировку подачи кислорода избаллона в установку.
5.4.7. Сосуд-счетчик пузырьков по 4.4.4.2.
5.4.8. Весыаналитические по 4.4.5.
5.4.9. Пробиркастеклянная по 4.4.6.
5.4.10. Тигельфарфоровый по 4.4.7.
5.4.11. Крючок изжаропрочной проволоки по 4.4.8.
5.4.12. Трубкирезиновые по 4.4.9.
5.4.13. Палочкистеклянные по 4.4.10.
5.4.14.Термопреобразователь (термопара) по 4.4.11.
5.4.15. Устройстводля очистки кислорода от воды и диоксида углерода (далее - очистительнаясистема), состоящее из сосудов, наполненных соответствующими реагентами.
В качестве сосудовочистительной системы применяют трубки стеклянные типа TX-U-2-200 по ГОСТ25336, склянки типа СВТ и СН-2 по ГОСТ25336.
Вместимость сосудовдолжна быть достаточной для смены реагентов не чаще, чем через 100 определений.
5.4.16. Устройстводля поглощения воды и диоксида углерода, выделяющихся при сжигании пробы (далее- поглотительная система), состоящее из сосудов, наполненных соответствующимиреагентами.
Сосудыпоглотительной системы должны отвечать следующим требованиям:
поглощениеобразующихся паров воды и диоксида углерода должно быть полным;
масса сосуда споглотителем не должна превышать 190 г.
В качестве сосудовпоглотительной системы применяют трубки стеклянные типа TX-U-2-15C по ГОСТ25336 для сухих поглотителей и приборы ПС и ПГ по ГОСТ25336 для жидки; поглотителей.
5.6.1. Подготовка трубки для сжигания
5.6.1.1.По 4.6.1.1.
5.6.1.2.По 4.6.1.2.
5.6.1.3.Заполнение трубки для сжигания производят с конца, обращенного к поглотительнойсистеме.
Трубку для сжиганиядлиной 800 мм и внутренним диаметром от 15 до 20 мм делят на участки следующихразмеров:
10 мм - пространстводля резиновой пробки;
50 мм - свободноепространство;
10 мм - пробка измедной сетки;
150 мм -хромовокислый свинец;
10 мм - пробка измедной сетки;
350 - оксид меди илихрома в проволоке или гранулированный;
10 мм - пробка измедной сетки;
200 мм - свободноепространство, в котором помещают лодочку с навеской;
10 мм - пространстводля резиновой пробки.
При применениичетырех печей типа СУОЛ 0,25 1,1/12МР длина слоя хромовокислого свинца составляет 110 мм, а оксида меди или хрома- 220 мм.
При анализе топлива,содержащего более 0,2% хлора, всвободное пространство конца трубки, обращенного к поглотительной системе,помешают пробку из серебряной сетки длиной 30 мм или насыпают слой (20-30 мм)гранулированного диоксида свинца и вставляют пробку из медной сетки (10 мм).
Оба конца трубки длясжигания закрывают резиновыми пробками со вставленными в них оплавленными наконцах стеклянными палочками.
5.6.1.4.Масса оксида меди или хрома должна быть не менее 50 г, а хромовокислого свинца- не менее 25 г. В этом случае достигается проведение не менее 100 определенийбез замены реагентов.
5.6.2. Сборка очистительной системы
Наполняют сосудыочистительной системы поглотителями и устанавливают их в следующем порядке походу кислорода:
ангидроном (5.3.1.) или серной кислотой (5.3.13.) - для поглощения влаги, содержащейся вкислороде;
аскаритом (5.3.2.) или раствором гидроксида калия (5.3.14.) - для поглощения диоксидауглерода, содержащегося в кислороде;
ангидроном илисерной кислотой - для поглощения воды, выделяющейся при реакции между диоксидомуглерода и аскаритом или из раствора гидроксида калия.
5.6.3. Сборка поглотительнойсистемы
Наполняют сосудыпоглотительной системы соответствующими поглотителями и устанавливают их вследующем порядке по ходу газов сгорания:
ангидроном (5.3.1.) или серной кислотой (5.3.13.) - для поглощения воды, выделяющейся при сгорании топлива;
аскаритом (5.3.2.) или раствором гидроксида калия (5.3.14.) - для поглощения диоксидауглерода, выделяющегося при сгорании топлива. Для обеспечения полнотыпоглощения диоксида углерода последовательно соединяют два сосуда, причем второйявляется контрольным.
Для поглощения воды,выделяющейся при реакции между диоксидом углерода и аскаритом или из растворагидроксида калия контрольный сосуд (всегда U-образная трубка) на 1/3заполняют ангидроном.
Примечания:
1. В очистительной и поглотительной системах должны применятьсяодни и те же реактивы для поглощения воды и диоксида углерода, так как разнаяупругость пара над жидкими и твердыми веществами может привести к погрешности вопределении.
2. При сборкеустановки все соединения выполняют встык «стекло к стеклу», при помощитолстостенной эластичной резиновой трубки. Боковые отводы сосудов очистительнойи поглотительной систем должны иметь одинаковый наружный диаметр.
5.6.4. Подготовка сосудов поглотительной системы
После наполненияпоглотительных сосудов свежими реагентами их присоединяют к установке,находящейся в рабочем положении (5.7.2), и продувают кислородом в течение 20 мин. Скорость токакислорода должна быть такой же, как при проведении анализа (180-200 см3/мин).Затем на концы соединительных отростков поглотительных приборов надеваютотрезки резиновых трубок, закрытых с одной стороны оплавленными стекляннымипалочками.
После продувки поглотительные приборынаходятся в рабочем состоянии, (наполнены кислородом и отъединены отатмосферы).
Примечание: Продувка поглотительных приборов (с жидкими и сухими реагентами)в течение 20 мин является достаточной для доведения их массы до постоянногозначения.
5.6.5. Взвешивание поглотительныхприборов
Порядок взвешивания поглотительныхприборов до и после анализа должен быть одинаковым.
Поглотительные приборы следует взвешиватьнаполненными кислородом. Перед взвешиванием поглотительные приборы должнынаходиться около весов в течение 20 мин. Затем каждый прибор быстро взвешивают,сняв на время взвешивания резиновые трубки со стеклянными палочками. Послевзвешивания приборы быстро закрывают с двух сторон резиновыми трубками совставленными в них стеклянными палочками.
5.6.6. Сборка установки
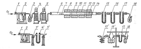
Установку для определенияуглерода и водорода собирают в соответствии со схемой, приведенной на рисунке6.
1 - кран тонкойрегулировки расхода кислорода; 2 - реометр;3-5, 3'-5' - система очисткикислорода;
3 - сосуд с серной кислотой; 4- сосуд с аскаритом; 5 - сосуд с ангидроном; 3' - склянка с 40 %-ным раствором КОН; 4' - U-образная трубкас аскаритом; 5' - склянка с серной кислотой; 6- трубка для сжигания; 7- лодочка с навеской; 8, 9, 11, 12- электропечи типа СУОЛ0,25. 1,1/12 МР; 10 - оксидмеди или хрома; 13 - хромовокислыйсвинец; 14- пробка из меднойсетки или прокаленного асбеста;
15-18 - поглотительная система с твердыми поглотителями; 15 - U-образная трубка с ангидроном;
16, 17 - U-образные трубкис аскаритом; 18- склянка ссерной кислотой; 15'-18 - поглотительнаясистема с жидкими поглотителями; 15' -ПС с серной кислотой; 16' - ПГс гидроксидом калия
Рисунок 6 - Схемаустановки для определения углерода и водорода ускоренным методом
Подачу кислородаосуществляют непосредственно из баллона через игольчатый вентиль (5.4.6.) и реометр (5.4.5.).
Если установкасостоит из трех печей (5.4.3.), то вторуюпечь помещают над оксидом меди (или хрома), третью - над хромовокислым свинцом,а первую - вплотную ко второй над свободным пространством трубки.
Если установкасостоит из четырех печей типа СУОЛ 0,25.1,1/1,2 МР, то вторую и третью печьпомещают над оксидом меди (или хрома), четвертую - над хромовокислым свинцом, апервую - вплотную ко второй над свободным пространством трубки.
Прианализе топлив с содержанием хлора более 0,2 % в конце трубки для сжигания надпоглотителями хлора помещают электрическую муфту (5.4.4.).
Первая печь можетсвободно перемещаться вдоль трубки. Остальныепечи остаются неподвижными в ходе анализа.
После заполнениятрубки для сжигания свежими реагентами проверяют герметичность системы,прокаливают трубку для сжигания в токе кислорода и проводят контрольноеопределение.
5.6.7. Проверкаустановки на герметичность - по 4.6.4.
5.6.8. Прокаливаниетрубки для сжигания
Трубку для сжиганияпрокаливают для удаления влаги и очистки реагентов от органических загрязнений.
К трубке длясжигания присоединяют сосуд-счетчик пузырьков (5.4.7.). Нагревают печи до температур, указанных в 5.4.3. Прокаливание трубки ведут прискорости тока кислорода 180-200 см3/мин в течение 3-4 ч.
Целью контрольногоопределения является оценка чистоты трубки для сжигания после прокаливания.
Присоединяют кустановке подготовленные по 5.6.4. ивзвешенные по 5.6.5. поглотительныеприборы и пропускают ток кислорода (180-200 см3/мин) в течение 20 минпри рабочих температурах печей. Поглотительные приборы снова завешивают.Изменение массы сосудов не должно превышать ±0,5 мг. В противном случаепродолжают прокаливание трубки до получения указанных изменений массыпоглотительных приборов.
5.7.1. Для проверкиготовности установки к проведению анализа сжигают химически чистое веществоизвестного состава (5.3.11.).
Содержание углеродаи водорода не должно отличаться от известного состава вещества более чем на0,25 % для водорода и 0,50 % - для углерода.
5.8.1.Навеску топлива массой 0,2-0.3 г. взятую из тщательно перемешаннойаналитической пробы, помещают во взвешенную лодочку (5.4.2.). Топливо равномерно распределяют по дну лодочки.
Поверхнавески насыпают порошкообразный оксид меди или хрома (5.3.5., 5.3.6.)до верхнего края лодочки и слегка уплотняют.
Лодочку с навескойпомещают в пробирку для хранения (рисунок 4)и закрывают пробкой.
5.8.2.Установку для ускоренного определения углерода и водорода (рисунок 6) приводят в рабочее состояние:
печь 1 вплотнуюпридвигают к печи 2 и устанавливают температуру в печи 1 в зависимости отвыхода летучих веществ анализируемого вещества: (350 ± 10)°С при Vdaf более 15 % (кроме горючихсланцев) и (925 + 10)°С при Vdaf менее 15 %:
температуру печи 2или 2 и 3, если используют печи типа СУОЛ, устанавливают (800±10)°С;
температуру печи 3(или 4) устанавливают (500±10)°С;
при анализе топлив ссодержанием хлора более 0.2 % над поглотителем хлора помещают электрическуюмуфту и устанавливают температуру (200±10)°С при поглощении хлора диоксидомсвинца и (150±10)°С - при поглощении хлора серебряной сеткой;
устанавливаютскорость тока кислорода 180-200 см3/мин.
5.8.3. Доначала определения, но после приведения установки в рабочее состояние по 5.8.2.присоединяют поглотительные приборы (5.6.3.)и продувают их кислородом в течение 20 мин, отсоединяют и взвешивают (5.6.5.).
5.8.4. Анализначинают, присоединяя взвешенные поглотительные приборы. Затем открывают трубкудля сжигания со стороны, обращенной к очистительной системе, помещают в трубкулодочку с навеской на расстоянии 1-2 см от переднего края печи 1 и плотносоединяют трубку с очистительной системой.
5.8.5.Процесс сжигания навески регулируют только изменением положения печи 1.Положение печей 2, 3 (или 4) и муфты не меняют в течение всего определения.
5.8.6.Передвигают печь 1 навстречу току кислорода с такой скоростью, чтобы через 2мин после начала сжигания лодочка находилась в центре рабочей зоны печи.Продолжительность сжигания в этом положении 6-10 мин. Затем в течение 1 минпередвигают печь навстречу току кислорода до начала трубки.
Для тогочтобы полностью вытеснить газы сжигания из трубки, передвигают печь 1 по токукислорода, выдерживая ее 4-5 мин над лодочкой и за 2-3 мин перемещая ее висходное положение (вплотную печи 2). Общая продолжительность сжиганиясоставляет около 20 мин.
5.8.7.При быстром токе кислорода (180-200 см3/мин) влага обычно неконденсируется на конце трубки для сжигания, но иногда может быть обнаруженавнутри соединительного отростка первого поглотительного прибора. Гарантиейполноты поглощения влаги является нагрев конца трубки и соединительного отросткапервого поглотительного прибора с помощью газовой горелки, спиртовки или муфты.При анализе топлива с содержанием хлора менее 0,2 % устанавливают температурумуфты 105-110°С.
5.8.8.Поглотительные сосуды отсоединяют, закрывают боковые отводы резиновыми трубкамисо вставленными в них оплавленными стеклянными палочками и взвешивают по 5.6.5.
После отсоединенияпоглотительных приборов открытый конец трубки для сжигания немедленно соединяютс сосудом-счетчиком пузырьков, наполненным серной кислотой (5.3.13.).
5.8.9.Открывают трубку для сжигания со стороны очистительной системы и с помощьюкрючка из жаропрочной проволоки осторожно вынимают лодочку. Лодочку освобождаютот золы и порошка оксида меди или хрома.
Оксид меди можно использовать повторно послепрокаливания при 800°С в течение 2 ч (5.3.5.).
5.8.10.Уменьшают ток кислорода, включают электрический ток в печах и после полногоостывания печей прекращают подачу кислорода.
При проведении сериианализов после окончания сжигания пробы печи и кислород не выключают, печь 1оставляют плотно придвинутой к печи 2. Установка находится в рабочем состояниии полностью готова для проведения следующего определения.
Сосуды тщательно моют и высушивают. На концысоединительных отростков сосудов надевают отрезки резиновых трубок, закрытых содной стороны оплавленными стеклянными палочками.
Заполнение сосудов сухими реагентами.
Внутри сосудов перед соединительнымиотростками помещают небольшой слой стеклянной или хлопковой ваты. Чистые сухие сосудынаполняют соответствующими, желательно гранулированными поглотителями. Нерекомендуется применять только мелкие гранулы, так как возникает большоесопротивление току газа. При использовании крупных гранул достижение полнотыпоглощения затруднительно.
Сосуды для поглощения диоксида углеродазаполняют на 2/3 реагентом для поглощения диоксида углерода и на 1/3 -реагентом для поглощения воды. Между первым и вторым поглотителем помещают слойваты.
Заполнение сосудов жидкими поглотителями.
Прибор ПГ (кали-аппарат) заполняют 40 %-нымраствором гидроксида калия, прибор ПС (змеевик) - концентрированной сернойкислотой.
Боковой отросток сосуда, соединенный свнутренней трубкой, опускают в раствор гидроксида калия, а на второй отростокнадевают резиновую трубку с грушей. Засасывают раствор щелочи с помощью груши,заполняя целиком один грушевидный сосуд. Затем, используя грушу, распределяютщелочь по всем грушевидным сосудам на 2/3 их высоты.
Прибор ПС заполняют кислотой через отростокбез капилляра так, чтобы был заполнен только нижний виток. На отросток скапилляром надевают резиновую трубку с грушей.
Конец бокового отростка, черезкоторый производилось заполнение сосуда реактивом, тщательно протирают фильтровальной бумагойвнутри и снаружи
Б.1. Общие сведения
При расчетах использованы относительныеатомные массы элементов: углерод (С)-12,011; водород (Н) - 1,008; кислород (О)- 15,999.
В формулах относительные атомные имолекулярные массы обозначены химическими символами в квадратных скобках:
Массовую долю общего углерода в анализируемойпробе (
) в процентах вычисляют по формуле
![]()
где m2 - суммарноеувеличение массы сосудов, предназначенных для поглощения диоксида углерода, г;
m1 - массанавески, г.
Следовательно
![]()
Массовую долю общего водорода в анализируемойпробе (
) в процентах вычисляют по формуле

где m3 - увеличениемассы сосуда, предназначенного для поглощения влаги, г;
ml -масса навески, г;
Wa - массовая доля влагив аналитической пробе, %.
Следовательно

ПРИЛОЖЕНИЕ Б (Введено дополнительно, Изм. №1).
Ключевые слова: топливо твердое, методы определения углерода, водорода