Настоящий стандарт распространяется на бумажные мешки, предназначенные для сыпучей и штучной продукции.
| Обозначение: | ГОСТ 2226-88* |
| Название рус.: | Мешки бумажные. Технические условия |
| Статус: | действующий |
| Заменяет собой: | ГОСТ 2226-75 |
| Дата актуализации текста: | 01.01.2009 |
| Дата добавления в базу: | 10.11.2009 |
| Дата введения в действие: | 01.01.1990 |
| Разработан: | Госснаб СССР |
| Утвержден: | Госстандарт СССР (29.06.1988) |
| Опубликован: | ИПК Издательство стандартов № 1999 |
МЕЖГОСУДАРСТВЕННЫЙ СТАНДАРТ
МЕШКИ БУМАЖНЫЕ
Техническиеусловия
ГОСТ 2226-88
ИПК ИЗДАТЕЛЬСТВО СТАНДАРТОВ
Москва
МЕЖГОСУДАРСТВЕННЫЙСТАНДАРТ
| Технические условия Paper bags. Specifications | ГОСТ |
Дата введения 01.01.90
Настоящий стандартраспространяется на бумажные мешки, предназначенные для сыпучей и штучнойпродукции.
Обязательные требованияизложены в пп. 1.2.2; 1.2.13; 1.2.14, 3.1.
(Измененная редакция, Изм. №1, 2).
(Измененная редакция, Изм.№ 3)
1.1. Основныепараметры и размеры
1.1.1. Мешки изготовляют двух типов: склеенные и сшитые.
Мешки обоих типов изготовляют с открытой или закрытой(с клапаном) горловиной, как указано на черт. 1 - 9.
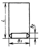
В - ширина мешка с развернутыми фальцами; В1 - ширинамешка; L - длина мешка; В2- ширина дна, наружная ширина клапана в склеенных мешках; В3- ширина фальца в мешках; h - высота клапана
Примечание. По согласованию с потребителем допускается изготовлятьмешки со склеенным и сшитым дном и верхом
Мешок склеенный открытый плоский с подвернутым дном

Черт. 6
Мешок склеенный открытый с фальцами и подвернутым дном

Черт. 7
Мешок склеенный закрытый с фальцами, прямоугольным дном игорловиной

Черт. 8
Мешок сшитый плоский закрытый

(Измененная редакция, Изм. № 3 )
1.1.2. Мешки изготовляют марок, указанных в табл. 1.
Таблица 1
| Характеристика | Применяемость | |
| НМ | Мешки непропитанные со всеми слоями из непропитанной мешочной бумаги | Для негигроскопичной продукции |
| БМ | Мешки битумированные с двумя или тремя слоями из битумированной мешочной бумаги и остальными слоями из непропитанной мешочной бумаги | Для малогигроскопичной продукции |
| ВМ | Мешки влагопрочные с одним-тремя слоями из влагопрочной бумаги и остальными слоями из непропитанной мешочной бумаги | Для продукции, транспортируемой в условиях повышенной влажности |
| ПМ | Мешки ламинированные с одним или двумя слоями из ламинированной полиэтиленом мешочной бумаги и остальными слоями из непропитанной мешочной бумаги | Для гигроскопичной продукции, пищевых продуктов, агрессивных химикатов, а также продуктов, не допускающих попадания в них волокон бумаги |
| БМП | Мешки комбинированные с одним слоем из битумированной мешочной бумаги, с одним слоем из ламинированной мешочной бумаги и остальными слоями из непропитанной мешочной бумаги | Для гигроскопичной продукции, агрессивных химикатов, а также продуктов, не допускающих попадания в них волокон бумаги |
| ВМБ | Мешки, комбинированные с одним или двумя слоями из влагопрочной мешочной бумаги, одним или двумя слоями из битумированной мешочной бумаги и остальными из непропитанной мешочной бумаги | Для малогигроскопичной продукции, транспортируемой в условиях повышенной влажности |
| ВМП | Мешки комбинированные с одним или двумя слоями из влагопрочной мешочной бумаги, с одним слоем из ламинированной мешочной бумаги и остальными слоями из непропитанной мешочной бумаги | Для гигроскопичной продукции, агрессивных химикатов, а также продуктов, не допускающих попадания в них волокон бумаги, транспортируемых в условиях повышенной влажности |
Марку применяемых мешковустанавливают в нормативных документах на конкретные виды продукции.
(Измененная редакция, Изм. №1, 2).
1.1.3. Общее количество слоев в мешках должно быть: от двух до шести воткрытых мешках и от трех до шести в закрытых мешках.
Расположение слоев избитумированной, влагопрочной и ламинированной полиэтиленом или другимиматериалами бумаги устанавливают по согласованию с потребителем.
Мешки всех марок, кромемарки НМ, относятся к влагопрочным.
(Измененная редакция, Изм.№ 3)
1.1.4. Размеры мешков должны соответствовать указанным в табл. 2.
Таблица 2
| Мешки склеенные | |||||||
| L | В | В1 | В2 | L | В | В1 | В2 |
| ±1,0 | ±0,5 | ±0,5 | ±0,5 | ±1,0 | ±0,5 | ±0,5 | ±0,5 |
| Открытые | |||||||
| 60 | 61,5 | 53,5 | 8 | 79 | - | 46,5 | 9,0 |
| 80 | 61,5 | 53,5 | 8 | 83 | 60,0 | 40,0 | 20,0 |
| 82 | 50,0 | 42,0 | 8 | 83 | 61,5 | 40,0 | 21,5 |
| 96 | 51,5 | 43,5 | 8 | 84 | - | 51,5 | 9,0 |
| 100 | 50,0 | 42,0 | 8 | 92 | - | 50,0 | 9,0 |
| 100 | 64,0 | 52,0 | 12 | 92 | - | 50,0 | 13,0 |
|
|
|
|
| 92 | - | 60,0 | 13,0 |
|
|
|
|
| 95 | 61,5 | 45,0 | 16,5 |
| 100 | 61,5 | 53,5 | 8 | 95 | 61,5 | 40,0 | 21,5 |
|
|
|
|
| 97 | - | 46,5 | 9,0 |
|
|
|
|
| 100 | - | 51,5 | 9,0 |
| Закрытые |
| ||||||
| 75 | 50,0 | 42,0 | 8 | 33 | - | 30,5 | 9,0 |
| 78 | 50,0 | 42,0 | 8 | 55 | - | 30,5 | 9,0 |
|
|
|
|
| 62 | - | 51,5 | 9,0 |
|
|
|
|
| 65 | - | 46,5 | 9,0 |
|
|
|
|
| 65 | - | 49,5 | 9,0 |
|
|
|
|
| 65 | - | 49,5 | 13,0 |
|
|
|
|
| 70 | - | 50,0 | 13,0 |
|
|
|
|
| 73 | - | 60,0 | 13,0 |
|
|
|
|
| 78 | - | 50,0 | 13,0 |
|
|
|
|
| 84 | - | 50,0 | 13,0 |
|
|
|
|
| 90 | - | 51,5 | 13,0 |
Примечание. Допускается по согласованию с потребителем изготовлять мешкидругих размеров.
(Измененная редакция, Изм. №1, 2).
1.2. Характеристики
1.2.1а. Мешки должны соответствовать требованиям настоящего стандарта итехнологическим регламентам.
(Введендополнительно, Изм. № 1).
1.2.1. Мешкиизготавливают из мешочной бумаги по ГОСТ 2228 или другихвидов бумаги по нормативным документам с показателями качества не нижепоказателей качества мешочной бумаги.
(Новая редакция, Изм. № 2).
(Измененная редакция, Изм.№ 3)
1.2.2. Мешки должны быть склеены клеем на основе крахмала или другимиклеями, обеспечивающими прочность мешка. Клей для мешков, предназначенных дляупаковывания пищевых продуктов, должен быть допущен к применению национальными органами здравоохранения.
(Измененная редакция, Изм.№ 2).
1.2.3. Продольный клеевой шов в мешке должен иметь нахлест не менее 1,0 см.
1.2.4. Склеенные мешки должны иметь с боковых сторон по одному наружномусгибу.
Склеенные открытые мешкиразмерами 83´40´20; 95´45´16,5; 83´40´21,5 и 95´40´21,5 см должны иметь сбоковых сторон фальцы. Расстояние между наружными сгибами у мешка размером 83´40´20 см должно быть 20 см, 95´45´16,5 - 16,5 см, у остальных- 21,5 см.
(Измененная редакция, Изм.№ 3)
1.2.5. Склеенные закрытые мешки должны быть изготовлены с клапаном,снабженным манжетой, или упрочняющим листом. Конструкция манжетыустанавливается по согласованию с потребителем. Длина манжеты должна быть неболее 18 см.
(Измененная редакция, Изм. №1).
1.2.6. По согласованию с потребителем склеенные закрытые мешки могут иметьсо стороны клапана точечную перфорацию, в верхней части склеенных открытыхмешков может быть нанесена точечная склейка слоев или вырубка для пальца.
1.2.7. Сшитые мешкиизготавливают с фальцами (черт. 4 и 5) или плоскими (черт. 9).
Высота вырубки клапанасшитого мешка должна быть (3 ± 0,5) см, ширина вырубки(6,5 ± 0,5) см, высота клапана h (черт.5) -(8,5 ± 0,5) см.
(Измененная редакция, Изм.№ 3)
1.2.8. При сшивке мешка должна применяться крепированная лента из бумаги,предусмотренной в п. 1.2.1. Лента должна выступать за края мешка не менее 2,5 см.
Ширина ленты должна быть дляшвов:
трехниточного (5 ± 0,5) см;
двухниточного (6 ± 0,5) см.
(Измененная редакция, Изм. №1).
1.2.9. Мешки должны быть сшиты трехниточным швом. Для мешков должныприменяться хлопчатобумажные нити по ОСТ 17-155 - две прошивочные 50 текс ´ 5 (№ 20/5) для открытых, 50 текс ´ 6 (№ 20/6) для закрытых и одна прокладочная 200 текс ´ 3 (№ 5/3) для открытых и закрытых мешков, а также хлопчатобумажные исинтетические нити по нормативным документам, обеспечивающие прочность сшивки мешка.
Допускается открытые мешкипрошивать двухниточным швом, при этом взамен прокладочной нити должнаприменяться двойная полоска бумажной крепированной ленты.
Допускается открытыетрехслойные мешки размером 100´42, 80´53,5 и 60´53,5 см, предназначенные дляупаковывания продукции массой не более 20 кг, прошивать двухниточным швом безприменения прокладочной нити и двойной полоски бумажной крепированной ленты приусловии обеспечения сохранности упаковываемой продукции.
(Измененная редакция, Изм.№ 2).
1.2.10. Расстояние ниточного шва от края мешка должно составлять (15 ± 2) мм.
1.2.11. Длина стежка ниточного шва мешков должна составлять для:
открытых 10+2 мм;
закрытых 8+2 мм.
Допускается длина стежканиточного шва для открытых мешков (11 ± 2) мм при обеспеченииустановленной прочности мешков.
(Измененная редакция, Изм.№ 2).
1.2.12. Рекомендуемая предельная масса продукции в мешках для:
пяти-, шестислойных - 50 кг;
четырехслойных - 40 кг;
трехслойных - 20 кг;
двухслойных - 10 кг.
(Измененная редакция, Изм. №1).
1.2.13. Прочность мешка характеризуется показателем сопротивления ударам присвободном падении.
1.2.14. Число ударов при испытании открытых мешков должно соответствоватьнормам, указанным в табл. 3, закрытых - табл. 3 или 4.
Таблица 3
| Высота сбрасывания, см | Число ударов для открытых мешков марок | Высота сбрасывания, см | Число ударов для закрытых мешков марок | |||
| НМ, ВМ, ПМ, ВМП | БМ, БМП, ВМБ | НМ, ВМ, ПМ, ВМП | БМ, БМП, ВМБ | |||
| 2 |
| 6 | - |
| - | - |
| 3 |
| 8 | 6 |
| 8 | 6 |
| 4 | 30 | 9 | 8 | 90 | 13 | 8 |
| 5 |
| 13 | 13 |
| 16 | 14 |
| 6 |
| 16 | 16 |
| 19 | 16 |
Таблица 4
| Высота сбрасывания, см | Число ударов для закрытых мешков марок | Высота сбрасывания, см | Число ударов для закрытых мешков марок | |||
| НМ, ВМ, ПМ, МВП | БМ | БМП | ВМБ | |||
| 3 | 145 | 2 | 115 | 2 | - | 2 |
|
|
|
| 130 | - | 2 | - |
| 4 | 190 | 2 | 130 | 2 | - | 2 |
|
|
|
| 145 | - | 2 | - |
| 5 | 205 | 2 | 175 | 2 | - | 2 |
|
|
|
| 190 | - | 2 | - |
| 6 | 220 | 2 | 190 | 2 | - | 2 |
|
|
|
| 205 | - | 2 | - |
(Измененная редакция, Изм. №1).
1.2.15. В мешках не допускаются следующие дефекты:
разрывы, отверстия;
клеевые пятна, приводящие ксклеиванию мешков;
прерывистость клеевых иниточных швов;
отсутствие нахлеста впродольном шве;
швы, не закрытыекрепированной лентой.
Допускается нарушениеклеевых швов длиной не более 2 мм.
1.2.16. Требования к мешкам для опасных грузов должны соответствовать ГОСТ26319-84 .
(Введендополнительно, Изм. № 2 ).
1.2.17. По согласованию с потребителем на поверхность мешков может бытьнанесена цветная печать.
(Введендополнительно, Изм. № 2 ).
1.3. Маркировка
1.3.1На каждую кипумешков наклеивают бумажный ярлык по ГОСТ 14192, с указанием:
типа,марки, размеров, числа слоев мешков и их назначения;
наименованиястраны-изготовителя;
товарногознака и/или наименования предприятия-изготовителя и его юридического адреса;
числамешков в кипе;
датыизготовления;
обозначениянастоящего стандарта;
информациио способе утилизации мешков после их использования;
экологическоймаркировки (при наличии у изготовителя подтверждающей документации).
Транспортная маркировка - поГОСТ 14192.
(Измененная редакция, Изм.№ 2).
(Измененная редакция, Изм.№ 3)
1.3.2. На каждую кипу мешков наклеивают ярлык по ГОСТ 14192-96 с предупредительнойнадписью «Не бросать», а также манипуляционными знаками «Беречь от влаги» и«Крюками не брать».
Допускается совмещение наодном ярлыке транспортной маркировки (в том числе предупредительных надписей иманипуляционных знаков) с маркировкой, характеризующей продукцию.
(Измененная редакция, Изм.№ 2).
1.3.3. Допускается по согласованию с потребителем наносить на мешокмаркировку, характеризующую упаковываемую продукцию.
Мешки, предназначенные для опасныхгрузов, маркирует предприятие-изготовитель упаковываемой продукции всоответствии с приложением 2 ГОСТ26319-84.
(Измененная редакция, Изм. №1, 2).
1.3.4. Для мешков, прошедших обязательную сертификацию, втоваро-сопроводительной документации указывают национальный знак соответствияили номер сертификата соответствия.
(Введендополнительно, Изм. № 2 ).
1.4. Упаковка
1.4.1. Мешки укладывают в кипы. Количество мешков в кипе может быть 100,150, 200 и от 500 до 2000 шт. в каждой.
1.4.2. Кипы до 200 шт. прессуют и перевязывают бумажным шпагатом в три пояса(два в поперечном и один в продольном или все три в поперечном направлении).
Кипы от 500 до 2000 шт.прессуют, упаковывают по боковым сторонам в четыре слоя бумаги и затягивают впоперечном направлении тремя поясами нагартованной и полунагартованнойупаковочной ленты по ГОСТ 3560 и ГОСТ503.
В местах соединения концыупаковочной ленты должны быть закреплены пряжками или внахлест. Концы лентыдолжны быть затянуты таким образом, чтобы они не мешали погрузочно-разгрузочнымработам и не повреждали мешки.
Допускаются другие видыупаковывания, обеспечивающие сохранность мешков.
1.4.1, 1.4.2. (Измененная редакция, Изм. № 1).
2.1. Мешки принимают партиями. Партией считают количество мешков одноготипа, марки, размера и слойности, оформленных одним документом о качестве,содержащим:
наименованиепродукции и ее назначение;
наименованиестраны-изготовителя;
товарныйзнак и/или наименование предприятия-изготовителя и его юридический адрес;
тип,марку, размеры и число слоев мешка;
номерпартии;
датуизготовления;
числомешков в партии;
обозначениенастоящего стандарта;
результатыиспытаний или подтверждение о соответствии качества мешков требованиямнастоящего стандарта;
гигиеническоезаключение для мешков, предназначенных для упаковывания пищевых продуктов;
информациюо необходимости утилизации использованных мешков.
Допускаетсяв документе о качестве указывать другую информацию, касающуюся качества мешков.
(Измененная редакция, Изм. №1).
(Измененная редакция, Изм. № 3 )
2.2. Мешки подвергают приемо-сдаточным испытаниям. При этом контролируютвнешний вид, качество изготовления, размеры и показатель прочности мешков присбрасывании.
2.3. Для контроля качества мешков от партии отбирают выборку в количестве20 шт.
(Измененная редакция, Изм. №1).
2.4. Партию считают соответствующей требованиям настоящего стандарта, еслив выборке окажется не более двух мешков, не соответствующих требованиямнастоящего стандарта.
Если в выборке окажетсяболее двух мешков, не соответствующих требованиям настоящего стандарта, топроводят контроль на удвоенной выборке, взятой от той же партии.
Если в первой выборке необнаружено мешков, не отвечающих требованиям испытаний на прочность, то мешки,отобранные во вторую выборку, на прочность не испытывают.
По результатам контроляудвоенной выборки партию считают соответствующей требованиям настоящегостандарта, если не более четырех мешков не соответствуют требованиям настоящегостандарта.
Мешки, не соответствующиетребованиям настоящего стандарта по показателю прочности, допускается относитьк мешкам с меньшим количеством слоев, при этом нормы прочности должнысоответствовать указанным в табл. 3 или 4 для мешков установленнойслойности.
2.5. Изготовитель может проводить контроль качества мешков и устанавливатьпериодичность испытаний по технологическим регламентампредприятия-изготовителя.
(Введендополнительно, Изм. № 1).
3.1. Передконтролем мешки должны кондиционироваться не менее 8 ч в помещении с относительнойвлажностью воздуха (50 ± 2) % и температурой (23 ± 1) °С.
(Измененная редакция, Изм.№ 2).
3.2. Для контроля сопротивления ударам при свободном падении от выборкиотбирают 50 % мешков.
При получении дробных чиселколичество мешков округляют в сторону увеличения.
3.3. Контроль качества изготовления мешков производят визуально. Размерымешков измеряют линейкой по ГОСТ 427 или рулеткой по ГОСТ 7502-98 с погрешностью не более 1,0 мм.
(Измененная редакция, Изм.№ 2).
3.4. Контроль прочности мешков на число ударов (сбросов) проводятметодами, указанными ниже.
Контроль прочности мешковпроизводят в помещении с насыпным аппаратом и соответствующим оборудованием дляиспытания.
3.4.1. Оборудование
3.4.1.1. Оборудование для испытания мешков должно включать горизонтальнуюударную площадку, которая воспринимает на себя удар от падения мешков, исбрасывающее устройство.
3.4.1.2. Ударная площадка должна соответствовать требованиям ГОСТ 18425.
3.4.1.3. Для испытания открытых мешков применяется аппарат Петухова (черт. 10), обеспечивающий:
сбрасывание мешка на торец свысоты (30 ± 0,5) см;
число ударов в минуту - неболее 20.
(Поправка. ИУС 11-2008)
3.4.1.4. Для испытания закрытых мешков применяется сбрасывающее устройство сраскрывающимися створками (черт. 11), обеспечивающее:
свободное падение мешка взаданном положении - плашмя;
подъем и сбрасывание мешка;
установку высот сбрасыванияс погрешностью не более 2 см.
1 - испытываемый образец; 2 - зажимное устройство; 3 -подъемный механизм; 4 - кулачковый механизм; 5 - стальная плита
Черт. 10
1 - фундамент; 2 - стальная плита; 3 - направляющие; 4- подъемный механизм; 5 - створки; 6 - испытываемый образец
Черт. 11
( Поправка . ИУС 11-2008)
3.4.2. Подготовка к испытанию
а) Подготовка к испытаниюзакрытых мешков
Мешки испытываютзаполненными бутафорией заданной массы. В качестве бутафории должен применятьсяпортландцемент по ГОСТ 10178.Температура цемента при заполнении не должна превышать плюс 25 °С.
Масса цемента в мешкахдолжна соответствовать массе продукции, предусмотренной в п. 1.2.12настоящего стандарта.
Время заполнения закрытыхмешков через клапан на насыпной машине не должно быть менее 10 с.
Цемент в закрытом мешкедолжен быть равномерно распределен, воздух вытеснен.
б) Подготовка к испытаниюоткрытых мешков
Открытые мешки испытываютзаполненными бутафорией, соответствующей предельной массе упаковываемойпродукции, предусмотренной в п. 1.2.12.
В качестве бутафорииприменяют портландцемент по 10178-85, песок, древесные опилки или их смесь.
В открытом мешке бутафориядолжна быть распределена равномерно.
(Измененная редакция, Изм.№ 2).
3.4.3. Проведение испытаний
Испытание мешков проводят втех же атмосферных условиях, в которых они кондиционировались. Допускаетсяиспытывать мешки в условиях, отличающихся от условий кондиционирования, есливремя от момента окончания кондиционирования до момента окончания испытания непревышает 10 мин.
Испытание прочности мешковна число ударов проводится следующим образом.
3.4.3.1. Испытание открытых мешков
Горловину мешка,заполненного бутафорией, загибают перпендикулярно продольной оси мешка. Длинаотогнутой части должна быть 10 - 15 см.
Заполненный мешок закрепляютв аппарате Петухова так, чтобы обеспечить сбрасывание его с высоты (30 ± 0,5) см. Затем его сбрасывают. Число ударовдолжно соответствовать нормам, указанным в табл. 3.
(Измененная редакция, Изм.№ 2).
3.4.3.2. Испытание закрытых мешков
Подготовленный к испытаниюзакрытый мешок помещают на раскрывающуюся площадку устройства поверхностью 3вниз по ГОСТ18106 таким образом, чтобы линия разъема створок проходила посерединемешка, как показано на черт. 7. Затем поднимают площадку на заданную высоту,створки площадки раскрываются, происходит сбрасывание. Число сбросов должносоответствовать нормам, указанным в табл. 4.
Допускается проводитьиспытание закрытых мешков вручную путем сбрасывания с высоты (90 ± 2) см плашмя поверхностью 3 вниз наударную площадку. При этом число ударов должно соответствовать нормам,указанным в табл. 3.
Закрытые мешки размерами 70´50´13; 78´50´13; 84´50´13 и 90´51´13 см должны сбрасываться наторец на аппарате Петухова с высоты (30 ± 0,5) см. При этом половинуотобранных мешков испытывают клапаном вверх, а остальные - клапаном вниз. Числоударов должно соответствовать нормам для открытых мешков, указанным в табл. 3.
(Измененная редакция, Изм. №1, 2).
3.4.3.3. Мешки, предназначенные для транспортирования опасных грузов,подвергают дополнительным испытаниям по ГОСТ 26319-84 .
(Введендополнительно, Изм. № 2 ).
3.4.4. Протокол испытаний
Мешок считают выдержавшимиспытания, если после испытаний в заданных условиях он не имеет разрыва всехслоев.
Результаты испытанийоформляют в виде протоколов испытаний.
Протокол испытания долженсодержать описание типа, марки, размеров испытываемых мешков, данные о месте итипе разрывов, а также необходимые сведения о дате и смене выработки мешков.
3.4.4 (Измененнаяредакция, Изм. № 1).
4.1. Мешки транспортируют всеми видами транспорта в крытых транспортныхсредствах в соответствии с правилами перевозок грузов, действующими натранспорте данного вида.
Транспортирование мешковпакетами - в соответствии с правилами перевозки грузов, действующими наконкретных видах транспорта.
(Измененная редакция, Изм.№ 2).
4.2. Транспортные средства должны быть чистыми, сухими и не должны иметьострых выступающих деталей. При необходимости транспортные средства должнывыстилаться бумагой или картоном. При наличии острых выступающих деталей онидолжны быть обернуты бумагой или другими материалами.
Вагоны и контейнеры должныбыть отобраны и подготовлены к транспортированию мешков в противопожарномотношении в соответствии с правилами, действующими на железнодорожномтранспорте.
(Измененная редакция, Изм.№ 2).
4.3. Кипы мешков в вагоне должны укладываться таким образом, чтобы притолчках были исключены сдвиги, а также наваливания мешков на двери вагона.
4.4. Мешки должны храниться в закрытых, чистых и хорошо проветриваемыхскладских помещениях, обеспечивающих защиту мешков от воздействия атмосферныхосадков, почвенной влаги, повышенной температуры, источников тепла.
5.1. Выгрузка и хранение порожнихмешков
5.1.1. Выгрузку кип из транспортных средств осуществляют с помощьюпогрузочно-разгрузочных механизмов или по системе транспортеров в комбинации снеобходимыми механизмами и приспособлениями.
При выгрузке мешки не должныповреждаться.
5.1.2. Кипы мешков должны укладываться в устойчивые штабеля. Под нижний рядкип должен быть подложен деревянный щит (решетка). Для циркуляции воздуха междуштабелями должно сохраняться расстояние не менее 15 см.
Ранее поставленные партиидолжны использоваться в первую очередь.
5.2. Наполнение мешков
5.2.1. Мешки должны заполняться с помощью специальных наполнительных машин иприспособлений. Степень заполнения открытого мешка не должна превышать 95 % еговместимости.
5.2.2. При упаковывании продукции в закрытые мешки из них должен быть удаленвоздух путем:
а) применения мешков сперфорацией в области клапана;
б) предварительного сжатияпродукта с помощью вибрационного устройства, расположенного между бункером иупаковочной машиной;
в) вибрации и отсоса воздухав процессе наполнения мешка;
г) удаления воздуха изпродукта на обжимных валиках после наполнения мешка.
5.2.3. Температура продукции при упаковывании в мешки не должна превышатьплюс 65 °С.
Допускается для продукции,обладающей нейтральными свойствами, температура загрузки плюс 80 °С при условии снижения ее до плюс 65 °С к моменту погрузки наполненных мешков втранспортные средства.
5.2.4. Наполненные открытые мешки должны зашиваться на швейных машинах класса38-А или других аналогичных специально приспособленных для этого машинах.
5.2.5. Для прошивки должны применяться хлопчатобумажные нити 50 текс ´ 5 (№ 20/5), а также синтетические нити по нормативно-техническойдокументации.
5.2.6. При упаковывании мелкодисперсной продукции в открытые мешки прошивкупосле их заполнения производят по крепированной ленте, с использованиемпрокладочных нитей, двойной полоски бумаги, шнуров или других прокладочныхматериалов. При необходимости полученный шов дополнительно герметизируетсятермосвариваемыми лентами или липкими лентами на бумажной основе понормативно-технической документации.
В мешках, предназначенныхдля упаковывания пищевой продукции, термосвариваемые и липкие покрытия должныбыть допущены Органамиздравоохранения или санитарно-эпидемиологическими службами.
(Измененная редакция, Изм.№ 2).
5.2.7. Высота падения наполненных мешков на торец с наполнительной машины натранспортер не должна превышать 30 см.
5.3. Хранение наполненных мешков
5.3.1. Наполненные мешки должны храниться в закрытых, чистых и сухихскладских помещениях, уложенными в штабель на деревянных решетках, настилах,поддонах.
5.3.2. Не допускается штабелировать мешки в вертикальном положении.
5.4. Погрузка и транспортированиенаполненных мешков
5.4.1. Транспортные средства должны соответствовать требованиям п. 4.2.
5.4.2. При погрузке мешков в транспортные средства мешки не должныповреждаться погрузочно-разгрузочными механизмами. Не допускается резкоесбрасывание мешка.
(Измененная редакция, Изм. №1).
5.4.3. Не допускается ходить по штабелям мешков. При необходимости должныприменяться специальные настилы (трапы). Настилы не должны иметь выступающих иострых деталей.
5.4.4. Мешки в вагоне укладывают в соответствии с требованиями п. 4.3.
Изготовитель гарантируетсоответствие бумажных мешков требованиям настоящего стандарта при соблюденииусловий их эксплуатации.
Гарантийный срок хранениямешков - 1 год со дня изготовления.
ИНФОРМАЦИОННЫЕ ДАННЫЕ
1. РАЗРАБОТАН И ВНЕСЕН Госснабом СССР
РАЗРАБОТЧИКИ
В.А. Данилевский, канд. техн. наук; Г.М.Рудин, Т.Н. Каменщикова, О.И. Ясинская (руководитель темы); Т.И.Швецова
2. УТВЕРЖДЕН И ВВЕДЕН В ДЕЙСТВИЕПостановлением Государственного комитета СССР по стандартам от 29.06.88 № 2501
3. ВЗАМЕН ГОСТ 2226-75
4. Стандарт полностью соответствует СТ СЭВ 2362-80, МС ИСО 6590-1-83 , МС ИСО 7023-83 . Стандарт соответствует МСИСО 6599-1-83 в части номинального режима 23/50 при кондиционировании; МС ИСО7965-1-84 в части испытания мешков плашмя; МС ИСО 8367-1-93 в части допусковосновных параметров мешков
(Измененная редакция, Изм. № 3 )
5. ССЫЛОЧНЫЕ НОРМАТИВНО-ТЕХНИЧЕСКИЕ ДОКУМЕНТЫ
| Номер пункта | |
| ГОСТ 427-75 | |
| ГОСТ 503-81 | |
| ГОСТ 2228-81 | |
| ГОСТ 3560-73 | |
| ГОСТ 7502-89 | |
| ГОСТ 10178-85 | |
| ГОСТ 14192-96 | |
| ГОСТ 18106-72 | |
| ГОСТ 18425-73 | |
| ГОСТ 26663-85 | |
| ОСТ 17-155-88 |
6. Ограничение срока действия снято Постановлением Госстандарта от18.11.91 № 1752
7. ПЕРЕИЗДАНИЕ с Изменением № 1, утвержденным в ноябре 1991 г. (ИУС2-92)
1.1. Мешки бумажные нетоксичны, в обращении безопасны. Мешки являютсягорючим материалом, пожароопасны.
При хранении и эксплуатациимешки следует защищать от источников нагревания и прямых солнечных лучей, соблюдатьправила пожарной безопасности.
При загорании мешки следуеттушить любыми средствами пожаротушения.
1.2. Производство мешков связано с применением слаботоксичных ипожароопасных материалов. Применяемые материалы соответствуют III классу опасности по ГОСТ 12.1.007-76 .
Изготовление мешковпроизводят в помещениях, оборудованных местной и общеобменной приточно-вытяжнойвентиляцией.
Производство мешков должнобыть обеспечено техническими средствами контроля за воздушной средой в рабочейзоне.
1.3. При использовании в производственных условиях (при высыхании)непластифицированной поливинилацетатной дисперсии происходит выделение в воздухвинилацетата и уксусной кислоты.
При использовании впроизводственных условиях (при высыхании) непластифицированнойполивинилацетатной дисперсии дополнительно выделяется пластификатор -дибутилфталат.
Предельно допустимыеконцентрации в воздухе рабочей зоны, мг/м3:
винилацетата - 10,0;
уксусной кислоты - 5,0;
дибутилфталата - 0,5;
ацетальдегида - 5,0;
окиси углерода - 20,0;
Превышение предельнодопустимой концентрации вызывает раздражение слизистых оболочек верхнихдыхательных путей и глаз. Винилацетат обладает общетоксичным действием.
1.4. Флексографические краски, используемые для печати на мешках, являютсяпожароопасными и слаботоксичными продуктами из-за наличия в них диэтиленгликоляи аммиака.
Температура вспышкидиэтиленгликоля 147 °С, температура воспламенения163 °С.
Предельно допустимыеконцентрации в рабочей зоне, мг/м3:
диэтиленгликоля - 0,2;
аммиака - 0,2.
Превышение предельнодопустимых концентраций диэтиленгликоля и аммиака оказывает общетоксичноедействие.
1.5. Пожароопасность материалов - по ГОСТ 12.1.044-89 пожарная безопасность - по ГОСТ12.1.004-91 .
(Введенодополнительно, Изм. № 2 ).
Метод применяется припостановке продукции на производство, изменении технологии производства мешков,смене клеев.
Для испытания разрушающегоусилия клеевого шва от выборки отбирают 10 мешков и из мешка вырезают по одномуобразцу. Ширина образца должна составлять (15,0 ± 0,1) мм, длина образца - неменее 250 мм, если другие размеры не установлены в нормативных документах наконкретные виды продукции.
Шов должен располагаться всередине и быть перпендикулярным к длине образца. Время сушки клеевого швадолжно составлять не менее 3 сут.
Образцы кондиционируют приотносительной влажности воздуха (50 ± 2) % и температуре (23 ± 1) °С.
Продолжительностькондиционирования должна быть не менее 4 ч, если другие условия не установленыв нормативных документах на конкретную продукцию.
Разрушающее усилие клеевогошва мешков определяют на разрывной машине. Расстояние между зажимами разрывноймашины устанавливают 180 мм.
Образец закрепляют в зажимахразрывной машины, не касаясь его испытуемой части, с силой натяжения не более0,3 Н (0,03 кгс) так, чтобы, он не скользил во время испытания и прилагаемаясила имела направление, параллельное его краям.
Разрушающее усилие должнонаходиться в пределах 0,2 и 0,8 значений шкалы. Разрушающее усилие отсчитываютс точностью до одного деления шкалы.
Разрушающее усилие F,отнесенное к единице ширины шва, рассчитывают по формуле
![]()
где F - разрушающее усилие, Н(кгс);
b -ширина образца, мм.
Разрушающее усилие клеевогошва должно быть не ниже минимального разрушающего усилия бумаги в поперечномнаправлении в сухом состоянии.
(Введенодополнительно, Изм. № 2 ).
1. Фальц - продольная складка в боковойстороне мешка, образованная тремя продольными сгибами - одним внутренним идвумя наружными.
2. Нахлестка - участок рукава или слоябумаги, которые накладывают друг на друга.
3. Нижняя нахлестка - участкипоперечного края рукава, которые накладывают друг на друга при формированиидна.
4. Продольная нахлестка - участкипродольного края слоя, которые накладывают друг на друга.
5. Клапан - отверстие, расположенное вуглу мешка, через которое мешок заполняют и которое после заполнения непозволяет содержимому высыпаться из мешка.
6. Манжета клапана - вставка из бумагиили другого комбинированного материала, прикрепленная к клапану для егоупрочнения.
7. Клапаны в сшитых мешках
7.1 Обычный клапан - клапан,образованный после прошивки одного из углов подгибаемого внутрь.
7.2 Клапан с внутренней манжетой -клапан, манжета которого расположена внутри мешка.
7.3 Клапан с наружной манжетой - клапанс выступающей наружной манжетой.
8. Клапаны в склеенных мешках
8.1. Обычный клапан - клапан,сформированный без манжеты и упрочняющего листа.
8.2 Усиленный клапан - клапан, усиленныйс помощью приклеивания к его верхней части упрочняющего листа.
8.3 Клапан с внутренней манжетой -клапан с манжетой, направленной внутрь мешка.
8.4 Клапан с наружной манжетой - клапанс выступающей наружу манжетой, обычно снабженной карманом.
9. Прошивка - соединение рукава спомощью нити.
10. Цепной однониточный шов - прошивка сиспользованием одной нити, при которой игла, протыкая рукав, образует петли, икаждая петля при этом замыкается предыдущей петлей.
11. Двойной закрытый двухниточный шов -прошивка с использованием двух нитей, при которой игла, протыкая рукав,образует петли, каждая петля при этом замыкается поперечной петлей,образованной второй нитью.
12. Прокладочный шнур (нить) - материал,прокладываемый в шов с целью его упрочнения.
13. Прокладочная лента - лента из бумагиили другого материала, применяемого при прошивке поперечной кромки рукава.
14. Шов без герметизации - шов,получаемый при прошивке рукава только одной строчкой стежков.
15. Герметизация с применением ленты подшвом - наложение или приклеивание по краю рукава ленты вместе с прокладочнымшнуром или без него с последующей прошивкой.
16. Герметизация с применением лентыповерх шва - прошивка с применением прокладочного шнура или без него ипоследующее крепление ленты приклеиванием или термосваркой.
17. Герметизация с применением ленты подшвом и поверх шва - крепление ленты по краю рукава, прошивка по ленте сприменением прокладочного шнура или без него и последующим креплением еще однойленты приклеиванием или термосваркой.
18. Герметизация с применением лентыповерх сваренного шва - сваривание под действием тепла внутреннего слоя рукаваиз пленки, а затем прошивка, которая делит термосварочный шов пополам ипроходит снаружи, и последующее наложение прокладочной ленты, закрепляемой спомощью клея или термосварки.
19. Продольный шов - соединение,получаемое при нанесении клея на продольную нахлестку слоя бумаги.
20. Поперечное склеивание - нанесениеклея между слоями с одного или двух торцовых концов рукава.
21. Склеивание дна - закрытие рукава содного или двух торцовых концов с помощью клея.
22. Покровный лист - полоска бумаги,приклеиваемая ко дну мешка.
23. Вырубка для пальцев - вырез всехслоев с одной стороны верхней части открытого мешка или в наружной манжетеклапана для облегчения отрывания мешка перед загрузкой.
24. Перфорация - отверстие в стенкахмешка или отдельных слоях для прохождения воздуха при загрузке.
Приложение В (введено дополнительно, Изм. № 3 )